目录
随着信息技术的飞速发展,药房管理面临着前所未有的挑战与机遇。传统的药房管理模式已难以满足现代医疗服务的需求,本文在此背景下,探讨了药房管理系统的设计与实现。SSM药房管理系统基于SSM框架,结合Java编程语言和MySQL数据库技术,构建了一个功能全面、操作便捷的药房管理平台,系统实现了药品信息、处方药单、销售信息、购买订单等多项功能,通过实际测评分析,药房管理系统显著提高了药房的工作效率,降低了管理成本,优化了资源配置。本文的研究不仅丰富了药房管理系统的理论体系,也为实际应用提供了有益的参考。未来,随着技术的不断进步,药房管理系统将进一步完善和优化,为药房行业的持续发展注入新的活力。
关键词:药房管理系统 :SSM框架;Mysql数据库
Abstract
With the rapid development of information technology, pharmacy management is facing unprecedented challenges and opportunities. The traditional pharmacy management model is no longer able to meet the needs of modern medical services. In this context, this article explores the design and implementation of a pharmacy management system. The SSM Pharmacy Management System is based on the SSM framework, combined with Java programming language and MySQL database technology, to build a comprehensive and user-friendly pharmacy management platform. The system realizes multiple functions such as drug information, prescription drug lists, sales information, purchase orders, etc. Through actual evaluation and analysis, the pharmacy management system significantly improves the efficiency of pharmacy work, reduces management costs, and optimizes resource allocation. This study not only enriches the theoretical system of pharmacy management systems, but also provides useful references for practical applications. In the future, with the continuous advancement of technology, the pharmacy management system will be further improved and optimized, injecting new vitality into the sustainable development of the pharmacy industry.
Keywords: Pharmacy management system: SSM framework; MySQL database
1 绪论
1.1 研究目的意义
随着医药行业的不断发展,传统的药房管理方式已经无法满足日益增长的数据量和复杂的业务需求。传统的手工操作在数据处理、存储和查询等方面存在诸多限制,无法有效应对大量的药品信息和销售数据。因此,开发一套高效、便捷的药房管理系统成为迫切的需求。SSM(Spring+Spring MVC+MyBatis)框架作为一种轻量级、高效的Java Web开发框架,具有良好的可维护性、可扩展性和稳定性,能够将业务逻辑、数据访问和页面展示进行分离,使得系统的开发和维护更加便捷。通过药房管理系统,可以实现对药品信息的全面掌控,包括药品的销售、购买、查询等各个环节,从而确保药品的质量安全。该系统还可以提供实时的销售数据和库存数据,为药房的战略决策提供可靠的数据支持和指导,通过开发基于SSM框架的药房管理系统,可以有效解决传统药房管理方式存在的问题,提高药房的运营效率和管理水平。
1.2国内外研究现状
在国内,药房管理系统的研究与应用正在快速发展。许多学者和研究机构对药房管理系统进行了深入研究,提出了许多创新性的理念和解决方案。这些研究不仅涵盖了系统的基本功能和操作流程,还深入探讨了如何利用信息技术提升药房管理效率的方法。同时,国内的药店也逐渐认识到药房管理系统的重要性,并积极引入和实践这些系统。一些大型连锁药店已经采用了集中化的信息管理系统,实现了药品信息的快速录入、查询、修改和统计等功能,从而提高了整体管理效率。此外,国内的药房管理系统也在逐步向智能化、自动化方向发展。例如,一些系统开始引入智能库存管理和客户信息管理等功能,通过数据分析来优化库存结构,提升客户满意度。同时,随着云计算、大数据等技术的快速发展,国内的药房管理系统也在不断探索如何将这些新技术应用于实际管理中,以进一步提升管理效率和服务水平。
在国外,药房管理系统的研究与应用已经相对成熟。许多发达国家已经建立了完善的药房管理系统,并广泛应用于各类药房和医疗机构中。这些系统不仅具备基本的信息管理功能,还融入了更多的智能化和自动化元素。例如,一些系统能够利用人工智能技术对顾客购买历史和健康需求进行分析,为客户提供个性化的服务;一些系统还能够与电子健康档案系统进行整合,实现药品使用记录与患者健康数据的无缝对接,从而提高了药店的服务水平。此外,国外的药房管理系统在数据分析和决策支持方面也表现出色。这些系统能够对大量的销售数据进行全面分析和挖掘,为企业的销售决策提供有力支持。通过数据分析,企业可以深入了解药品销售情况,把握市场趋势,形成精准的销售预测,提高销售效益。
总的来说,药房管理系统的国内外研究都在不断进步和发展。虽然国内在药房管理系统方面的研究与应用起步较晚,但随着信息技术的不断发展和应用,以及国内医药行业的快速发展,相信未来国内的药房管理系统将会更加成熟和完善,国内外的研究者们也将继续探索新的技术和方法,为药房管理系统的进一步优化和发展提供更多的支持和动力。
1.3论文结构与章节安排
第一章:引言部分将介绍药房管理系统的研究背景、开发现状,以及研究的内容与主要工作。
第二章:系统需求分析,将分析药房管理系统的用户需求和功能需求。
第三章:系统设计,设计药房管理系统的框架、功能模块、数据库等。
第四章:系统实现,实现药房管理系统的框架搭建以及界面设计。
第五章:系统测试,对药房管理系统进行界面测试、主要功能测试。
2 药房管理系统分析
系统分析作为药房管理系统开发的先决条件,通过系统分析了解药房管理系统的主要用户的基本需求。进而对该网站进行可行性分析,其中就包括了技术可行性、经济可行性等,可行性分析将从项目整体角度出发,最后是具体需求的分析,分析手段将通过用户的用例图进行说明。
通过技术、经济和操作可行性分析,药房管理系统采用先进的微信小程序和SSM框架,降低开发成本,同时注重用户体验和操作便利性,有助于推动项目的成功实施和用户的广泛参与。
2.1.1 技术可行性分析
从技术角度来看,药房管理系统基于SSM框架开发,SSM框架作为成熟的Java Web开发框架,具有稳定、高效、易扩展等特点,为系统的开发提供了强大的技术支撑。同时,随着Java,mysql等技术的快速发展,药房管理系统可以充分利用这些先进技术,实现数据的快速处理、智能分析和精准决策,进一步提升系统的性能和智能化水平。
从经济角度来看,药房管理系统的实施可以显著提高药房的运营效率和管理水平,降低人力成本,减少药品损耗和浪费,从而实现经济效益的提升。此外,系统还可以通过对销售数据的分析和挖掘,为药房提供决策支持,优化库存结构,提高销售额,进一步增加药房的收入。
从社会角度来看,药房管理系统的应用可以提升药品管理的规范性和安全性,保障患者的用药安全。系统可以对药品的进货、销售、库存等各个环节进行全面管理,确保药品的质量安全,减少药品过期、错发等问题。同时,系统还可以提供便捷的药品查询和购买服务,提高患者的就医体验。
从操作角度来看,药房管理系统具有友好的用户界面和简洁的操作流程,使得药房工作人员可以轻松上手,快速掌握系统的使用方法。此外,系统还提供了完善的数据备份和恢复机制,确保了数据的安全性和可靠性。
在用户或管理员选定对应的功能模块后,需按要求填写新信息的必要字段。待信息核实无误后,方可提交并保存。系统将自动校验信息的有效性,并将新信息妥善存入数据库。整个信息添加流程的目的在于保障新数据得以有效记录与管理,以供后续利用。数据新增的流程图如下图2-1所示。

图2-1数据新增流程图
在用户或管理员检索并确定需要删除的数据条目后,需经过其确认方可执行删除操作。随后,系统将从数据库中移除相关记录,这一信息删除流程的目的是为了及时清除过时或不再需要的数据,确保数据库的整洁和准确性。通过执行这一流程,我们可以维护数据库的完整性和可靠性,以支持各项业务的顺利进行。数据删除时流程图如下图2-2所示。

图2-2数据删除流程图
根据平台规划的角色划分,系统将划分为顾客用户模块、医生用户模块、收银用户模块、管理员管理模块三大部分。
顾客用户模块:
- 用户注册登录:用户注册为用户后再登录药房管理系统,可以对个人信息进行增删改查,比如修改个人资料,修改密码等。
- 通知公告:顾客用户可以查看后台发布的重要公告信息,供用户浏览和了解网站相关事项。
- 新闻资讯:展示平台新闻资讯热门列表,用户可以对资讯进行点赞、收藏和评论。
- 药品信息:顾客用户可以通过关键词搜索药品信息,点击详情后可以购买和收藏操作。
- 我的账户:允许用户管理个人账户信息,包括头像、昵称、密码等。
- 个人中心:包括了个人首页、处方药单、购买订单、收藏。
医生用户模块:
- 用户注册登录:用户注册为用户后再登录药房管理系统 ,可以对个人信息进行增删改查,比如修改个人资料,修改密码等。
- 系统用户:医生用户对前台申请注册的顾客用户进行管理。
- 药品信息管理:医生用户可以查看、删除药品信息列表。
- 处方药单管理:医生用户可以查看、删除处方药单列表。
收银用户模块:
- 用户注册登录:用户注册为用户后再登录药房管理系统 ,可以对个人信息进行增删改查,比如修改个人资料,修改密码等。
- 系统用户:医生用户对前台申请注册的顾客用户进行管理。
- 药品信息管理:医生用户可以查看、删除药品信息列表。
- 处方药单管理:医生用户可以查看、删除处方药单列表。
- 销售信息管理:医生用户可以查看、删除销售信息列表。
- 购买订单管理:医生用户可以查看、删除购买订单列表。
管理员模块:
- 系统用户:管理员对前台申请注册的顾客用户和医生用户、收银用户进行管理,也可对管理员本身的信息进行管理。
- 药品类型管理:管理员可以查看、删除药品类型列表,也可以添加药品类型信息。
- 药品信息管理:管理员可以查看、删除药品信息列表,也可以填写药品名称、药品价格、治疗病症、使用类型、药品成分等信息添加药品信息。
- 药品入库管理:管理员可以查看、删除药品入库列表。
- 处方药单管理:管理员可以查看、删除处方药单列表。
- 销售信息管理:管理员可以查看、删除销售信息列表。
- 购买订单管理:管理员可以查看、删除购买订单列表。
- 通知公告管理:管理员可以对公告信息进行查看、编辑、添加、删除等操作。
- 系统管理:管理员该网站首页中显示的轮播图,系统中的一些公告进行发布,方便让用户及时的接收、查看到系统信息。
- 资源管理:管理员可以查看、管理新闻资讯和新闻分类。
非功能性分析旨在评估药房管理系统的非功能需求和性能要求。通过对性能、可靠性、安全性、可用性和扩展性等方面进行评估,确保平台能够满足用户和系统运行的要求,可以在下表中表示(表3-1)。
表3-1药房管理系统非功能需求表
| 非功能性需求 | 详细描述 | 药房管理信息相关考虑 |
| 安全性 | 1. 数据传输和存储加密,确保用户信息、交易数据和药品信息不被非法获取或篡改。 | 法律信息、交易记录等敏感数据需采用SSL/TLS等加密技术进行传输,数据库存储也需加密处理。 |
| 2. 定期进行安全漏洞扫描和风险评估,及时修复潜在的安全隐患。 | 药房管理系统应定期更新和升级安全策略,以应对药房管理系统新的安全威胁。 | |
| 可靠性 | 1. 系统应具有高可用性,确保在硬件故障或网络问题下仍能提供服务。 | 药房管理系统应采用冗余设计,如负载均衡、热备份等,确保服务的连续性。 |
| 2. 完善的错误处理和日志记录,帮助快速定位和解决问题。 | 对于药品信息交易过程中出现的错误和异常,应有详细的日志记录,便于后续分析和处理。 | |
| 性能 | 1. 系统响应时间快,用户操作流畅,无卡顿现象。 | 法律信息的搜索、浏览和交易操作应快速响应,提升用户体验。 |
| 2. 支持高并发访问,确保大量用户同时在线时系统稳定。 | 在高峰期,药房管理系统应能够处理大量并发请求,保持服务的稳定性和响应速度。 | |
| 可拓展性 | 1. 系统架构灵活,易于添加新的功能和模块。 | 随着业务发展,药房管理系统应能够方便地添加新的交易方式、支付方式等功能。 |
| 2. 支持用户量和数据量的快速增长。 | 药房管理系统应能够应对用户量和数据量的增长,保持系统的稳定性和性能。 |
2.4 系统用例分析
系统用例分析是对药房管理系统中各个功能模块的用户需求和行为进行分析,以识别和描述不同的用户用例。通过系统用例分析,可以深入了解用户在平台上的操作流程和交互方式,为系统设计和开发提供指导,并确保平台能够满足用户的需求和期望。用户角色的用例图如图2-3所示。

图2-3用户角色用例图
另外,管理员用例图如图2-4所示。

在完成可行性分析、系统流程分析和功能分析后,我们对药房管理系统进行了全面的评估和分析。通过可行性分析,我们确定了项目的技术和经济可行性,确保了项目的可行性。在系统流程分析中,我们详细了解了系统的整体流程和各个环节之间的关系,为后续的设计和开发奠定了基础。而功能分析则帮助我们准确地识别出系统所需的各种功能,并对其进行详细描述。这些分析结果将为后续的系统设计和实现提供指导和参考。通过这些分析工作,我们对项目的目标和需求有了更清晰的认识,为接下来的开发工作奠定了坚实的基础。
3 药房管理系统总体设计
药房管理系统的总体设计涵盖了系统架构、数据库设计以及用户界面设计等诸多方面。为确保系统的稳定可靠与灵活扩展,我们采用了三层架构模式。同时,我们设计了规范、严谨的数据库结构,以妥善存储并高效管理处方药单、药品信息等关键内容。在用户界面方面,我们始终注重友好性与易用性,力求为用户提供便捷的操作体验和流畅的使用感受。综上所述,本设计的核心目标在于构建一个稳定、安全、高效的校药房管理系统,以充分满足广大用户的需求与期待。
在系统架构设计中,我们将确定系统的整体结构和组件之间的关系。这包括选择适当的架构风格,划分系统的层次结构,并定义各个模块的职责和交互方式。架构图如下图所示。

图3-1药房管理系统 系统架构设计图
表现层:与用户交互,展示系统功能和数据。包括用户界面、页面设计和用户输入验证等。
业务逻辑层:处理系统核心业务逻辑,包括请求处理、业务规则执行和数据转换。独立于表现层和数据层,实现业务逻辑的封装和复用。
数据层:负责数据存储、访问和管理,包括数据库和持久化机制。提供数据增删改查操作,与业务逻辑层交互,实现数据存储和检索。
这三个层次相互独立,通过接口和协议通信,实现系统模块化和可扩展性。表现层传递用户请求给业务逻辑层,业务逻辑层处理请求并返回结果,数据层与数据库交互并提供数据支持。这种分层架构有助于实现系统可维护性、灵活性和可测试性。
通过整体功能模块设计,我们将根据需求分析的结果,将系统的功能划分为不同的模块。每个模块负责实现特定的功能,并与其他模块进行协作。我们将详细定义每个模块的输入、输出、处理逻辑和相互依赖关系。药房管理系统 微信小程序的总体设计模块图如图3-2所示。

图3-2 药房管理系统功能模块图
3.2.2用户模块设计
用户模块是系统中一个重要的功能模块,它涉及用户的注册、登录、个人信息管理等操作。在用户模块设计中,我们将定义用户数据的结构和属性,包括用户名、密码、邮箱等。同时,还需要实现用户注册、登录、修改密码等功能,并对用户输入进行验证和处理。用户模块的结构图如下图所示。

图3-3用户用户模块结构图
3.2.3 评论管理模块设计
评论管理模块用于管理用户对帖子或其他内容的评论。在评论管理模块设计中,我们将定义评论数据的结构和属性,包括评论内容、评分、时间等。该模块应支持用户发表评论、查看评论、回复评论等功能,并提供相应的管理接口用于审核和删除不合规的评论。其结构图如下所示。

图3-4评论模块结构图
3.2.5药品信息管理模块设计
药品信息管理模块是系统中一个重要的功能模块,它涉及用户下单、支付、配送等流程。在药品信息管理设计中,我们将定义订单的数据结构、案例介绍的转换规则,以及法律处理的具体流程和相关操作。其模块和功能结构如下图所示。

图3-5药品信息模块结构图
数据库设计是系统开发中至关重要的一环,它涉及到数据的组织、存储和管理。在数据库设计中,我们将根据系统的需求设计数据库的概念结构和逻辑结构,包括定义实体、属性、关系和约束等。
3.3.1 数据库概念结构设计
数据库概念结构设计主要涉及数据库的实体和实体之间的关系。通过实体-关系模型或者其他适当的模型,我们将定义系统中涉及的各个实体以及它们之间的联系。下面是药房管理系统 中,主要的数据库表的E-R实体关系图。

图3-6 药房管理系统 总E-R关系图
数据库逻辑结构设计则是在概念结构的基础上,进行具体的数据库表设计。我们将定义每个表的结构、字段和约束,并建立表与表之间的关系。具体如下:
表cashier_users (收银用户)
| 编号 | 名称 | 数据类型 | 长度 | 小数位 | 允许空值 | 主键 | 默认值 | 说明 |
| 1 | cashier_users_id | int | 10 | 0 | N | Y | 收银用户ID | |
| 2 | cashiers_name | varchar | 64 | 0 | Y | N | 收银姓名 | |
| 3 | cashier_gender | varchar | 64 | 0 | Y | N | 收银性别 | |
| 4 | cashier_phone_number | varchar | 64 | 0 | Y | N | 收银电话 | |
| 5 | examine_state | varchar | 16 | 0 | N | N | 已通过 | 审核状态 |
| 6 | user_id | int | 10 | 0 | N | N | 0 | 用户ID |
| 7 | create_time | datetime | 19 | 0 | N | N | CURRENT_TIMESTAMP | 创建时间 |
| 8 | update_time | timestamp | 19 | 0 | N | N | CURRENT_TIMESTAMP | 更新时间 |
表drugs_warehousing (药品入库)
| 编号 | 名称 | 数据类型 | 长度 | 小数位 | 允许空值 | 主键 | 默认值 | 说明 |
| 1 | drugs_warehousing_id | int | 10 | 0 | N | Y | 药品入库ID | |
| 2 | drug_name | varchar | 64 | 0 | Y | N | 药品名称 | |
| 3 | drug_batch_number | varchar | 64 | 0 | Y | N | 药品批号 | |
| 4 | drug_type | varchar | 64 | 0 | Y | N | 药品类型 | |
| 5 | storage_date | date | 10 | 0 | Y | N | 入库日期 | |
| 6 | inventory_quantity | int | 10 | 0 | Y | N | 0 | 入库数量 |
| 7 | create_time | datetime | 19 | 0 | N | N | CURRENT_TIMESTAMP | 创建时间 |
| 8 | update_time | timestamp | 19 | 0 | N | N | CURRENT_TIMESTAMP | 更新时间 |
| 编号 | 名称 | 数据类型 | 长度 | 小数位 | 允许空值 | 主键 | 默认值 | 说明 |
| 1 | drug_information_id | int | 10 | 0 | N | Y | 药品信息ID | |
| 2 | drug_name | varchar | 64 | 0 | Y | N | 药品名称 | |
| 3 | drug_batch_number | varchar | 64 | 0 | Y | N | 药品批号 | |
| 4 | drug_type | varchar | 64 | 0 | Y | N | 药品类型 | |
| 5 | drug_images | varchar | 255 | 0 | Y | N | 药品图片 | |
| 6 | drug_inventory | int | 10 | 0 | Y | N | 0 | 药品库存 |
| 7 | drug_prices | int | 10 | 0 | Y | N | 0 | 药品价格 |
| 8 | mend_condition | varchar | 64 | 0 | Y | N | 治疗病症 | |
| 9 | usage_type | varchar | 64 | 0 | Y | N | 使用类型 | |
| 10 | pharmaceutical_ingredients | text | 65535 | 0 | Y | N | 药品成分 | |
| 11 | instructions_for_use | text | 65535 | 0 | Y | N | 使用须知 | |
| 12 | hits | int | 10 | 0 | N | N | 0 | 点击数 |
| 13 | create_time | datetime | 19 | 0 | N | N | CURRENT_TIMESTAMP | 创建时间 |
| 14 | update_time | timestamp | 19 | 0 | N | N | CURRENT_TIMESTAMP | 更新时间 |
| 编号 | 名称 | 数据类型 | 长度 | 小数位 | 允许空值 | 主键 | 默认值 | 说明 |
| 1 | drug_type_id | int | 10 | 0 | N | Y | 药品类型ID | |
| 2 | drug_type | varchar | 64 | 0 | Y | N | 药品类型 | |
| 3 | create_time | datetime | 19 | 0 | N | N | CURRENT_TIMESTAMP | 创建时间 |
| 4 | update_time | timestamp | 19 | 0 | N | N | CURRENT_TIMESTAMP | 更新时间 |
3.4本章小结
通过以上的设计工作,我们将为系统的开发提供清晰的指导和规范,确保系统能够按照需求进行开发,并且具备良好的可维护性和扩展性。
4 药房管理系统 详细设计与实现
在详细设计与实现阶段,我们将根据系统需求和功能模块的设计,进行具体的代码编写和系统搭建。这包括前台界面的设计与开发、后台数据库的建立和管理、业务逻辑的实现等。通过编写代码、进行测试和调试,最终完成整个药房管理系统的开发。
4.1用户功能模块
顾客用户端:
4.1.1 前台首页界面
前台首页界面是用户访问系统的入口页面,它应该展示网站的主要功能和特色,并提供导航链接以便用户浏览和搜索药品信息。首页界面的设计应注重页面的美观性和用户体验,同时也需要考虑页面的加载速度和响应性能。界面如下图所示。

图4-1 前台首页界面图
4.1.2 用户注册界面
用户注册界面用于新用户进行账号注册,用户需要填写必要的个人信息并选择合适的用户名和密码。注册界面应该进行输入验证和数据格式检查,确保用户提供有效的信息。界面如下图所示。

图4-2用户注册界面图
注册代码如下:

4.1.3 用户登录界面
用户登录界面用于已注册用户进行账号登录,用户需要输入正确的用户名和密码才能成功登录系统。登录界面应对用户的输入进行验证,并提供密码找回或重新注册的选项。界面如下图所示。

图4-3用户登录界面图
登录代码如下:

4.1.4药品信息界面
药品信息:顾客用户可以通过关键词搜索药品信息,点击详情后可以购买和收藏操作。界面如下图所示。

图4-4药品信息界面图
4.1.5新闻资讯界面
新闻资讯:展示平台新闻资讯热门列表,用户可以对资讯进行点赞、收藏和评论;界面如下图所示。

图4-5新闻资讯界面图
医生用户端:
4.1.6 药品信息管理界面
药品信息管理:医生用户可以查看、删除药品信息列表。界面如下图所示。

图4-6药品信息管理界面图
4.1.7 处方药单管理界面
处方药单管理:医生用户可以查看、删除处方药单列表。界面如下图所示。

图4-7 处方药单管理界面图
4.2管理员功能模块
4.2.1 系统用户界面
用户管理界面用于管理员对用户账号进行管理,包括用户信息的查看、编辑和删除等操作。管理员可以根据需要进行用户权限的控制和账号状态的管理。界面如下图所示。

图4-8系统用户界面图
4.2.2 药品类型管理界面
药品类型管理:管理员可以查看、删除药品类型列表,也可以添加药品类型信息。界面如下图所示。

图4-9药品类型管理界面图
4.2.3药品信息管理界面
药品信息管理:管理员可以查看、删除药品信息列表,也可以填写药品名称、药品价格、治疗病症、使用类型、药品成分等信息添加药品信息。界面如下图所示。

图4-10药品信息管理界面图
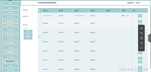
4.2.4 销售信息管理界面
销售信息管理:管理员可以查看、删除销售信息列表。界面如下图所示。

图4-11销售信息管理界面图
购买订单管理:管理员可以查看、删除购买订单列表。界面如下图所示。

图4-12购买订单管理界面图
5系统测试
系统测试的目的是确保系统的功能完整、性能稳定,并验证系统是否符合预期的设计和需求。通过系统测试,可以发现和修复潜在的错误和缺陷,提高系统的质量和可靠性。同时,系统测试还可以评估系统在不同条件下的性能表现,包括并发性能、响应时间和容错能力等。通过全面的系统测试,可以确保系统在正式上线前达到高品质的状态。
5.2 系统测试用例
通过对用户登录功能、药品信息功能、处方药单添加功能、药品类型功能以及密码修改功能进行了测试,测试如下表5-1、5-2、5-3、5-4、5-5所示。
| 测试用例编号 | 测试描述 | 预期结果 | 实际结果 | 是否通过 |
| TC001 | 使用正确的用户名和密码进行登录 | 成功登录系统,跳转到用户首页 | 登录成功,跳转到用户首页 | 通过 |
| TC002 | 使用不存在的用户名进行登录 | 显示错误提示信息:用户名不存在 | 显示错误提示信息:用户名不存在 | 通过 |
| TC003 | 使用正确的用户名和错误的密码进行登录 | 显示错误提示信息:密码错误 | 显示错误提示信息:密码错误 | 通过 |
| TC004 | 不输入用户名和密码直接点击登录按钮 | 显示错误提示信息:用户名和密码不能为空 | 显示错误提示信息:用户名和密码不能为空 | 通过 |
表5-2 药品信息功能测试表
| 测试用例编号 | 测试描述 | 预期结果 | 实际结果 | 是否通过 |
| TC001 | 打开药品信息列表页面,检查是否能够正确展示药品信息 | 药品信息列表显示正确 | 药品信息列表显示正确 | 通过 |
| TC002 | 点击药品信息详情查看按钮,检查是否能正常打开页面 | 药品信息详情页面显示正确 | 药品信息详情页面显示正确 | 通过 |
| TC003 | 检查药品信息搜索功能 | 根据关键字搜索到相关药品信息并正确展示 | 根据关键字搜索到相关药品信息并正确展示 | 通过 |
表5-3 处方药单添加功能测试表
| 测试用例编号 | 测试描述 | 预期结果 | 实际结果 | 是否通过 |
| TC001 | 使用合法的信息添加一个处方药单 | 处方药单成功添加到系统 | 处方药单成功添加到系统 | 通过 |
| TC002 | 使用已存在的处方药单添加一个新信息 | 显示错误提示信息:处方药单已存在 | 显示错误提示信息:处方药单已存在 | 通过 |
| TC003 | 添加处方药单时不输入必填信息 | 显示错误提示信息:必填字段不能为空 | 显示错误提示信息:必填字段不能为空 | 通过 |
表5-4药品类型功能测试表
| 测试用例编号 | 测试描述 | 预期结果 | 实际结果 | 是否通过 |
| TC001 | 使用药品类型关键字进行搜索 | 搜索结果包含符合关键字的药品类型 | 搜索结果包含符合关键字的药品类型 | 通过 |
| TC002 | 使用不存在的关键字进行搜索 | 搜索结果为空 | 搜索结果为空 | 通过 |
表5-5 密码修改功能测试表
| 测试用例编号 | 测试描述 | 预期结果 | 实际结果 | 是否通过 |
| TC001 | 输入正确的原密码和新密码进行修改 | 密码成功修改 | 密码成功修改 | 通过 |
| TC002 | 输入错误的原密码和新密码进行修改 | 显示错误提示信息:原密码错误 | 显示错误提示信息:原密码错误 | 通过 |
| TC003 | 不输入原密码和新密码直接点击修改按钮 | 显示错误提示信息:密码不能为空 | 显示错误提示信息:密码不能为空 | 通过 |
5.3 系统测试结果
以上是对系统测试的一些典型测试用例的描述。通过这些测试,可以验证用户登录功能、药品信息功能、处方药单添加功能、药品类型功能以及密码修改功能的正确性和稳定性。每个测试用例都有预期结果,并与实际结果进行对比,判断是否通过测试。通过全面的系统测试,可以确保系统的各项功能正常运行,并具备高质量的用户体验。
经过深入研究和开发,本文旨在深入探究SSM药房管理系统采用先进的SSM框架,结合Java编程语言和MySQL数据库技术,实现了药房管理的信息化、自动化和智能化。系统采用B/S结构,使得管理员和用户可以通过网络随时随地进行操作,大大提高了工作效率和资源利用率,SSM药房管理系统功能全面,涵盖了药品信息、处方药单、销售信息、购买订单等多个方面。管理员可以通过系统对药品进行精确管理,包括药品信息的录入、查询、修改和删除等。此外,系统采用多重加密技术和权限控制机制,确保药品信息的安全性和保密性。通过实际测评,SSM药房管理系统在提高工作效率、降低管理成本、优化资源配置等方面具有显著优势,是一种高效、安全、实用的药房管理工具,对于提升药房管理水平、促进药房业务发展具有重要意义。未来,随着技术的不断进步和应用场景的不断拓展,SSM药房管理系统将进一步完善和优化,为药房行业的可持续发展提供有力支持。
[1] 张平,冯传平,周煌辉,等. 1+X证书背景下药品经营与管理专业三融通课程体系构建研究——以药品购销职业技能等级证书为例 [J]. 中国中医药现代远程教育, 2024, 22 (08): 189-192.
[2] 巴桑拉姆,李杏翠,次仁德吉. 西藏自治区人民医院实施国家重点监控药品干预成效分析 [J]. 中国药事, 2024, 38 (03): 360-366. DOI:10.16153/j.1002-7777.2024.03.016.
[3] 王晨,张剑,王元园,等. 医疗机构麻醉、第一类精神药品信息化管理模式探讨 [J]. 中南药学, 2024, 22 (03): 784-790.
[4] 李昊聪,李喜龙,曹俊鹏,等. 基于SSM框架的安全生产费用审核管理系统设计 [J]. 轻工科技, 2024, 40 (02): 87-90.
[5] 宋蕙帆. 基于SSM的精准就业服务平台设计与实现 [J]. 科技创新与应用, 2024, 14 (08): 102-105. DOI:10.19981/j.CN23-1581/G3.2024.08.023.
[6] 朱万芸,陈建雯,张郴,等. 高职药品经营与管理专业现代学徒制人才培养探索与实践 [J]. 卫生职业教育, 2024, 42 (06): 7-10. DOI:10.20037/j.issn.1671-1246.2024.06.03.
[7] 高伟. 新形势下食品药品检验档案管理工作优化措施 [J]. 兰台内外, 2024, (08): 46-48.
[8] Lei L C ,Gui L X ,Wang Y L , et al. Analysis of drug-induced posterior reversible encephalopathy syndrome using the food and drug administration adverse drug events reporting system database. [J]. Expert opinion on drug safety, 2024,11-10.
[9] 李洪娟,刘琼梅,郑欣. PDCA循环对提高门诊药房麻精药品管理质量的影响研究 [J]. 临床研究, 2024, 32 (03): 192-194.
[10] 字政义,吴颖梅. 探讨药品物流管理中SPD模式协同HIS的成效评价 [J]. 中国设备工程, 2024, (05): 73-75.
[11] Elia R ,Sevgi E ,Michael G , et al. Contouring practices and artefact management within a synthetic CT-based radiotherapy workflow for the central nervous system [J]. Radiation Oncology, 2024, 19 (1): 27-27.
[12] 黄逸菡. 集束化护理干预在肿瘤科高危药品管理中的应用 [J]. 中医药管理杂志, 2024, 32 (04): 60-62. DOI:10.16690/j.cnki.1007-9203.2024.04.002.
[13] 于洋,安晓玲. 医院药品耗材集带采购管理系统的程序设计及实现 [J]. 航空航天医学杂志, 2024, 35 (02): 201-202.
[14] He M ,Yang T ,Zhou J , et al. A real-world study of antifibrotic drugs-related adverse events based on the United States food and drug administration adverse event reporting system and VigiAccess databases [J]. Frontiers in Pharmacology, 2024, 15 1310286-1310286.
[15] Lee H I ,Kim Y S ,Park S , et al. Impact of the Narcotics Information Management System on Opioid Use Among Outpatients With Musculoskeletal and Connective Tissue Disorders: Quasi-Experimental Study Using Interrupted Time Series. [J]. JMIR public health and surveillance, 2024, 10 e47130-e47130.
[16] 张炜敏,黄清泉,黄宝斌. 药品检验机构样品管理系统设计探讨 [J]. 中国药业, 2024, 33 (04): 14-18.
[17] 胡士高,武志昂. 我国药品生产质量管理规范检查质量评价体系构建研究 [J]. 中国新药杂志, 2024, 33 (03): 209-215.
[18] 余明丽,夏文静,姜晓萌,等. 国外药品前沿技术监管实践及启示——以美国药品监督管理实践为例 [J]. 中国新药杂志, 2024, 33 (03): 229-240.
[19] 张睿. 实验室信息化管理系统在药品检验中的应用探讨 [J]. 实验室检测, 2024, 2 (01): 83-87.
[20] 蔡君龙,孙道琴,周晶晶,等. 试验用药品智能信息系统的设计与开发 [J]. 中国食品药品监管, 2023, (12): 174-179.
致 谢
在完成本研究工作过程中,我们要向指导老师表示衷心的感谢。感谢老师在选题、需求分析、系统设计和实现等方面给予的细致指导和支持。老师的专业知识和经验对我们的研究工作起到了重要的指导作用。此外,还要感谢师兄师姐和同学们,他们在技术问题上给予了很多帮助和建议。感谢他们的悉心指导和无私分享,使我们能够更好地完成研究工作。最后,要感谢家人和朋友们对我们学业上的理解和支持。感谢他们的鼓励和陪伴,给予了我们坚持下去的动力。
感谢所有为本研究工作做出贡献的人们!你们的支持和帮助使本研究取得了成功。再次向所有相关人员表示衷心的感谢!
免费领取项目源码,请关注❥点赞收藏并私信博主,谢谢~
675

被折叠的 条评论
为什么被折叠?



