摘 要
21世纪时信息化的时代,几乎任何一个行业都离不开计算机,将计算机运用于停车场管理也是十分常见的。过去使用手工的管理方式对停车场进行管理,造成了管理繁琐、难以维护等问题,如今使用计算机对停车场的各项基本信息进行管理,比起手工管理来说既方便又简单,而且具有易于管理、搜索速度快、存储量大等多个优点。将其使用在停车场管理维护中,不仅能够提高停车场管理中管理员的工作效率,而且可以使停车场管理更加科学与规范。在信息化时代的不断冲击下,停车场管理维护与计算机技术的结合,将会是一条提高停车场管理水平的捷径。
该系统以Java编程语言、Mysql和MVVM等为开发技术,实现了添加、修改、查看、删除系统数据。本系统采取组件化的方式对系统进行拆分,并对数据库中各个表的增删查改、表与表之间的约束关系进行分析与设计,最终实现符合用户需求功能的商业级应用。该系统实现了停车场管理内部的各种工作流程计算机管理化,其中包括管理员的系统首页、用户管理(管理员、普通用户)更多管理(用户车辆、会员车辆、停车位信息、临时车入场信息、离场信息)等功能。
关键词:java技术;MySQL数据库;停车场管理;
Springboot parking lot management and maintenance function system
Abstract
In the information age of the 21st century, almost any industry can not do without computers. It is also very common to apply computers to parking lot management. In the past, the manual management method was used to manage the parking lot, resulting in cumbersome management, difficult maintenance and other problems. Now, the use of computers to manage the basic information of the parking lot is more convenient and simple than manual management, and has many advantages such as easy management, fast search speed, and large storage capacity. Using it in parking lot management and maintenance can not only improve the working efficiency of administrators in parking lot management, but also make parking lot management more scientific and standardized. Under the constant impact of the information age, the combination of parking lot management and maintenance with computer technology will be a shortcut to improve the level of parking lot management.
The system uses Java programming language, MySQL and MVVM as development technologies to add, modify, view and delete system data. This system adopts the component-based method to split the system, and analyzes and designs the addition, deletion, query and modification of each table in the database, and the constraint relationship between tables, so as to finally realize the business level application that meets the user's needs. The system realizes the computer management of various work processes within the parking lot management, including the administrator's system home page, user management (administrator, ordinary users), more management (user vehicles, member vehicles, parking space information, temporary vehicle entry information, departure information) and other functions.
Keywords: Java technology; Mysql database; Parking lot management;
目 录
近年来,随着社会的进步和发展,我国现代化进程的不断加快,私家车的数量急剧增加,各类停车场的车流量不断增多,对机动车的保管越来越成为社会倍受关注的问题,与之配套的停车场管理维护功能系统应运而生。随着汽车工业的迅猛发展,我国汽车拥有量急剧增加。停车场作为交通设施的组成部分,随着交通运输的繁忙和不断发展,人们对其管理的要求也不断提高,都希望管理能够达到方便、快捷以及安全的效果。停车场的规模各不相同,对其进行管理的模式也有不同之处,管理者需要根据自身的条件,选择应用经济、稳定的管理程序,以免选择了高成本的管理系统。
当前,在停车场管理的信息化过程中,有许多信息需要处理和管理。现今,有很多信息都是初步开始使用,甚至尚未使用计算机进行信息处理。根据调查得知,他们以前对信息管理的主要方式是基于文本、表格等纸介质的手工处理,对于管理过程中的很多信息都是用人工计算、手抄进行。数据信息处理工作量大,容易出错;由于数据繁多,容易丢失,且不易查找。总的来说,缺乏系统,规范的信息管理手段。
新型的智能的停车场管理将信息技术、生活理念和电子技术等现代的高科技完美结合到一起,给人们提供的是一种使用方便、功能先进、操作简单的人性化系统。它以人为本,依靠高科技,采用人机图形化操作界面,提供给人一种更加安全、方便、舒适、开放、快捷和信息化、智能化的生活空间,大大的促进了人文环境的健康发展。
停车场管理维护功能系统说到底也就是对停车场车辆信息的数据化并进行统一系统化的管理,离不开数据库的操作与前台web页面的显示,我此次用到的就是这样的技术。
停车场管理维护功能系统是现代化停车场车辆收费及设备自动化管理的统称,是将停车场车辆完全归于计算机管理下的高科技机电一体化产品。目前国内停车场系统生产企业有400多家,其中国产停车场系统产品约占市场份额的80%左右,国外停车场系统市场占20%。而在欧美地区,据了解,欧洲一些国家的停车产业发展已有50年的历史,并已达到一种良性循环和有序发展。停车产业也已成为年产值数十亿美元的大产业。美国的停车产业每年收入约达260亿美元,占全美GDP的3.25%。
站在技术角度审视,国内停车场并非毫无瑕疵。目前国内停车场产品成熟度较低,技术水平和可靠性实际上还不能满足更高的要求,设备没有形成主流品牌,能提供成套设备的厂商更少,用户在设备选型时存在困难。一般的制造商生产规模都较小、技术力量弱,在品质管理和生产成本上都有一定难度。当然,停车场管理维护功能系统的发展并没因此而止步,反而更为迅速。
本文的主要工作是研究如何将计算机和信息管理进行有机结合,从而利用java语言以及MySQL数据库技术中实现了系统的功能模块,切实的开发出一套贴近停车场车辆管理的实际,有效管理停车场车辆的系统。
论文结构如下:
第一章绪论:主要对停车场管理维护功能系统的开发背景,研究现状,目的,及意义进行了分析。
第二章开发技术及软件:主要把系统开发工具进行介绍,另外讲解开发系统所用到的一些特殊功能技术。
第三章系统分析:主要是对停车场管理维护功能系统进行需求分析,以及对其数据流程与功能进行分析。
第四章系统设计:主要根据系统需求对系统的设计进行介绍,以及对数据的开发与功能模块设计的过程。
第五章系统实现:本章主要结合系统界面截图,介绍了系统各个功能实现的结果。
第六章系统测试:本章系统进行功能模块的测试,撰写测试用例,确保系统各大功能准确无误。
第七章总结与展望:对整个论文的研究内容进行总结,概括整个论文的特点,指出不足之处,为下步深究指明方向。
本系统前端框架采用了比较流行的渐进式JavaScript框架Vue.js。使用Vue-Router和Vuex实现动态路由和全局状态管理,Ajax实现前后端通信,Element UI组件库使页面快速成型。后端部分:采用springboot作为开发框架,同时集成MyBatis、Redis等相关技术。
-
- MVVM模式
MVVM是Model-View-ViewModel的简写。它本质上就是MVC 的改进版。MVVM 就是将其中的View 的状态和行为抽象化,让我们将视图 UI 和业务逻辑分开。当然这些事 ViewModel 已经帮我们做了,它可以取出 Model 的数据同时帮忙处理 View 中由于需要展示内容而涉及的业务逻辑。微软的WPF带来了新的技术体验,如Silverlight、音频、视频、3D、动画……,这导致了软件UI层更加细节化、可定制化。同时,在技术层面,WPF也带来了 诸如Binding、Dependency Property、Routed Events、Command、DataTemplate、ControlTemplate等新特性。MVVM(Model-View-ViewModel)框架的由来便是MVP(Model-View-Presenter)模式与WPF结合的应用方式时发展演变过来的一种新型架构框架。它立足于原有MVP框架并且把WPF的新特性糅合进去,以应对客户日益复杂的需求变化。
-
- B/S结构
在系统的开发上采用了B/S结构,在B/S结构中,统一采用浏览器,而不需要去开发任何的用户界面,Web浏览器向处理它的Web服务器发送请求,并一步一步地将处理结果返回给客户端。B/S结构主要采用了各种脚本语言和ActiveX技术,降低了系统的开发难度并简化了系统维护以及使用。
B/S结构有如下特点:B/S结构建立在广域网上,不需要专门为其配置硬件环境,比C/S结构的适应范围更强;由于其基于广域网,所以其对安全的控制能力相对较弱;B/S的多种结构要求构造相对独立的函数,这样才能可以更好地重用;B/S结构组成简单,便于对个别构件进行更换,降低了系统的维护成本B/S信息流向与C/S不同,B/S信息流向可变化。
Spring框架是Java平台上的一种开源应用框架,提供具有控制反转特性的容器。尽管Spring框架自身对编程模型没有限制,但其在Java应用中的频繁使用让它备受青睐,以至于后来让它作为EJB(EnterpriseJavaBeans)模型的补充,甚至是替补。Spring框架为开发提供了一系列的解决方案,比如利用控制反转的核心特性,并通过依赖注入实现控制反转来实现管理对象生命周期容器化,利用面向切面编程进行声明式的事务管理,整合多种持久化技术管理数据访问,提供大量优秀的Web框架方便开发等等。Spring框架具有控制反转(IOC)特性,IOC旨在方便项目维护和测试,它提供了一种通过Java的反射机制对Java对象进行统一的配置和管理的方法。Spring框架利用容器管理对象的生命周期,容器可以通过扫描XML文件或类上特定Java注解来配置对象,开发者可以通过依赖查找或依赖注入来获得对象。Spring框架具有面向切面编程(AOP)框架,SpringAOP框架基于代理模式,同时运行时可配置;AOP框架主要针对模块之间的交叉关注点进行模块化。Spring框架的AOP框架仅提供基本的AOP特性,虽无法与AspectJ框架相比,但通过与AspectJ的集成,也可以满足基本需求。Spring框架下的事务管理、远程访问等功能均可以通过使用SpringAOP技术实现。Spring的事务管理框架为Java平台带来了一种抽象机制,使本地和全局事务以及嵌套事务能够与保存点一起工作,并且几乎可以在Java平台的任何环境中工作。Spring集成多种事务模板,系统可以通过事务模板、XML或Java注解进行事务配置,并且事务框架集成了消息传递和缓存等功能。Spring的数据访问框架解决了开发人员在应用程序中使用数据库时遇到的常见困难。它不仅对Java:JDBC、iBATS/MyBATIs、Hibernate、Java数据对象(JDO)、ApacheOJB和ApacheCayne等所有流行的数据访问框架中提供支持,同时还可以与Spring的事务管理一起使用,为数据访问提供了灵活的抽象。Spring框架最初是没有打算构建一个自己的WebMVC框架,其开发人员在开发过程中认为现有的StrutsWeb框架的呈现层和请求处理层之间以及请求处理层和模型之间的分离不够,于是创建了SpringMVC。
-
- MySQL数据库
MySQL 经过多次的更新,功能层面已经非常的丰富和完善了,从MySQL4版本到5版本进行了比较大的更新,在商业的实际使用中取得了很好的实际应用效果。最新版本的MySQL支持对信息的压缩,同时还能进行加密能更好的满足对信息安全性的需求。同时经过系统的多次更新,数据库自身的镜像功能也得到了很大的增强,运行的流畅度和易用性方面有了不小的进步,驱动的使用和创建也更加的高效快捷。最大的变动还是进行了空间信息的显示优化,能更加方便的在应用地图上进行坐标的标注和运算。强大的备份功能也保证了用户使用的过程会更加安心,同时支持的Office特性还支持用户的自行安装和使用。在信息的显示形式上也进行了不小的更新,增加了两个非常使用的显示区,一个是信息区,对表格和文字进行了分类处理,界面的显示更加清爽和具体。第二是仪表的信息控件,能在仪表信息区进行信息的显示,同时还能进行多个信息的比对,为用户的实际使用带来了很大的便捷。
针对本文中设计的停车场管理维护功能系统在实际的实现过程中,最终选择MySQL数据库的主要原因在于在企业的应用系统应用及开发的过程中会存在大量的数据库比较频繁的操作,而且数据的安全性要求也是非常的高。综合这些因素,最终选择安全性系数比较高的MySQL来对停车场管理维护功能系统后台数据进行存储操作。
-
- Vue.js 主要功能
Vue.js是一套构建用户界面的渐进式框架。与其他重量级框架不同的是,Vue采用自底向上增量开发的设计。Vue 的核心库只关注视图层,并且非常容易学习,非常容易与其它库或已有项目整合。另一方面,Vue 完全有能力驱动采用单文件组件和Vue生态系统支持的库开发的复杂单页应用。
Vue.js 的目标是通过尽可能简单的 API 实现响应的数据绑定和组合的视图组件。
Vue.js 自身不是一个全能框架——它只聚焦于视图层。因此它非常容易学习,非常容易与其它库或已有项目整合。另一方面,在与相关工具和支持库一起使用时,Vue.js 也能驱动复杂的单页应用。
开发任何一个系统,都要对其可行性进行分析,对其时间和资源上的限制进行考虑,这样可以减少系统开发的风险。同时,分析之后不仅能够合理的运用人力,还能在各方面资源的消耗上得到节省。下面就对技术、经济和社会三个方面来介绍。
技术可行性主要考虑当前项目所用的技术是否能够符合,在设备上是否能够满足,及各种辅助工具是否提供帮助。本系统用的是java开发语言,调试相对简单,当前的计算机硬件配置也完全能满足开发的需求,因此在技术上是绝对可行的。软件方面:由于软件的开发平台成熟可行,它们速度快、容量大、可靠性能高、价格低,完全能满足系统的需求。采用java编程语言,已无技术上的问题。
系统所采用的springboot开发平台和MySQL后端数据库均为免费开发工具。故开发成本主要集中在后期的推广及系统维护上。相对于成本较高的C/S模式,也是选用了成本较低的B/S模式,所以经济上几乎没任何问题。
本系统是自行开发的系统,以方便高效管理停车场为出发点,是具有实际意义的系统,开发的环境软件和用到的数据库也都是开源代码,不存在侵权等问题,所以在社会方面也是可行的。
用户用例图如下所示。

图3-1 用户用例图
管理员用例图如下所示。

图3-2 管理员用例图
评判一个系统好坏的一项重要指标就是性能,下面是对此系统的一些性能进行阐述。
1.系统的安全性和稳定性: 停车场管理维护功能系统在管理权限上有着严格的控制,即想登录此平台进行操作,则必须要有操作权限,没有权限的用户是不可能登录平台查看任何的信息和数据,从而确保了系统的安全性。
2.数据的完整性和准确性:第一个是各项记录信息的完整性,信息记录的内容可以为空;第二个是各项信息数据之间相互联系的准确性;第三个是数据在不同记录信息的一致性
3.用户操作系统简单方便
在系统开发中按照“简单易用”的原则,能够使用户对系统的使用一目了然,既能保证用户使用,同时又能保证维护人员方便维护。
在分析了系统的业务流程之后,就要分析系统的数据流,为后面设计系统的数据库做好基础。这里主要利用数据流程图来说明数据流程。数据流程图是一个图示工具,容易理解,容易在开发和用户方之间进行交流,以及在开发组织内部交流。因此数据流程图作为一种模型工具已经广泛使用在软件工程的实践中。
系统的顶层数据流图如下图所示。

图3-2系统数据流图(顶层)
根据系统的业务流程,用户浏览所使用到的数据归纳为输出信息。而用户提交的数据则作为系统的输入数据。相应的,根据系统管理员业务流程,管理员对系统内容的添加、更新和删除等所操作的数据定义为输入信息。
系统的底层数据流图如下图所示。

图3-3系统数据流图(底层)
MVC 是指 Model、View 和 Controller,翻译成中文分别是模型层、视图层和控制层。MVC 模式是一种设计模式,它强制性的把应用程序的输入、输出和处理全部分开,将其分为三个核心部分,这三个部分分别有不同的功能。

图4-1系统架构图
视图层视图是指被用户所看到的并且能够与之进行交互的界面。视图可以向用户展示相关的数据,并接收用户输入的数据,但对用户数据不进行任何实际业务操作处理。
模型层通过控制层来处理视图层传递的数据,同一个模型可以给不同的视图提供数据,也可以被不同的视图重复使用。由于 Model 的主要内容是数据、方法和行为,其也是 MVC 中逻辑最为复杂,代码量最多的部分,其中包含了许多应用中需要用到的业务逻辑,因此模型层的开发也变得尤为重要,后期一般不会对模型层进行大规模改动,也是 MVC 中最稳定的部分。
控制层主要负责视图层和模型层之间的数据传输和处理请求操作。当用户通过视图发送数据和请求时,控制层可以接收请求和数据并决定调用哪些模型、通过模型的哪些操作来处理数据和请求,处理完成后,控制层再将数据返回给相应的视图。
根据对系统的功能进行分析可以总结停车场管理维护功能系统的具体功能模块包括下面的几个主要的功能模块:该系统主要从两大模块进行设计的,首先就是用户参与操作需要的模块,此外还需要有管理员用到的模块,两者之间不是互相独立的,他们之间有着密切的联系,同数据库表中的数据连接起来进行操作。每个模块访问相同的数据库,但访问的表不同。系统的各个功能模块是根据所收集的资料研究得到的。在以上分析功能的基础上,系统模块分为多个模块。用户含有的功能有注册,登录,停车位信息搜索,首页、用户管理(管理员、普通用户)更多管理(用户车辆、临时车入场、临时车离场、会员车辆、提醒信息)管理等功能。
系统的功能结构图如下图所示。

图4-2系统功能结构图
用户模块主要实现用户的注册、登录、首页(公告、新闻资讯、停车位信息、临时车入场、临时车离场)等功能。
用户注册:用户通过账号注册得到用户名和密码。
用户登录:用户在被管理员添加成功后,通过管理员提供的用户名、密码和输入验证码进行登录,操作非常简单。
个人资料管理:用户根据用户ID修改当前ID的一些属性的值。
修改个人登录密码:用户登录停车场管理维护功能系统后可以自己修改自己的密码。
车辆信息:提交用户的车辆信息操作。
停车位信息:用户可以查看停车位信息。
入场离场信息:用户可以车辆的入场离场信息。
管理员模块是本系统重要开发部分,它的使用对象是系统管理员,在进入管理员模块前,需要输入正确的用户姓名、密码和验证码,才能进入管理员模块。界面右上方有退出系统按钮,点击可退出管理员模块界面。
系统用户管理:管理员添加、管理、查询管理员信息并有修改他们密码的权限。
注册用户管理:管理员管理已注册的用户,审核刚注册的用户,修改用户的基本信息。
停车位信息管理:管理员录入停车位信息,跳转至添信息页面,填写具体信息,提交后,停车位信息存储数据库的信息表中,包括停车位编号、车主用户、车牌号、车主类型、停车详情等信息。
E-R图一般是由实体、实体的属性与联系三个要素组成的。在规划系统中所使用的数据库实体对象及实体E-R图,则需要通过对系统的需求分析、业务流程设计和系统功能结构来确定的。
总体ER图如下图所示。

图4-3总体ER图
将实体属性模型转换为关系数据库应该遵循以下几个原则:
1.一个实体转换后要对应一个关系。
2.所有的主键必须要定义为非空(not null)。
3.针对二元联系也应该按照一对多、弱对实、一对一和多对多等联系来定义外键。
得到数据库的关系后,设计如下表结构。
registered_user表:
| 名称 | 类型 | 长度 | 不是null | 主键 | 注释 |
| registered_user_id | int | 11 | 是 | 是 | 注册用户ID |
| user_no | varchar | 64 | 是 | 否 | 用户编号 |
| gender | varchar | 64 | 否 | 否 | 性别 |
| examine_state | varchar | 16 | 是 | 否 | 审核状态 |
| recommend | int | 11 | 是 | 否 | 智能推荐 |
| user_id | int | 11 | 是 | 否 | 用户ID |
| create_time | datetime | 0 | 是 | 否 | 创建时间 |
| update_time | timestamp | 0 | 是 | 否 | 更新时间 |
member_vehicles表:
| 名称 | 类型 | 长度 | 不是null | 主键 | 注释 |
| member_vehicles_id | int | 11 | 是 | 是 | 会员车辆ID |
| parking_space_no | varchar | 64 | 否 | 否 | 停车位编号 |
| owner_user | int | 11 | 否 | 否 | 车主用户 |
| license_plate_number | varchar | 64 | 否 | 否 | 车牌号 |
| member_type | varchar | 64 | 否 | 否 | 会员类型 |
| start_time | datetime | 0 | 否 | 否 | 开始时间 |
| end_time | datetime | 0 | 否 | 否 | 结束时间 |
| cost | varchar | 64 | 否 | 否 | 费用 |
| expense_details | text | 0 | 否 | 否 | 费用明细 |
| pay_state | varchar | 16 | 是 | 否 | 支付状态 |
| pay_type | varchar | 16 | 否 | 否 | 支付类型 |
| recommend | int | 11 | 是 | 否 | 智能推荐 |
| create_time | datetime | 0 | 是 | 否 | 创建时间 |
| update_time | timestamp | 0 | 是 | 否 | 更新时间 |
parking_space_information表:
| 名称 | 类型 | 长度 | 不是null | 主键 | 注释 |
| parking_space_information_id | int | 11 | 是 | 是 | 停车位信息ID |
| parking_space_no | varchar | 64 | 否 | 否 | 停车位编号 |
| state | varchar | 64 | 否 | 否 | 状态 |
| category | varchar | 64 | 否 | 否 | 类别 |
| position | varchar | 64 | 否 | 否 | 位置 |
| photo | varchar | 255 | 否 | 否 | 照片 |
| hits | int | 11 | 是 | 否 | 点击数 |
| praise_len | int | 11 | 是 | 否 | 点赞数 |
| recommend | int | 11 | 是 | 否 | 智能推荐 |
| create_time | datetime | 0 | 是 | 否 | 创建时间 |
| update_time | timestamp | 0 | 是 | 否 | 更新时间 |
temporary_vehicle_departure表:
| 名称 | 类型 | 长度 | 不是null | 主键 | 注释 |
| temporary_vehicle_departure_id | int | 11 | 是 | 是 | 临时车离场ID |
| user_no | int | 11 | 否 | 否 | 用户编号 |
| license_plate_number | varchar | 64 | 否 | 否 | 车牌号 |
| owners_name | varchar | 64 | 否 | 否 | 车主姓名 |
| admission_time | datetime | 0 | 否 | 否 | 入场时间 |
| leaving_time | datetime | 0 | 否 | 否 | 离场时间 |
| charge_amount | varchar | 64 | 否 | 否 | 收费金额 |
| charge_details | text | 0 | 否 | 否 | 收费明细 |
| pay_state | varchar | 16 | 是 | 否 | 支付状态 |
| pay_type | varchar | 16 | 否 | 否 | 支付类型 |
| recommend | int | 11 | 是 | 否 | 智能推荐 |
| create_time | datetime | 0 | 是 | 否 | 创建时间 |
| update_time | timestamp | 0 | 是 | 否 | 更新时间 |
temporary_vehicles_entering_the_site表:
| 名称 | 类型 | 长度 | 不是null | 主键 | 注释 |
| temporary_vehicles_entering_the_site_id | int | 11 | 是 | 是 | 临时车入场ID |
| user_no | int | 11 | 否 | 否 | 用户编号 |
| license_plate_number | varchar | 64 | 否 | 否 | 车牌号 |
| owners_name | varchar | 64 | 否 | 否 | 车主姓名 |
| admission_time | datetime | 0 | 否 | 否 | 入场时间 |
| entrance_photos | varchar | 255 | 否 | 否 | 入场照片 |
| recommend | int | 11 | 是 | 否 | 智能推荐 |
| create_time | datetime | 0 | 是 | 否 | 创建时间 |
| update_time | timestamp | 0 | 是 | 否 | 更新时间 |
user_vehicle表:
| 名称 | 类型 | 长度 | 不是null | 主键 | 注释 |
| user_vehicle_id | int | 11 | 是 | 是 | 用户车辆ID |
| user_no | int | 11 | 否 | 否 | 用户编号 |
| license_plate_number | varchar | 64 | 否 | 否 | 车牌号 |
| owners_name | varchar | 64 | 否 | 否 | 车主姓名 |
| contact_number | varchar | 64 | 否 | 否 | 联系电话 |
| vehicle_photos | varchar | 255 | 否 | 否 | 车辆照片 |
| vehicle_category | varchar | 64 | 否 | 否 | 车辆类别 |
| recommend | int | 11 | 是 | 否 | 智能推荐 |
| create_time | datetime | 0 | 是 | 否 | 创建时间 |
| update_time | timestamp | 0 | 是 | 否 | 更新时间 |
reminder表:
| 名称 | 类型 | 长度 | 不是null | 主键 | 注释 |
| reminder_id | int | 11 | 是 | 是 | 提醒信息ID |
| user_no | int | 11 | 否 | 否 | 用户编号 |
| reminder_time | date | 0 | 否 | 否 | 提醒时间 |
| reminder_content | text | 0 | 否 | 否 | 提醒内容 |
| recommend | int | 11 | 是 | 否 | 智能推荐 |
| create_time | datetime | 0 | 是 | 否 | 创建时间 |
| update_time | timestamp | 0 | 是 | 否 | 更新时间 |
从web系统查询数据的根本的查询步骤:
Step1: 进行检查并且过滤来自用户的系统数据;
Step2: 成立起一个合适的数据库进行连接;
Step3: 进行查询系统数据库;
Step4: 获得查询的结构;
Step5: 把查询的结果展示给用户。
Step6: 数据库连接断开,释放资源。
数据库连接原理如下图所示。

图5-1数据库连接原理
为确保系统安全性,系统操作员只有在登录界面输入正确的用户名、密码、权限以及验证码,单击“登录”按钮后才能够进入本系统的主界面。
用户登录流程图如下所示。

图5-2用户登录流程图
登录界面如下图所示。

图5-3登录界面
用户登录的关键代码如下。
/**
* 登录
* @param data
* @param httpServletRequest
* @return
*/
@PostMapping("login")
public Map<String, Object> login(@RequestBody Map<String, String> data, HttpServletRequest httpServletRequest) {
log.info("[执行登录接口]");
String username = data.get("username");
String email = data.get("email");
String phone = data.get("phone");
String password = data.get("password");
List resultList = null;
Map<String, String> map = new HashMap<>();
if(username != null && "".equals(username) == false){
map.put("username", username);
resultList = service.select(map, new HashMap<>()).getResultList();
}
else if(email != null && "".equals(email) == false){
map.put("email", email);
resultList = service.select(map, new HashMap<>()).getResultList();
}
else if(phone != null && "".equals(phone) == false){
map.put("phone", phone);
resultList = service.select(map, new HashMap<>()).getResultList();
}else{
return error(30000, "账号或密码不能为空");
}
if (resultList == null || password == null) {
return error(30000, "账号或密码不能为空");
}
//判断是否有这个用户
if (resultList.size()<=0){
return error(30000,"用户不存在");
}
用户输入用户名、密码、电话、姓名等必填信息后,点击注册按钮完成用户的注册。
用户注册流程图如下所示。

图5-4用户注册流程图
用户注册界面如下图所示。

图5-5用户注册界面
用户注册的关键代码如下。
/**
* 注册
* @param user
* @return
*/
@PostMapping("register")
public Map<String, Object> signUp(@RequestBody User user) {
// 查询用户
Map<String, String> query = new HashMap<>();
query.put("username",user.getUsername());
List list = service.select(query, new HashMap<>()).getResultList();
if (list.size()>0){
return error(30000, "用户已存在");
}
user.setUserId(null);
user.setPassword(service.encryption(user.getPassword()));
service.save(user);
return success(1);
}
用户点击停车位信息进入车位详细页,具体查看停车位信息,输入用户车辆信息,管理员管理用户的临时车入场信息,临时车离场信息。
停车位信息流程图如下所示。

图5-6停车位信息流程图
停车位信息界面如图所示。

图5-7停车位信息界面
用户车辆信息输入界面如图所示。

图5-8用户车辆信息输入界面
用户车辆信息的关键代码如下。
@PostMapping("/add")
@Transactional
public Map<String, Object> add(HttpServletRequest request) throws IOException {
service.insert(service.readBody(request.getReader()));
return success(1);
}
@Transactional
public Map<String, Object> addMap(Map<String,Object> map){
service.insert(map);
return success(1);
}
系统用户管理主要是对新用户的添加和旧用户的删除。新用户的添加主要是指添加用户名称并确定其密码;旧用户的删除也是从下拉菜单中找到对应的用户名称将其删除。不论是新用户添加还是旧用户的删除,这个权限只有管理员具有。
用户管理流程图如下所示。

图5-9用户管理流程图
用户管理界面如下图所示。

图5-10用户管理界面
用户管理关键代码如下。
@RequestMapping("/get_list")
public Map<String, Object> getList(HttpServletRequest request) {
Map<String, Object> map = service.selectToPage(service.readQuery(request), service.readConfig(request));
return success(map);
}
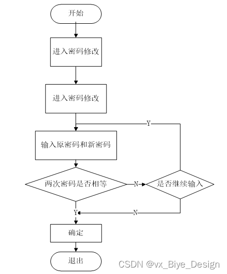
密码修改是对当前登录用户的密码进行修改,在管理员登录页面后右上方也能进行密码修改。
密码修改流程图如下所示。

图5-11密码修改流程图
密码修改界面如图所示。

图5-12修改密码界面
如果停车位信息需要修改,管理员可以通过查询停车位信息来查询,查询停车位信息是通过ajax技术来进行查询的,需要传递停车位编号、车主用户等参数然后在返回到该页面中,可以选中要修改或删除的那条信息,如果选中了超过一条数据,页面会挑一个窗口提醒只能选择一条数,如果没有选中数据会挑一个窗口题型必须选择一条数据。当选择确认修改的时候,后台会根据传过来的id到数据库查询,并将结果返回到修改页面中,可以在修改页面中修改刚刚选中的信息当点击确认的时候from表单会将修改的数据提交到后台并保存到数据库中,就是说如果提交的数据库中存在就修改,否则就保存。
停车位信息管理界面如下图所示。

图5-13停车位信息管理界面
停车位信息管理关键代码如下。
@RequestMapping("/get_obj")
public Map<String, Object> obj(HttpServletRequest request) {
Query select = service.select(service.readQuery(request), service.readConfig(request));
List resultList = select.getResultList();
if (resultList.size() > 0) {
JSONObject jsonObject = new JSONObject();
jsonObject.put("obj",resultList.get(0));
return success(jsonObject);
} else {
return success(null);
}
}
public Query select(Map<String,String> query,Map<String,String> config){
StringBuffer sql = new StringBuffer("select ");
sql.append(config.get(FindConfig.FIELD) == null || "".equals(config.get(FindConfig.FIELD)) ? "*" : config.get(FindConfig.FIELD)).append(" ");
sql.append("from ").append("`").append(table).append("`").append(toWhereSql(query, "0".equals(config.get(FindConfig.LIKE))));
if (config.get(FindConfig.GROUP_BY) != null && !"".equals(config.get(FindConfig.GROUP_BY))){
sql.append("group by ").append(config.get(FindConfig.GROUP_BY)).append(" ");
}
if (config.get(FindConfig.ORDER_BY) != null && !"".equals(config.get(FindConfig.ORDER_BY))){
sql.append("order by ").append(config.get(FindConfig.ORDER_BY)).append(" ");
}
if (config.get(FindConfig.PAGE) != null && !"".equals(config.get(FindConfig.PAGE))){
int page = config.get(FindConfig.PAGE) != null && !"".equals(config.get(FindConfig.PAGE)) ? Integer.parseInt(config.get(FindConfig.PAGE)) : 1;
int limit = config.get(FindConfig.SIZE) != null && !"".equals(config.get(FindConfig.SIZE)) ? Integer.parseInt(config.get(FindConfig.SIZE)) : 10;
sql.append(" limit ").append( (page-1)*limit ).append(" , ").append(limit);
}
log.info("[{}] - 查询操作,sql: {}",table,sql);
return runEntitySql(sql.toString());
}
软件测试是软件开发完成后必须经过的一道程序,它在软件开发过程中地位十分重要,需要由专业的测试工程师来对软件进行各方面的测试,大到功能模块测试,小到代码的单元测试,这对测试工程师来说需要有足够的耐心和专业的测试方案,软件测试归根结底就是对软件的结构和功能的综合测评,需要做到结构稳定和功能正确,二者兼顾。软件测试也叫寻找系统bug的过程,世界上没有完美无缺、不存在bug的软件,只能将软件的bug降到最低最小,来追求极致。
-
- 测试目标
系统测试是用于检查软件的质量、性能、可靠性等是否符合用户需求。一套严谨的、规范的、完善的测试过程将大大提高软件的质量、可信度、可靠性,降低软件的出错率,降低用户风险系数。通过在计算机上对系统进行测试试验并从中发现此系统中存在的问题和错误然后加以修改,使之更加符合用户需求。
1.测试的目的是通过测试来发现程序在执行过程中的错误的过程。
2.好的测试方案是可以检验出还未被发现的错误的方案。
3.好的测试是发现了到目前为止还未被发现的错误的测试。
4.该系统能够完成停车位信息、用户车辆、临时车入场、临时车离场、通知公告等功能,做到所开发的系统操作简单,尽量使系统操作不受用户对电脑知识水平的限制。
下表是系统登录功能测试用例,检测了用户名和密码的不同的输入情况,观察系统的响应情况。得出该功能达到了设计目标。
表6-1 系统登录功能测试用例
| 功能描述 | 用于系统登录 | |
| 测试目的 | 检测登录时的合法性检查 | |
| 测试数据以及操作 | 预期结果 | 实际结果 |
| 输入的用户名和密码带有非法字符 | 提示用户名或者密码错误 | 与预期结果一致 |
| 输入的用户名或者密码为空 | 提示用户名或者密码错误 | 与预期结果一致 |
| 输入的用户名和密码不存在 | 提示用户名或者密码错误 | 与预期结果一致 |
| 输入正确的用户名和密码 | 登录成功 | 与预期结果一致 |
下表是注册功能测试用例,检测了各种数据的输入情况,观察系统的响应情况。得出该功能达到了设计目标。
表6-2 注册功能测试用例
| 功能描述 | 用于用户注册 | |
| 测试目的 | 检测用户注册时的合法性检查 | |
| 测试数据以及操作 | 预期结果 | 实际结果 |
| 输入的手机号不合法 | 提示请输入正确的手机号码 | 与预期结果一致 |
| 输入的字段为空 | 提示必填项不能为空 | 与预期结果一致 |
| 输入的密码少于6位 | 提示密码必须为6-12位 | 与预期结果一致 |
| 输入的密码大于12位 | 提示密码必须为6-12位 | 与预期结果一致 |
下表是停车位管理功能的测试用例,检测了停车位管理中对停车位信息的增加,删除,修改,查询操作是否成功运行。观察系统的响应情况,得出该功能也达到了设计目标,系统运行正确。
前置条件;用户登录系统。
表6-3 停车位管理的测试用例
| 功能描述 | 用于停车位管理 | |
| 测试目的 | 检测停车位管理时的各种操作的运行情况 | |
| 测试数据以及操作 | 预期结果 | 实际结果 |
| 点击添加停车位,必填项合法输入,点击保存 | 提示添加成功 | 与预期结果一致 |
| 点击添加停车位,必填项输入不合法,点击保存 | 提示必填项不能为空 | 与预期结果一致 |
| 点击修改停车位,必填项修改为空,点击保存 | 提示必填项不能为空 | 与预期结果一致 |
| 点击修改停车位,必填项输入不合法,点击保存 | 提示必填项不能为空 | 与预期结果一致 |
| 点击删除停车位,选择停车位删除 | 提示删除成功 | 与预期结果一致 |
| 点击搜索停车位,输入存在的停车位名 | 查找出停车位 | 与预期结果一致 |
| 点击搜索停车位,输入不存在的停车位名 | 不显示停车位 | 与预期结果一致 |
根据以上测试情况,测试结果如下表所示。
表6-1测试结果表
| 测试项目 | 测试结果 |
| 登录测试 | 成功 |
| 修改密码测试 | 成功 |
| 公告测试 | 成功 |
| 停车位信息测试 | 成功 |
| 车辆信息测试 | 成功 |
| 临时车离场管理测试 | 成功 |
| 临时车入场测试 | 成功 |
本研究针对停车场管理维护功能系统地需求建模,数据建模及过程建模分析设计并实现停车场管理维护功能系统的过程。给出系统应用架构并分析优劣势,通过功能分解图,系统组件图描述功能需求。设计建立了数据库,给出系统关键数据结构的定义。通过类关系图描述组件间的协作关系,给出各个类的定义方法。通过描述每一个类的字段,属性及方法实现停车场管理维护功能系统的前后端代码。最终给出系统集成整合方法,完成停车场管理维护功能系统地设计与实现。
在此项目的开发中,当静态页面的搭建的大体已经完善时,就需要和负责后台开发的技术开发者联系,来接好前后台的数据接口,可以让后台的信息在前台显示出来,在这个项目实现中,也明白了后台在整个系统中起到了什么作用,因为前后台的连接,用户可以对系统进行操作,可以在输入自己的相关信息后,通过后台加工,完成对数据库的查找、修改、添加,而理解了这些关系与实现的方法后。再去完善整个系统的功能就更加清晰与简单了。此次的项目它涉及了前台与后台系统的搭建,在学校所学的知识基础上,此次的项目,让我对于一个系统的前端开发,以及后台的作用都有了一个更深切的认知。
参考文献
- 张宇迪,潘星宇.智能停车场管理系统在升降横移立体车库中的应用[J].数字技术与应用,2022,40(08):203-205.
- 赵娜,雷扬. 机动车停车场建设管理有法可依[N]. 张家口日报,2022-08-08(004).
[3]宋旸.使用Java语言开发Web应用软件的知识探讨[J].中国设备工程,2022(14):121-123.
[4]贺斌.计算机软件开发中JAVA语言的应用研究[J].中国设备工程,2022(11):247-249.
[5]封居强,樊丽江,韩芳.基于数据融合的智能停车场管理系统设计与实现[J].九江学院学报(自然科学版),2022,37(01):45-49.
[6]路漫漫.基于交互优化的城市商业智能停车场管理系统[J].软件,2021,42(12):158-162.
[7]张翔.浅谈JAVA编程语言在计算机软件开发中的应用[J].电子元器件与信息技术,2021,5(10):204-205.
[8]丁姝萌,辜林.基于分布式设备及智慧决策的停车场管理系统[J].软件,2021,42(06):13-15.
[9]潘宇,张叶茂,莫淑贤.基于云平台的物联网停车场管理系统设计[J].软件工程,2021,24(04):51-54+46.
[10]孙曜. 智能停车场信息管理系统设计与实现[D].扬州大学,2020.
[11]江小静,解祥新,杭益柳,孙景玉.小区自助停车场管理系统的设计与实现[J].无线互联科技,2020,17(21):35-36.
[12]姚琳. 基于物联网技术的智能停车场管理系统的设计与实现[D].哈尔滨工业大学,2020.
[13]姬智. 基于客户定位的停车诱导云服务平台研究与实现[D].西南交通大学,2019.
致谢
在此论文完成之际,感谢我的指导老师。在指导老师的网页设计课上,当时我学到了很多东西,这对于我实习过程中也打了一定的基础,而且指导老师对于我的设计也提出许多建议,并予以悉心的指导,对于一些细小的问题都耐心的指导我去完善,授予我写论文的心得,时常的鼓励我,另外感谢教导我完善此项目的前端同学,对于这个项目,我是边学习边实现完成的,有许多东西开始并不是很明白,但前端开发的同学非常耐心的引导我去将这个项目完成,在系统的后端开发中,所用到的后台开发技术也时常会给我讲解,助于我更好的将论文完成,在此对帮助到我的同学和一直予以教导的指导老师致以衷心的感谢,祝事业有成。
免费领取项目源码,请关注❥点赞收藏并私信博主,谢谢~
本文介绍了使用Java编程语言、SpringBoot框架和MySQL数据库开发的停车场管理系统。系统采用MVVM模式,实现管理员和用户的功能模块,包括用户注册、登录、停车位信息管理、临时车入场和离场管理等。系统设计包括B/S架构、数据流程分析和数据库设计,确保了系统的可行性、安全性和效率。通过功能测试,验证了系统的各项功能正常运行。
3015

被折叠的 条评论
为什么被折叠?



