房屋租赁系统的设计与实现
摘 要
信息化社会内需要与之针对性的信息获取途径,但是途径的扩展基本上为人们所努力的方向,由于站在的角度存在偏差,人们经常能够获得不同类型信息,这也是技术最为难以攻克的课题。针对房屋租赁管理等问题,对房屋租赁管理进行研究分析,然后开发设计出房屋租赁系统以解决问题。
房屋租赁系统主要功能模块包括主页、个人资料、公共管理(轮播图、公告信息)用户管理(管理员、出租用户、承租用户)信息管理(新闻列表、新闻分类列表)房屋信息、看房申请、租赁申请、合同信息、缴费信息、退租申请、留言信息、房屋评价、房屋类型管理,采取面对对象的开发模式进行软件的开发和硬体的架设,能很好的满足实际使用的需求,完善了对应的软体架设以及程序编码的工作,采取MySQL作为后台数据的主要存储单元,采用SSM框架、Java技术、Ajax技术进行业务系统的编码及其开发,实现了本系统的全部功能。本次报告,首先分析了研究的背景、作用、意义,为研究工作的合理性打下了基础。针对房屋租赁系统的各项需求以及技术问题进行分析,证明了系统的必要性和技术可行性,然后对设计系统需要使用的技术软件以及设计思想做了基本的介绍,最后来实现房屋租赁系统和部署运行使用它。
关键词:房屋租赁管理;SSM框架;MySQL数据库
Design and Implementation of House Rental System
Abstract
In the information society, there is a need for targeted access to information, but the expansion of the access is basically the direction of people's efforts. Because of the deviation in the perspective, people can often obtain different types of information, which is also the most difficult subject for technology to overcome. Aiming at the problems of housing lease management, this paper studies and analyzes the housing lease management, and then develops and designs the housing lease system to solve the problems.
The main functional modules of the housing rental system include the home page, personal data, public management (broadcast map, announcement information), user management (administrator, rental user, rental user), information management (news list, news classification list), housing information, housing viewing application, rental application, contract information, payment information, rent withdrawal application, message information, housing evaluation, and housing type management, Adopting the object-oriented development mode for software development and hardware erection can well meet the actual use needs, improve the corresponding software erection and program coding work, take MySQL as the main storage unit of background data, use SSM framework, Java technology, Ajax technology for business system coding and development, and realize all functions of the system. This report first analyzes the background, role and significance of the research, laying a foundation for the rationality of the research work. This paper analyzes the various requirements and technical problems of the house leasing system, proves the necessity and technical feasibility of the system, and then makes a basic introduction to the technical software and design ideas needed to design the system, and finally realizes the house leasing system and deploys and uses it.
Key words: house lease management; SSM framework; MySQL database
目录
第1章绪论
1.1研究背景与意义
近年来人民群众对住房的刚性需求一直处在上升趋势,政府现在又提倡保障人们群众的刚性住房需求,所以房地产行业还是很有前景的。房地产管理部门面临的工作量日益繁多, 房屋管理中的庞大数据量及更新速度快同传统的手工办理、纸制档案管理模式之间的矛盾已经越来越突出。如何有效地管理庞大复杂的房地产信息资源, 科学地规范房地产的管理工作, 已经成为房地产管理部门提高自身管理以及服务水平的关键所在。如何让房屋变成公司的流动资金,是一个公司竞争中的重中之重。在现在网络飞速发展的背景下,设计房屋租赁系统来促进房产交易也是一个很好的手段。当前形势下,仅仅靠原始的手工管理或简单的单机管理是不够的,部门面对大量的信息,无法有效率地将其中的重要部分提取出来,并做出相应的判断和处理。公司管理者的决策只能依据报表数据,在浪费大量人力、物力的同时无法做到实时监控,难以保证数据的准确性和及时性。因此,先进的管理思想在商业中实现就成为了一个可望而不可及的目标。公司集团非常急需一套既有先进管理思想又适合国内大小房地产企业的房屋租赁系统,作为实现目标和提高现有水平的一种重要手段。房屋租赁系统是一个房屋租赁公司不可缺少的部分,它的执行对于公司的决策者和管理者来说是很有帮助的, 随着科学技术的不断提高,计算机科学日渐成熟,其强大的功能已为人们深刻认识,它已进入人类社会的各个领域并发挥着越来越重要的作用。
1.2开发现状
房屋租赁在国内外都是一个已经发展了很久的行业,关于房屋租赁的各种系统也是多样化的,系统的人性化设计是加强了客户和租赁者之间联系,使用户在租赁房屋之前就和租赁方有了沟通,对自己中意的房屋也很了解。由于我国经济的发展迅速,带动了房地产业的进步,对系统的设计也是向多功能方面发展。"公正、公平、合理"的商业管理理念和商业管理水平的提高,使社会对房屋租赁系统有了更高的需求;同时由于个人电脑的普及,数据库技术、客户/服务器技术,特别是Internet/Intranet技术的发展,使得第三代房屋租赁系统的出现成为必然。房屋租赁系统的特点是从房屋租赁管理的角度出发,用集中的数据库将几乎所有与商品相关的数据统一管理起来,形成了集成的信息源。在国内外房屋租赁方面来看,利用好网络是公司成功的基石。中国加入WTO后,中国的房地产企业面临的服务领域的竞争压力更大。如何推进房屋租赁管理的现代化、专业化、市场化是所有房屋公司面临的紧迫课题。面对激烈的竞争和愈发挑剔的租房者,房地产发展商也在不断的寻找能够加强自身竞争力的手段。这时一个比较完善高效的房屋租赁系统就越发显得重要了!
1.3研究方法
首先,通过引擎搜索或者查阅相关文献资料,了解了本系统开发的背景以及设计系统的意义所在,收集用户需求信息。其次,在开发工具上,最终确定选用Java平台来设计开发本系统,MySQL作为设计数据库的工具。即利用Java语言实现用户界面,并同数据库连接起来实现完整的通信功能。之后,设计出系统大致的功能模块。主要从方便系统用户和系统管理员的角度进行分析,明确该系统应该具有的功能。最终是测试系统,通过用例测试发现存在的问题并找到解决的方案。利用现有的开发平台,结合自己所学的知识,在老师的指导帮助下来完成该设计,确保系统的可用性、实用性。
第2章相关技术介绍
2.1HTTP协议
超文本传输协议(HTTP)作为协作式与分布式的通信协议,其以万维网交换信息作为前提条件。HTTP为IEIF的国际化标准指标,在制定相关标准与实现内,W3C积极参与其中,同时发挥着不可替代的作用。其能够借助超文本标记语言,将文档在服务器与浏览器之间相互传输。HTML作为构架文档的标记语言,这些文档内将包括有关信息的链接,用户仅需要点击其中一个链接就能够访问多媒体对象与图像,同时获得该链接项所具有的附加信息[1][2]。
2.2Java语言与JDK开发环境
Java是美国sun公司所推出的一款程序设计语言,其能够在多个平台内应用,具有良好兼容性,进而其凭借自身优势在数据中心、个人PC与科技超级计算机等平台内广泛应用,具有目前最为庞大的开发者专业社群[3]。
JDK为美国sun公司为java开发员所推出的一款全新产品,要是没有JDK的情况下,所安装的java程序也就无法运行[4]。
2.3HTML网页技术
HTML是一种制作网页的常用语言,它一般是用于制作静态页面。它的命令是可以体现文字信息、链接信息、图形信息和表格信息等等。现在它被大众普遍接受广泛应用在网络上[5]。
2.4JSP脚本语言
JSP可以放在在html里使用,也可以独自使用,它同时也具备有很多种优点,可以讲,Web脚本技术的先驱是JSP。现代编程语言(像C,Java和Perl等)的一些最好的特点都融合在JSP里,Web服务器里的一些配置标准是由JSP、Tomcat和数据库等的组合在一起的[6]。
2.5MySQL数据库
MySQL 经过多次的更新,功能层面已经非常的丰富和完善了,从MySQL4版本到5版本进行了比较大的更新,在商业的实际使用中取得了很好的实际应用效果。最新版本的MySQL支持对信息的压缩,同时还能进行加密能更好的满足对信息安全性的需求。同时经过系统的多次更新,数据库自身的镜像功能也得到了很大的增强,运行的流畅度和易用性方面有了不小的进步,驱动的使用和创建也更加的高效快捷。最大的变动还是进行了空间信息的显示优化,能更加方便的在应用地图上进行坐标的标注和运算。强大的备份功能也保证了用户使用的过程会更加安心,同时支持的Office特性还支持用户的自行安装和使用。在信息的显示形式上也进行了不小的更新,增加了两个非常使用的显示区,一个是信息区,对表格和文字进行了分类处理,界面的显示更加清爽和具体。第二是仪表的信息控件,能在仪表信息区进行信息的显示,同时还能进行多个信息的比对,为用户的实际使用带来了很大的便捷[7][8]。
针对本文中设计的房屋租赁系统在实际的实现过程中,最终选择MySQL数据库的主要原因在于在企业的应用系统应用及开发的过程中会存在大量的数据库比较频繁的操作,而且数据的安全性要求也是非常的高。综合这些因素,最终选择安全性系数比较高的MySQL来对房屋租赁系统后台数据进行存储操作[9][10]。
数据库管理系统的总体结构图如下图所示。

图2-1 数据库组成结构
2.6企业级架构
SpringMVC属于MVC架构,它将JavaEE当做前提,借助JSP及Servlet技术达成。且其渐趋呈现的良好性能,获得研发者的青睐及重视,其运用相当简易,且回应迅速灵敏。因为其把JSP、message resource、Servlet还有自界定标签加以有机结合起来,让编程者用不着再编制代码就能够达到MVC形式,提升了编写程序实效[11]。
Spring却属于JavaEE框架里相当强大的某一架构。它既对监管项目主体措施加以规范化整体化,且借助其本身的设计指引编程者侧重编订接口流程,而并非对类加以编程。其运用的核心是靠着JavaBean里的Inversion of Control容器。它供应了元件框架层的整体预案,且它达到对信息拜访的唯一抽象,供应了合理的JDBC架构,这一形式有效地缩减了出现失误的概率,提升了实效。另外其还交融了Hibernate等许多信息访问框架[12]。
Mybatis属于某一放开源代码的主体关系映射架构,其达到了基于JDBC的超轻量级封装目的,如此能够便于程序员依照本身的想法借助针对主体的措施对资料库加以运作。它能够跟任一JDBC融合,另外能够在用户端运用,也能够在Web端运用,它可以实现信息的长久化[13]。
第3章系统分析
3.1可行性分析
技术性方面,采用当前主流的SSM框架进行系统主体框架的搭建,前台使用jquery,ajax,实现前台页面的设计与美观调整,以上技术,均由本人经过系统学习,并且都是在课程设计中实践过的,可以使得开发更加便捷和系统。从技术角度看,这个系统是完全可以实现的。
实用性方面,本次设计的主要任务是在房屋租赁系统内房屋信息、看房申请、租赁申请、缴费信息、留言信息、房屋类型、合同信息查看、退租申请、房屋评价等,符合当前潮流的发展。从用户角度出发,同时也考虑系统运营成本和人力资源,采用网络上的便捷方式,实现线上业务,使得业务流程更系统,也更方便用户的体验,比较实用。
经济性方面,由于本课题中设计的房屋租赁系统的主要目的是为了能够更加方便及快捷的进行信息的查询管理及检索服务,也就是能够可以直接投入使用的信息化软件。系统的主要成本主要是集中在对使用数据后期继续维护及其管理更新这个操作上。但是一旦系统投入到实际的运行及使用之后就能够很好的提高信息查询检索的效率,同时也需要有效的保证查询者的信息方面的安全性,同时这个房屋租赁系统所带来的实际应用方面的价值是远远的超过了实际系统进行开发与维护方面的成本,因此,从经济上来说开发这个软件是可行的。
3.2功能需求分析
房屋租赁系统的功能主要分为前台用户根据自己的需求进行注册登录,浏览房源信息并对选中的房源进行租赁操作。后台系统管理员因职责的不同,分为普通管理员和超级管理员,普通管理员主要对租赁单进行处理,处理看房申请看房单,而超级管理员主要对注册用户,租赁合同数据,房源详细信息,故障报修详细信息,看房申请看房单进行处理。
系统用例图如下所示。

图3-1 系统用例图
3.2.1前台用户功能
前台用户可分为未注册用户需求和已注册用户需求。
未注册用户的功能如下:
注册账号:用户填写个人信息,并验证手机号码。
浏览房源:用户可以根据房源类型浏览房源的信息,并选中某个房源查看详情,例如:房源编号、房源名称、房屋照片、地址、所在楼层、户型、建筑面积、建成年份、配套设施、押金、租金、状态、是否推荐等。
已注册用户的功能如下:
登录:根据账号密码进行登录操作。
维护个人信息:用户因个人信息的变更可以随时修改自己注册信息。
房源租赁:用户根据自己的需求选中某个房源进行租赁操作。
查看历史租赁单:用户可以查看自己以往租赁的信息。
看房申请:用户根据自己的需求选中某个房源进行看房申请操作。
个人房源看房申请历史记录:用户可以查看自己以往看房申请数据。
缴费信息:用户查看缴费信息,并可以对其进行缴费等操作。
浏览租赁合同信息:用户可以浏览主页面的租赁合同数据来了解系统的最新租赁合同数据。
3.2.2后台管理员功能
后台管理员可分为普通管理员和超级管理员。
普通管理员功能如下。
修改密码:管理员可以随时修改自己进入系统的登录密码,以保证系统的安全性。
对租赁单信息进行处理:查看租赁单信息,办理租赁单审核等。
超级管理员功能如下:
修改密码:管理员可以随时修改自己进入系统的登录密码,以保证系统的安全性。
对租赁单信息进行处理:办理租赁单审核等。
管理普通管理员:对普通管理员进行管理。调动相关工作人员时可以添加或删除普通管理员。
房源信息管理:对房源信息进行维护,添加、删除、修改信息。
对看房申请单信息进行处理:办理看房申请单审核等。
租赁合同数据信息管理:发布、删除相关的租赁合同数据信息。
3.3非功能需求分析
首先主要考虑的是系统功能软件,在具体设计的环节上,是不是能够较好的满足各类用户的基本功能需求,如果不能较好的满足用户需求,那么这个系统的存在是没有价值的。软件系统的非功能性求分析,从7个方面展开,一个是性能分析,针对系统;一个是安全分析,针对系统,一个是完整度分析,针对系统,一个是可维护分析,针对系统,一个是可扩展性分析,针对系统,一个是适应业务的性能分析。面对房屋租赁系统存在的性能、安全、扩展、完整度等7个方面性能综合比对分析后发现,需要相应的非功能性需求分析。
3.4安全性需求分析
3.4.1系统的安全性
安全性对每一个系统来说都是非常重要的。安全性很好的系统可以保护企业的信息和用户的信息不被窃取。提高系统的安全性不仅是对用户的负责,更是对企业的负责。尤其针对于房屋租赁系统来说,必须要有很好的安全性来保障整个系统。
系统具有对使用者有权限控制,针对角色的不通限制使用者的权限,以此来确保系统的安全性。
3.4.2数据的安全性
数据库中的数据是从外界输入的,当数据的输入时,由于种种原因,输入的数据会无效,或者是脏数据。因此,怎样保证输入的数据符合规定,成为了数据库系统,尤其是多用户的关系数据库系统首要关注的问题。
因此,在写入数据库时,要保证数据完整性、正确性和一致性。
3.5数据流程分析
对系统的数据流进行分析,系统的使用者分为二类,一般用户,管理员。系统主要对界面信息传送,登录信息的验证,注册信息的接收,用户各种操作的响应做处理。
系统顶层数据流图如下图所示。

图3-2 顶层数据流图
要判断用户是是什么身份,是根据登录的数据来判断后,跳转到对应的功能界面。在系统的内部用户就可以对数据进行操作,数据库中心就可以接收到系统传输的有效数据流来对数据sql语句进行对应操作。
系统底层数据流图如下图所示。

图3-3 底层数据流图
系统可以分为前台和后台两部分,每一种操作后系统都返回操作结果。前台和后台的数据连接主要通过数据库,既分别对数据库做不同的操作。
第4章系统设计
4.1系统架构设计
本房屋租赁系统的架构设计主要分为可以3层,主要有Web层,业务层,Model层。其中web层还包括View层和Controller层,Model层包括元数据扩展层和数据访问层。
系统架构如下图所示。

图4-1 系统架构
4.2系统总体设计
房屋租赁系统总体分为前台用户模块和后台管理员模块。
两个模块表现上是分别独立存在,但是访问的数据库是一样的。每一个模块的功能都是根据先前完成的需求分析,并查阅相关资料后整理制作的。
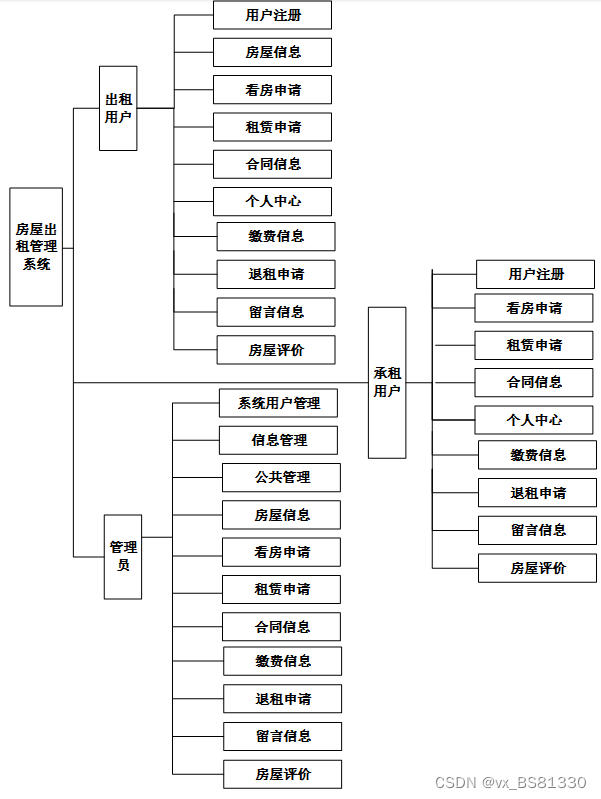
综上所述,系统功能结构图如下图所示。

图4-2 系统功能结构图
4.3系统功能设计
登录模块:登录模块是进入系统的入口,所有用户必须登录后才能访问系统。登录需要输入用户名和密码,如果多次尝试登录需要输入验证码。登录时需要选择用户的角色,是一般用户还是管理员登录等。登录成功后,会通过数据库获取用户的权限,并跳转至用户的主页面。
留言版模块:留言板促进用户之间的交流,发表个人意见、建议、看法等,在留言板可以查看已有的留言记录,发布新留言,可以展示个人动态头像,个人匿名昵称等。
租赁合同数据模块:可分为租赁合同数据浏览、租赁合同数据检索、租赁合同数据维护三个模块,管理员对租赁合同数据有维护的权限,发布新的租赁合同数据、更新已有的租赁合同数据等。
房源管理模块:房源管理分为房源添加、修改和房源租赁和看房申请。房源信息由管理员进行修改、添加、删除操作;房源租赁、看房申请由普通用户来执行。
4.4数据库设计
4.4.1数据需求分析
从前面可以分析到数据库中最重要的是房源信息,用户信息,租赁信息,同时存在故障报修信息和看房申请信息。分析可以得到如下数据描述:
平台用户:用于记录用户的各种信息,包括用户名、密码、姓名、性别、地址、邮箱、联系方式等数据项。
管理员:记录管理员的登录信息。包括用户名,密码,权限等数据项。
房源:存放给房源的内容,包括房源编号、房源名称、房屋照片、地址、所在楼层、户型、建筑面积、建成年份、配套设施、押金、租金、状态、是否推荐等数据项。
房源租赁:存储用户的房源租赁信息。包括房源租赁的房源编号、房源名称、地址、所在楼层、户型、建筑面积、配套设施、押金、租金、租用月份、总额、租房人、姓名、联系电话、合同、是否支付、是否审核等数据项。
看房申请看房。存储用户的看房申请看房信息。包括看房申请看房的房源编号、房源名称、地址、所在楼层、预约人、预约时间、姓名、联系电话、是否审核等数据项。
留言:存储用户的留言。包括留言内容,留言的信息,留言人,时间等数据项。
租赁合同数据:存储平台内的租赁合同数据内容。包括租赁单号、房屋编号、房屋名称、地址、价格、租赁人、姓名、身份证、租赁月数、租赁开始日期、租赁结束日期、押金、合同文档等数据项。
4.4.2数据库概念设计
根据前面的数据流程图,结合系统的功能模块设计,设计出符合系统的各信息实体。
系统ER图如下图所示。

图4-3 系统ER图
4.4.3数据库表设计
房屋租赁系统所拥有的数据表有以下:用户信息表,房源租赁表,房源信息表,看房申请看房表,故障报修表,合同表。
由于数据表较多,只展示系统主要数据表,如下表所示。
| contract_information | |||||
| 字段名称 | 类型 | 长度 | 不是null | 主键 | 字段说明 |
| contract_information_id | int | 11 | 是 | 主键 | 合同信息ID |
| contract_no | varchar | 64 | 否 | 合同号 | |
| house_name | varchar | 64 | 否 | 房屋名称 | |
| deposit | int | 11 | 否 | 押金 | |
| rent | int | 11 | 否 | 租金 | |
| hall | varchar | 64 | 否 | 厅室 | |
| detailed_address | varchar | 64 | 否 | 详细地址 | |
| rental_user | int | 11 | 否 | 出租用户 | |
| lessors_name | varchar | 64 | 否 | 出租人名 | |
| tenant_user | int | 11 | 否 | 租客用户 | |
| lease_time | varchar | 64 | 否 | 租赁时间 | |
| contract_documents | varchar | 255 | 否 | 合同文件 | |
| recommend | int | 11 | 是 | 智能推荐 | |
| create_time | datetime | 0 | 是 | 创建时间 | |
| update_time | timestamp | 0 | 是 | 更新时间 | |
| house_information | |||||
| 字段名称 | 类型 | 长度 | 不是null | 主键 | 字段说明 |
| house_information_id | int | 11 | 是 | 主键 | 房屋信息ID |
| house_no | varchar | 64 | 否 | 房屋编号 | |
| house_name | varchar | 64 | 否 | 房屋名称 | |
| cover | varchar | 255 | 否 | 封面 | |
| house_type | varchar | 64 | 否 | 房屋类型 | |
| deposit | int | 11 | 否 | 押金 | |
| rent | int | 11 | 否 | 租金 | |
| hall | varchar | 64 | 否 | 厅室 | |
| detailed_address | varchar | 64 | 否 | 详细地址 | |
| house_details | longtext | 0 | 否 | 房屋详情 | |
| rental_user | int | 11 | 否 | 出租用户 | |
| lessors_name | varchar | 64 | 否 | 出租人名 | |
| hits | int | 11 | 是 | 点击数 | |
| praise_len | int | 11 | 是 | 点赞数 | |
| examine_state | varchar | 16 | 是 | 审核状态 | |
| recommend | int | 11 | 是 | 智能推荐 | |
| create_time | datetime | 0 | 是 | 创建时间 | |
| update_time | timestamp | 0 | 是 | 更新时间 | |
| house_type | |||||
| 字段名称 | 类型 | 长度 | 不是null | 主键 | 字段说明 |
| house_type_id | int | 11 | 是 | 主键 | 房屋类型ID |
| house_type | varchar | 64 | 否 | 房屋类型 | |
| recommend | int | 11 | 是 | 智能推荐 | |
| create_time | datetime | 0 | 是 | 创建时间 | |
| update_time | timestamp | 0 | 是 | 更新时间 | |
| housing_application | |||||
| 字段名称 | 类型 | 长度 | 不是null | 主键 | 字段说明 |
| housing_application_id | int | 11 | 是 | 主键 | 看房申请ID |
| house_no | varchar | 64 | 否 | 房屋编号 | |
| house_name | varchar | 64 | 否 | 房屋名称 | |
| deposit | int | 11 | 否 | 押金 | |
| rent | int | 11 | 否 | 租金 | |
| hall | varchar | 64 | 否 | 厅室 | |
| detailed_address | varchar | 64 | 否 | 详细地址 | |
| rental_user | int | 11 | 否 | 出租用户 | |
| lessors_name | varchar | 64 | 否 | 出租人名 | |
| tenant_user | int | 11 | 否 | 租客用户 | |
| remarks | varchar | 64 | 否 | 看房备注 | |
| date_of_viewing | date | 0 | 否 | 看房日期 | |
| examine_state | varchar | 16 | 是 | 审核状态 | |
| examine_reply | varchar | 16 | 否 | 审核回复 | |
| recommend | int | 11 | 是 | 智能推荐 | |
| create_time | datetime | 0 | 是 | 创建时间 | |
| update_time | timestamp | 0 | 是 | 更新时间 | |
| housing_evaluation | |||||
| 字段名称 | 类型 | 长度 | 不是null | 主键 | 字段说明 |
| housing_evaluation_id | int | 11 | 是 | 主键 | 房屋评价ID |
| contract_no | varchar | 64 | 是 | 合同号 | |
| house_name | varchar | 64 | 否 | 房屋名称 | |
| deposit | int | 11 | 否 | 押金 | |
| rent | int | 11 | 否 | 租金 | |
| hall | varchar | 64 | 否 | 厅室 | |
| detailed_address | varchar | 64 | 否 | 详细地址 | |
| rental_user | int | 11 | 否 | 出租用户 | |
| lessors_name | varchar | 64 | 否 | 出租人名 | |
| tenant_user | int | 11 | 否 | 租客用户 | |
| evaluation_grade | varchar | 64 | 否 | 评价等级 | |
| evaluation_content | longtext | 0 | 否 | 评价内容 | |
| recommend | int | 11 | 是 | 智能推荐 | |
| create_time | datetime | 0 | 是 | 创建时间 | |
| update_time | timestamp | 0 | 是 | 更新时间 | |
| lease_application | |||||
| 字段名称 | 类型 | 长度 | 不是null | 主键 | 字段说明 |
| lease_application_id | int | 11 | 是 | 主键 | 租赁申请ID |
| house_no | varchar | 64 | 否 | 房屋编号 | |
| house_name | varchar | 64 | 否 | 房屋名称 | |
| deposit | int | 11 | 否 | 押金 | |
| rent | int | 11 | 否 | 租金 | |
| hall | varchar | 64 | 否 | 厅室 | |
| detailed_address | varchar | 64 | 否 | 详细地址 | |
| rental_user | int | 11 | 否 | 出租用户 | |
| lessors_name | varchar | 64 | 否 | 出租人名 | |
| tenant_user | int | 11 | 否 | 租客用户 | |
| lease_application | text | 0 | 否 | 租赁申请 | |
| examine_state | varchar | 16 | 是 | 审核状态 | |
| examine_reply | varchar | 16 | 否 | 审核回复 | |
| recommend | int | 11 | 是 | 智能推荐 | |
| create_time | datetime | 0 | 是 | 创建时间 | |
| update_time | timestamp | 0 | 是 | 更新时间 | |
| message_message | |||||
| 字段名称 | 类型 | 长度 | 不是null | 主键 | 字段说明 |
| message_message_id | int | 11 | 是 | 主键 | 留言信息ID |
| house_name | varchar | 64 | 否 | 房屋名称 | |
| hall | varchar | 64 | 否 | 厅室 | |
| detailed_address | varchar | 64 | 否 | 详细地址 | |
| rental_user | int | 11 | 否 | 出租用户 | |
| lessors_name | varchar | 64 | 否 | 出租人名 | |
| tenant_user | int | 11 | 否 | 租客用户 | |
| message_content | text | 0 | 否 | 留言内容 | |
| message_date | date | 0 | 否 | 留言日期 | |
| examine_state | varchar | 16 | 是 | 审核状态 | |
| examine_reply | varchar | 16 | 否 | 审核回复 | |
| recommend | int | 11 | 是 | 智能推荐 | |
| create_time | datetime | 0 | 是 | 创建时间 | |
| update_time | timestamp | 0 | 是 | 更新时间 | |
| payment_information | |||||
| 字段名称 | 类型 | 长度 | 不是null | 主键 | 字段说明 |
| payment_information_id | int | 11 | 是 | 主键 | 缴费信息ID |
| payment_no | varchar | 64 | 否 | 缴费号 | |
| contract_no | varchar | 64 | 否 | 合同号 | |
| house_name | varchar | 64 | 否 | 房屋名称 | |
| rental_user | int | 11 | 否 | 出租用户 | |
| lessors_name | varchar | 64 | 否 | 出租人名 | |
| tenant_user | int | 11 | 否 | 租客用户 | |
| payment_name | varchar | 64 | 否 | 缴费名称 | |
| payment_amount | int | 11 | 否 | 缴费金额 | |
| payment_date | date | 0 | 否 | 缴费日期 | |
| pay_state | varchar | 16 | 是 | 支付状态 | |
| pay_type | varchar | 16 | 否 | 支付类型: 微信、支付宝、网银 | |
| recommend | int | 11 | 是 | 智能推荐 | |
| create_time | datetime | 0 | 是 | 创建时间 | |
| update_time | timestamp | 0 | 是 | 更新时间 | |
| rent_out_application | |||||
| 字段名称 | 类型 | 长度 | 不是null | 主键 | 字段说明 |
| rent_out_application_id | int | 11 | 是 | 主键 | 退租申请ID |
| contract_no | varchar | 64 | 是 | 合同号 | |
| house_name | varchar | 64 | 否 | 房屋名称 | |
| deposit | int | 11 | 否 | 押金 | |
| rent | int | 11 | 否 | 租金 | |
| hall | varchar | 64 | 否 | 厅室 | |
| detailed_address | varchar | 64 | 否 | 详细地址 | |
| rental_user | int | 11 | 否 | 出租用户 | |
| lessors_name | varchar | 64 | 否 | 出租人名 | |
| tenant_user | int | 11 | 否 | 租客用户 | |
| reasons_for_rent_cancellation | text | 0 | 否 | 退租原因 | |
| examine_state | varchar | 16 | 是 | 审核状态 | |
| examine_reply | varchar | 16 | 否 | 审核回复 | |
| recommend | int | 11 | 是 | 智能推荐 | |
| create_time | datetime | 0 | 是 | 创建时间 | |
| update_time | timestamp | 0 | 是 | 更新时间 | |
| rental_user | |||||
| 字段名称 | 类型 | 长度 | 不是null | 主键 | 字段说明 |
| rental_user_id | int | 11 | 是 | 主键 | 出租用户ID |
| lessors_name | varchar | 64 | 否 | 出租人名 | |
| gender | varchar | 64 | 否 | 性别 | |
| examine_state | varchar | 16 | 是 | 审核状态 | |
| recommend | int | 11 | 是 | 智能推荐 | |
| user_id | int | 11 | 是 | 用户ID | |
| create_time | datetime | 0 | 是 | 创建时间 | |
| update_time | timestamp | 0 | 是 | 更新时间 | |
| tenant_user | |||||
| 字段名称 | 类型 | 长度 | 不是null | 主键 | 字段说明 |
| tenant_user_id | int | 11 | 是 | 主键 | 承租用户ID |
| name_of_the_lessee | varchar | 64 | 否 | 租赁人名 | |
| gender | varchar | 64 | 否 | 性别 | |
| examine_state | varchar | 16 | 是 | 审核状态 | |
| recommend | int | 11 | 是 | 智能推荐 | |
| user_id | int | 11 | 是 | 用户ID | |
| create_time | datetime | 0 | 是 | 创建时间 | |
| update_time | timestamp | 0 | 是 | 更新时间 | |
第5章系统实现
5.1数据库访问层的实现
该系统是通过jdbc和MySQL达成连接的,新建一个jdbc.properties文件来填写与数据库连接所需要的驱动和参数。
@RequestMapping(value = "/del")
@Transactional
public Map<String, Object> del(HttpServletRequest request) {
service.delete(service.readQuery(request), service.readConfig(request));
return success(1);
}
第一个参数代表MySQL数据库的驱动,第二个参数代表要连接的数据库,第三个和第四个参数代表数据库连接名和密码。
后台与数据库访问主要是通过HQL语句来进行查询的,查询语句中的表名是表格的实体类名,在这种查询语句中*是不允许使用的,除非适合聚合函数一起使用才可以。
5.2注册模块的实现
用户在填写数据的时候必须与注册页面上的验证相匹配否则会注册失败,注册页面的表单验证是通过JavaScript进行验证的,用户名的长度必须在6到18之间,邮箱必须带有@符号,密码和密码确认必须相同,你输入的密码,系统会根据你输入密码的强度给出指定的值,电话号码和身份证号码必须要求输入格式与生活相符合,当你前台验证通过的时候你点击注册,表单会将你输入的值通过name值传递给后台并保存到数据库中。
用户注册流程图如下图所示。

图5-1用户注册流程图
用户注册界面如下图所示。
图5-2用户注册界面
用户注册的关键代码如下。
* 注册
* @return
*/
@PostMapping("register")
public Map<String, Object> signUp(HttpServletRequest request) throws IOException {
// 查询用户
Map<String, String> query = new HashMap<>();
Map<String,Object> map = service.readBody(request.getReader());
query.put("username",String.valueOf(map.get("username")));
List list = service.selectBaseList(service.select(query, new HashMap<>()));
if (list.size()>0){
return error(30000, "用户已存在");
}
map.put("password",service.encryption(String.valueOf(map.get("password"))));
service.insert(map);
return success(1);
}
public Map<String,Object> readBody(BufferedReader reader){
BufferedReader br = null;
StringBuilder sb = new StringBuilder("");
try{
br = reader;
String str;
while ((str = br.readLine()) != null){
sb.append(str);
}
br.close();
String json = sb.toString();
return JSONObject.parseObject(json, Map.class);
}catch (IOException e){
e.printStackTrace();
}finally{
if (null != br){
try{
br.close();
}catch (IOException e){
e.printStackTrace();
}
}
}
return null;
}
public void insert(Map<String,Object> body){
E entity = JSON.parseObject(JSON.toJSONString(body),eClass);
baseMapper.insert(entity);
log.info("[{}] - 插入操作:{}",entity);
}
5.3登录模块的实现
主要由两部分组成,登录前的登录界面以及登录后的用户功能界面。登录界面,要求用户输入用户名和密码,当用户名和密码其中一个输入为空时,给出提示“用户名,密码不能为空”。获取用户名和密码后到数据库中查找,如果用户名存在,以及对应的密码正确,则登录成功,否则登录失败。登录失败后给出提示,并把焦点停在文本框中。登录成功后将该次会话的全局变量username设置为用户名。登录成功后进入会员的功能模块,主要有会员基本信息修改,已经发布房源信息管理,发布信息,和退出功能。退出功能是清除全局变量username的值,并跳回到首页。
登录流程图如下图所示。

图5-4登录流程图
用户登录界面如下图所示。
图5-5用户登录界面
用户登录的关键代码如下。
* 登录
* @param data
* @param httpServletRequest
* @return
*/
@PostMapping("login")
public Map<String, Object> login(@RequestBody Map<String, String> data, HttpServletRequest httpServletRequest) {
log.info("[执行登录接口]");
String username = data.get("username");
String email = data.get("email");
String phone = data.get("phone");
String password = data.get("password");
List resultList = null;
QueryWrapper wrapper = new QueryWrapper<User>();
Map<String, String> map = new HashMap<>();
if(username != null && "".equals(username) == false){
map.put("username", username);
resultList = service.selectBaseList(service.select(map, new HashMap<>()));
}
else if(email != null && "".equals(email) == false){
map.put("email", email);
resultList = service.selectBaseList(service.select(map, new HashMap<>()));
}
else if(phone != null && "".equals(phone) == false){
map.put("phone", phone);
resultList = service.selectBaseList(service.select(map, new HashMap<>()));
}else{
return error(30000, "账号或密码不能为空");
}
if (resultList == null || password == null) {
return error(30000, "账号或密码不能为空");
}
//判断是否有这个用户
if (resultList.size()<=0){
return error(30000,"用户不存在");
}
User byUsername = (User) resultList.get(0);
Map<String, String> groupMap = new HashMap<>();
groupMap.put("name",byUsername.getUserGroup());
List groupList = userGroupService.selectBaseList(userGroupService.select(groupMap, new HashMap<>()));
if (groupList.size()<1){
return error(30000,"用户组不存在");
}
UserGroup userGroup = (UserGroup) groupList.get(0);
//查询用户审核状态
if (!StringUtils.isEmpty(userGroup.getSourceTable())){
String res = service.selectExamineState(userGroup.getSourceTable(),byUsername.getUserId());
if (res==null){
return error(30000,"用户不存在");
}
if (!res.equals("已通过")){
return error(30000,"该用户审核未通过");
}
}
//查询用户状态
if (byUsername.getState()!=1){
return error(30000,"用户非可用状态,不能登录");
}
String md5password = service.encryption(password);
if (byUsername.getPassword().equals(md5password)) {
// 存储Token到数据库
AccessToken accessToken = new AccessToken();
accessToken.setToken(UUID.randomUUID().toString().replaceAll("-", ""));
accessToken.setUser_id(byUsername.getUserId());
tokenService.save(accessToken);
// 返回用户信息
JSONObject user = JSONObject.parseObject(JSONObject.toJSONString(byUsername));
user.put("token", accessToken.getToken());
JSONObject ret = new JSONObject();
ret.put("obj",user);
return success(ret);
} else {
return error(30000, "账号或密码不正确");
}
}
public String select(Map<String,String> query,Map<String,String> config){
StringBuffer sql = new StringBuffer("select ");
sql.append(config.get(FindConfig.FIELD) == null || "".equals(config.get(FindConfig.FIELD)) ? "*" : config.get(FindConfig.FIELD)).append(" ");
sql.append("from ").append("`").append(table).append("`").append(toWhereSql(query, "0".equals(config.get(FindConfig.LIKE))));
if (config.get(FindConfig.GROUP_BY) != null && !"".equals(config.get(FindConfig.GROUP_BY))){
sql.append("group by ").append(config.get(FindConfig.GROUP_BY)).append(" ");
}
if (config.get(FindConfig.ORDER_BY) != null && !"".equals(config.get(FindConfig.ORDER_BY))){
sql.append("order by ").append(config.get(FindConfig.ORDER_BY)).append(" ");
}
if (config.get(FindConfig.PAGE) != null && !"".equals(config.get(FindConfig.PAGE))){
int page = config.get(FindConfig.PAGE) != null && !"".equals(config.get(FindConfig.PAGE)) ? Integer.parseInt(config.get(FindConfig.PAGE)) : 1;
int limit = config.get(FindConfig.SIZE) != null && !"".equals(config.get(FindConfig.SIZE)) ? Integer.parseInt(config.get(FindConfig.SIZE)) : 10;
sql.append(" limit ").append( (page-1)*limit ).append(" , ").append(limit);
}
log.info("[{}] - 查询操作,sql: {}",table,sql);
return sql.toString();
}
public List selectBaseList(String select) {
List<Map<String,Object>> mapList = baseMapper.selectBaseList(select);
List<E> list = new ArrayList<>();
for (Map<String,Object> map:mapList) {
list.add(JSON.parseObject(JSON.toJSONString(map),eClass));
}
return list;
}
5.4用户资料修改模块的实现
用户登录/注册成功之后可以修改自己的基本信息。修改页面的表单中每一个input的name值都要与实体类中的参数相匹配,在用户点击修改页面的时候,如果改后用户名与数据库里面重复了,页面会提示该用户名已经存在了,否则通过Id来查询用户,并将用户的信息修改为表单提交的数据。
5.5租赁合同数据管理模块的实现
如果租赁合同数据的信息需要修改,管理员可以通过查询租赁合同数据的基本信息来查询租赁合同数据,查询租赁合同数据是通过ajax技术来进行查询的,需要传递租赁合同数据的标题、编号等参数然后在返回到该页面中,可以选中要修改或删除的那条信息,如果选中了超过一条数据,页面会挑一个窗口提醒只能选择一条数,如果没有选中数据会挑一个窗口题型必须选择一条数据。当选择确认修改的时候,后台会根据传过来的id到数据库查询,并将结果返回到修改页面中,可以在修改页面中修改刚刚选中的信息当点击确认的时候from表单会将修改的数据提交到后台并保存到数据库中,就是说如果提交的数据数据库中存在就修改,否则就保存。
租赁合同数据展示界面如下图所示。
图5-6租赁合同数据展示界面
租赁合同数据管理界面如下图所示。
图5-7租赁合同数据管理界面
租赁合同数据发布的关键代码如下。
public Map<String, Object> error(Integer code, String message) {
Map<String, Object> map = new HashMap<>();
map.put("error", new HashMap<String, Object>(4) {{
put("code", code);
put("message", message);
}});
return map;
}
5.6留言模块的实现
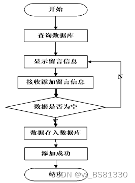
用户可以发表自己的留言。将页面session中的用户账号userId和发表留言文字框内容传入控制层LiuyanAction,调用addLiuyan方法,通过LiuyanDAOImp向数据库留言表插入,将结果返回lyb.jsp界面。
留言添加流程图如下图所示。

图5-8言添加流程图
留言发表界面如下所示。
图5-9留言发表界面
5.7租赁房源模块的实现
租赁房源功能需要考虑高并发,防止出现房源重复租赁、房源状态显示出错等情况,特对房源这一共享数据增加锁机制。在乐观锁、悲观锁以及线程锁中,综合考虑性能效率和错误的可接受性选择了乐观锁机制。乐观锁的实现方式是使用版本标识来确定读到的数据与提交时的数据是否一致,提交后修改版本标识,不一致时可以采取丢弃和再次尝试的策略。在数据库房源表(对应房源实体)设计中增加了version字段,每次数据提交时(更改房源状态)会判断version是否匹配,若不匹配停止本次提交,若匹配则提交成功并增加version的值。
租赁房源功能整体流程:用户浏览房源信息时,同时会显示房源的状态,系统会在其显示详细信息的页面时便会判断房源的状态,若房源状态为可租赁,则会显示租赁的链接按钮。在用户点击租赁按钮时,会先通过拦截器判断用户是否登录,若未登录,会跳转至登录页面,提示用户先登录,若为登录用户就会跳转至填写租赁信息的页面,填写好租赁信息之后,点击提交按钮,租赁成功之后返回提示信息,告知用户租赁成功。
房源租赁流程图如下图所示。

图5-10房源租赁流程图
房源租赁界面如下图所示。
图5-11房源租赁界面
租赁管理界面如下图所示。
图5-12租赁管理界面
房源租赁关键代码如下。
public Map<String, Object> obj(HttpServletRequest request) {
List resultList = service.selectBaseList(service.select(service.readQuery(request), service.readConfig(request)));
if (resultList.size() > 0) {
JSONObject jsonObject = new JSONObject();
jsonObject.put("obj",resultList.get(0));
return success(jsonObject);
} else {
return success(null);
}
}
5.8看房申请模块的实现
看房申请功能整体流程:用户浏览房源信息时,同时会显示房源的状态,系统会在其显示详细信息的页面时便会判断房源的状态,若房源状态为可看房申请,则会显示看房申请的链接按钮。在用户点击看房申请按钮时,会先通过拦截器判断用户是否登录,若未登录,会跳转至登录页面,提示用户先登录,若为登录用户就会跳转至填写看房申请信息的页面,填写好看房申请信息之后,点击提交按钮,看房申请成功之后返回提示信息,告知用户看房申请成功。
看房申请流程图如下图所示。

图5-13看房申请流程图
看房申请界面如下图所示。
图5-14看房申请界面
看房申请管理界面如下图所示。
图5-15看房申请管理界面
看房申请添加关键代码如下。
@RequestMapping(value = "/del")
@Transactional
public Map<String, Object> del(HttpServletRequest request) {
service.delete(service.readQuery(request), service.readConfig(request));
return success(1);
}
5.9房屋管理模块的实现
此页面的关键是编写房源信息,包括房源编号,名称,详情等。单击提交按钮以完成信息的添加。如果未写入完整的房源信息,例如,如果未写入房源编号,系统将给出相应的错误提示,并且无法成功输入。数据以概念的形式以onsubmit =“return checkForm()”的形式写入以进行检查,checkForm()函数是一种用于写入数据的不同类型的校对方法,是不是为空也是经过form表单中的onsubmit=”return checkForm()来检查。
管理员点击左侧菜单“房源信息管理”,页面跳转到房源信息管理外观,调用后台房源查询所有房源信息。并将信息密封到数据集合List,绑定到请求对象,然后页面跳转到相应的jsp,显示出房源信息,单击删除按钮完成房源信息的删除。
房源管理流程图如下图所示。

图5-17房源管理流程图
房源添加界面如下图所示。
图5-18房屋添加界面
房屋管理界面如下图所示。
图5-19房屋管理界面
房源发布的关键代码如下。
@PostMapping("/add")
@Transactional
public Map<String, Object> add(HttpServletRequest request) throws IOException {
service.insert(service.readBody(request.getReader()));
return success(1);
}
@Transactional
public Map<String, Object> addMap(Map<String,Object> map){
service.insert(map);
return success(1);
}
第6章系统测试
6.1测试目的
对任何系统而言,测试都是必不可少的环节,测试可以发现系统存在的很多问题,所有的软件上线之前,都应该进行充足的测试之后才能保证上线后不会Bug频发,或者是功能不满足需求等问题的发生。下面分别从单元测试,功能测试和用例测试来对系统进行测试以保证系统的稳定性和可靠性。
6.2功能测试
下表是系统登录功能测试用例,检测了用户名和密码的不同的输入情况,观察系统的响应情况。得出该功能达到了设计目标。
表6-1 系统登录功能测试用例
| 功能描述 | 用于系统登录 | |
| 测试目的 | 检测登录时的合法性检查 | |
| 测试数据以及操作 | 预期结果 | 实际结果 |
| 输入的用户名和密码带有非法字符 | 提示用户名或者密码错误 | 与预期结果一致 |
| 输入的用户名或者密码为空 | 提示用户名或者密码错误 | 与预期结果一致 |
| 输入的用户名和密码不存在 | 提示用户名或者密码错误 | 与预期结果一致 |
| 输入正确的用户名和密码 | 登录成功 | 与预期结果一致 |
下表是注册功能测试用例,检测了各种数据的输入情况,观察系统的响应情况。得出该功能达到了设计目标。
表6-2 注册功能测试用例
| 功能描述 | 用于用户注册 | |
| 测试目的 | 检测用户注册时的合法性检查 | |
| 测试数据以及操作 | 预期结果 | 实际结果 |
| 输入的手机号不合法 | 提示请输入正确的手机号码 | 与预期结果一致 |
| 输入的字段为空 | 提示必填项不能为空 | 与预期结果一致 |
| 输入的密码少于6位 | 提示密码必须为6-12位 | 与预期结果一致 |
| 输入的密码大于12位 | 提示密码必须为6-12位 | 与预期结果一致 |
下表是房源管理功能的测试用例,检测了房源管理中对房源信息的增加,删除,修改,查询操作是否成功运行。观察系统的响应情况,得出该功能也达到了设计目标,系统运行正确。
前置条件;用户登录系统。
表6-3 房源管理的测试用例
| 功能描述 | 用于房源管理 | |
| 测试目的 | 检测房源管理时的各种操作的运行情况 | |
| 测试数据以及操作 | 预期结果 | 实际结果 |
| 点击添加房源,必填项合法输入,点击保存 | 提示添加成功 | 与预期结果一致 |
| 点击添加房源,必填项输入不合法,点击保存 | 提示必填项不能为空 | 与预期结果一致 |
| 点击修改房源,必填项修改为空,点击保存 | 提示必填项不能为空 | 与预期结果一致 |
| 点击修改房源,必填项输入不合法,点击保存 | 提示必填项不能为空 | 与预期结果一致 |
| 点击删除房源,选择房源删除 | 提示删除成功 | 与预期结果一致 |
| 点击搜索房源,输入存在的房源名 | 查找出房源 | 与预期结果一致 |
| 点击搜索房源,输入不存在的房源名 | 不显示房源 | 与预期结果一致 |
下表是租赁管理功能的测试用例,检测了租赁管理中租赁单的操作是否成功运行。观察系统的响应情况,得出该功能也达到了设计目标,系统运行正确。
前置条件;用户登录系统。
表6-5 租赁管理的测试用例
| 功能描述 | 用于租赁管理 | |
| 测试目的 | 检测租赁管理时各种操作的情况 | |
| 测试数据以及操作 | 预期结果 | 实际结果 |
| 未选择房源,点击提交 | 提示请选择房源 | 与预期结果一致 |
| 未输入时间,点击提交 | 提示请输入时间 | 与预期结果一致 |
6.3性能测试
使用阿里云PTS(Performance Testing Service)性能测试服务对线上系统进行压力测试。线上服务器环境为:1核心CPU,1G内存,1Mbps公网带宽,Centos7.0操作系统。
压测过程中使用了2台并发机器,每台机器20个用户并发,对系统主页,登录,数据查询和数据维护等模块进行并发访问,测试结果是有40个用户并发时,数据管理相关页面的响应时间甚至达到了7s,通过查看服务器出网流量发现已经达到1381kb/s,可以看出服务器的带宽已经达到峰值,如果系统使用5Mbps的带宽,系统的响应时间和TPS将会大大增加。在整个测试的过程中,CPU的使用率占用仅8%,也提现出带宽瓶颈对系统的影响非常严重。
第7章总结与展望
随着计算机互联网技术的迅猛发展,各行各业都已经实现采用计算机相关技术对日益放大的数据进行管理。该课题是房屋租赁系统为核心展开的,主要是为了实现租房信息化管理和用户在线预订房源的需求。
房屋租赁系统的开发是以Java编程语言作为基础,在Eclipse平台上完成编码工作,系统整体为B/S架构,数据库系统使用MySQL。文中详细分析了房屋租赁系统的研究背景、研究目的和意义、开发工具和相关技术以及系统需求、系统详细设计和系统测试等等一系列内容。系统实现了房屋租赁系统所需的一些基本功能,并通过测试对这些实现的功能进行了完善,进而提高了系统整体的实用性。整个系统的开发过程中大量使用了Java相关的知识以及前端开发使用的html和javascript等,同时涉及到了很多开源框架和组件,例如后台系统中运用的MVC架构、Freemarker模板引擎等,前端运用的UI框架等。
系统投入运行时,各功能均运行正常。系统的每个界面的操作符合常规逻辑,对使用者来说操作简单,界面友好。整个系统的各个功能设计合理,体现了人性化。
但是由于自己在系统开发过程中对一些用到的相关知识和技术掌握不够牢固,再加上自身开发经验欠缺,因此系统在有些方面的功能还不够完善,考虑的不够全面,因此整个系统还有待日后逐步完善。
参考文献
[1]闫银娟.基于SSM的房屋租赁系统的设计与实现[J].电脑知识与技术,2022,18(33):38-41.DOI:10.14004/j.cnki.ckt.2022.2092.
[2]赵静.基于SSM+VUE框架的企业合规管理系统[J].数字通信世界,2022(11):17-19.
[3]毛越.基于区块链技术的房屋租赁市场研究[J].中国集体经济,2022(30):166-168.
[4]邓潇.房屋租赁合同中法定优先承租权的相关法律问题研究[J].法制博览,2022(30):130-132.
[5]张晨.Java Web反序列化网络安全漏洞分析[J].四川职业技术学院学报,2022,32(05):158-162+168.DOI:10.13974/j.cnki.51-1645/z.2022.05.021.
[6]李乐.Java语言应用研究[J].智慧中国,2022(09):80-81.
[7]苏婉怡,揣小龙,赵国松,王煜尧.基于Java技术的考试系统关键点研究[J].无线互联科技,2022,19(18):58-60.
[8]周玲艳.Java程序设计课程实践教学方法和考核方式的思考[J].中国现代教育装备,2022(17):122-124.DOI:10.13492/j.cnki.cmee.2022.17.023.
[9]张晨.基于Java Web的反序列化信息安全漏洞挖掘研究[J].成都航空职业技术学院学报,2022,38(03):50-53.
[10]彭莉芬.大数据视域下Java集合应用研究[J].福建电脑,2022,38(09):55-58.DOI:10.16707/j.cnki.fjpc.2022.09.012.
[11]欧阳桂秀.基于Java和MySQL的数据库管理系统的设计与实现[J].信息记录材料,2022,23(09):240-242.DOI:10.16009/j.cnki.cn13-1295/tq.2022.09.007.
[12]Zheng Hongying. A Study on the Design of English Speaking Examination System Based on SSM Framework[J]. Journal of Sensors,2022,2022.
[13]杨悦.国有企业的房屋租赁内部控制存在的问题及对策[J].中小企业管理与科技,2022(14):75-77.
[14]苏爱婷. 民宿行业房屋租赁合同效力认定方法[D].上海师范大学,2022.DOI:10.27312/d.cnki.gshsu.2022.001034.
[15]王慧芳,孙方,陈玉,朱茜.基于SSM框架的大数据个性化推荐系统设计[J].信息与电脑(理论版),2022,34(02):90-92.
[16]魏子钦,梁艳美,单豫洲.基于JavaEE的房屋租赁系统[J].信息与电脑(理论版),2021,33(24):137-139.
[17]王馨. 基于数据挖掘的房屋租赁管理系统设计与实现[D].哈尔滨理工大学,2021.DOI:10.27063/d.cnki.ghlgu.2021.001145.
[18]曹华山.SSM框架在Web应用开发中的设计与实现[J].无线互联科技,2021,18(11):108-109.
[19]陈钊.SSM框架在Web应用开发中的设计与实现研究[J].电脑知识与技术,2021,17(10):226-227.DOI:10.14004/j.cnki.ckt.2021.1097.
[20]. Design and Implementation of ERP System Based on SSM Framework[J]. ,2020,440(5).
致谢
本次设计历时3个月。在这个毕业设计中,它离不开指导教师的指导,使事情基本顺利。指导老师无论是在毕业设计历经中,还是在论文做完中都给了了我特别大的助益。另1个方面,教师认真负责的工作姿态,谨慎的教学精神厚重的理论水准都使我获益匪浅。他勤恳谨慎的教学育人学习姿态也给我留下了特别特别深的感觉。我从老师那里学到了很多东西。在理论和实践中,我的技能得到了特别大的提高。在此,特向教师表示由衷的感激。
经过对该毕业设计的全部研究和开发,我的系统研发经历了从需求分析到实现详细功能,再到最终测试和维护的特殊进展。让我对系统研发有了更深层次的认识。如今我的动手本领单独处理疑惑的本领也获取到了特别大的演练学习增多,这是这次毕业设计最好的收获。
最后,在整个系统开发过程中,我周围的同学和朋友给了我很多意见,所以我很快就确认了系统的商业思想。在次,我由衷的向他们表示感激。
房屋租赁系统的设计、实现与测试
本文围绕房屋租赁系统展开,分析了研究背景与意义,介绍了HTTP、Java、HTML等相关技术。对系统进行了需求、安全、数据流程等分析与设计,实现了注册、登录等功能模块,并进行功能和性能测试,系统运行正常但有待完善。

被折叠的 条评论
为什么被折叠?



