目录
摘 要
吉祥社区信息管理系统是一款基于SpringBoot框架开发,旨在提升社区管理效率和居民互动体验的应用系统。该系统分为业主用户、物业用户和管理员三大模块,满足不同角色的需求。业主用户可以通过系统浏览社区信息与活动推荐、参与社区互动、进行报修服务及投诉建议提交,并管理个人资料及账单缴费等事务。物业用户在通过管理员审核后登录,可对社区信息、物业账单、报修服务、投诉建议、设施信息以及保洁和安全检查信息进行管理,确保社区运营的顺畅。管理员则拥有最高权限,负责系统的全面管理,包括但不限于用户管理、社区信息及活动管理、资源管理和交流管理等。
系统采用了SpringBoot框架,因其简化了新项目的初始搭建以及开发过程中的配置工作,使得开发团队可以更专注于业务逻辑的实现而非框架本身的复杂配置。此外,SpringBoot的微服务架构也便于系统的扩展和维护。吉祥社区信息管理系统不仅提升了物业管理的效率,也为业主提供了便捷的生活服务平台,促进了社区成员间的互动和沟通,构建了一个和谐、智能的社区环境。通过这一平台,社区管理者能够更加高效地处理日常事务,而居民也能享受到更为便捷的服务体验,共同推进智慧社区的发展。
关键词:吉祥社区信息管理系统;SpringBoot框架
Jixiang Community Information Management System is an application system developed based on the SpringBoot framework, which aims to improve the efficiency of community management and residents' interactive experience. The system is divided into three modules: owner user, property user and administrator, to meet the needs of different roles. Owners and users can browse community information and activity recommendations, participate in community interaction, provide repair services and submit complaint suggestions, and manage personal data and bill payment and other affairs. Property users can log in after passing the administrator audit, and they can manage the community information, property bills, repair services, complaints and suggestions, facilities information, cleaning and safety inspection information, to ensure the smooth operation of the community. Administrators have the highest authority and are responsible for the overall management of the system, including but not limited to user management, community information and activity management, resource management and communication management, etc.
The system uses the SpringBoot framework, which simplifies the initial setup of a new project and the configuration work during the development process, allowing the development team to focus more on the implementation of business logic than the complex configuration of the framework itself. In addition, SpringBoot's microservice architecture also facilitates the expansion and maintenance of the system. The auspicious community information management system not only improves the efficiency of property management, but also provides a convenient life service platform for the owners, promotes the interaction and communication among the community members, and builds a harmonious and intelligent community environment. Through this platform, community managers can handle daily affairs more efficiently, and residents can also enjoy more convenient service experience, and jointly promote the development of smart communities.
Keywords: auspicious community information management system; SpringBoot framework
- 绪 论
- 选题背景及意义
随着城市化进程的加快和居民生活水平的提高,社区管理和服务的需求日益增长。传统的社区管理模式由于信息不对称、沟通不畅、效率低下等问题,已难以满足现代社区多元化、个性化的需求。特别是在信息化时代背景下,利用先进的信息技术提升社区管理水平和服务质量已成为必然趋势[1]。基于SpringBoot框架开发的吉祥社区信息管理系统正是在这样的背景下应运而生。
该系统通过整合社区内的各类资源和服务,实现了物业管理、信息发布、活动组织、互动交流等功能的数字化和智能化,不仅提高了社区管理的效率,也增强了居民对社区事务的参与度和满意度[2]。对于物业管理人员而言,系统的便捷操作和高效管理功能极大地减轻了工作负担,使得日常管理和维护更加科学化、规范化[3]。对于居民来说,他们可以通过电脑随时随地了解社区动态、参与社区活动、提交服务请求,享受更为便捷的生活服务体验。此外,该系统还促进了社区内部的信息共享和互动交流,有助于构建和谐、互助的社区文化[4]。综上所述,吉祥社区信息管理系统的研发不仅是顺应时代发展的需要,更是推动智慧城市建设的重要一步,具有重要的现实意义和社会价值。
在全球范围内,随着信息技术的迅猛发展和互联网的普及,社区信息管理系统已成为提升社区管理效率和服务水平的重要工具。在国外,尤其是在一些发达国家,如美国、英国和日本,社区信息管理系统的发展起步较早,已经形成了较为成熟的应用模式和技术体系[5]。例如,美国的一些社区通过建立高效的在线服务平台,实现了物业管理、居民互动、活动组织等功能的全面数字化;英国则注重社区服务的人性化设计,强调用户体验与服务质量的提升;而日本则以其精益生产的理念为指导,开发了适应本土文化特点的社区管理系统,提高了社区运营的精细化程度[6]。
相比之下,国内在社区信息管理系统方面的研究和应用起步相对较晚,但近年来发展迅速[7]。中国政府高度重视信息化建设,并出台了一系列政策鼓励和支持智慧社区的发展。许多高校和科研机构也在不断加强相关领域的研究,推动技术创新和人才培养。例如,南京大学和山东大学等高校已经开始尝试利用微信小程序等新兴技术来优化社区公益活动的管理,取得了显著成效。
尽管取得了一定的成绩,国内社区信息管理系统仍面临一些挑战。首先,在技术水平上,与国际先进水平相比还存在一定差距,特别是在核心技术的研发和高端产品的应用方面[8]。在系统应用层面,由于各地区经济发展不平衡以及对信息化认识的差异,导致社区信息系统的推广和使用存在不均衡现象。未来需要在技术研发、人才培养和政策支持等方面加大力度,以促进社区信息管理系统的全面发展。
首先,通过引擎搜索或者查阅相关文献资料,了解了本系统开发的背景及意义和国内外研究现状,收集用户需求信息。其次,在开发工具上,最终确定是基于Mysql数据库,在Java的springboot框架设计的基础上实现,设计出系统大致的功能模块。主要从方便系统用户和系统管理员的角度进行分析,明确该系统应该具有的功能。最终是测试系统,通过用例测试发现存在的问题并找到解决的方案。利用现有的开发平台,结合自己所学的知识,在老师的指导帮助下来完成该设计,确保系统的可用性、实用性。
在本研究中,Java语言是构建吉祥社区信息管理系统的核心技术之一。主要使用Java语言开发后端系统,采用SpringBoot框架来实现业务逻辑和数据交互。SpringBoot简化了配置和开发过程,提供了一套开箱即用的解决方案,能够专注于业务功能的实现。同时,Java的多线程和并发处理能力,使平台能够高效处理大量用户请求和并发交易,保证系统的稳定性和响应速度。此外,Java语言的跨平台特性和丰富的类库支持,使得系统具有良好的可移植性和可扩展性,能够适应不同的操作环境和业务需求。总之,Java语言在本系统中的应用,为实现一个高效、安全、稳定的吉祥社区信息管理系统提供了坚实的技术基础。
MySQL是一种流行的开源关系型数据库管理系统,用于存储和管理数据。在吉祥社区信息管理系统中,MySQL可以用于数据存储、数据查询和数据管理等方面,用户可以免费使用和修改源代码,为平台提供可靠和高性能的数据库支持。MySQL支持多种存储引擎,如InnoDB和MyISAM,可以根据不同的应用场景选择合适的存储引擎,以提高性能;提供了多种数据安全机制,如用户权限管理、数据加密和备份恢复等,确保数据的安全性。
在本研究中,SpringBoot框架被用于开发吉祥社区信息管理系统的后端系统。SpringBoot是基于Spring框架的一款快速开发工具,提供了简化的配置和自动化的设置,极大地提高了开发效率。它通过"约定优于配置"的理念,减少了人员的配置工作,使得项目能够快速启动和运行。SpringBoot内置了嵌入式服务器(如Tomcat),无需进行复杂的服务器配置即可运行项目。此外,SpringBoot还支持微服务架构,方便系统的模块化开发和部署,提高了系统的可扩展性和维护性。通过SpringBoot能够快速构建出一个高效、稳定且具备良好扩展性的后端系统,满足吉祥社区信息管理系统的复杂需求。
B/S结构是一种网络应用模式,其主要特点是将客户端与服务器端的任务进行划分。客户端主要负责用户界面的显示与用户操作,而服务器端则负责数据处理、业务逻辑实现以及数据存储等任务。在这种结构中,客户端使用浏览器作为访问服务器端应用程序的入口,通过HTTP协议与服务器端进行通信。
B/S结构相较于传统的C/S(Client/Server,客户端/服务器)结构,具有更好的跨平台性、可维护性和可扩展性。它摆脱了客户端与服务器端之间的紧密耦合,使得开发和维护变得更加方便。同时,B/S结构还能够充分利用互联网的资源,实现快速的信息传递与共享。
现代软件开发技术已经相当成熟,提供了丰富的工具和框架,可以应对各种复杂的业务需求。采用Java等成熟、稳定的语言进行开发,利用其面向对象、跨平台等特性,实现系统的模块化、可扩展性和可维护性。同时,利用SpringBoot等现代框架,简化开发过程,提高开发效率。此外,对于数据库的选择,使用MySQL等关系型数据库,以满足数据存储和查询的需求。因此,从技术层面来看,开发吉祥社区信息管理系统是完全可行的。
系统的开发成本相对较低,可以利用开源框架和工具,降低开发成本。其次,系统的运行和维护成本也相对较低,可以采用云计算等技术,实现系统的自动化部署和维护。因此,从经济层面来看,开发吉祥社区信息管理系统也是可行的。
吉祥社区信息管理系统的建设,将极大地提升社区的管理效率和服务质量。通过系统,社区居民可以更加便捷地获取社区信息,参与社区活动,提升居民的归属感和满意度。同时,系统也为社区管理者提供了强大的管理工具,使他们能够更加高效地进行社区管理和服务。此外,系统的建设还将促进社区信息化建设,推动社区向智能化、数字化方向发展。因此,从社会层面来看,开发吉祥社区信息管理系统是符合社会需求和期望的,具有显著的社会效益。
系统的操作界面设计简洁明了,易于用户理解和操作。系统提供了详尽的操作指南和帮助文档,使得用户能够快速上手并熟练使用系统。此外,系统还具备良好的容错性和错误提示功能,当用户操作失误时,能够及时给出提示信息,引导用户进行正确的操作。因此,从操作层面来看,吉祥社区信息管理系统同样具备可行性。
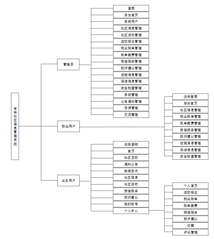
吉祥社区信息管理系统我划分为了前端模块和后端模块两大部分。
前端业主用户模块:
- 注册登录:业主用户可以通过注册功能创建个人账户,填写必要的个人信息并设置密码。登录后可以访问系统的各项服务。该功能确保了用户的隐私和安全,并为后续的个性化服务提供了基础。
- 首页:首页展示了社区信息推荐、社区活动推荐以及新闻资讯等内容,帮助业主快速了解社区动态和最新消息。通过首页的信息展示,业主能够及时参与到社区活动中去,增强社区归属感。
- 社区互动:社区互动模块允许业主对社区内的各类信息进行点赞、收藏和评论,并支持发布自己的内容。这不仅促进了业主之间的交流,还增强了社区的活力与凝聚力。
- 通知公告:通知公告功能用于发布重要的社区信息和通知,确保每位业主都能及时收到最新的社区消息。此功能提高了信息传递的效率,减少了因信息不对称带来的不便。
- 新闻资讯:新闻资讯板块提供丰富的社区内外新闻动态,业主可以对其进行点赞、收藏和评论。这有助于业主获取最新的社会和社区信息,拓宽视野。
- 社区信息:社区信息功能允许业主查看社区内的重要信息并进行报名参与相关活动。通过这一功能,业主能够更好地融入社区生活,享受丰富多彩的社区活动。
- 社区活动:社区活动模块展示了各类社区活动详情,业主可以对其点赞、收藏和评论,并报名参加感兴趣的活动。这不仅丰富了业主的业余生活,也增进了邻里关系。
- 报修服务:报修服务功能让业主可以方便地提交维修请求,并跟踪处理进度。通过这个功能,业主能够迅速解决生活中的问题,提升居住体验。
- 投诉建议:投诉建议模块为业主提供了表达意见和建议的渠道,物业管理人员可以查看并处理这些反馈。这有助于改进物业管理质量,提升业主满意度。
- 我的账户:我的账户功能允许业主修改密码和个人资料,保障账户安全和信息更新。这为业主提供了便捷的自我管理方式,提升了用户体验。
- 个人中心:个人中心包括个人首页、活动报名、物业账单、账单缴费、报修服务、投诉建议、收藏、评论管理等功能,为业主提供了一个全面的个人服务平台,方便管理个人事务。
后端物业用户模块:
- 注册登录:物业用户需经过管理员审核后才能登录系统,确保了系统的安全性和权限管理的有效性。这一步骤保证了只有授权人员才能进入系统进行操作。
- 后台首页:后台首页展示了账单缴费统计图、设施信息统计图、保洁信息统计图和安全检查统计图等重要数据图表,帮助物业管理人员快速了解社区运营状况,做出科学决策。
- 社区信息管理:社区信息管理模块允许物业添加、删除、查询社区信息详情,并查看相关评论。每个物业用户只能查看自己发布的对应信息,确保信息的安全性和准确性。
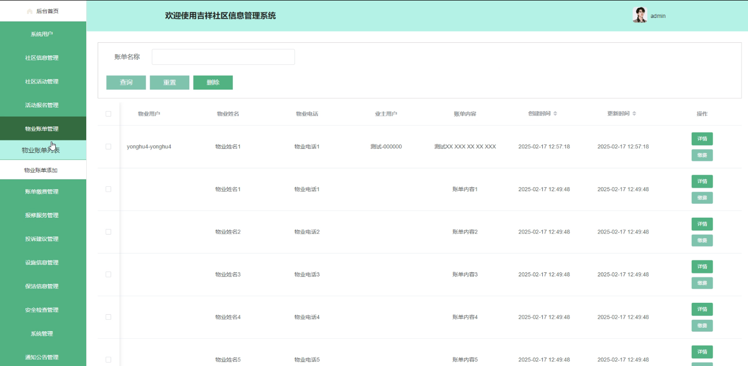
- 物业账单管理:物业账单管理功能支持物业添加、删除、查询账单详情,便于管理和跟踪社区内所有账单的情况,确保账务清晰透明。
- 账单缴费管理:账单缴费管理模块允许物业删除、查询账单详情,并查看处理缴费进度。这有助于提高账单处理效率,减少业主和物业之间的沟通成本。
- 报修服务管理:报修服务管理功能使物业可以删除、查询报修详情,并查看处理报修进度。这有助于物业及时响应业主需求,提升服务质量。
- 投诉建议管理:投诉建议管理模块允许物业删除、查询投诉建议详情,并查看处理进度。这有助于物业及时解决问题,提升业主满意度。
- 设施信息管理:设施信息管理功能支持物业添加、删除、查询设施详情,并查看处理设施进度。这有助于物业高效管理社区内的各类设施,确保其正常运行。
- 保洁信息管理:保洁信息管理模块允许物业添加、删除、查询保洁详情,并查看处理保洁进度。这有助于物业有效管理社区清洁工作,保持环境整洁。
- 安全检查管理:安全检查管理功能支持物业添加、删除、查询安全检查详情,并查看处理检查进度。这有助于物业定期进行安全检查,保障社区居民的生命财产安全。
后端管理员模块:
- 登录:管理员通过专用入口登录系统,拥有最高权限,负责整个系统的维护和管理,确保系统的正常运行和安全性。
- 后台首页:后台首页展示了账单缴费统计图、设施信息统计图、安全检查统计图和保洁信息统计图等关键数据,帮助管理员全面掌握社区运营状况,做出精准决策。
- 系统用户:系统用户管理模块包括管理员、业主用户和物业用户的管理,支持添加、删除、查询用户信息,确保系统的用户管理体系健全。
- 社区信息管理:社区信息管理功能允许管理员添加、删除、查询社区信息详情,并查看相关评论。这有助于管理员及时更新和管理社区信息,保持信息的准确性和时效性。
- 社区活动管理:社区活动管理模块支持管理员添加、删除、查询社区活动详情,并查看相关评论。这有助于管理员策划和组织各类社区活动,丰富社区生活。
- 活动报名管理:活动报名管理功能允许管理员删除、查询活动报名详情,并进行审核。这有助于管理员有效管理活动报名情况,确保活动顺利进行。
- 物业账单管理:物业账单管理模块支持管理员添加、删除、查询物业账单详情,并处理缴费。这有助于管理员高效管理社区账单,确保财务透明。
- 账单缴费管理:账单缴费管理功能允许管理员删除、查询账单详情,并处理支付。这有助于管理员快速处理账单,减少业主和物业之间的沟通成本。
- 报修服务管理:报修服务管理功能使管理员可以添加、删除、查询报修详情,并进行审核。这有助于管理员及时响应业主需求,提升服务质量。
- 投诉建议管理:投诉建议管理模块允许管理员添加、删除、查询投诉建议详情,并进行审核。这有助于管理员及时处理业主反馈,提升业主满意度。
- 设施信息管理:设施信息管理功能支持管理员添加、删除、查询设施详情。这有助于管理员高效管理社区内的各类设施,确保其正常运行。
- 保洁信息管理:保洁信息管理模块允许管理员添加、删除、查询保洁详情。这有助于管理员有效管理社区清洁工作,保持环境整洁。
- 安全检查管理:安全检查管理功能支持管理员添加、删除、查询安全检查详情。这有助于管理员定期进行安全检查,保障社区居民的生命财产安全。
- 系统管埋:系统管埋模块包括轮播图的添加、删除、查询功能,帮助管理员优化系统界面,提升用户体验。
- 公告通知管理:公告通知管理功能允许管理员添加、删除、查询公告通知详情。这有助于管理员及时发布重要信息,确保信息传递的及时性和有效性。
- 资源管理:资源管理模块涵盖新闻资讯及其分类的添加、删除、查询详情和查看评论功能。这有助于管理员有效管理社区资源,确保信息的多样性和丰富性。
- 交流管理:交流管理功能支持社区互动及互动分类的添加、删除、查询详情和查看评论。这有助于管理员促进社区成员间的交流互动,增强社区凝聚力。
吉祥社区信息管理系统的非功能性需求比如吉祥社区信息管理系统的安全性怎么样,可靠性怎么样,性能怎么样,可拓展性怎么样等,具体可以表示在如下3-1表格中:
表3-1吉祥社区信息管理系统非功能需求表
| 安全性 | 主要指吉祥社区信息管理系统数据库的安装,数据库的使用和密码的设定必须合乎规范。 |
| 可靠性 | 可靠性是指吉祥社区信息管理系统能够安装用户的指示进行操作,经过测试,可靠性90%以上。 |
| 性能 | 性能是影响吉祥社区信息管理系统占据市场的必要条件,所以性能最好要佳才好。 |
| 可扩展性 | 比如数据库预留多个属性,比如接口的使用等确保了系统的非功能性需求。 |
| 易用性 | 用户只要跟着吉祥社区信息管理系统的页面展示内容进行操作,就可以了。 |
| 可维护性 | 吉祥社区信息管理系统开发的可维护性是非常重要的,经过测试,可维护性没有问题 |
吉祥社区信息管理系统的完整UML用例图分别是图3-1、3-2、3-3。
业主用户角色用例如图3-1所示。

图 3-1吉祥社区信息管理系统业主用户角色用例图
物业用户角色用例如图3-2所示。

图 3-2吉祥社区信息管理系统物业用户角色用例图
管理员角色用例如图3-3所示。

图 3-3吉祥社区信息管理系统管理员角色用例图
吉祥社区信息管理系统的基本业务流程图如图3-4所示:

图 3-4业务流程图
本章主要通过对吉祥社区信息管理系统的、可行性分析、功能需求分析、系统用例分析,确定整个吉祥社区信息管理系统要实现的功能。同时也为吉祥社区信息管理系统的代码实现和测试提供了标准。
- 吉祥社区信息管理系统 总体设计
本章主要讨论的内容包括吉祥社区信息管理系统的功能模块设计、数据库系统设计。
本吉祥社区信息管理系统从架构上分为三层:表现层(UI)、业务逻辑层(BLL)以及数据层(DL)。

图 4-1吉祥社区信息管理系统架构设计图
表现层(UI):也称为用户界面层,它负责与用户进行直接的交互。一个优秀的UI设计能够显著提升用户的体验,确保用户在使用吉祥社区信息管理系统时感到舒适和便捷。为了确保良好的兼容性,UI界面设计需要适应不同版本的平台和各种屏幕尺寸的分辨率。此外,UI交互功能必须合理设计,确保用户的操作能够得到相应的反馈和结果,这要求表现层与业务逻辑层之间保持良好的通信和协同工作。
业务逻辑层(BLL):这一层主要处理吉祥社区信息管理系统的数据和业务逻辑。当用户通过表现层提交数据时,业务逻辑层会接收这些数据,进行处理,并将结果传递给数据层进行存储或查询。同时,当系统需要从数据层读取数据时,业务逻辑层会处理这些数据,并将其传递给表现层进行展示。
数据层(DL):虽然本吉祥社区信息管理系统的数据存储在服务端的MySQL数据库中,但数据层仍然作为一个独立的部分存在。它的主要功能是存储和管理吉祥社区信息管理系统的数据。数据层与MySQL数据库进行交互,执行数据的增、删、改、查等操作,确保数据的完整性和安全性。
这三个层次相互独立但又紧密协作,共同构成了吉祥社区信息管理系统的完整架构。通过合理的分层设计,可以提高系统的可维护性、可扩展性和可重用性,为用户提供更好的服务和体验。
在上一章节中主要对系统的功能性需求和非功能性需求进行分析,并且根据需求分析了本吉祥社区信息管理系统中的用例。那么接下来就要开始对本吉祥社区信息管理系统的架构、主要功能和数据库开始进行设计。吉祥社区信息管理系统根据前面章节的需求分析得出,吉祥社区信息管理系统的功能模块图如下图所示。

图 4-2吉祥社区信息管理系统功能模块图
数据库设计一般包括需求分析、概念模型设计、数据库表建立三大过程,其中需求分析前面章节已经阐述,概念模型设计有概念模型和逻辑结构设计两部分。
-
-
- 数据库概念结构设计
-
下面是整个吉祥社区信息管理系统中主要的数据库表总E-R实体关系图。

图 4-3吉祥社区信息管理系统总E-R关系图
通过上一小节中吉祥社区信息管理系统中总E-R关系图上得出一共需要创建多个数据表。在此我主要罗列几个主要的数据库表结构设计。
| 编号 | 名称 | 数据类型 | 长度 | 小数位 | 允许空值 | 主键 | 默认值 | 说明 |
| 1 | token_id | int | 10 | 0 | N | Y | 临时访问牌ID | |
| 2 | token | varchar | 64 | 0 | Y | N | 临时访问牌 | |
| 3 | info | text | 65535 | 0 | Y | N | ||
| 4 | maxage | int | 10 | 0 | N | N | 2 | 最大寿命:默认2小时 |
| 5 | create_time | timestamp | 19 | 0 | N | N | CURRENT_TIMESTAMP | 创建时间: |
| 6 | update_time | timestamp | 19 | 0 | N | N | CURRENT_TIMESTAMP | 更新时间: |
| 7 | user_id | int | 10 | 0 | N | N | 0 | 用户编号: |
| 编号 | 名称 | 数据类型 | 长度 | 小数位 | 允许空值 | 主键 | 默认值 | 说明 |
| 1 | article_id | mediumint | 8 | 0 | N | Y | 文章id:[0,8388607] | |
| 2 | title | varchar | 125 | 0 | N | Y | 标题:[0,125]用于文章和html的title标签中 | |
| 3 | type | varchar | 64 | 0 | N | N | 0 | 文章分类:[0,1000]用来搜索指定类型的文章 |
| 4 | hits | int | 10 | 0 | N | N | 0 | 点击数:[0,1000000000]访问这篇文章的人次 |
| 5 | praise_len | int | 10 | 0 | N | N | 0 | 点赞数 |
| 6 | create_time | timestamp | 19 | 0 | N | N | CURRENT_TIMESTAMP | 创建时间: |
| 7 | update_time | timestamp | 19 | 0 | N | N | CURRENT_TIMESTAMP | 更新时间: |
| 8 | source | varchar | 255 | 0 | Y | N | 来源:[0,255]文章的出处 | |
| 9 | url | varchar | 255 | 0 | Y | N | 来源地址:[0,255]用于跳转到发布该文章的网站 | |
| 10 | tag | varchar | 255 | 0 | Y | N | 标签:[0,255]用于标注文章所属相关内容,多个标签用空格隔开 | |
| 11 | content | longtext | 2147483647 | 0 | Y | N | 正文:文章的主体内容 | |
| 12 | img | varchar | 255 | 0 | Y | N | 封面图 | |
| 13 | description | text | 65535 | 0 | Y | N | 文章描述 |
| 编号 | 名称 | 数据类型 | 长度 | 小数位 | 允许空值 | 主键 | 默认值 | 说明 |
| 1 | type_id | smallint | 5 | 0 | N | Y | 分类ID:[0,10000] | |
| 2 | display | smallint | 5 | 0 | N | N | 100 | 显示顺序:[0,1000]决定分类显示的先后顺序 |
| 3 | name | varchar | 16 | 0 | N | N | 分类名称:[2,16] | |
| 4 | father_id | smallint | 5 | 0 | N | N | 0 | 上级分类ID:[0,32767] |
| 5 | description | varchar | 255 | 0 | Y | N | 描述:[0,255]描述该分类的作用 | |
| 6 | icon | text | 65535 | 0 | Y | N | 分类图标: | |
| 7 | url | varchar | 255 | 0 | Y | N | 外链地址:[0,255]如果该分类是跳转到其他网站的情况下,就在该URL上设置 | |
| 8 | create_time | timestamp | 19 | 0 | N | N | CURRENT_TIMESTAMP | 创建时间: |
| 9 | update_time | timestamp | 19 | 0 | N | N | CURRENT_TIMESTAMP | 更新时间: |
| 编号 | 名称 | 数据类型 | 长度 | 小数位 | 允许空值 | 主键 | 默认值 | 说明 |
| 1 | auth_id | int | 10 | 0 | N | Y | 授权ID: | |
| 2 | user_group | varchar | 64 | 0 | Y | N | 用户组: | |
| 3 | mod_name | varchar | 64 | 0 | Y | N | 模块名: | |
| 4 | table_name | varchar | 64 | 0 | Y | N | 表名: | |
| 5 | page_title | varchar | 255 | 0 | Y | N | 页面标题: | |
| 6 | path | varchar | 255 | 0 | Y | N | 路由路径: | |
| 7 | parent | varchar | 64 | 0 | Y | N | 父级菜单 | |
| 8 | parent_sort | int | 10 | 0 | N | N | 0 | 父级菜单排序 |
| 9 | position | varchar | 32 | 0 | Y | N | 位置: | |
| 10 | mode | varchar | 32 | 0 | N | N | _blank | 跳转方式: |
| 11 | add | tinyint | 3 | 0 | N | N | 1 | 是否可增加: |
| 12 | del | tinyint | 3 | 0 | N | N | 1 | 是否可删除: |
| 13 | set | tinyint | 3 | 0 | N | N | 1 | 是否可修改: |
| 14 | get | tinyint | 3 | 0 | N | N | 1 | 是否可查看: |
| 15 | field_add | text | 65535 | 0 | Y | N | 添加字段: | |
| 16 | field_set | text | 65535 | 0 | Y | N | 修改字段: | |
| 17 | field_get | text | 65535 | 0 | Y | N | 查询字段: | |
| 18 | table_nav_name | varchar | 500 | 0 | Y | N | 跨表导航名称: | |
| 19 | table_nav | varchar | 500 | 0 | Y | N | 跨表导航: | |
| 20 | option | text | 65535 | 0 | Y | N | 配置: | |
| 21 | create_time | timestamp | 19 | 0 | N | N | CURRENT_TIMESTAMP | 创建时间: |
| 22 | update_time | timestamp | 19 | 0 | N | N | CURRENT_TIMESTAMP | 更新时间: |
| 编号 | 名称 | 数据类型 | 长度 | 小数位 | 允许空值 | 主键 | 默认值 | 说明 |
| 1 | bill_payment_id | int | 10 | 0 | N | Y | 账单缴费ID | |
| 2 | bill_name | varchar | 64 | 0 | Y | N | 账单名称 | |
| 3 | bill_type | varchar | 64 | 0 | Y | N | 账单类型 | |
| 4 | payment_amount | double | 9 | 2 | Y | N | 0.00 | 缴费金额 |
| 5 | statement_date | date | 10 | 0 | Y | N | 账单日期 | |
| 6 | property_users | int | 10 | 0 | Y | N | 0 | 物业用户 |
| 7 | property_name | varchar | 64 | 0 | Y | N | 物业姓名 | |
| 8 | property_phone_number | varchar | 64 | 0 | Y | N | 物业电话 | |
| 9 | owner_user | int | 10 | 0 | Y | N | 0 | 业主用户 |
| 10 | owners_name | varchar | 64 | 0 | Y | N | 业主姓名 | |
| 11 | owners_phone_number | varchar | 64 | 0 | Y | N | 业主电话 | |
| 12 | payment_date | date | 10 | 0 | Y | N | 缴费日期 | |
| 13 | payment_frequency | varchar | 64 | 0 | Y | N | 缴费次数 | |
| 14 | payment_status | varchar | 64 | 0 | Y | N | 缴费状态 | |
| 15 | payment_remarks | text | 65535 | 0 | Y | N | 缴费备注 | |
| 16 | pay_state | varchar | 16 | 0 | N | N | 未支付 | 支付状态 |
| 17 | pay_type | varchar | 16 | 0 | Y | N | 支付类型: 微信、支付宝、网银 | |
| 18 | create_time | datetime | 19 | 0 | N | N | CURRENT_TIMESTAMP | 创建时间 |
| 19 | update_time | timestamp | 19 | 0 | N | N | CURRENT_TIMESTAMP | 更新时间 |
| 20 | source_table | varchar | 255 | 0 | Y | N | 来源表 | |
| 21 | source_id | int | 10 | 0 | Y | N | 来源ID | |
| 22 | source_user_id | int | 10 | 0 | Y | N | 来源用户 |
| 编号 | 名称 | 数据类型 | 长度 | 小数位 | 允许空值 | 主键 | 默认值 | 说明 |
| 1 | cleaning_information_id | int | 10 | 0 | N | Y | 保洁信息ID | |
| 2 | cleaning_area | varchar | 64 | 0 | Y | N | 清洁区域 | |
| 3 | record_date | date | 10 | 0 | Y | N | 记录日期 | |
| 4 | number_of_cleaners | double | 9 | 2 | Y | N | 0.00 | 打扫人数 |
| 5 | sanitary_appearance | varchar | 64 | 0 | Y | N | 卫生样貌 | |
| 6 | property_users | int | 10 | 0 | Y | N | 0 | 物业用户 |
| 7 | property_name | varchar | 64 | 0 | Y | N | 物业姓名 | |
| 8 | cleaning_introduction | text | 65535 | 0 | Y | N | 保洁简介 | |
| 9 | create_time | datetime | 19 | 0 | N | N | CURRENT_TIMESTAMP | 创建时间 |
| 10 | update_time | timestamp | 19 | 0 | N | N | CURRENT_TIMESTAMP | 更新时间 |
| 编号 | 名称 | 数据类型 | 长度 | 小数位 | 允许空值 | 主键 | 默认值 | 说明 |
| 1 | code_token_id | int | 10 | 0 | N | Y | ||
| 2 | token | varchar | 255 | 0 | Y | N | ||
| 3 | code | varchar | 255 | 0 | Y | N | 验证码 | |
| 4 | expire_time | timestamp | 19 | 0 | N | N | CURRENT_TIMESTAMP | 失效时间 |
| 5 | create_time | timestamp | 19 | 0 | N | N | CURRENT_TIMESTAMP | 创建时间 |
| 6 | update_time | timestamp | 19 | 0 | N | N | CURRENT_TIMESTAMP | 更新时间: |
| 编号 | 名称 | 数据类型 | 长度 | 小数位 | 允许空值 | 主键 | 默认值 | 说明 |
| 1 | collect_id | int | 10 | 0 | N | Y | 收藏ID: | |
| 2 | user_id | int | 10 | 0 | N | N | 0 | 收藏人ID: |
| 3 | source_table | varchar | 255 | 0 | Y | N | 来源表: | |
| 4 | source_field | varchar | 255 | 0 | Y | N | 来源字段: | |
| 5 | source_id | int | 10 | 0 | N | N | 0 | 来源ID: |
| 6 | title | varchar | 255 | 0 | Y | N | 标题: | |
| 7 | img | varchar | 255 | 0 | Y | N | 封面: | |
| 8 | create_time | timestamp | 19 | 0 | N | N | CURRENT_TIMESTAMP | 创建时间: |
| 9 | update_time | timestamp | 19 | 0 | N | N | CURRENT_TIMESTAMP | 更新时间: |
| 编号 | 名称 | 数据类型 | 长度 | 小数位 | 允许空值 | 主键 | 默认值 | 说明 |
| 1 | comment_id | int | 10 | 0 | N | Y | 评论ID: | |
| 2 | user_id | int | 10 | 0 | N | N | 0 | 评论人ID: |
| 3 | reply_to_id | int | 10 | 0 | N | N | 0 | 回复评论ID:空为0 |
| 4 | content | longtext | 2147483647 | 0 | Y | N | 内容: | |
| 5 | nickname | varchar | 255 | 0 | Y | N | 昵称: | |
| 6 | avatar | varchar | 255 | 0 | Y | N | 头像地址:[0,255] | |
| 7 | create_time | timestamp | 19 | 0 | N | N | CURRENT_TIMESTAMP | 创建时间: |
| 8 | update_time | timestamp | 19 | 0 | N | N | CURRENT_TIMESTAMP | 更新时间: |
| 9 | source_table | varchar | 255 | 0 | Y | N | 来源表: | |
| 10 | source_field | varchar | 255 | 0 | Y | N | 来源字段: | |
| 11 | source_id | int | 10 | 0 | N | N | 0 | 来源ID: |
| 编号 | 名称 | 数据类型 | 长度 | 小数位 | 允许空值 | 主键 | 默认值 | 说明 |
| 1 | community_activities_id | int | 10 | 0 | N | Y | 社区活动ID | |
| 2 | event_name | varchar | 64 | 0 | Y | N | 活动名称 | |
| 3 | event_location | varchar | 64 | 0 | Y | N | 活动地点 | |
| 4 | date_of_event | date | 10 | 0 | Y | N | 举办日期 | |
| 5 | organize_community_events | varchar | 64 | 0 | Y | N | 举办社区 | |
| 6 | event_cover | varchar | 255 | 0 | Y | N | 活动封面 | |
| 7 | event_overview | longtext | 2147483647 | 0 | Y | N | 活动简介 | |
| 8 | hits | int | 10 | 0 | N | N | 0 | 点击数 |
| 9 | praise_len | int | 10 | 0 | N | N | 0 | 点赞数 |
| 10 | collect_len | int | 10 | 0 | N | N | 0 | 收藏数 |
| 11 | comment_len | int | 10 | 0 | N | N | 0 | 评论数 |
| 12 | recommend | int | 10 | 0 | N | N | 0 | 智能推荐 |
| 13 | event_registration_limit_times | int | 10 | 0 | N | N | 0 | 报名限制次数 |
| 14 | create_time | datetime | 19 | 0 | N | N | CURRENT_TIMESTAMP | 创建时间 |
| 15 | update_time | timestamp | 19 | 0 | N | N | CURRENT_TIMESTAMP | 更新时间 |
| 编号 | 名称 | 数据类型 | 长度 | 小数位 | 允许空值 | 主键 | 默认值 | 说明 |
| 1 | community_information_id | int | 10 | 0 | N | Y | 社区信息ID | |
| 2 | community_name | varchar | 64 | 0 | Y | N | 社区名称 | |
| 3 | number_of_community_members | varchar | 64 | 0 | Y | N | 社区人数 | |
| 4 | work_shift | varchar | 64 | 0 | Y | N | 上班时间 | |
| 5 | community_phone | varchar | 64 | 0 | Y | N | 社区电话 | |
| 6 | property_users | int | 10 | 0 | Y | N | 0 | 物业用户 |
| 7 | property_name | varchar | 64 | 0 | Y | N | 物业姓名 | |
| 8 | cover_photo | varchar | 255 | 0 | Y | N | 封面图片 | |
| 9 | community_introduction | longtext | 2147483647 | 0 | Y | N | 社区简介 | |
| 10 | praise_len | int | 10 | 0 | N | N | 0 | 点赞数 |
| 11 | collect_len | int | 10 | 0 | N | N | 0 | 收藏数 |
| 12 | comment_len | int | 10 | 0 | N | N | 0 | 评论数 |
| 13 | create_time | datetime | 19 | 0 | N | N | CURRENT_TIMESTAMP | 创建时间 |
| 14 | update_time | timestamp | 19 | 0 | N | N | CURRENT_TIMESTAMP | 更新时间 |
表complaints_and_suggestions (投诉建议)
| 编号 | 名称 | 数据类型 | 长度 | 小数位 | 允许空值 | 主键 | 默认值 | 说明 |
| 1 | complaints_and_suggestions_id | int | 10 | 0 | N | Y | 投诉建议ID | |
| 2 | owner_user | int | 10 | 0 | Y | N | 0 | 业主用户 |
| 3 | owners_name | varchar | 64 | 0 | Y | N | 业主姓名 | |
| 4 | owners_phone_number | varchar | 64 | 0 | Y | N | 业主电话 | |
| 5 | title_information | varchar | 64 | 0 | Y | N | 标题信息 | |
| 6 | complaint_object | varchar | 64 | 0 | Y | N | 投诉对象 | |
| 7 | complaint_content | text | 65535 | 0 | Y | N | 投诉内容 | |
| 8 | suggested_content | text | 65535 | 0 | Y | N | 建议内容 | |
| 9 | processing_progress | varchar | 64 | 0 | Y | N | 处理进度 | |
| 10 | solution | text | 65535 | 0 | Y | N | 解决方案 | |
| 11 | examine_state | varchar | 16 | 0 | N | N | 未审核 | 审核状态 |
| 12 | examine_reply | varchar | 16 | 0 | Y | N | 审核回复 | |
| 13 | create_time | datetime | 19 | 0 | N | N | CURRENT_TIMESTAMP | 创建时间 |
| 14 | update_time | timestamp | 19 | 0 | N | N | CURRENT_TIMESTAMP | 更新时间 |
| 编号 | 名称 | 数据类型 | 长度 | 小数位 | 允许空值 | 主键 | 默认值 | 说明 |
| 1 | event_registration_id | int | 10 | 0 | N | Y | 活动报名ID | |
| 2 | event_name | varchar | 64 | 0 | Y | N | 活动名称 | |
| 3 | event_location | varchar | 64 | 0 | Y | N | 活动地点 | |
| 4 | date_of_event | date | 10 | 0 | Y | N | 举办日期 | |
| 5 | organize_community_events | varchar | 64 | 0 | Y | N | 举办社区 | |
| 6 | owner_user | int | 10 | 0 | Y | N | 0 | 业主用户 |
| 7 | owners_name | varchar | 64 | 0 | Y | N | 业主姓名 | |
| 8 | owners_phone_number | varchar | 64 | 0 | Y | N | 业主电话 | |
| 9 | home_address | varchar | 64 | 0 | Y | N | 家庭住址 | |
| 10 | number_of_applicants | double | 9 | 2 | Y | N | 0.00 | 报名人数 |
| 11 | registration_date | date | 10 | 0 | Y | N | 报名日期 | |
| 12 | registration_remarks | text | 65535 | 0 | Y | N | 报名备注 | |
| 13 | examine_state | varchar | 16 | 0 | N | N | 未审核 | 审核状态 |
| 14 | create_time | datetime | 19 | 0 | N | N | CURRENT_TIMESTAMP | 创建时间 |
| 15 | update_time | timestamp | 19 | 0 | N | N | CURRENT_TIMESTAMP | 更新时间 |
| 16 | source_table | varchar | 255 | 0 | Y | N | 来源表 | |
| 17 | source_id | int | 10 | 0 | Y | N | 来源ID | |
| 18 | source_user_id | int | 10 | 0 | Y | N | 来源用户 |
| 编号 | 名称 | 数据类型 | 长度 | 小数位 | 允许空值 | 主键 | 默认值 | 说明 |
| 1 | facility_information_id | int | 10 | 0 | N | Y | 设施信息ID | |
| 2 | facility_name | varchar | 64 | 0 | Y | N | 设施名称 | |
| 3 | facility_location | varchar | 64 | 0 | Y | N | 设施位置 | |
| 4 | number_of_facilities | double | 9 | 2 | Y | N | 0.00 | 设施数量 |
| 5 | maintenance_date | date | 10 | 0 | Y | N | 维护日期 | |
| 6 | maintenance_frequency | double | 9 | 2 | Y | N | 0.00 | 维护次数 |
| 7 | property_users | int | 10 | 0 | Y | N | 0 | 物业用户 |
| 8 | property_name | varchar | 64 | 0 | Y | N | 物业姓名 | |
| 9 | facility_introduction | text | 65535 | 0 | Y | N | 设施简介 | |
| 10 | create_time | datetime | 19 | 0 | N | N | CURRENT_TIMESTAMP | 创建时间 |
| 11 | update_time | timestamp | 19 | 0 | N | N | CURRENT_TIMESTAMP | 更新时间 |
| 编号 | 名称 | 数据类型 | 长度 | 小数位 | 允许空值 | 主键 | 默认值 | 说明 |
| 1 | forum_id | mediumint | 8 | 0 | N | Y | 论坛id | |
| 2 | display | smallint | 5 | 0 | N | N | 100 | 排序 |
| 3 | user_id | mediumint | 8 | 0 | N | N | 0 | 用户ID |
| 4 | nickname | varchar | 16 | 0 | Y | N | 昵称:[0,16] | |
| 5 | praise_len | int | 10 | 0 | Y | N | 0 | 点赞数 |
| 6 | hits | int | 10 | 0 | N | N | 0 | 访问数 |
| 7 | title | varchar | 125 | 0 | N | N | 标题 | |
| 8 | keywords | varchar | 125 | 0 | Y | N | 关键词 | |
| 9 | description | varchar | 255 | 0 | Y | N | 描述 | |
| 10 | url | varchar | 255 | 0 | Y | N | 来源地址 | |
| 11 | tag | varchar | 255 | 0 | Y | N | 标签 | |
| 12 | img | text | 65535 | 0 | Y | N | 封面图 | |
| 13 | content | longtext | 2147483647 | 0 | Y | N | 正文 | |
| 14 | create_time | timestamp | 19 | 0 | N | N | CURRENT_TIMESTAMP | 创建时间: |
| 15 | update_time | timestamp | 19 | 0 | N | N | CURRENT_TIMESTAMP | 更新时间: |
| 16 | avatar | varchar | 255 | 0 | Y | N | 发帖人头像: | |
| 17 | type | varchar | 64 | 0 | N | N | 0 | 论坛分类:[0,1000]用来搜索指定类型的论坛帖 |
| 18 | istop | int | 10 | 0 | N | N | 0 | 是否置顶 |
| 编号 | 名称 | 数据类型 | 长度 | 小数位 | 允许空值 | 主键 | 默认值 | 说明 |
| 1 | type_id | smallint | 5 | 0 | N | Y | 分类ID:[0,10000] | |
| 2 | name | varchar | 16 | 0 | N | N | 分类名称:[2,16] | |
| 3 | description | varchar | 255 | 0 | Y | N | 描述:[0,255]描述该分类的作用 | |
| 4 | url | varchar | 255 | 0 | Y | N | 外链地址:[0,255]如果该分类是跳转到其他网站的情况下,就在该URL上设置 | |
| 5 | father_id | smallint | 5 | 0 | N | N | 0 | 上级分类ID:[0,32767] |
| 6 | icon | varchar | 255 | 0 | Y | N | 分类图标: | |
| 7 | create_time | timestamp | 19 | 0 | N | N | CURRENT_TIMESTAMP | 创建时间: |
| 8 | update_time | timestamp | 19 | 0 | N | N | CURRENT_TIMESTAMP | 更新时间: |
| 编号 | 名称 | 数据类型 | 长度 | 小数位 | 允许空值 | 主键 | 默认值 | 说明 |
| 1 | hits_id | int | 10 | 0 | N | Y | 点赞ID: | |
| 2 | user_id | int | 10 | 0 | N | N | 0 | 点赞人: |
| 3 | create_time | timestamp | 19 | 0 | N | N | CURRENT_TIMESTAMP | 创建时间: |
| 4 | update_time | timestamp | 19 | 0 | N | N | CURRENT_TIMESTAMP | 更新时间: |
| 5 | source_table | varchar | 255 | 0 | Y | N | 来源表: | |
| 6 | source_field | varchar | 255 | 0 | Y | N | 来源字段: | |
| 7 | source_id | int | 10 | 0 | N | N | 0 | 来源ID: |
| 编号 | 名称 | 数据类型 | 长度 | 小数位 | 允许空值 | 主键 | 默认值 | 说明 |
| 1 | notice_id | mediumint | 8 | 0 | N | Y | 公告id: | |
| 2 | title | varchar | 125 | 0 | N | N | 标题: | |
| 3 | content | longtext | 2147483647 | 0 | Y | N | 正文: | |
| 4 | create_time | timestamp | 19 | 0 | N | N | CURRENT_TIMESTAMP | 创建时间: |
| 5 | update_time | timestamp | 19 | 0 | N | N | CURRENT_TIMESTAMP | 更新时间: |
| 编号 | 名称 | 数据类型 | 长度 | 小数位 | 允许空值 | 主键 | 默认值 | 说明 |
| 1 | owner_user_id | int | 10 | 0 | N | Y | 业主用户ID | |
| 2 | owners_name | varchar | 64 | 0 | Y | N | 业主姓名 | |
| 3 | owners_gender | varchar | 64 | 0 | Y | N | 业主性别 | |
| 4 | owners_phone_number | varchar | 64 | 0 | Y | N | 业主电话 | |
| 5 | home_address | varchar | 64 | 0 | Y | N | 家庭住址 | |
| 6 | examine_state | varchar | 16 | 0 | N | N | 已通过 | 审核状态 |
| 7 | user_id | int | 10 | 0 | N | N | 0 | 用户ID |
| 8 | create_time | datetime | 19 | 0 | N | N | CURRENT_TIMESTAMP | 创建时间 |
| 9 | update_time | timestamp | 19 | 0 | N | N | CURRENT_TIMESTAMP | 更新时间 |
| 编号 | 名称 | 数据类型 | 长度 | 小数位 | 允许空值 | 主键 | 默认值 | 说明 |
| 1 | praise_id | int | 10 | 0 | N | Y | 点赞ID: | |
| 2 | user_id | int | 10 | 0 | N | N | 0 | 点赞人: |
| 3 | create_time | timestamp | 19 | 0 | N | N | CURRENT_TIMESTAMP | 创建时间: |
| 4 | update_time | timestamp | 19 | 0 | N | N | CURRENT_TIMESTAMP | 更新时间: |
| 5 | source_table | varchar | 255 | 0 | Y | N | 来源表: | |
| 6 | source_field | varchar | 255 | 0 | Y | N | 来源字段: | |
| 7 | source_id | int | 10 | 0 | N | N | 0 | 来源ID: |
| 8 | status | bit | 1 | 0 | N | N | 1 | 点赞状态:1为点赞,0已取消 |
| 编号 | 名称 | 数据类型 | 长度 | 小数位 | 允许空值 | 主键 | 默认值 | 说明 |
| 1 | property_users_id | int | 10 | 0 | N | Y | 物业用户ID | |
| 2 | property_name | varchar | 64 | 0 | Y | N | 物业姓名 | |
| 3 | property_phone_number | varchar | 64 | 0 | Y | N | 物业电话 | |
| 4 | user_gender | varchar | 64 | 0 | Y | N | 物业性别 | |
| 5 | examine_state | varchar | 16 | 0 | N | N | 未审核 | 审核状态 |
| 6 | user_id | int | 10 | 0 | N | N | 0 | 用户ID |
| 7 | create_time | datetime | 19 | 0 | N | N | CURRENT_TIMESTAMP | 创建时间 |
| 8 | update_time | timestamp | 19 | 0 | N | N | CURRENT_TIMESTAMP | 更新时间 |
| 编号 | 名称 | 数据类型 | 长度 | 小数位 | 允许空值 | 主键 | 默认值 | 说明 |
| 1 | repair_service_id | int | 10 | 0 | N | Y | 报修服务ID | |
| 2 | owner_user | int | 10 | 0 | Y | N | 0 | 业主用户 |
| 3 | owners_name | varchar | 64 | 0 | Y | N | 业主姓名 | |
| 4 | owners_phone_number | varchar | 64 | 0 | Y | N | 业主电话 | |
| 5 | home_address | varchar | 64 | 0 | Y | N | 家庭住址 | |
| 6 | repair_title | varchar | 64 | 0 | Y | N | 报修标题 | |
| 7 | repair_time | datetime | 19 | 0 | Y | N | 报修时间 | |
| 8 | repair_location | varchar | 64 | 0 | Y | N | 报修地点 | |
| 9 | repair_picture | varchar | 255 | 0 | Y | N | 报修图片 | |
| 10 | reported_repair_content | text | 65535 | 0 | Y | N | 报修内容 | |
| 11 | repair_progress | varchar | 64 | 0 | Y | N | 维修进度 | |
| 12 | repair_feedback | text | 65535 | 0 | Y | N | 维修反馈 | |
| 13 | examine_state | varchar | 16 | 0 | N | N | 未审核 | 审核状态 |
| 14 | examine_reply | varchar | 16 | 0 | Y | N | 审核回复 | |
| 15 | create_time | datetime | 19 | 0 | N | N | CURRENT_TIMESTAMP | 创建时间 |
| 16 | update_time | timestamp | 19 | 0 | N | N | CURRENT_TIMESTAMP | 更新时间 |
| 编号 | 名称 | 数据类型 | 长度 | 小数位 | 允许空值 | 主键 | 默认值 | 说明 |
| 1 | schedule_id | smallint | 5 | 0 | N | Y | 日程ID:[0,32767] | |
| 2 | content | varchar | 255 | 0 | Y | N | 日程内容 | |
| 3 | scheduled_time | datetime | 19 | 0 | Y | N | 计划时间 | |
| 4 | user_id | int | 10 | 0 | N | N | 用户id | |
| 5 | create_time | datetime | 19 | 0 | Y | N | 创建时间 | |
| 6 | update_time | datetime | 19 | 0 | Y | N | 更新时间 |
| 编号 | 名称 | 数据类型 | 长度 | 小数位 | 允许空值 | 主键 | 默认值 | 说明 |
| 1 | score_id | int | 10 | 0 | N | Y | 评分ID: | |
| 2 | user_id | int | 10 | 0 | N | N | 0 | 评分人: |
| 3 | nickname | varchar | 64 | 0 | Y | N | 昵称: | |
| 4 | score_num | double | 5 | 2 | N | N | 0.00 | 评分: |
| 5 | create_time | timestamp | 19 | 0 | N | N | CURRENT_TIMESTAMP | 创建时间: |
| 6 | update_time | timestamp | 19 | 0 | N | N | CURRENT_TIMESTAMP | 更新时间: |
| 7 | source_table | varchar | 255 | 0 | Y | N | 来源表: | |
| 8 | source_field | varchar | 255 | 0 | Y | N | 来源字段: | |
| 9 | source_id | int | 10 | 0 | N | N | 0 | 来源ID: |
| 编号 | 名称 | 数据类型 | 长度 | 小数位 | 允许空值 | 主键 | 默认值 | 说明 |
| 1 | security_check_id | int | 10 | 0 | N | Y | 安全检查ID | |
| 2 | check_name | varchar | 64 | 0 | Y | N | 检查名称 | |
| 3 | check_date | date | 10 | 0 | Y | N | 检查日期 | |
| 4 | equipment_status | varchar | 64 | 0 | Y | N | 设备状态 | |
| 5 | property_users | int | 10 | 0 | Y | N | 0 | 物业用户 |
| 6 | property_name | varchar | 64 | 0 | Y | N | 物业姓名 | |
| 7 | check_the_remarks | text | 65535 | 0 | Y | N | 检查备注 | |
| 8 | create_time | datetime | 19 | 0 | N | N | CURRENT_TIMESTAMP | 创建时间 |
| 9 | update_time | timestamp | 19 | 0 | N | N | CURRENT_TIMESTAMP | 更新时间 |
| 编号 | 名称 | 数据类型 | 长度 | 小数位 | 允许空值 | 主键 | 默认值 | 说明 |
| 1 | slides_id | int | 10 | 0 | N | Y | 轮播图ID: | |
| 2 | title | varchar | 64 | 0 | Y | N | 标题: | |
| 3 | content | varchar | 255 | 0 | Y | N | 内容: | |
| 4 | url | varchar | 255 | 0 | Y | N | 链接: | |
| 5 | img | varchar | 255 | 0 | Y | N | 轮播图: | |
| 6 | hits | int | 10 | 0 | N | N | 0 | 点击量: |
| 7 | create_time | timestamp | 19 | 0 | N | N | CURRENT_TIMESTAMP | 创建时间: |
| 8 | update_time | timestamp | 19 | 0 | N | N | CURRENT_TIMESTAMP | 更新时间: |
| 编号 | 名称 | 数据类型 | 长度 | 小数位 | 允许空值 | 主键 | 默认值 | 说明 |
| 1 | upload_id | int | 10 | 0 | N | Y | 上传ID | |
| 2 | name | varchar | 64 | 0 | Y | N | 文件名 | |
| 3 | path | varchar | 255 | 0 | Y | N | 访问路径 | |
| 4 | file | varchar | 255 | 0 | Y | N | 文件路径 | |
| 5 | display | varchar | 255 | 0 | Y | N | 显示顺序 | |
| 6 | father_id | int | 10 | 0 | Y | N | 0 | 父级ID |
| 7 | dir | varchar | 255 | 0 | Y | N | 文件夹 | |
| 8 | type | varchar | 32 | 0 | Y | N | 文件类型 |
| 编号 | 名称 | 数据类型 | 长度 | 小数位 | 允许空值 | 主键 | 默认值 | 说明 |
| 1 | user_id | int | 10 | 0 | N | Y | 用户ID:[0,8388607]用户获取其他与用户相关的数据 | |
| 2 | state | smallint | 5 | 0 | N | N | 1 | 账户状态:[0,10](1可用|2异常|3已冻结|4已注销) |
| 3 | user_group | varchar | 32 | 0 | Y | N | 所在用户组:[0,32767]决定用户身份和权限 | |
| 4 | login_time | timestamp | 19 | 0 | N | N | CURRENT_TIMESTAMP | 上次登录时间: |
| 5 | phone | varchar | 11 | 0 | Y | N | 手机号码:[0,11]用户的手机号码,用于找回密码时或登录时 | |
| 6 | phone_state | smallint | 5 | 0 | N | N | 0 | 手机认证:[0,1](0未认证|1审核中|2已认证) |
| 7 | username | varchar | 16 | 0 | N | N | 用户名:[0,16]用户登录时所用的账户名称 | |
| 8 | nickname | varchar | 16 | 0 | Y | N | 昵称:[0,16] | |
| 9 | password | varchar | 64 | 0 | N | N | 密码:[0,32]用户登录所需的密码,由6-16位数字或英文组成 | |
| 10 | | varchar | 64 | 0 | Y | N | 邮箱:[0,64]用户的邮箱,用于找回密码时或登录时 | |
| 11 | email_state | smallint | 5 | 0 | N | N | 0 | 邮箱认证:[0,1](0未认证|1审核中|2已认证) |
| 12 | avatar | varchar | 255 | 0 | Y | N | 头像地址:[0,255] | |
| 13 | open_id | varchar | 255 | 0 | Y | N | 针对获取用户信息字段 | |
| 14 | create_time | timestamp | 19 | 0 | N | N | CURRENT_TIMESTAMP | 创建时间: |
表user_group (用户组:用于用户前端身份和鉴权)
| 编号 | 名称 | 数据类型 | 长度 | 小数位 | 允许空值 | 主键 | 默认值 | 说明 |
| 1 | group_id | mediumint | 8 | 0 | N | Y | 用户组ID:[0,8388607] | |
| 2 | display | smallint | 5 | 0 | N | N | 100 | 显示顺序:[0,1000] |
| 3 | name | varchar | 16 | 0 | N | N | 名称:[0,16] | |
| 4 | description | varchar | 255 | 0 | Y | N | 描述:[0,255]描述该用户组的特点或权限范围 | |
| 5 | source_table | varchar | 255 | 0 | Y | N | 来源表: | |
| 6 | source_field | varchar | 255 | 0 | Y | N | 来源字段: | |
| 7 | source_id | int | 10 | 0 | N | N | 0 | 来源ID: |
| 8 | register | smallint | 5 | 0 | Y | N | 0 | 注册位置: |
| 9 | create_time | timestamp | 19 | 0 | N | N | CURRENT_TIMESTAMP | 创建时间: |
| 10 | update_time | timestamp | 19 | 0 | N | N | CURRENT_TIMESTAMP | 更新时间: |
| 编号 | 名称 | 数据类型 | 长度 | 小数位 | 允许空值 | 主键 | 默认值 | 说明 |
| 1 | utility_bill_id | int | 10 | 0 | N | Y | 物业账单ID | |
| 2 | bill_name | varchar | 64 | 0 | Y | N | 账单名称 | |
| 3 | bill_type | varchar | 64 | 0 | Y | N | 账单类型 | |
| 4 | payment_amount | double | 9 | 2 | Y | N | 0.00 | 缴费金额 |
| 5 | statement_date | date | 10 | 0 | Y | N | 账单日期 | |
| 6 | property_users | int | 10 | 0 | Y | N | 0 | 物业用户 |
| 7 | property_name | varchar | 64 | 0 | Y | N | 物业姓名 | |
| 8 | property_phone_number | varchar | 64 | 0 | Y | N | 物业电话 | |
| 9 | owner_user | int | 10 | 0 | Y | N | 0 | 业主用户 |
| 10 | bill_content | text | 65535 | 0 | Y | N | 账单内容 | |
| 11 | bill_payment_limit_times | int | 10 | 0 | N | N | 0 | 缴费限制次数 |
| 12 | create_time | datetime | 19 | 0 | N | N | CURRENT_TIMESTAMP | 创建时间 |
| 13 | update_time | timestamp | 19 | 0 | N | N | CURRENT_TIMESTAMP | 更新时间 |
吉祥社区信息管理系统的详细设计与实现主要是根据前面的吉祥社区信息管理系统的需求分析和吉祥社区信息管理系统的总体设计来设计页面并实现业务逻辑。主要从吉祥社区信息管理系统界面实现、业务逻辑实现这两部分进行介绍。
-
- 前端首页模块
首页展示了社区信息推荐、社区活动推荐以及新闻资讯等内容,帮助业主快速了解社区动态和最新消息。通过首页的信息展示,业主能够及时参与到社区活动中去,增强社区归属感。前台首页模块展示如下图所示。

图 5-1前台首页模块图
-
- 用户注册模块
不是吉祥社区信息管理系统中正式用户的是可以在线进行注册的,当填写上自己的账号+设置密码+确认密码+昵称+邮箱+手机号+身份+用户姓名+用户性别等信息后再点击“注册”按钮后将会先验证输入的有没有空数据,再次验证密码和确认密码是否是一样的,最后验证输入的账户名和数据库表中已经注册的账户名是否重复,只有都验证没问题后即可用户注册成功。用户注册流程图如下所示。

图 5-2 注册流程图
其用户注册模块展示如下图所示。

图 5-3注册模块图
注册代码如下:
/
* 注册
* @param user
* @return
*/
@PostMapping("register")
public Map<String, Object> signUp(@RequestBody User user) {
// 查询用户
Map<String, String> query = new HashMap<>();
Map<String,Object> map = JSON.parseObject(JSON.toJSONString(user));
query.put("username",user.getUsername());
List list = service.selectBaseList(service.select(query, new HashMap<>()));
if (list.size()>0){
return error(30000, "用户已存在");
}
map.put("password",service.encryption(String.valueOf(map.get("password"))));
service.insert(map);
return success(1);
}
-
- 登录模块
吉祥社区信息管理系统中的前台上注册后的用户是可以通过自己的用户名+密码进行登录的,当用户输入完整的自己的用户名+密码信息并点击“登录”按钮后,将会首先验证输入的有没有空数据,再次验证输入的用户名+密码和数据库中当前保存的用户信息是否一致,只有在一致后将会登录成功并自动跳转到吉祥社区信息管理系统的首页中;否则将会提示相应错误信息,用户登录流程图如下所示。

图 5-4 用户登录流程图
登录模块如下图所示。

图 5-5登录模块图
登录代码如下:
/
* 登录
* @param data
* @param httpServletRequest
* @return
*/
@PostMapping("login")
public Map<String, Object> login(@RequestBody Map<String, String> data, HttpServletRequest httpServletRequest) {
log.info("[执行登录接口]");
String username = data.get("username");
String email = data.get("email");
String phone = data.get("phone");
String password = data.get("password");
List resultList = null;
Map<String, String> map = new HashMap<>();
if(username != null && "".equals(username) == false){
map.put("username", username);
resultList = service.selectBaseList(service.select(map, new HashMap<>()));
}
else if(email != null && "".equals(email) == false){
map.put("email", email);
resultList = service.selectBaseList(service.select(map, new HashMap<>()));
}
else if(phone != null && "".equals(phone) == false){
map.put("phone", phone);
resultList = service.selectBaseList(service.select(map, new HashMap<>()));
}else{
return error(30000, "账号或密码不能为空");
}
if (resultList == null || password == null) {
return error(30000, "账号或密码不能为空");
}
//判断是否有这个用户
if (resultList.size()<=0){
return error(30000,"用户不存在");
}
User byUsername = (User) resultList.get(0);
Map<String, String> groupMap = new HashMap<>();
groupMap.put("name",byUsername.getUserGroup());
List groupList = userGroupService.selectBaseList(userGroupService.select(groupMap, new HashMap<>()));
if (groupList.size()<1){
return error(30000,"用户组不存在");
}
UserGroup userGroup = (UserGroup) groupList.get(0);
//查询用户审核状态
if (!StringUtils.isEmpty(userGroup.getSourceTable())){
String res = service.selectExamineState(userGroup.getSourceTable(),byUsername.getUserId());
if (res==null){
return error(30000,"用户不存在");
}
if (!res.equals("已通过")){
return error(30000,"该用户审核未通过");
}
}
//查询用户状态
if (byUsername.getState()!=1){
return error(30000,"用户非可用状态,不能登录");
}
String md5password = service.encryption(password);
if (byUsername.getPassword().equals(md5password)) {
// 存储Token到数据库
AccessToken accessToken = new AccessToken();
accessToken.setToken(UUID.randomUUID().toString().replaceAll("-", ""));
accessToken.setUser_id(byUsername.getUserId());
Duration duration = Duration.ofSeconds(7200L);
redisTemplate.opsForValue().set(accessToken.getToken(), accessToken,duration);
// 返回用户信息
JSONObject user = JSONObject.parseObject(JSONObject.toJSONString(byUsername));
user.put("token", accessToken.getToken());
JSONObject ret = new JSONObject();
ret.put("obj",user);
return success(ret);
} else {
return error(30000, "账号或密码不正确");
}
}
-
- 前端业主用户功能模块
社区互动模块允许业主对社区内的各类信息进行点赞、收藏和评论,并支持发布自己的内容。这不仅促进了业主之间的交流,还增强了社区的活力与凝聚力。社区互动模块如下图所示:

图 5-6社区互动模块图
新闻资讯板块提供丰富的社区内外新闻动态,业主可以对其进行点赞、收藏和评论。这有助于业主获取最新的社会和社区信息,拓宽视野。新闻资讯模块如下图所示。

图 5-7新闻资讯模块图
社区信息功能允许业主查看社区内的重要信息并进行报名参与相关活动。通过这一功能,业主能够更好地融入社区生活,享受丰富多彩的社区活动。社区信息模块如下图所示。

图 5-8社区信息模块图
社区活动模块展示了各类社区活动详情,业主可以对其点赞、收藏和评论,并报名参加感兴趣的活动。这不仅丰富了业主的业余生活,也增进了邻里关系。社区活动模块如下图所示。

图 5-9社区活动模块图
社区活动报名模块如下图所示。

图 5-10社区活动报名模块图
报修服务功能让业主可以方便地提交维修请求,并跟踪处理进度。通过这个功能,业主能够迅速解决生活中的问题。报修服务模块如下图所示。

图 5-11报修服务模块图
个人中心包括个人首页、活动报名、物业账单、账单缴费、报修服务、投诉建议、收藏、评论管理等功能,为业主提供了一个全面的个人服务平台,方便管理个人事务。个人中心模块如下图所示。

图 5-12个人中心模块图
-
- 后端物业用户功能模块
社区信息管理模块允许物业添加、删除、查询社区信息详情,并查看相关评论。每个物业用户只能查看自己发布的对应信息,确保信息的安全性和准确性。社区信息管理模块如下图所示。

图 5-13社区信息管理模块图
物业账单管理功能支持物业添加、删除、查询账单详情,便于管理和跟踪社区内所有账单的情况,确保账务清晰透明。物业账单管理添加模块如下图所示。

图 5-14物业账单管理添加模块图
报修服务管理功能使物业可以删除、查询报修详情,并查看处理报修进度。这有助于物业及时响应业主需求,提升服务质量。报修服务管理详情模块如下图所示。

图 5-15报修服务管理详情模块图
设施信息管理功能支持物业添加、删除、查询设施详情,并查看处理设施进度。这有助于物业高效管理社区内的各类设施,确保其正常运行。设施信息管理添加模块如下图所示。

图 5-16设施信息管理添加模块图
系统用户管理功能允许管理员对系统中的用户进行全面管理。管理员可以添加物业用户、修改用户信息、设定用户角色以及处理用户账号的停用或删除。这一功能确保了系统用户信息的准确性和安全性,也方便管理员根据实际需要调整用户权限。用户管理流程图如下所示。

图 5-17用户管理流程图
系统用户模块如下图所示。

图 5-18系统用户模块图
系统用户管理关键代码如下:
@RequestMapping("/get_list")
public Map<String, Object> getList(HttpServletRequest request) {
Map<String, Object> map = service.selectToPage(service.readQuery(request), service.readConfig(request));
return success(map);
}
在系统管理模块中,管理员可以对平台的轮播图进行更新,以及进行信息的查询、新增和删除操作。轮播图的更新有助于展示最新活动或通知。轮播图管理模块如下图所示。

图 5-19轮播图管理模块图
社区活动管理模块支持管理员添加、删除、查询社区活动详情,并查看相关评论。这有助于管理员策划和组织各类社区活动,丰富社区生活。社区活动管理添加流程如下图所示。

图 5-20社区活动管理添加流程图
社区活动管理添加模块如下图所示。

图 5-21社区活动管理添加模块图
社区活动管理添加关键代码如下:
@PostMapping("/add")
@Transactional
public Map<String, Object> add(HttpServletRequest request) throws IOException {
service.insert(service.readBody(request.getReader()));
return success(1);
}
public Map<String, Object> addMap(Map<String,Object> map){
service.insert(map);
return success(1);
}
物业账单管理模块支持管理员添加、删除、查询物业账单详情,并处理缴费。这有助于管理员高效管理社区账单,确保财务透明。物业账单管理模块如下图所示。

图 5-22物业账单管理模块图
报修服务管理功能使管理员可以添加、删除、查询报修详情,并进行审核。这有助于管理员及时响应业主需求,提升服务质量。报修服务管理审核模块如下图所示。

图 5-23报修服务管理审核模块图
投诉建议管理模块允许管理员添加、删除、查询投诉建议详情,并进行审核。这有助于管理员及时处理业主反馈,提升业主满意度。投诉建议管理模块如下图所示。

图 5-24投诉建议管理模块图
社区信息管理功能允许管理员添加、删除、查询社区信息详情,并查看相关评论。这有助于管理员及时更新和管理社区信息,保持信息的准确性和时效性。社区信息管理模块如下图所示。

图 5-25社区信息管理模块图
资源管理模块涵盖新闻资讯及其分类的添加、删除、查询详情和查看评论功能。这有助于管理员有效管理社区资源,确保信息的多样性和丰富性。资源管理模块如下图所示。
图 5-26资源管理模块图
在系统开发的流程中,前台、后台以及数据库的建设只是整个项目的基础构建部分,完成了这些仅仅意味着系统框架的搭建告一段落。然而,一个系统的真正成熟与稳定,关键在于其是否能经受住严格的测试。测试是系统开发流程中不可或缺的一环,它对于确保系统质量至关重要。
一个系统测试的目的就是检验系统在真正的工作环境和条件下是不是能够正常运行,各种功能能不能符合设计的要求,通过测试发现系统当中存在的一些潜在的错误,然后对系统进行改进,使得系统最终以完美的形式展现给用户,提高用户使用过程中的体验度,真正达到项目的实际使用目的。
报名测试用例如表6-1 所示。
表6-1 报名测试用例
| 测试用例编号 | YL_03 | |
| 测试用例名称 | 系统使用者进行提交报名 | |
| 测试用例描述 | 使用者输入报名信息 | |
| 系统入口 | 浏览器 | |
| 步骤 | 预期结果 | 实际结果 |
| 输入完整的报名内容 | 点击“提交成功”,并进入系统 | 预期结果 |
| 不输入报名内容 | 提示“请输入完整” | 预期结果 |
在系统中,创建功能也是基础功能之一,因此创建功能的测试很有代表性。在此章节主要列举在创建时各种情况下系统结果的测试。由于系统涉及创建功能操作过多,因此将多处统称创建功能。
创建数据用例如表6-2 所示。
表6-2 创建数据测试用例
| 测试用例编号 | YL_05 | |
| 测试用例名称 | 系统使用者进行创建数据 | |
| 测试用例描述 | 使用者输入要创建的数据 | |
| 系统入口 | 浏览器 | |
| 步骤 | 预期结果 | 实际结果 |
| 输入完整并且格式正确的数据 | 提示“创建成功”,并显示所有数据 | 预期结果 |
| 核心位置数据但非必要位置不输入数据 | 提示“创建成功”,并显示所有数据 | 预期结果 |
| 核心数据位置不输入数据 | 提示“创建失败” | 预期结果 |
-
-
- 修改数据测试
-
在系统中,修改功能是系统主要实现功能,因此修改功能的测试很有代表性。在此章节主要列举在修改时各种情况下系统结果的测试。由于系统涉及修改功能操作过多,因此将多处数据表记录修改和状态修改统称修改功能。
修改数据用例如表6-3所示。
表6-3 修改数据测试用例
| 测试用例编号 | YL_06 | |
| 测试用例名称 | 系统使用者进行修改数据 | |
| 测试用例描述 | 使用者对可修改的数据项进行修改 | |
| 系统入口 | 浏览器 | |
| 步骤 | 预期结果 | 实际结果 |
| 将现有数据修改成正确的数据 | 提示“修改成功”,并显示所有数据 | 预期结果 |
| 将现有数据修改成错误的数据 | 提示“修改失败” | 预期结果 |
-
-
- 查询数据测试
-
在系统中,查询功能是使用系统使用最多也是最基础的功能,因此查询功能的测试很有代表性。在此章节主要列举在查询时各种情况下系统结果的测试。
查询数据用例如表6-4所示。
表6-4 查询数据测试用例
| 测试用例编号 | YL_05 | |
| 测试用例名称 | 系统使用者进行查询数据 | |
| 测试用例描述 | 全部查询以及输入关键词查询 | |
| 系统入口 | 浏览器 | |
| 步骤 | 预期结果 | 实际结果 |
| 界面自动查询全部 | 显示对应所有记录 | 预期结果 |
| 输入已存在且能匹配成功的关键字 | 显示所查询到的数据 | 预期结果 |
| 输入不存在的关键字 | 显示数据界面为空 | 预期结果 |
在本次测试的过程主要针对所有功能下的添加操作,修改操作和删除操作,并以真实数据一一进行相关功能项目的输入,最终能够保证每个项目涉及的功能都能够正常运行,因此能够保证本次设计的,已实现的功能能够正常运行并且相关数据库的信息也同样保证正确。
经过深入研究与分析,我们明确了基于Java和MySQL数据库的吉祥社区信息管理系统的可行性。该系统结合Java与MySQL技术,实现了高效的吉祥社区信息管理系统。通过本次开发实践,我们深刻认识到学习的无止境和实践的重要性。尽管在初期遇到了如页面显示不规范、数据库连接问题以及参数传递困难等挑战,但通过查阅资料和团队协作,我们成功解决了这些问题。在此过程中,我们积累了丰富的知识和问题解决能力,尤其是学会了如何从海量信息中筛选出有价值的内容。
我们意识到,尽管理论知识是宝贵的,但每个人的编程思路和数据处理方法各不相同。因此,实践成为了找到解决方案的关键。在毕业设计过程中,我们不断提升自我,积累了丰富的经验,这将对未来的职业发展产生积极影响。
在开发吉祥社区信息管理系统的过程中,我们参考了众多相关系统的成功案例,取其精华、去其糟粕,逐步完善了系统功能。然而,该系统仍存在诸多不足,需要我们在后续的学习中不断改进。实践表明,吉祥社区信息管理系统具有广阔的发展前景。经过严格的测试与运行,该系统功能完善、界面美观、操作简便,技术理论上已趋成熟。
- 李扬. 市政协委员王玲:进一步提高小区物业管理服务[N]. 汉中日报, 2025-02-18 (005).
- 李心雨,薛宇翔. 多措并举 物业管理升级蜕变[N]. 泉州晚报, 2025-02-17 (011).
- 王峰,王大安. 昌邑市全链条发力,化解物业管理矛盾纠纷 [J]. 中国物业管理, 2025, (02): 49-51.
- 地方两会代表委员积极建言献策,推动物业服务质量提升 [J]. 中国物业管理, 2025, (02): 68-73.
- 《中国物业管理》杂志 [J]. 中国物业管理, 2025, (02): 10-11.
- 用心用情守护,温暖万家灯火——全国物业管理行业全力做好春节期间物业服务保障工作 [J]. 中国物业管理, 2025, (02): 12-15.
- 宋健刚. “三全育人”视域下高职院校“一站式”学生社区管理研究 [J]. 中国管理信息化, 2025, 28 (02): 203-205.
- 高歌. 一站式学生社区综合管理能力评价模型研究 [J]. 黑龙江科学, 2025, 16 (01): 130-132.
- 张菡,李欢欢. 服务学习理念指引下的高职文科类实践育人模式创新——以社区管理与服务专业为例 [J]. 教育教学论坛, 2025, (02): 185-188.
- 徐鸿涛. 立法和基层社区治理视角下的“物业服务”与“物业管理” [J]. 住宅与房地产, 2025, (01): 26-28.
- 王晨,周玄韵,黄瑶,等. 基于区域信息管理平台的上海市浦东新区社区卫生服务中心科教考核评价研究 [J]. 中国初级卫生保健, 2024, 38 (07): 7-10.
- 叶子. 信息管理系统促进中成药在社区卫生服务中心合理使用的效果 [J]. 中医药管理杂志, 2022, 30 (18): 207-209.
- 许继月. 具有隐私保护的社区疫情信息管理系统[D]. 山东大学, 2022.
- 闫静. 青岛市司法局社区矫正管理信息系统的设计与实现[D]. 哈尔滨工业大学, 2022.
- 林伟琼. 社区团购快递信息管理系统设计与实现 [J]. 物联网技术, 2021, 11 (12): 86-89.
- 穆俊丽. 基于区块链的社区管理信息系统的研究与开发[D]. 华北电力大学, 2021.
- 黄宇豪,张天程. 一种高并发读书交流社区信息管理系统设计方法 [J]. 数字技术与应用, 2020, 38 (12): 181-183. DOI:10.19695/j.cnki.cn12-1369.2020.12.57.
- Lulu Wang. Enhancing tourism management through big data: Design and implementation of an integrated information system[J]. Heliyon, 2024, 10 (20).
- Salunke V S ,Ouda A . A Performance Benchmark for the PostgreSQL and MySQL Databases [J]. Future Internet, 2024, 16 (10): 382-382.
- Shao W ,Liu K . Design and Implementation of Online Ordering System Based on SpringBoot [J]. Journal of Big Data and Computing, 2024, 2 (3):
吉祥社区信息管理系统设计与实现工作已结束,虽然过程中充满挑战,但内心充满自豪和满足。感谢大学四年间教导我的所有老师,他们的专业知识与人生智慧让我成长为能独立完成系统的学生。特别感谢指导老师,他耐心解答疑惑,引导我解决问题,提升自主解决能力。室友和同学们的宝贵建议和支持也让我取得长足进步。未来,我将继续努力追求卓越,不辜负所学所悟和老师期望。坚信坚定信念和不懈努力,未来定能取得更辉煌成就。期待更美好未来!
此外,吉祥社区信息管理系统设计与实现不仅是技术挑战,挫折和困难是成长的垫脚石,让我更深入理解问题,精确找到解决方案。每次解决问题,都感到满足和自豪。
对于未来,我充满期待和信心。无论道路多崎岖,只要保持坚定信念,持续努力,定能取得更大成就。期待将知识和技能运用到实际中,为社会做出更大贡献。
最后,感谢所有帮助和支持我的人。你们的教诲、鼓励和支持让我有今天的成就。我会继续努力,不辜负期望,为实现更美好的未来而奋斗。
点赞+收藏+关注 →私信领取本源代码、数据库
关注博主下篇更精彩
一键三连!!!
一键三连!!!
一键三连!!!
感谢一键三连!!!

被折叠的 条评论
为什么被折叠?



