摘 要
信息化社会内需要与之针对性的信息获取途径,但是途径的扩展基本上为人们所努力的方向,由于站在的角度存在偏差,人们经常能够获得不同类型信息,这也是技术最为难以攻克的课题。针对校园疫情防控等问题,对校园疫情防控进行研究分析,然后开发设计出校园疫情防控系统以解决问题。
校园疫情防控系统主要功能模块包括首页、网站管理(轮播图、公告栏)人员管理(管理员、注册用户)内容管理(校园资讯、资讯分类列表)模块管理(场所打卡、数据上报、通行验证、数据报表、数据分析)个人管理、系统管理,采取面对对象的开发模式进行软件的开发和硬体的架设,能很好的满足实际使用的需求,完善了对应的软体架设以及程序编码的工作,采取MySQL作为后台数据的主要存储单元,采用springboot框架、java技术、Ajax技术进行业务系统的编码及其开发,实现了本系统的全部功能。本次报告,首先分析了研究的背景、作用、意义,为研究工作的合理性打下了基础。针对校园疫情防控系统的各项需求以及技术问题进行分析,证明了系统的必要性和技术可行性,然后对设计系统需要使用的技术软件以及设计思想做了基本的介绍,最后来实现校园疫情防控系统和部署运行使用它。
关键词:校园疫情防控;springboot框架;MySQL数据库
Spring boot campus epidemic prevention and control system
Abstract
Targeted information access is needed in the information society, but the expansion of the access is basically the direction that people strive for. Due to the deviation of the perspective, people can often obtain different types of information, which is also the most difficult topic for technology to overcome. In view of the campus epidemic prevention and control problems, the campus epidemic prevention and control research and analysis, and then develop a campus epidemic prevention and control system to solve the problem.
The main functional modules of the campus epidemic prevention and control system include home page, website management (broadcast map, bulletin board), personnel management (administrators, registered users), content management (campus information, information classification list), module management (site clock in, data reporting, access verification, data report, data analysis), personal management, and system management. The object-oriented development mode is adopted for software development and hardware erection, It can well meet the neesds of actual use, improve the corresponding software erection and program coding work, adopt MySQL as the main storage unit of background data, adopt spring boot framework, java technology, Ajax technology to code and develop the business system, and realize all the functions of the system. This report first analyzes the background, role and significance of the research, laying a foundation for the rationality of the research work. This paper analyzes the requirements and technical problems of the campus epidemic prevention and control system, proves the necessity and technical feasibility of the system, and then makes a basic introduction to the technical software and design ideas that the system needs to use. Finally, the campus epidemic prevention and control system is implemented and deployed to use it.
Key words: campus epidemic prevention and control; Spring boot framework; MySQL database
目 录
在学校的日常管理过程中,疫情管理是日常管理中必不可少的组成部分,其管理水平的高低体现了一个学校管理水平的整体状况。一直以来学校使用传统人工的方式管理疫情数据,这种管理方式存在着许多缺点,如:效率低、保密性差,另外时间一长,将产生大量的文件和数据,为操作人员带来不少麻烦。
面对信息化时代的来临与学校的发展改革和转型升级,疫情管理越来越正规化、科学化。使用计算机对一些信息管理,具有众多优点,可靠性高、存储量大、保密性好、寿命长、成本低等。因此开发一套校园疫情防控系统是很有必要的事情,它将成为学校单位不可缺少的一部分。在日常使用过程中,计算机系统提供的方便,使得操作人员提高工作效率,并使学校资源得以更有效配置,从而提高学校日常管理水平,也让学校内部更好的为使用者服务和提供的便利。
在《SARS事件与中国危机管理体系建设》提到目前国内市场出现了很多利用互联网监测流感疫情的研究者,其中包括利用互联网搜索引擎数据、社交网络数据、医疗网站数据、药物销售数据等进行流感监测的方法[1]。
在地址http://www.who.int/mediacentre/factsheets/fs211/en/提到国外的Ginsberg等人利用Google流感趋势监测流感疫情,其监测时效比CDC(Centers for Disease Control)监测提前了1~2周[2]。
在《国内外流感监测系统的综合调查研究》提到在国内,李秀婷等人应用Google搜索引擎数据研究基于互联网搜索数据的中国流感监测[3]。
在《流感监测的发展历史及思考》提到流感疫情预测中,采用互联网搜索数据结合流感中心公布的每周的流感疫情数据。首先研究搜索引擎数据对流感样病例ILI数据的解释能力,其次研究ILI历史趋势的解释能力,最后验证搜索数据和历史ILI数据的互补性。然后通过搜索数据和历史ILI数据最流感疫情做出预测。而本文中则通过实时的获取流感中心每天的数据疫情和好搜指数,实时地对流感疫情做出预测,在使用好搜指数数据对流感疫情作出预测的基础上,整合与本省历史ILI数据对流感疫情做出预测,并且取得了较好了的预测结果[4]。
在《全国流感监测方案》提到但是这种监测的方式都是根据公众的在互联网上的行为操作记录进行监测。并没有让公众主动的参与到 流感的监测中来。应用互联网数据对流感流行强度的预测,并没有充分地,利用已有的流感疫情数据,同时其他流感数据的预测只是研究性的内容,并未公布在普通公众面前,对公众的流感防治措施的采取意义不大[5]。
在地址http://www.cnic.org.cn/chn/down/showdown.php?downid=850提到国外的Google推出的Flu Trends,Google Flu Trends中的数据主要包含用户的搜索信息和美国CDC公布的流感疫情数据,其团队通过研究用户搜索关键词的频率和流感疫情的相关性,然后从搜索关键词中选取一定数量的关键词对历史流感疫情数据进行计算,并与CDC公布的流感疫情数据进行对比,从中选取效果最好的搜索关键词集合用以作出对流感疫情的预测[6]。
在《流感周报》提到Google Flu Trends对2017~2018疫情趋势预测和实际疫情趋势之间的相关性高达0.97,这与美国流感中心公布的流感疫情趋势几乎完全吻合。在2017~2018年间对流感疫情的预测比CDC监测网络提前了1~2周,而且可以判断流感的初始暴发地点。Flu Trends现在对全球多个国家的流感疫情都做出了预测,并且直观地展示在地图上面。然而,Flu Trends只对美国进行了不同地区的流感预测,针对其他国家则以全国范围做预测。本工作中按照省份对流感疫情做出预测,预测范围更加详细。Flu Trends预测提前的时间与流感中心监控网络的延迟时间相同,相当于计算当前的流感疫情,而本工作中则是对未来的流感疫情趋势做出了预测。Flu Trends在中国是不可访问的,并且未对中国的流感疫情做出预测,不能为我国公众服务[7]。
在《Flu Near You》提到此外,国外已经出现公众可以直接参与的流感监测软件和网站,例如美国公共健康协会推出的Flu Near You 和Germ Tracker。在这两个网站上面用户可以上报自己的症状和其他的信息,Flu Near You社区每周已经有数千人上报健康报告[8]。
本系统前端部分基于MVVM模式进行开发,采用B/S模式,后端部分基于Java的springboot框架进行开发。
前端部分:前端框架采用了比较流行的渐进式JavaScript框架Vue.js。使用Vue-Router和Vuex实现动态路由和全局状态管理,Ajax实现前后端通信,Element UI组件库使页面快速成型,项目前端通过栅格布局实现响应式,可适应PC端、平板端、手机端等不同屏幕大小尺寸的完美布局展示。
后端部分:采用springboot作为开发框架,同时集成MyBatis、Redis等相关技术。
MVVM是Model-View-ViewModel的简写。它本质上就是MVC 的改进版。MVVM 就是将其中的View 的状态和行为抽象化,让我们将视图 UI 和业务逻辑分开。当然这些事 ViewModel 已经帮我们做了,它可以取出 Model 的数据同时帮忙处理 View 中由于需要展示内容而涉及的业务逻辑。微软的WPF带来了新的技术体验,如Silverlight、音频、视频、3D、动画……,这导致了软件UI层更加细节化、可定制化。同时,在技术层面,WPF也带来了 诸如Binding、Dependency Property、Routed Events、Command、DataTemplate、ControlTemplate等新特性。MVVM(Model-View-ViewModel)框架的由来便是MVP(Model-View-Presenter)模式与WPF结合的应用方式时发展演变过来的一种新型架构框架。它立足于原有MVP框架并且把WPF的新特性糅合进去,以应对客户日益复杂的需求变化。
B/S架构采取浏览器请求,服务器响应的工作模式。
用户可以通过浏览器去访问Internet上由Web服务器产生的文本、数据、图片、动画、视频点播和声音等信息;
而每一个Web服务器又可以通过各种方式与数据库服务器连接,大量的数据实际存放在数据库服务器中;
从Web服务器上下载程序到本地来执行,在下载过程中若遇到与数据库有关的指令,由Web服务器交给数据库服务器来解释执行,并返回给Web服务器,Web服务器又返回给用户。在这种结构中,将许许多多的网连接到一块,形成一个巨大的网,即全球网。而各个企业可以在此结构的基础上建立自己的Internet。
在 B/S 模式中,用户是通过浏览器针对许多分布于网络上的服务器进行请求访问的,浏览器的请求通过服务器进行处理,并将处理结果以及相应的信息返回给浏览器,其他的数据加工、请求全部都是由Web Server完成的。通过该框架结构以及植入于操作系统内部的浏览器,该结构已经成为了当今软件应用的主流结构模式。

Spring框架是Java平台上的一种开源应用框架,提供具有控制反转特性的容器。尽管Spring框架自身对编程模型没有限制,但其在Java应用中的频繁使用让它备受青睐,以至于后来让它作为EJB(EnterpriseJavaBeans)模型的补充,甚至是替补。Spring框架为开发提供了一系列的解决方案,比如利用控制反转的核心特性,并通过依赖注入实现控制反转来实现管理对象生命周期容器化,利用面向切面编程进行声明式的事务管理,整合多种持久化技术管理数据访问,提供大量优秀的Web框架方便开发等等。Spring框架具有控制反转(IOC)特性,IOC旨在方便项目维护和测试,它提供了一种通过Java的反射机制对Java对象进行统一的配置和管理的方法。Spring框架利用容器管理对象的生命周期,容器可以通过扫描XML文件或类上特定Java注解来配置对象,开发者可以通过依赖查找或依赖注入来获得对象。Spring框架具有面向切面编程(AOP)框架,SpringAOP框架基于代理模式,同时运行时可配置;AOP框架主要针对模块之间的交叉关注点进行模块化。Spring框架的AOP框架仅提供基本的AOP特性,虽无法与AspectJ框架相比,但通过与AspectJ的集成,也可以满足基本需求。Spring框架下的事务管理、远程访问等功能均可以通过使用SpringAOP技术实现。Spring的事务管理框架为Java平台带来了一种抽象机制,使本地和全局事务以及嵌套事务能够与保存点一起工作,并且几乎可以在Java平台的任何环境中工作。Spring集成多种事务模板,系统可以通过事务模板、XML或Java注解进行事务配置,并且事务框架集成了消息传递和缓存等功能。Spring的数据访问框架解决了开发人员在应用程序中使用数据库时遇到的常见困难。它不仅对Java:JDBC、iBATS/MyBATIs、Hibernate、Java数据对象(JDO)、ApacheOJB和ApacheCayne等所有流行的数据访问框架中提供支持,同时还可以与Spring的事务管理一起使用,为数据访问提供了灵活的抽象。Spring框架最初是没有打算构建一个自己的WebMVC框架,其开发人员在开发过程中认为现有的StrutsWeb框架的呈现层和请求处理层之间以及请求处理层和模型之间的分离不够,于是创建了SpringMVC。
MySQL经过多次的更新,功能层面已经非常的丰富和完善了,从MySQL4版本到5版本进行了比较大的更新,在商业的实际使用中取得了很好的实际应用效果。最新版本的MySQL支持对信息的压缩,同时还能进行加密能更好的满足对信息安全性的需求。同时经过系统的多次更新,数据库自身的镜像功能也得到了很大的增强,运行的流畅度和易用性方面有了不小的进步,驱动的使用和创建也更加的高效快捷。最大的变动还是进行了空间信息的显示优化,能更加方便的在应用地图上进行坐标的标注和运算。强大的备份功能也保证了用户使用的过程会更加安心,同时支持的Office特性还支持用户的自行安装和使用。在信息的显示形式上也进行了不小的更新,增加了两个非常使用的显示区,一个是信息区,对表格和文字进行了分类处理,界面的显示更加清爽和具体。第二是仪表的信息控件,能在仪表信息区进行信息的显示,同时还能进行多个信息的比对,为用户的实际使用带来了很大的便捷[7][8]。
针对本文中设计的校园疫情防控系统在实际的实现过程中,最终选择MySQL数据库的主要原因在于在企业的应用系统应用及开发的过程中会存在大量的数据库比较频繁的操作,而且数据的安全性要求也是非常的高。综合这些因素,最终选择安全性系数比较高的MySQL来对校园疫情防控系统后台数据进行存储操作[9][10]。
数据库管理系统的总体结构图如下图所示。

图2-1 数据库组成结构
技术性方面,采用当前主流的springboot框架进行系统主体框架的搭建,端框架采用了比较流行的渐进式JavaScript框架Vue.js。使用Vue-Router和Vuex实现动态路由和全局状态管理,Ajax实现前后端通信,Element UI组件库使页面快速成型,项目前端通过栅格布局实现响应式,可适应PC端、平板端、手机端等不同屏幕大小尺寸的完美布局展示,实现前台页面的设计与美观调整,以上技术,均由本人经过系统学习,并且都是在课程设计中实践过的,可以使得开发更加便捷和系统。从技术角度看,这个系统是完全可以实现的。
实用性方面,本次设计的主要任务是在校园疫情防控系统内场所打卡、数据上报等,符合当前潮流的发展。从用户角度出发,同时也考虑系统运营成本和人力资源,采用网络上的便捷方式,实现线上业务,使得业务流程更系统,也更方便用户的体验,比较实用。
经济性方面,由于本课题中设计的校园疫情防控系统的主要目的是为了能够更加方便及快捷的进行信息的查询管理及检索服务,也就是能够可以直接投入使用的信息化软件。系统的主要成本主要是集中在对使用数据后期继续维护及其管理更新这个操作上。但是一旦系统投入到实际的运行及使用之后就能够很好的提高信息查询检索的效率,同时也需要有效的保证查询者的信息方面的安全性,同时这个校园疫情防控系统所带来的实际应用方面的价值是远远的超过了实际系统进行开发与维护方面的成本,因此,从经济上来说开发这个软件是可行的。
校园疫情防控系统的功能主要分为前台用户根据自己的需求进行注册登录,浏览数据信息并对选中的数据进行上传操作。管理员主要对注册用户,场所打卡、数据上报、通行验证、数据报表、数据分析信息进行处理。
用户用例图如下所示。

图3-1 用户用例图
管理员用例图如下所示。

图3-2 管理员用例图
前台用户可分为未注册用户需求和已注册用户需求。
未注册用户的功能如下:
注册账号:用户填写个人信息,并验证手机号码。
浏览公告数据:用户可以浏览主页面的公告数据来了解系统的最新公告数据。
已注册用户的功能如下:
登录:根据账号密码进行登录操作。
维护个人信息:用户因个人信息的变更可以随时修改自己注册信息。
场所打卡:用户根据自己的需求进行场所打卡操作。
数据上报:用户可以上传数据信息。
通行验证:用户根据自己的需求进行通行验证操作。
管理员功能如下:
修改密码:管理员可以随时修改自己进入系统的登录密码,以保证系统的安全性。
场所打卡管理:对场所打卡信息进行维护,添加、删除、修改信息。
数据上报信息管理:对数据上报信息进行维护,添加、删除、修改信息。
公告数据信息管理:发布、删除相关的公告栏数据信息。
用户管理:可以查看注册用户的信息,并对其进行管理。
首先主要考虑的是系统功能软件,在具体设计的环节上,是不是能够较好的满足各类用户的基本功能需求,如果不能较好的满足用户需求,那么这个系统的存在是没有价值的。软件系统的非功能性求分析,从7个方面展开,一个是性能分析,针对系统;一个是安全分析,针对系统,一个是完整度分析,针对系统,一个是可维护分析,针对系统,一个是可扩展性分析,针对系统,一个是适应业务的性能分析。面对校园疫情防控系统存在的性能、安全、扩展、完整度等7个方面性能综合比对分析后发现,需要相应的非功能性需求分析。
安全性对每一个系统来说都是非常重要的。安全性很好的系统可以保护企业的信息和用户的信息不被窃取。提高系统的安全性不仅是对用户的负责,更是对企业的负责。尤其针对于校园疫情防控系统来说,必须要有很好的安全性来保障整个系统。
系统具有对使用者有权限控制,针对角色的不通限制使用者的权限,以此来确保系统的安全性。
数据库中的数据是从外界输入的,当数据的输入时,由于种种原因,输入的数据会无效,或者是脏数据。因此,怎样保证输入的数据符合规定,成为了数据库系统,尤其是多用户的关系数据库系统首要关注的问题。
因此,在写入数据库时,要保证数据完整性、正确性和一致性。
对系统的数据流进行分析,系统的使用者分为二类,一般用户,管理员。系统主要对界面信息传送,登录信息的验证,注册信息的接收,用户各种操作的响应做处理。
系统顶层数据流图如下图所示。

图3-2 顶层数据流图
要判断用户是是什么身份,是根据登录的数据来判断后,跳转到对应的功能界面。在系统的内部用户就可以对数据进行操作,数据库中心就可以接收到系统传输的有效数据流来对数据sql语句进行对应操作。
系统底层数据流图如下图所示。

图3-3 底层数据流图
系统可以分为前台和后台两部分,每一种操作后系统都返回操作结果。前台和后台的数据连接主要通过数据库,既分别对数据库做不同的操作。
本校园疫情防控系统的架构设计主要分为可以3层,主要有Web层,业务层,Model层。其中web层还包括View层和Controller层,Model层包括元数据扩展层和数据访问层。
系统架构如下图所示。

图4-1 系统架构
校园疫情防控系统总体分为前台用户模块和后台管理员模块。
两个模块表现上是分别独立存在,但是访问的数据库是一样的。每一个模块的功能都是根据先前完成的需求分析,并查阅相关资料后整理制作的。
综上所述,系统功能结构图如下图所示。
图4-2 系统功能结构图
根据前面的数据流程图,结合系统的功能模块设计,设计出符合系统的各信息实体。
系统ER图如下图所示。

图4-3 系统ER图
校园疫情防控系统所拥有的数据表有以下:场所打卡、数据上报、通行验证、数据报表、数据分析。
由于数据表较多,只展示系统主要数据表,如下表所示。
| data_analysis | |||||
| 字段名称 | 类型 | 长度 | 不是null | 主键 | 字段说明 |
| data_analysis_id | int | 11 | 是 | 主键 | 数据分析ID |
| title | varchar | 64 | 否 | 标题 | |
| date | date | 0 | 否 | 日期 | |
| analysis_content | text | 0 | 否 | 分析内容 | |
| analysis_results | varchar | 64 | 否 | 分析结果 | |
| remarks | varchar | 64 | 否 | 备注 | |
| recommend | int | 11 | 是 | 智能推荐 | |
| create_time | datetime | 0 | 是 | 创建时间 | |
| update_time | timestamp | 0 | 是 | 更新时间 | |
| data_report | |||||
| 字段名称 | 类型 | 长度 | 不是null | 主键 | 字段说明 |
| data_report_id | int | 11 | 是 | 主键 | 数据报表ID |
| title | varchar | 64 | 否 | 标题 | |
| date | date | 0 | 否 | 日期 | |
| number_of_reported_persons | int | 11 | 否 | 已上报人数 | |
| number_of_persons_not_reported | int | 11 | 否 | 未上报人数 | |
| total_number_of_people | varchar | 64 | 否 | 合计人数 | |
| remarks | varchar | 64 | 否 | 备注 | |
| recommend | int | 11 | 是 | 智能推荐 | |
| create_time | datetime | 0 | 是 | 创建时间 | |
| update_time | timestamp | 0 | 是 | 更新时间 | |
| data_reporting | |||||
| 字段名称 | 类型 | 长度 | 不是null | 主键 | 字段说明 |
| data_reporting_id | int | 11 | 是 | 主键 | 数据上报ID |
| user_no | int | 11 | 否 | 用户编号 | |
| full_name | varchar | 64 | 否 | 姓名 | |
| gender | varchar | 64 | 否 | 性别 | |
| identity_type | varchar | 64 | 否 | 身份类型 | |
| reporting_time | datetime | 0 | 否 | 上报时间 | |
| health | varchar | 64 | 否 | 健康状况 | |
| measure_body_temperature | varchar | 64 | 否 | 场所打卡体温 | |
| health_code | varchar | 255 | 否 | 健康码 | |
| trip_code | varchar | 255 | 否 | 行程码 | |
| remarks | varchar | 64 | 否 | 备注 | |
| recommend | int | 11 | 是 | 智能推荐 | |
| create_time | datetime | 0 | 是 | 创建时间 | |
| update_time | timestamp | 0 | 是 | 更新时间 | |
| passage_verification | |||||
| 字段名称 | 类型 | 长度 | 不是null | 主键 | 字段说明 |
| passage_verification_id | int | 11 | 是 | 主键 | 通行验证ID |
| user_no | int | 11 | 否 | 用户编号 | |
| full_name | varchar | 64 | 否 | 姓名 | |
| identity_type | varchar | 64 | 否 | 身份类型 | |
| time_of_passage | datetime | 0 | 否 | 通行时间 | |
| reasons_for_access | varchar | 64 | 否 | 出入原因 | |
| health_code | varchar | 255 | 否 | 健康码 | |
| remarks | varchar | 64 | 否 | 备注 | |
| examine_state | varchar | 16 | 是 | 审核状态 | |
| examine_reply | varchar | 16 | 否 | 审核回复 | |
| recommend | int | 11 | 是 | 智能推荐 | |
| create_time | datetime | 0 | 是 | 创建时间 | |
| update_time | timestamp | 0 | 是 | 更新时间 | |
| place_punch | |||||
| 字段名称 | 类型 | 长度 | 不是null | 主键 | 字段说明 |
| place_punch_id | int | 11 | 是 | 主键 | 场所打卡ID |
| user_no | int | 11 | 否 | 用户编号 | |
| full_name | varchar | 64 | 否 | 姓名 | |
| gender | varchar | 64 | 否 | 性别 | |
| identity_type | varchar | 64 | 否 | 身份类型 | |
| clock_in_area | varchar | 64 | 否 | 打卡场地 | |
| clock_in_time | datetime | 0 | 否 | 打卡时间 | |
| reason_for_visit | varchar | 64 | 否 | 到访原因 | |
| health_code | varchar | 255 | 否 | 健康码 | |
| remarks | varchar | 64 | 否 | 备注 | |
| recommend | int | 11 | 是 | 智能推荐 | |
| create_time | datetime | 0 | 是 | 创建时间 | |
| update_time | timestamp | 0 | 是 | 更新时间 | |
| registered_user | |||||
| 字段名称 | 类型 | 长度 | 不是null | 主键 | 字段说明 |
| registered_user_id | int | 11 | 是 | 主键 | 注册用户ID |
| user_no | varchar | 64 | 是 | 用户编号 | |
| full_name | varchar | 64 | 否 | 姓名 | |
| gender | varchar | 64 | 否 | 性别 | |
| identity_type | varchar | 64 | 否 | 身份类型 | |
| examine_state | varchar | 16 | 是 | 审核状态 | |
| recommend | int | 11 | 是 | 智能推荐 | |
| user_id | int | 11 | 是 | 用户ID | |
| create_time | datetime | 0 | 是 | 创建时间 | |
| update_time | timestamp | 0 | 是 | 更新时间 | |
该系统是通过jdbc和MySQL达成连接的,新建一个jdbc.properties文件来填写与数据库连接所需要的驱动和参数。
server:
port: 5000
servlet:
context-path: /api
spring:
datasource:
url: jdbc:mysql://127.0.0.1:3306/CS725260_20211101091736?serverTimezone=GMT%2B8&useSSL=false&characterEncoding=utf-8
username: root
password: root
driver-class-name: com.mysql.cj.jdbc.Driver
jackson:
property-naming-strategy: CAMEL_CASE_TO_LOWER_CASE_WITH_UNDERSCORES
default-property-inclusion: ALWAYS
time-zone: GMT+8
date-format: yyyy-MM-dd HH:mm:ss
servlet:
multipart:
max-file-size: 100MB
max-request-size: 100MB
第一个参数代表MySQL数据库的驱动,第二个参数代表要连接的数据库,第三个和第四个参数代表数据库连接名和密码。
后台与数据库访问主要是通过HQL语句来进行查询的,查询语句中的表名是表格的实体类名,在这种查询语句中*是不允许使用的,除非适合聚合函数一起使用才可以。
用户在填写数据的时候必须与注册页面上的验证相匹配否则会注册失败,注册页面的表单验证是通过JavaScript进行验证的,用户名的长度必须在6到18之间,邮箱必须带有@符号,密码和密码确认必须相同,你输入的密码,系统会根据你输入密码的强度给出指定的值,电话号码和身份证号码必须要求输入格式与生活相符合,当你前台验证通过的时候你点击注册,表单会将你输入的值通过name值传递给后台并保存到数据库中。
用户注册流程图如下图所示。

图5-1用户注册流程图
用户注册界面如下图所示。

图5-2用户注册界面
用户注册的关键代码如下。
* 注册
* @param user
* @return
*/
@PostMapping("register")
public Map<String, Object> signUp(@RequestBody User user) {
// 查询用户
Map<String, String> query = new HashMap<>();
query.put("username",user.getUsername());
List list = service.select(query, new HashMap<>()).getResultList();
if (list.size()>0){
return error(30000, "用户已存在");
}
user.setUserId(null);
user.setPassword(service.encryption(user.getPassword()));
service.save(user);
return success(1);
}
/**
* 用户ID:[0,8388607]用户获取其他与用户相关的数据
*/
@Id
@GeneratedValue(strategy = GenerationType.IDENTITY)
@Column(name = "user_id")
private Integer userId;
/**
* 账户状态:[0,10](1可用|2异常|3已冻结|4已注销)
*/
@Basic
@Column(name = "state")
private Integer state;
/**
* 所在用户组:[0,32767]决定用户身份和权限
*/
@Basic
@Column(name = "user_group")
private String userGroup;
/**
* 上次登录时间:
*/
@Basic
@Column(name = "login_time")
private Timestamp loginTime;
/**
* 手机号码:[0,11]用户的手机号码,用于找回密码时或登录时
*/
@Basic
@Column(name = "phone")
private String phone;
/**
* 手机认证:[0,1](0未认证|1审核中|2已认证)
*/
@Basic
@Column(name = "phone_state")
private Integer phoneState;
/**
* 用户名:[0,16]用户登录时所用的账户名称
*/
@Basic
@Column(name = "username")
private String username;
/**
* 昵称:[0,16]
*/
@Basic
@Column(name = "nickname")
private String nickname;
/**
* 密码:[0,32]用户登录所需的密码,由6-16位数字或英文组成
*/
@Basic
@Column(name = "password")
private String password;
/**
* 邮箱:[0,64]用户的邮箱,用于找回密码时或登录时
*/
@Basic
@Column(name = "email")
private String email;
/**
* 邮箱认证:[0,1](0未认证|1审核中|2已认证)
*/
@Basic
@Column(name = "email_state")
private Integer emailState;
/**
* 头像地址:[0,255]
*/
@Basic
@Column(name = "avatar")
private String avatar;
/**
* 创建时间:
*/
@Basic
@Column(name = "create_time")
@JsonFormat(pattern = "yyyy-MM-dd HH:mm:ss")
private Timestamp createTime;
@Basic
@Transient
private String code;
}
主要由两部分组成,登录前的登录界面以及登录后的用户功能界面。登录界面,要求用户输入用户名和密码,当用户名和密码其中一个输入为空时,给出提示“用户名,密码不能为空”。获取用户名和密码后到数据库中查找,如果用户名存在,以及对应的密码正确,则登录成功,否则登录失败。登录失败后给出提示,并把焦点停在文本框中。登录成功后将该次会话的全局变量username设置为用户名。登录成功后进入会员的功能模块,主要有会员基本信息修改,已经发布场所打卡信息管理,发布信息,和退出功能。退出功能是清除全局变量username的值,并跳回到首页。
登录流程图如下图所示。

图5-3登录流程图
用户登录界面如下图所示。

图5-4用户登录界面
用户登录的关键代码如下。
* 登录
* @param data
* @param httpServletRequest
* @return
*/
@PostMapping("login")
public Map<String, Object> login(@RequestBody Map<String, String> data, HttpServletRequest httpServletRequest) {
log.info("[执行登录接口]");
String username = data.get("username");
String email = data.get("email");
String phone = data.get("phone");
String password = data.get("password");
List resultList = null;
Map<String, String> map = new HashMap<>();
if(username != null && "".equals(username) == false){
map.put("username", username);
resultList = service.select(map, new HashMap<>()).getResultList();
}
else if(email != null && "".equals(email) == false){
map.put("email", email);
resultList = service.select(map, new HashMap<>()).getResultList();
}
else if(phone != null && "".equals(phone) == false){
map.put("phone", phone);
resultList = service.select(map, new HashMap<>()).getResultList();
}else{
return error(30000, "账号或密码不能为空");
}
if (resultList == null || password == null) {
return error(30000, "账号或密码不能为空");
}
//判断是否有这个用户
if (resultList.size()<=0){
return error(30000,"用户不存在");
}
User byUsername = (User) resultList.get(0);
Map<String, String> groupMap = new HashMap<>();
groupMap.put("name",byUsername.getUserGroup());
List groupList = userGroupService.select(groupMap, new HashMap<>()).getResultList();
if (groupList.size()<1){
return error(30000,"用户组不存在");
}
UserGroup userGroup = (UserGroup) groupList.get(0);
//查询用户审核状态
if (!StringUtils.isEmpty(userGroup.getSourceTable())){
String sql = "select examine_state from "+ userGroup.getSourceTable() +" WHERE user_id = " + byUsername.getUserId();
String res = String.valueOf(service.runCountSql(sql).getSingleResult());
if (res==null){
return error(30000,"用户不存在");
}
if (!res.equals("已通过")){
return error(30000,"该用户审核未通过");
}
}
//查询用户状态
if (byUsername.getState()!=1){
return error(30000,"用户非可用状态,不能登录");
}
String md5password = service.encryption(password);
if (byUsername.getPassword().equals(md5password)) {
// 存储Token到数据库
AccessToken accessToken = new AccessToken();
accessToken.setToken(UUID.randomUUID().toString().replaceAll("-", ""));
accessToken.setUser_id(byUsername.getUserId());
tokenService.save(accessToken);
// 返回用户信息
JSONObject user = JSONObject.parseObject(JSONObject.toJSONString(byUsername));
user.put("token", accessToken.getToken());
JSONObject ret = new JSONObject();
ret.put("obj",user);
return success(ret);
} else {
return error(30000, "账号或密码不正确");
}
}
用户登录/注册成功之后可以修改自己的基本信息。修改页面的表单中每一个input的name值都要与实体类中的参数相匹配,在用户点击修改页面的时候,如果改后用户名与数据库里面重复了,页面会提示该用户名已经存在了,否则通过Id来查询用户,并将用户的信息修改为表单提交的数据。
-
- 公告栏数据管理模块的实现
如果公告栏数据的信息需要修改,管理员可以通过查询公告栏数据的基本信息来查询公告栏数据,查询公告栏数据是通过ajax技术来进行查询的,需要传递公告栏数据的标题、编号等参数然后在返回到该页面中,可以选中要修改或删除的那条信息,如果选中了超过一条数据,页面会挑一个窗口提醒只能选择一条数,如果没有选中数据会挑一个窗口题型必须选择一条数据。当选择确认修改的时候,后台会根据传过来的id到数据库查询,并将结果返回到修改页面中,可以在修改页面中修改刚刚选中的信息当点击确认的时候from表单会将修改的数据提交到后台并保存到数据库中,就是说如果提交的数据数据库中存在就修改,否则就保存。
公告栏数据展示界面如下图所示。

图5-5公告栏数据展示界面
公告栏数据管理界面如下图所示。

图5-6公告栏数据管理界面
公告栏数据发布的关键代码如下。
@RequestMapping(value = "/del")
@Transactional
public Map<String, Object> del(HttpServletRequest request) {
service.delete(service.readQuery(request), service.readConfig(request));
return success(1);
}
@Transactional
public void delete(Map<String,String> query,Map<String,String> config){
StringBuffer sql = new StringBuffer("DELETE FROM ").append("`").append(table).append("`").append(" ");
sql.append(toWhereSql(query, "0".equals(config.get(FindConfig.GROUP_BY))));
log.info("[{}] - 删除操作:{}",table,sql);
Query query1 = runCountSql(sql.toString());
query1.executeUpdate();
}
-
- 场所打卡模块的实现
此页面的关键是编写场所打卡信息,包括场所打卡编号,名称,详情等。单击提交按钮以完成信息的添加。如果未写入完整的场所打卡信息,例如,如果未写入场所打卡编号,系统将给出相应的错误提示,并且无法成功输入。数据以概念的形式以onsubmit =“return checkForm()”的形式写入以进行检查,checkForm()函数是一种用于写入数据的不同类型的校对方法,是不是为空也是经过form表单中的onsubmit=”return checkForm()来检查。
管理员点击左侧菜单“场所打卡信息管理”,页面跳转到场所打卡信息管理外观,调用后台场所打卡查询所有场所打卡信息。并将信息密封到数据集合List,绑定到请求对象,然后页面跳转到相应的jsp,显示出场所打卡信息,单击删除按钮完成场所打卡信息的删除。
场所打卡流程图如下图所示。

图5-1场所打卡流程图
场所打卡添加界面如下图所示。

图5-1场所打卡添加界面
场所打卡管理界面如下图所示。

图5-1场所打卡管理界面
场所打卡的关键代码如下。
public Map<String, Object> obj(HttpServletRequest request) {
Query select = service.select(service.readQuery(request), service.readConfig(request));
List resultList = select.getResultList();
if (resultList.size() > 0) {
JSONObject jsonObject = new JSONObject();
jsonObject.put("obj",resultList.get(0));
return success(jsonObject);
} else {
return success(null);
}
}
public Query select(Map<String,String> query,Map<String,String> config){
StringBuffer sql = new StringBuffer("select ");
sql.append(config.get(FindConfig.FIELD) == null || "".equals(config.get(FindConfig.FIELD)) ? "*" : config.get(FindConfig.FIELD)).append(" ");
sql.append("from ").append("`").append(table).append("`").append(toWhereSql(query, "0".equals(config.get(FindConfig.LIKE))));
if (config.get(FindConfig.GROUP_BY) != null && !"".equals(config.get(FindConfig.GROUP_BY))){
sql.append("group by ").append(config.get(FindConfig.GROUP_BY)).append(" ");
}
if (config.get(FindConfig.ORDER_BY) != null && !"".equals(config.get(FindConfig.ORDER_BY))){
sql.append("order by ").append(config.get(FindConfig.ORDER_BY)).append(" ");
}
if (config.get(FindConfig.PAGE) != null && !"".equals(config.get(FindConfig.PAGE))){
int page = config.get(FindConfig.PAGE) != null && !"".equals(config.get(FindConfig.PAGE)) ? Integer.parseInt(config.get(FindConfig.PAGE)) : 1;
int limit = config.get(FindConfig.SIZE) != null && !"".equals(config.get(FindConfig.SIZE)) ? Integer.parseInt(config.get(FindConfig.SIZE)) : 10;
sql.append(" limit ").append( (page-1)*limit ).append(" , ").append(limit);
}
log.info("[{}] - 查询操作,sql: {}",table,sql);
return runEntitySql(sql.toString());
}
根据需求,需要对数据上报进行添加、删除或修改详情信息。删除或修改数据上报时,系统根据数据上报的状态判定为可删除状态下,才会给出删除和修改链接,点击删除链接按钮时,请求到达后台,还会先查询数据上报状态再次做出判定能否删除。点击修改链接按钮时,会跳转到修改信息的页面,重新填写好数据后,数据提交到后台会对数据库中相应的记录做出修改。
添加数据上报时,会给出数据填写的页面,该页面根据填写好的数据上报编号同样会事先发送Ajax请求查询编号是否已存在,数据填写好之后提交到后台,会调用相关服务在数据库中插入记录。
数据上报管理流程图如下图所示。

图5-1数据上报管理流程图
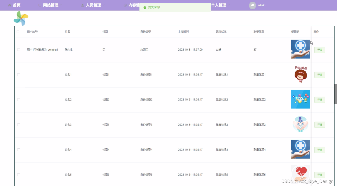
数据上报添加页面设计效果如下图所示。

图5-1数据上报添加界面
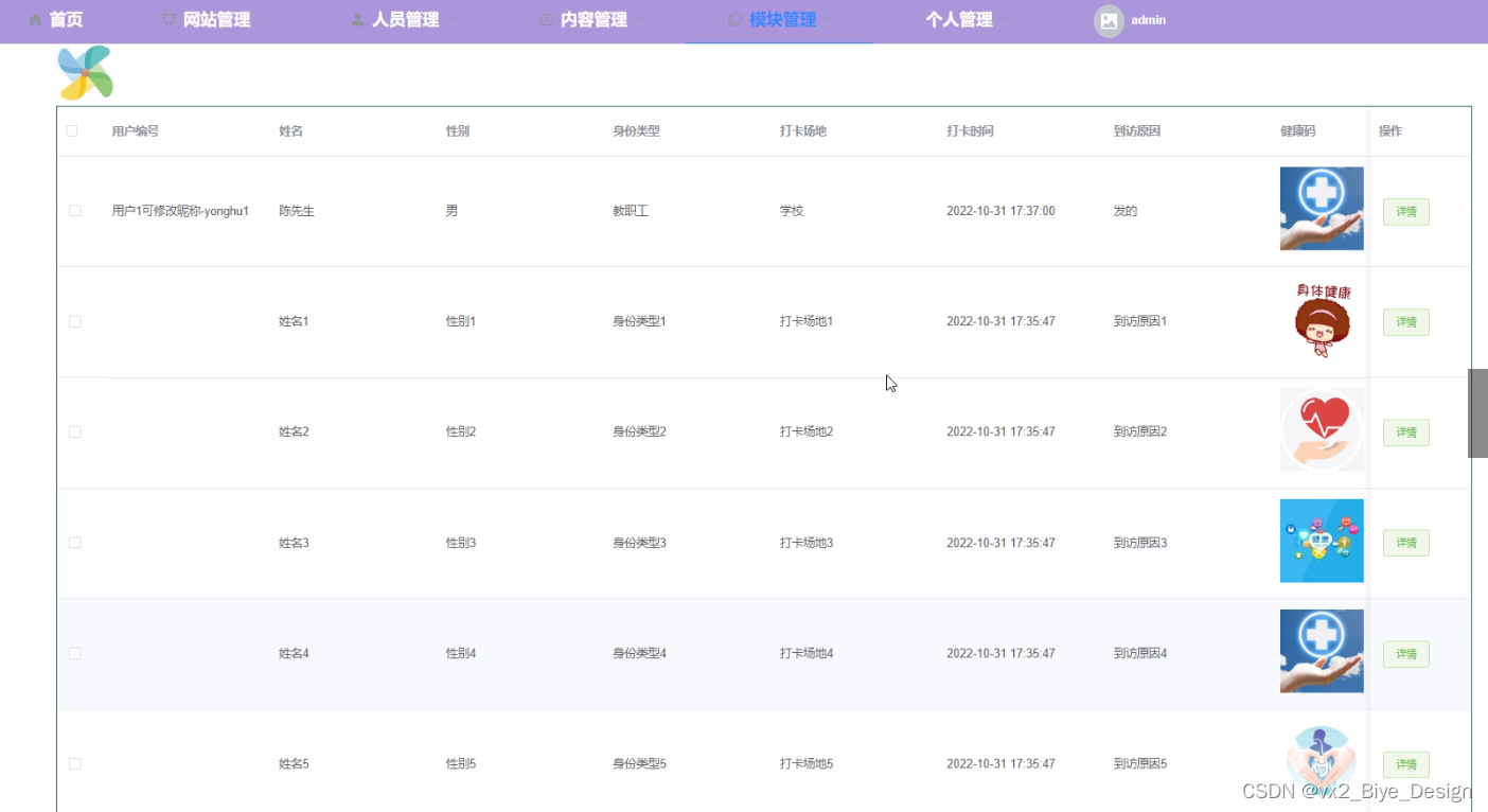
数据上报管理页面效果如下图所示。

图5-1数据上报管理界面
数据上报发布的关键代码如下。
public Map<String, Object> upload(@RequestParam("file") MultipartFile file) {
log.info("进入方法");
if (file.isEmpty()) {
return error(30000, "没有选择文件");
}
try {
//判断有没路径,没有则创建
String filePath = System.getProperty("user.dir") + "\\target\\classes\\static\\upload\\";
File targetDir = new File(filePath);
if (!targetDir.exists() && !targetDir.isDirectory()) {
if (targetDir.mkdirs()) {
log.info("创建目录成功");
} else {
log.error("创建目录失败");
}
}
String fileName = file.getOriginalFilename();
File dest = new File(filePath + fileName);
log.info("文件路径:{}", dest.getPath());
log.info("文件名:{}", dest.getName());
file.transferTo(dest);
JSONObject jsonObject = new JSONObject();
jsonObject.put("url", "/api/upload/" + fileName);
return success(jsonObject);
} catch (IOException e) {
log.info("上传失败:{}", e.getMessage());
}
return error(30000, "上传失败");
}
数据报表模块调用echarts.min.js初始化的样式和框架,首先要初始化类目参数和数量参数,数据报表界面如下图所示。

图5-1数据报表界面
数据报表实现的关键代码如下。
@RequestMapping(value = {"/count_group", "/count"})
public Map<String, Object> count(HttpServletRequest request) {
Query count = service.count(service.readQuery(request), service.readConfig(request));
return success(count.getResultList());
}
对任何系统而言,测试都是必不可少的环节,测试可以发现系统存在的很多问题,所有的软件上线之前,都应该进行充足的测试之后才能保证上线后不会Bug频发,或者是功能不满足需求等问题的发生。下面分别从单元测试,功能测试和用例测试来对系统进行测试以保证系统的稳定性和可靠性。
下表是系统登录功能测试用例,检测了用户名和密码的不同的输入情况,观察系统的响应情况。得出该功能达到了设计目标。
表6-1 系统登录功能测试用例
| 功能描述 | 用于系统登录 | |
| 测试目的 | 检测登录时的合法性检查 | |
| 测试数据以及操作 | 预期结果 | 实际结果 |
| 输入的用户名和密码带有非法字符 | 提示用户名或者密码错误 | 与预期结果一致 |
| 输入的用户名或者密码为空 | 提示用户名或者密码错误 | 与预期结果一致 |
| 输入的用户名和密码不存在 | 提示用户名或者密码错误 | 与预期结果一致 |
| 输入正确的用户名和密码 | 登录成功 | 与预期结果一致 |
下表是注册功能测试用例,检测了各种数据的输入情况,观察系统的响应情况。得出该功能达到了设计目标。
表6-2 注册功能测试用例
| 功能描述 | 用于用户注册 | |
| 测试目的 | 检测用户注册时的合法性检查 | |
| 测试数据以及操作 | 预期结果 | 实际结果 |
| 输入的手机号不合法 | 提示请输入正确的手机号码 | 与预期结果一致 |
| 输入的字段为空 | 提示必填项不能为空 | 与预期结果一致 |
| 输入的密码少于6位 | 提示密码必须为6-12位 | 与预期结果一致 |
| 输入的密码大于12位 | 提示密码必须为6-12位 | 与预期结果一致 |
下表是场所打卡功能的测试用例,检测了场所打卡中对场所打卡信息的增加,删除,修改,查询操作是否成功运行。观察系统的响应情况,得出该功能也达到了设计目标,系统运行正确。
前置条件;用户登录系统。
表6-3 场所打卡的测试用例
| 功能描述 | 用于场所打卡 | |
| 测试目的 | 检测场所打卡时的各种操作的运行情况 | |
| 测试数据以及操作 | 预期结果 | 实际结果 |
| 点击添加场所打卡,必填项合法输入,点击保存 | 提示添加成功 | 与预期结果一致 |
| 点击添加场所打卡,必填项输入不合法,点击保存 | 提示必填项不能为空 | 与预期结果一致 |
| 点击修改场所打卡,必填项修改为空,点击保存 | 提示必填项不能为空 | 与预期结果一致 |
| 点击修改场所打卡,必填项输入不合法,点击保存 | 提示必填项不能为空 | 与预期结果一致 |
| 点击删除场所打卡,选择场所打卡删除 | 提示删除成功 | 与预期结果一致 |
| 点击搜索场所打卡,输入存在的场所打卡名 | 查找出场所打卡 | 与预期结果一致 |
| 点击搜索场所打卡,输入不存在的场所打卡名 | 不显示场所打卡 | 与预期结果一致 |
下表是数据上报管理功能的测试用例,检测了数据上报管理中对数据上报信息的增加,删除,修改,查询操作是否成功运行。观察系统的响应情况,得出该功能也达到了设计目标,系统运行正确。
前置条件;用户登录系统。
表6-4 数据上报管理的测试用例
| 功能描述 | 用于数据上报管理 | |
| 测试目的 | 检测数据上报管理时的各种操作的运行情况 | |
| 测试数据以及操作 | 预期结果 | 实际结果 |
| 点击添加数据上报,必填项合法输入,点击保存 | 提示添加成功 | 与预期结果一致 |
| 点击添加数据上报,必填项输入不合法,点击保存 | 提示必填项不能为空 | 与预期结果一致 |
| 点击修改数据上报,必填项修改为空,点击保存 | 提示必填项不能为空 | 与预期结果一致 |
| 点击修改数据上报,必填项输入不合法,点击保存 | 提示必填项不能为空 | 与预期结果一致 |
| 点击删除数据上报,选择数据上报删除 | 提示删除成功 | 与预期结果一致 |
| 点击搜索数据上报,输入存在的数据上报名 | 查找出数据上报 | 与预期结果一致 |
| 点击搜索数据上报,输入不存在的数据上报名 | 不显示数据上报 | 与预期结果一致 |
使用阿里云PTS(Performance Testing Service)性能测试服务对线上系统进行压力测试。线上服务器环境为:1核心CPU,1G内存,1Mbps公网带宽,Centos7.0操作系统。
压测过程中使用了2台并发机器,每台机器20个用户并发,对系统主页,登录,数据查询和数据维护等模块进行并发访问,测试结果是有40个用户并发时,数据管理相关页面的响应时间甚至达到了7s,通过查看服务器出网流量发现已经达到1381kb/s,可以看出服务器的带宽已经达到峰值,如果系统使用5Mbps的带宽,系统的响应时间和TPS将会大大增加。在整个测试的过程中,CPU的使用率占用仅8%,也提现出带宽瓶颈对系统的影响非常严重。
随着计算机互联网技术的迅猛发展,各行各业都已经实现采用计算机相关技术对日益放大的数据进行管理。该课题是校园疫情防控系统为核心展开的,主要是为了实现校园疫情防控信息化管理的需求。
校园疫情防控系统的开发是以Java编程语言作为基础,在Myeclipse平台上完成编码工作,系统整体为B/S架构,数据库系统使用MySQL。文中详细分析了校园疫情防控系统的研究背景、研究目的和意义、开发工具和相关技术以及系统需求、系统详细设计和系统测试等等一系列内容。系统实现了校园疫情防控系统所需的一些基本功能,并通过测试对这些实现的功能进行了完善,进而提高了系统整体的实用性。整个系统的开发过程中大量使用了Java相关的知识以及前端开发使用的Html和Javascript等,同时涉及到了很多开源框架和组件,例如后台系统中运用的MVVM模式、Freemarker模板引擎等,前端运用的UI框架等。
系统投入运行时,各功能均运行正常。系统的每个界面的操作符合常规逻辑,对使用者来说操作简单,界面友好。整个系统的各个功能设计合理,体现了人性化。
但是由于自己在系统开发过程中对一些用到的相关知识和技术掌握不够牢固,再加上自身开发经验欠缺,因此系统在有些方面的功能还不够完善,考虑的不够全面,因此整个系统还有待日后逐步完善。
参考文献
[1]刘新宇,易蕾香,肖斌斌,赵军霞.期末在线测评系统的设计与实现[J].现代信息科技,2020,4(02):1-3.
[2]张丽.学生德育分数管理系统的创意[J].电脑编程技巧与维护,2020(01):92-94.
[3]陈旭创,潘远文,王肖文,程捷.基于MVVM模式的Web医疗设备租赁系统应用[J].医疗装备,2020,33(01):24-27.
[4]谢松清,张桂花.基于MVC的校园闲置物品置换系统设计[J].信息与电脑(理论版),2020,32(01):98-99.
[5]耿学.关于JavaWeb中中文乱码问题的探讨[J].现代信息科技,2020,4(01):74-75+78.
[6]周灵辉,范国婷,任乐琦,韦斯羽,王妮,侯大有.企业知识库管理系统的设计与实现[J].电脑知识与技术,2020,16(01):77-78+85.
[7]徐刚,翟梦娇.基于Springboot的美容资讯商务网站的设计与实现[J].商丘职业技术学院学报,2019,18(06):65-71.
[8]陈舒祥.基于java技术的德育分数管理系统设计与实现[J].电脑编程技巧与维护,2019(12):118-120.
[9]毋世晓.基于MVC的BBS论坛创建与实现[J].电脑编程技巧与维护,2019(12):21-23.
[10]陈学明.基于SpringBoot+ExtJS的企业应用系统通用平台的设计与实现[J].电脑知识与技术,2019,15(35):63-66+69.
[11]吴峰,范文宇,谢宏博,赵丽.基于JSP+Servlet的企业族谱分析[J].计算机时代,2019(12):30-32+37.
[12]孟悦,赵诗奎.融合路径重连的混合算法求解作业车间调度问题[J].机械工程师,2019(12):32-36+39.
[13]王晓芳,刘鹍,荆山,赵燕.基于工程教育专业认证的JSP应用程序设计课程改革[J].计算机教育,2019(12):46-50.
[14]赵国文,夏平平.基于springboot的人事管理系统的设计与实现[J].现代工业经济和信息化,2019,9(11):88-89.
[15]王萍.智能设备下的应用软件开发关键技术分析[J].科学技术创新,2019(34):74-75.
[16]MuhamadBahri.Analysisofthewater,energy,foodandlandnexususingthesystemarchetypes:AcasestudyintheJatiluhurreservoir,WestJava,Indonesia[J].ScienceoftheTotalEnvironment,2020,716.
[17]BahriMuhamad.Analysisofthewater,energy,foodandlandnexususingthesystemarchetypes:AcasestudyintheJatiluhurreservoir,WestJava,Indonesia.[J].TheScienceofthetotalenvironment,2020,716.
[18].TreeGeneticsandGenomics;StudiesfromUniversityofTsukubaYieldNewInformationaboutTreeGeneticsandGenomics(GeneticDiversityandtheOriginofCommercialPlantationofIndonesianTeakOnJavaIsland)[J].AgricultureWeek,2020.
[19]FajarYulianto,Suwarsono,UdhiCaturNugroho,NunungPujiNugroho,WismuSunarmodo,MuhammadRokhisKhomarudin.Spatial-TemporalDynamicsLandUse/LandCoverChangeandFloodHazardMappingintheUpstreamCitarumWatershed,WestJava,Indonesia[J].QuaestionesGeographicae,2020,39(1).
[20]RudiartoIwan,HidayaniRizqa,FisherMicah.Thebilocalmigrant:Economicdriversofmobilityacrosstherural-urbaninterfaceinCentralJava,Indonesia[J].JournalofRuralStudies,2020,74(C).
致谢
本次设计历时3个月。在这个毕业设计中,它离不开指导教师的指导,使事情基本顺利。指导老师无论是在毕业设计历经中,还是在论文做完中都给了了我特别大的助益。另1个方面,教师认真负责的工作姿态,谨慎的教学精神厚重的理论水准都使我获益匪浅。他勤恳谨慎的教学育人学习姿态也给我留下了特别特别深的感觉。我从老师那里学到了很多东西。在理论和实践中,我的技能得到了特别大的提高。在此,特向教师表示由衷的感激。
经过对该毕业设计的全部研究和开发,我的系统研发经历了从需求分析到实现详细功能,再到最终测试和维护的特殊进展。让我对系统研发有了更深层次的认识。如今我的动手本领单独处理疑惑的本领也获取到了特别大的演练学习增多,这是这次毕业设计最好的收获。
最后,在整个系统开发过程中,我周围的同学和朋友给了我很多意见,所以我很快就确认了系统的商业思想。在次,我由衷的向他们表示感激。
免费领取项目源码,请关注❥点赞收藏并私信博主,谢谢~
本文围绕校园疫情防控系统展开,分析了开发背景与意义,介绍了Spring Boot框架、MySQL数据库等相关技术。阐述了系统的功能模块、架构设计、数据库设计等,还进行了功能测试和性能测试,最终实现系统基本功能,但仍有待完善。
1838

被折叠的 条评论
为什么被折叠?



