摘 要
科技进步的飞速发展引起人们日常生活的巨大变化,电子信息技术的飞速发展使得电子信息技术的各个领域的应用水平得到普及和应用。信息时代的到来已成为不可阻挡的时尚潮流,人类发展的历史正进入一个新时代。在现实运用中,应用软件的工作规则和开发步骤,采用Java技术建设师生互伴答疑预约系统。
本设计主要实现集人性化、高效率、便捷等优点于一身的师生互伴答疑预约系统,完成首页、网站管理(轮播图、公告)人员管理(管理员、学生、教师)内容管理(校园资讯、资讯分类)模块管理(教师信息、学生预约、取消预约、在线留言、在线答疑)个人管理等功能模块。系统通过浏览器与服务器进行通信,实现数据的交互与变更。本系统通过科学的管理方式、便捷的服务提高了工作效率,减少了数据存储上的错误和遗漏。师生互伴答疑预约系统使用Java语言,采用基于 MVC模式的springboot技术进行开发,使用 Eclipse 2017 CI 10 编译器编写,数据方面主要采用的是微软的MySQL关系型数据库来作为数据存储媒介,配合前台HTML+CSS 技术完成系统的开发。
关键词:师生互伴答疑预约;Java语言;关系型数据库;数据存储
Spring boot interactive answering and reservation system
Abstract
The rapid development of science and technology has caused great changes in people's daily life. The rapid development of electronic information technology has made the application level of electronic information technology in all fields popular and applied. The arrival of the information age has become an irresistible fashion trend, and the history of human development is entering a new era. In the practical application, the working rules and development steps of the application software adopt Java technology to build an interactive answering and reservation system for teachers and students.
This design is mainly to realize a user-friendly, efficient, convenient and other advantages of the teacher and student interactive answering reservation system, and complete the home page, website management (broadcast map, announcement) personnel management (administrator, student, teacher) content management (campus information, information classification) module management (teacher information, student reservation, cancellation of reservation, online message, online answering) personal management and other functional modules. The system communicates with the server through the browser to realize data interaction and change. The system improves work efficiency and reduces errors and omissions in data storage through scientific management and convenient services. The teacher and student interactive question answering and reservation system uses Java language, uses the springboot technology based on MVC mode to develop, uses Eclipse 2017 CI 10 compiler to write, and uses Microsoft's MySQL relational database as the data storage medium for data, and cooperates with the foreground HTML+CSS technology to complete the system development.
Key words: teachers and students accompany each other to answer questions and make appointments; Java language; Relational database; data storage
目 录
随着Internet技术的广泛应用和Web技术的不断发展,对传统的答疑方式产生了深远的影响。基于网络的教学系统是当今计算机应用的一个热点。高校学生人数的增加,教师、课程和教师的不断变动,导致教师和学生交流越来越少,师生间的答疑工作难以开展。为此开发一个师生互伴答疑预约系统实用性较大。随着互联网技术的广泛应用,教学活动在网上进行已越发流行。师生互伴答疑预约系统便是借助网络来实行教学活动的工具,主要表现在教师与学生之间的问答互动。
在本系统中,学生可以根据自己的时间安排自己的提问计划,不受时间地点限制,且可以向已在网站注册的任何导师提问,课程预约。对老师也一样,不一定要安排某个时间某间教室进行答疑,当老师回答了问题后,学生登录系统进行查看。实现传统教育无法做到的"个性化教育"。通过在线答疑系统一方面学生的问题得到解决,提高了学习效率,另一方面,有利于加深师生感情。本毕业设计目的是设计实现一个多学科、通用、模块化的网上学习平台,以便提高学生学习兴趣,有利于当今高校教学模式和教学方法的改革。采用非面对面教学方式的在线答疑系统,学生提交作业、提问、答疑等可以不受时间和地点的限制,体现了网上教学的开放性、交互性和自主性等特点。因此,开发一个基于springboot的师生互伴答疑预约系统是很有必要的,具有其特有的技术意义和管理意义。
宋海民(2017)在《基于B/S模式课程网上答疑系统的设计》随着我国网络技术的快速发展,基于互联网的应用也越来越多。教育的方式、辅助手段和工具也发生着日新月异的变化。为了更好地帮助学生解决学习过程中遇到的问题,网上答疑系统可以突破时间和空间的限制,解决学生学习过程中的问题,将从系统结构、系统性能、功能模块、流程以及数据需求等方面系统阐述基于B/S模式课程网上答疑系统的设计。
杨培基(2017)在《基于微信和Java Web的高校答疑系统的设计与实现》为解决高校师生在教学答疑环节受到的空间、时间限制等诸多问题,提高高校教学质量,本文设计开发基于微信的高校在线答疑系统,以微信公众平台为基础,实现教师通过微信平台对课程、学生以及学生问题的管理,学生可通过微信平台提出问题并获得解答。本系统能有效降低师生在答疑环节所耗费的成本,提高了答疑质量。
姜利群(2017)在《网络答疑反馈系统在Java教学中的应用》中介绍自主开发了Java课程网络答疑反馈系统,将此系统应用于Java课程教学中,辅助教师进行答疑解惑,同时通过系统对学生的问题的分类和反馈,能够帮助教师了解学生学习信息和问题所在,提高课程教学质量。
王振铎; 王振辉; 林智慧; 张首军 (2017)在《翻转课堂课内外一体化教学模式的构建》中针对目前翻转课程教学环节不完善的问题,提出了简易、可行的翻转课堂教学一体化模型。通过课前、课堂、课余三位一体化教学环节的构建,保证了翻转课堂教学工作的完整性,有效提升了翻转课堂的教学效果和质量。
耿立伟(2017)在《答疑系统在网络远程教育中的应用》中介绍答疑系统在网络远程教育中的运用十分广泛,也越来越受到教育界的重视。答疑系统不仅可以减轻教师的负担、提高学生学习效率,还能节约教育成本,极大运用网络教育资源。笔者从网络教育的特点出发,阐述了答疑系统在网络远程教育中运用的必要性及使用情况,并介绍了答疑系统的基本功能。
第一章是绪论,本文章的开头部分,对本题目的研究背景和研究意义等一些做文字性的描述。
第二章研究了师生互伴答疑预约系统的所采用的开发技术和开发工具。
第三章是系统分析部分,包括系统总体需求描述、功能性角度分析系统需求、非功能性等各个方面分析系统是否可以实现。
第四章是系统设计部分,本文章的重要部分,提供了系统架构的详细设计和一些主要功能模块的设计说明。
第五章是系统的具体实现,介绍系统的各个模块的具体实现。
第六章在前几章的基础上对系统进行测试和运行。
最后对系统进行了认真的总结,以此对未来有一个新的展望。
本系统前端部分基于MVVM模式进行开发,采用B/S模式,后端部分基于Java的springboot框架进行开发。
前端部分:前端框架采用了比较流行的渐进式JavaScript框架Vue.js。使用Vue-Router和Vuex实现动态路由和全局状态管理,Ajax实现前后端通信,Element UI组件库使页面快速成型,项目前端通过栅格布局实现响应式,可适应PC端、平板端、手机端等不同屏幕大小尺寸的完美布局展示。
后端部分:采用springboot作为开发框架,同时集成MyBatis、Redis等相关技术。
MVVM是Model-View-ViewModel的简写。它本质上就是MVC 的改进版。MVVM 就是将其中的View 的状态和行为抽象化,让我们将视图 UI 和业务逻辑分开。当然这些事 ViewModel 已经帮我们做了,它可以取出 Model 的数据同时帮忙处理 View 中由于需要展示内容而涉及的业务逻辑。微软的WPF带来了新的技术体验,如Silverlight、音频、视频、3D、动画……,这导致了软件UI层更加细节化、可定制化。同时,在技术层面,WPF也带来了 诸如Binding、Dependency Property、Routed Events、Command、DataTemplate、ControlTemplate等新特性。MVVM(Model-View-ViewModel)框架的由来便是MVP(Model-View-Presenter)模式与WPF结合的应用方式时发展演变过来的一种新型架构框架。它立足于原有MVP框架并且把WPF的新特性糅合进去,以应对客户日益复杂的需求变化。
科技的进步,给日常带来许多便利:教室的投影器用到了虚拟成像技术,数码相机用到了光电检测技术,比如超市货物进出库的记录需要一个信息仓库。这个信息仓库就是数据库,而这次的师生互伴答疑预约系统也需要这项技术的支持[7]。
用MySQL这个软件,是因为它能接受多个使用者访问,而且里面存在Archive等。它会先把数据进行分类,然后分别保存在表里,这样的特别操作就会提高数据管理系统自身的速度,让数据库能被灵活运用。MySQL的代码是公开的,而且允许别人二次编译升级。这个特点能够降低使用者的成本,再搭配合适的软件后形成一个良好的网站系统。虽然它有缺点,但是综合各方面来说,它是使用者的主流运用的对象[8]。
B/S(Browser/Server)比前身架构更为省事的架构。它借助Web server完成数据的传递交流。只需要下载浏览器作为客户端,那么工作就达到“瘦身”效果, 不需要考虑不停装软件的问题[9]。
Spring框架是Java平台上的一种开源应用框架,提供具有控制反转特性的容器。尽管Spring框架自身对编程模型没有限制,但其在Java应用中的频繁使用让它备受青睐,以至于后来让它作为EJB(EnterpriseJavaBeans)模型的补充,甚至是替补。Spring框架为开发提供了一系列的解决方案,比如利用控制反转的核心特性,并通过依赖注入实现控制反转来实现管理对象生命周期容器化,利用面向切面编程进行声明式的事务管理,整合多种持久化技术管理数据访问,提供大量优秀的Web框架方便开发等等。Spring框架具有控制反转(IOC)特性,IOC旨在方便项目维护和测试,它提供了一种通过Java的反射机制对Java对象进行统一的配置和管理的方法。Spring框架利用容器管理对象的生命周期,容器可以通过扫描XML文件或类上特定Java注解来配置对象,开发者可以通过依赖查找或依赖注入来获得对象。Spring框架具有面向切面编程(AOP)框架,SpringAOP框架基于代理模式,同时运行时可配置;AOP框架主要针对模块之间的交叉关注点进行模块化。Spring框架的AOP框架仅提供基本的AOP特性,虽无法与AspectJ框架相比,但通过与AspectJ的集成,也可以满足基本需求。Spring框架下的事务管理、远程访问等功能均可以通过使用SpringAOP技术实现。Spring的事务管理框架为Java平台带来了一种抽象机制,使本地和全局事务以及嵌套事务能够与保存点一起工作,并且几乎可以在Java平台的任何环境中工作。Spring集成多种事务模板,系统可以通过事务模板、XML或Java注解进行事务配置,并且事务框架集成了消息传递和缓存等功能。Spring的数据访问框架解决了开发人员在应用程序中使用数据库时遇到的常见困难。它不仅对Java:JDBC、iBATS/MyBATIs、Hibernate、Java数据对象(JDO)、ApacheOJB和ApacheCayne等所有流行的数据访问框架中提供支持,同时还可以与Spring的事务管理一起使用,为数据访问提供了灵活的抽象。Spring框架最初是没有打算构建一个自己的WebMVC框架,其开发人员在开发过程中认为现有的StrutsWeb框架的呈现层和请求处理层之间以及请求处理层和模型之间的分离不够,于是创建了SpringMVC。
Vue.js是一套构建用户界面的渐进式框架。与其他重量级框架不同的是,Vue采用自底向上增量开发的设计。Vue 的核心库只关注视图层,并且非常容易学习,非常容易与其它库或已有项目整合。另一方面,Vue 完全有能力驱动采用单文件组件和Vue生态系统支持的库开发的复杂单页应用。
Vue.js 的目标是通过尽可能简单的 API 实现响应的数据绑定和组合的视图组件。
Vue.js 自身不是一个全能框架——它只聚焦于视图层。因此它非常容易学习,非常容易与其它库或已有项目整合。另一方面,在与相关工具和支持库一起使用时,Vue.js 也能驱动复杂的单页应用。
本次设计基于B/S 模式下,运用Java技术采用的是MySQL数据库和Eclipse实现,总体的可行性共分为以下三个方面。
所谓的技术可行性就是在限定时间,前期拟定的功能能否被满足。在开发设计上是否会遇上解决不了的问题。做完的项目能否被很好地应用,如果存在缺点在后期的维护上是否存在很大的难度。在对这个系统评估后,认定已存在的技术能达成目标。用Java技术来实现动态的页面,嵌入低依赖性的设计模式,灵活的数据库,配合稳定的服务器,整个系统的运行效率大大提升。由此可见,在技术层面达成目标不是非非之想。
在项目上使用的工具大部分都是是当下流行开源免费的,所以在开发前期,开发时用于项目的经费将会大大降低,不会让开发该软件在项目启动期受到经费的影响,所以经济上还是可行的。尽量用最少的花费去满足用户的需求。省下经费用于人工费,以及设备费用。将在无纸化,高效率的道路上越走越远。
本系统实现功能的操作很简单,普通电脑的常见配置就可以运行本软件,并且只要粗通电脑使用的基本常识就可以流畅的使用本软件。电脑具备连接互联网的能力,并且可以正常访问系统,并不需要操作者有什么高超的能力,只需了解业务流程,并且按照专业知识进行正确操作即可,所以师生互伴答疑预约系统具备操作可行性。
在系统开发设计前,应该对功能做初步设想,清楚这个管理系统有什么板块,每个板块有什么功能,整体的设计是否满足使用者的需求,接着对所开发的系统功能进行的详细分析总结,从而设计出完整的系统并将其实现。用户和开发人员的交流分析,使其达到最佳理解程度,使系统功能达到最佳。
学生用例图如下所示。

图3-1 学生用例图
管理员用例图如下所示。

图3-2 管理员用例图
教师用例图如下所示。

图3-3 教师用例图
师生互伴答疑预约系统在对需求做解析后,整个系统主要分为两个部分:管理员和学生,每个模块下的分支功能不一样。对功能做出如下说明:
学生模块:
账号注册。
账号登录认证。
管理个人资料信息,修改可修改的信息项。
在线提问,同时查看历史已提问的记录。
问题回复,同时查看历史已回复的记录。
课程预约,同时查看历史预约记录。
取消预约,同时查看历史取消记录。
教师模块:
管理个人资料信息,修改可修改的信息项。
课程预约,对学生的课程预约审核。
取消预约,对学生的取消预约审核
管理员模块:
对学生留下的评论数据进行维护,删除违规评论。
对学生留下的预约数据进行维护。
维护学生,审核学生的账号,可以冻结学生的登录权限,或者删除学生账号。
系统非功能需求有非常多,比如性能需求、可承载最大用户数、稳定性、易用性需求等。本系统分析时考虑到易用性需求,因为系统是给人使用的,所以必须充分从用户的角度出发,考虑用户体验,使系统易理解易上手易操作。
目前B/S体系的系统主要的数据访问方式是:通过浏览器页面用户可以进入系统,系统可以自动对用户向服务器发送的请求进行处理,处理请求是在系统后台中进行的,用户在浏览器页面上进行相应操作,就能够看到服务端传递的处理结果。师生互伴答疑预约系统主要分为视图-模型-控制三层架构设计。在视图层中,主要是操作在服务器端向客户端反馈并显示的数据,在模型层中,主要处理相关的业务逻辑、数据整合等,最后的控制层它介于视图和模型之间,主要是调整两层之间的关系,最终落实数据的传递。
系统架构图如下图所示。

图4-1系统架构图
系统设计的目的是分析系统包括的所有功能结构,为开发人员设计开发和实现系统做好准备工作。经过前期的需求调查、分析和整理之后,确定的总体需求主要包括多个模块,分别是:留言管理、学生管理、教师管理、精选学生预约。系统整体角色分为三个部分,一是教师、二是学生、最后是管理员。权限分布也是很明显,学生是在除去浏览信息之外还具有查询和管理自己账户信息、学生预约、取消预约、在线答疑等权限;管理员是最高权限拥有者。
系统功能结构图如下图所示。

图4-2系统功能结构图
在线答疑模块
学生和课程存在提问关系,关系为一对多,根据课程编号来将课程数据传入到提问数据中,操作人为学生,然后生成提问列表,学生查看个人历史提问列表,可以进行数据销毁。
课程维护模块
教师来录入课程数据,点击课程录入按钮,依次填写要录入的课程数据,点击提交按钮,将数据提交至数据库,然后刷新课程数据页面,每条数据右边有删除和编辑按钮,来完成相应的删除和更新功能。
问题回复模块
教师和问题存在回复关系,关系为一对多,根据问题编号来将问题数据传入到回复数据中,操作人为教师,然后生成回复列表,教师查看个人历史回复列表,可以进行数据销毁。
学生预约管理模块
学生登录系统后,可在学生预约模块预约课程,管理员在后台可以查看或搜索预约信息,同时可回复或删除预约信息。
评论信息管理模块
评论模块分为用户评论和管理员管理评论信息,用户登录系统后,选择想要评论的课程,添加评论,管理员查询该评论信息,并有权对其管理,包括删除。
对于一个要开发的系统来说,E-R图可以让别人能更快更轻松的了解此系统的事务及它们之间的关系。根据系统分析阶段所得出的结论确定了在师生互伴答疑预约系统中存在着多个实体分别是用学生、管理员、课程、问题、教师。
系统总体ER图如下图所示。

图4-4系统总体ER图
数据库逻辑结构就是将E-R图在数据库中用具体的字段进行描述。用字段和数据类型描述来使对象特征实体化,最后形成具有一定逻辑关系的数据库表结构。师生互伴答疑预约系统所需要的部分数据结构表如下表所示。
| 编号 | 名称 | 数据类型 | 长度 | 小数位 | 允许空值 | 主键 | 默认值 | 说明 |
| 1 | token_id | int | 10 | 0 | N | Y | 临时访问牌ID | |
| 2 | token | varchar | 64 | 0 | Y | N | 临时访问牌 | |
| 3 | info | text | 65535 | 0 | Y | N | ||
| 4 | maxage | int | 10 | 0 | N | N | 2 | 最大寿命:默认2小时 |
| 5 | create_time | timestamp | 19 | 0 | N | N | CURRENT_TIMESTAMP | 创建时间: |
| 6 | update_time | timestamp | 19 | 0 | N | N | CURRENT_TIMESTAMP | 更新时间: |
| 7 | user_id | int | 10 | 0 | N | N | 0 | 用户编号: |
| 编号 | 名称 | 数据类型 | 长度 | 小数位 | 允许空值 | 主键 | 默认值 | 说明 |
| 1 | article_id | mediumint | 8 | 0 | N | Y | 文章id:[0,8388607] | |
| 2 | title | varchar | 125 | 0 | N | Y | 标题:[0,125]用于文章和html的title标签中 | |
| 3 | type | varchar | 64 | 0 | N | N | 0 | 文章分类:[0,1000]用来搜索指定类型的文章 |
| 4 | hits | int | 10 | 0 | N | N | 0 | 点击数:[0,1000000000]访问这篇文章的人次 |
| 5 | praise_len | int | 10 | 0 | N | N | 0 | 点赞数 |
| 6 | create_time | timestamp | 19 | 0 | N | N | CURRENT_TIMESTAMP | 创建时间: |
| 7 | update_time | timestamp | 19 | 0 | N | N | CURRENT_TIMESTAMP | 更新时间: |
| 8 | source | varchar | 255 | 0 | Y | N | 来源:[0,255]文章的出处 | |
| 9 | url | varchar | 255 | 0 | Y | N | 来源地址:[0,255]用于跳转到发布该文章的网站 | |
| 10 | tag | varchar | 255 | 0 | Y | N | 标签:[0,255]用于标注文章所属相关内容,多个标签用空格隔开 | |
| 11 | content | longtext | 2147483647 | 0 | Y | N | 正文:文章的主体内容 | |
| 12 | img | varchar | 255 | 0 | Y | N | 封面图 | |
| 13 | description | text | 65535 | 0 | Y | N | 文章描述 |
| 编号 | 名称 | 数据类型 | 长度 | 小数位 | 允许空值 | 主键 | 默认值 | 说明 |
| 1 | type_id | smallint | 5 | 0 | N | Y | 分类ID:[0,10000] | |
| 2 | display | smallint | 5 | 0 | N | N | 100 | 显示顺序:[0,1000]决定分类显示的先后顺序 |
| 3 | name | varchar | 16 | 0 | N | N | 分类名称:[2,16] | |
| 4 | father_id | smallint | 5 | 0 | N | N | 0 | 上级分类ID:[0,32767] |
| 5 | description | varchar | 255 | 0 | Y | N | 描述:[0,255]描述该分类的作用 | |
| 6 | icon | text | 65535 | 0 | Y | N | 分类图标: | |
| 7 | url | varchar | 255 | 0 | Y | N | 外链地址:[0,255]如果该分类是跳转到其他网站的情况下,就在该URL上设置 | |
| 8 | create_time | timestamp | 19 | 0 | N | N | CURRENT_TIMESTAMP | 创建时间: |
| 9 | update_time | timestamp | 19 | 0 | N | N | CURRENT_TIMESTAMP | 更新时间: |
| 编号 | 名称 | 数据类型 | 长度 | 小数位 | 允许空值 | 主键 | 默认值 | 说明 |
| 1 | auth_id | int | 10 | 0 | N | Y | 授权ID: | |
| 2 | user_group | varchar | 64 | 0 | Y | N | 用户组: | |
| 3 | mod_name | varchar | 64 | 0 | Y | N | 模块名: | |
| 4 | table_name | varchar | 64 | 0 | Y | N | 表名: | |
| 5 | page_title | varchar | 255 | 0 | Y | N | 页面标题: | |
| 6 | path | varchar | 255 | 0 | Y | N | 路由路径: | |
| 7 | position | varchar | 32 | 0 | Y | N | 位置: | |
| 8 | mode | varchar | 32 | 0 | N | N | _blank | 跳转方式: |
| 9 | add | tinyint | 3 | 0 | N | N | 1 | 是否可增加: |
| 10 | del | tinyint | 3 | 0 | N | N | 1 | 是否可删除: |
| 11 | set | tinyint | 3 | 0 | N | N | 1 | 是否可修改: |
| 12 | get | tinyint | 3 | 0 | N | N | 1 | 是否可查看: |
| 13 | field_add | varchar | 500 | 0 | Y | N | 添加字段: | |
| 14 | field_set | varchar | 500 | 0 | Y | N | 修改字段: | |
| 15 | field_get | varchar | 500 | 0 | Y | N | 查询字段: | |
| 16 | table_nav_name | varchar | 500 | 0 | Y | N | 跨表导航名称: | |
| 17 | table_nav | varchar | 500 | 0 | Y | N | 跨表导航: | |
| 18 | option | text | 65535 | 0 | Y | N | 配置: | |
| 19 | create_time | timestamp | 19 | 0 | N | N | CURRENT_TIMESTAMP | 创建时间: |
| 20 | update_time | timestamp | 19 | 0 | N | N | CURRENT_TIMESTAMP | 更新时间: |
| 编号 | 名称 | 数据类型 | 长度 | 小数位 | 允许空值 | 主键 | 默认值 | 说明 |
| 1 | cancel_reservation_id | int | 10 | 0 | N | Y | 取消预约ID | |
| 2 | teacher_no | int | 10 | 0 | Y | N | 0 | 教师工号 |
| 3 | teacher_name | varchar | 64 | 0 | Y | N | 教师姓名 | |
| 4 | college | varchar | 64 | 0 | Y | N | 学院 | |
| 5 | teaching_course | varchar | 64 | 0 | Y | N | 教学课程 | |
| 6 | student_no | int | 10 | 0 | Y | N | 0 | 学生学号 |
| 7 | student_name | varchar | 64 | 0 | Y | N | 学生姓名 | |
| 8 | time_of_appointment | datetime | 19 | 0 | Y | N | 预约时间 | |
| 9 | reason_for_cancellation | text | 65535 | 0 | Y | N | 取消原因 | |
| 10 | recommend | int | 10 | 0 | N | N | 0 | 智能推荐 |
| 11 | create_time | datetime | 19 | 0 | N | N | CURRENT_TIMESTAMP | 创建时间 |
| 12 | update_time | timestamp | 19 | 0 | N | N | CURRENT_TIMESTAMP | 更新时间 |
| 编号 | 名称 | 数据类型 | 长度 | 小数位 | 允许空值 | 主键 | 默认值 | 说明 |
| 1 | collect_id | int | 10 | 0 | N | Y | 收藏ID: | |
| 2 | user_id | int | 10 | 0 | N | N | 0 | 收藏人ID: |
| 3 | source_table | varchar | 255 | 0 | Y | N | 来源表: | |
| 4 | source_field | varchar | 255 | 0 | Y | N | 来源字段: | |
| 5 | source_id | int | 10 | 0 | N | N | 0 | 来源ID: |
| 6 | title | varchar | 255 | 0 | Y | N | 标题: | |
| 7 | img | varchar | 255 | 0 | Y | N | 封面: | |
| 8 | create_time | timestamp | 19 | 0 | N | N | CURRENT_TIMESTAMP | 创建时间: |
| 9 | update_time | timestamp | 19 | 0 | N | N | CURRENT_TIMESTAMP | 更新时间: |
| 编号 | 名称 | 数据类型 | 长度 | 小数位 | 允许空值 | 主键 | 默认值 | 说明 |
| 1 | comment_id | int | 10 | 0 | N | Y | 评论ID: | |
| 2 | user_id | int | 10 | 0 | N | N | 0 | 评论人ID: |
| 3 | reply_to_id | int | 10 | 0 | N | N | 0 | 回复评论ID:空为0 |
| 4 | content | longtext | 2147483647 | 0 | Y | N | 内容: | |
| 5 | nickname | varchar | 255 | 0 | Y | N | 昵称: | |
| 6 | avatar | varchar | 255 | 0 | Y | N | 头像地址:[0,255] | |
| 7 | create_time | timestamp | 19 | 0 | N | N | CURRENT_TIMESTAMP | 创建时间: |
| 8 | update_time | timestamp | 19 | 0 | N | N | CURRENT_TIMESTAMP | 更新时间: |
| 9 | source_table | varchar | 255 | 0 | Y | N | 来源表: | |
| 10 | source_field | varchar | 255 | 0 | Y | N | 来源字段: | |
| 11 | source_id | int | 10 | 0 | N | N | 0 | 来源ID: |
| 编号 | 名称 | 数据类型 | 长度 | 小数位 | 允许空值 | 主键 | 默认值 | 说明 |
| 1 | hits_id | int | 10 | 0 | N | Y | 点赞ID: | |
| 2 | user_id | int | 10 | 0 | N | N | 0 | 点赞人: |
| 3 | create_time | timestamp | 19 | 0 | N | N | CURRENT_TIMESTAMP | 创建时间: |
| 4 | update_time | timestamp | 19 | 0 | N | N | CURRENT_TIMESTAMP | 更新时间: |
| 5 | source_table | varchar | 255 | 0 | Y | N | 来源表: | |
| 6 | source_field | varchar | 255 | 0 | Y | N | 来源字段: | |
| 7 | source_id | int | 10 | 0 | N | N | 0 | 来源ID: |
| 编号 | 名称 | 数据类型 | 长度 | 小数位 | 允许空值 | 主键 | 默认值 | 说明 |
| 1 | notice_id | mediumint | 8 | 0 | N | Y | 公告id: | |
| 2 | title | varchar | 125 | 0 | N | N | 标题: | |
| 3 | content | longtext | 2147483647 | 0 | Y | N | 正文: | |
| 4 | create_time | timestamp | 19 | 0 | N | N | CURRENT_TIMESTAMP | 创建时间: |
| 5 | update_time | timestamp | 19 | 0 | N | N | CURRENT_TIMESTAMP | 更新时间: |
| 编号 | 名称 | 数据类型 | 长度 | 小数位 | 允许空值 | 主键 | 默认值 | 说明 |
| 1 | online_qa_id | int | 10 | 0 | N | Y | 在线答疑ID | |
| 2 | question_name | varchar | 64 | 0 | Y | N | 问题名称 | |
| 3 | problem_type | varchar | 64 | 0 | Y | N | 问题类型 | |
| 4 | related_majors | varchar | 64 | 0 | Y | N | 相关专业 | |
| 5 | question_content | text | 65535 | 0 | Y | N | 问题内容 | |
| 6 | answer | text | 65535 | 0 | Y | N | 问题答案 | |
| 7 | related_resources | varchar | 255 | 0 | Y | N | 相关资源 | |
| 8 | hits | int | 10 | 0 | N | N | 0 | 点击数 |
| 9 | praise_len | int | 10 | 0 | N | N | 0 | 点赞数 |
| 10 | recommend | int | 10 | 0 | N | N | 0 | 智能推荐 |
| 11 | create_time | datetime | 19 | 0 | N | N | CURRENT_TIMESTAMP | 创建时间 |
| 12 | update_time | timestamp | 19 | 0 | N | N | CURRENT_TIMESTAMP | 更新时间 |
| 编号 | 名称 | 数据类型 | 长度 | 小数位 | 允许空值 | 主键 | 默认值 | 说明 |
| 1 | praise_id | int | 10 | 0 | N | Y | 点赞ID: | |
| 2 | user_id | int | 10 | 0 | N | N | 0 | 点赞人: |
| 3 | create_time | timestamp | 19 | 0 | N | N | CURRENT_TIMESTAMP | 创建时间: |
| 4 | update_time | timestamp | 19 | 0 | N | N | CURRENT_TIMESTAMP | 更新时间: |
| 5 | source_table | varchar | 255 | 0 | Y | N | 来源表: | |
| 6 | source_field | varchar | 255 | 0 | Y | N | 来源字段: | |
| 7 | source_id | int | 10 | 0 | N | N | 0 | 来源ID: |
| 8 | status | bit | 1 | 0 | N | N | 1 | 点赞状态:1为点赞,0已取消 |
| 编号 | 名称 | 数据类型 | 长度 | 小数位 | 允许空值 | 主键 | 默认值 | 说明 |
| 1 | slides_id | int | 10 | 0 | N | Y | 轮播图ID: | |
| 2 | title | varchar | 64 | 0 | Y | N | 标题: | |
| 3 | content | varchar | 255 | 0 | Y | N | 内容: | |
| 4 | url | varchar | 255 | 0 | Y | N | 链接: | |
| 5 | img | varchar | 255 | 0 | Y | N | 轮播图: | |
| 6 | hits | int | 10 | 0 | N | N | 0 | 点击量: |
| 7 | create_time | timestamp | 19 | 0 | N | N | CURRENT_TIMESTAMP | 创建时间: |
| 8 | update_time | timestamp | 19 | 0 | N | N | CURRENT_TIMESTAMP | 更新时间: |
| 编号 | 名称 | 数据类型 | 长度 | 小数位 | 允许空值 | 主键 | 默认值 | 说明 |
| 1 | student_id | int | 10 | 0 | N | Y | 学生ID | |
| 2 | student_no | varchar | 64 | 0 | N | N | 学生学号 | |
| 3 | student_name | varchar | 64 | 0 | Y | N | 学生姓名 | |
| 4 | college | varchar | 64 | 0 | Y | N | 学院 | |
| 5 | examine_state | varchar | 16 | 0 | N | N | 已通过 | 审核状态 |
| 6 | recommend | int | 10 | 0 | N | N | 0 | 智能推荐 |
| 7 | user_id | int | 10 | 0 | N | N | 0 | 用户ID |
| 8 | create_time | datetime | 19 | 0 | N | N | CURRENT_TIMESTAMP | 创建时间 |
| 9 | update_time | timestamp | 19 | 0 | N | N | CURRENT_TIMESTAMP | 更新时间 |
| 编号 | 名称 | 数据类型 | 长度 | 小数位 | 允许空值 | 主键 | 默认值 | 说明 |
| 1 | student_reservation_id | int | 10 | 0 | N | Y | 学生预约ID | |
| 2 | teacher_no | int | 10 | 0 | Y | N | 0 | 教师工号 |
| 3 | teacher_name | varchar | 64 | 0 | Y | N | 教师姓名 | |
| 4 | college | varchar | 64 | 0 | Y | N | 学院 | |
| 5 | teaching_course | varchar | 64 | 0 | Y | N | 教学课程 | |
| 6 | student_no | int | 10 | 0 | Y | N | 0 | 学生学号 |
| 7 | student_name | varchar | 64 | 0 | Y | N | 学生姓名 | |
| 8 | time_of_appointment | datetime | 19 | 0 | Y | N | 预约时间 | |
| 9 | examine_state | varchar | 16 | 0 | N | N | 未审核 | 审核状态 |
| 10 | examine_reply | varchar | 16 | 0 | Y | N | 审核回复 | |
| 11 | recommend | int | 10 | 0 | N | N | 0 | 智能推荐 |
| 12 | create_time | datetime | 19 | 0 | N | N | CURRENT_TIMESTAMP | 创建时间 |
| 13 | update_time | timestamp | 19 | 0 | N | N | CURRENT_TIMESTAMP | 更新时间 |
| 编号 | 名称 | 数据类型 | 长度 | 小数位 | 允许空值 | 主键 | 默认值 | 说明 |
| 1 | teacher_id | int | 10 | 0 | N | Y | 教师ID | |
| 2 | teacher_no | varchar | 64 | 0 | N | N | 教师工号 | |
| 3 | teacher_name | varchar | 64 | 0 | Y | N | 教师姓名 | |
| 4 | college | varchar | 64 | 0 | Y | N | 学院 | |
| 5 | examine_state | varchar | 16 | 0 | N | N | 未审核 | 审核状态 |
| 6 | recommend | int | 10 | 0 | N | N | 0 | 智能推荐 |
| 7 | user_id | int | 10 | 0 | N | N | 0 | 用户ID |
| 8 | create_time | datetime | 19 | 0 | N | N | CURRENT_TIMESTAMP | 创建时间 |
| 9 | update_time | timestamp | 19 | 0 | N | N | CURRENT_TIMESTAMP | 更新时间 |
| 编号 | 名称 | 数据类型 | 长度 | 小数位 | 允许空值 | 主键 | 默认值 | 说明 |
| 1 | teachers_message_id | int | 10 | 0 | N | Y | 教师留言ID | |
| 2 | teacher_no | int | 10 | 0 | Y | N | 0 | 教师工号 |
| 3 | teacher_name | varchar | 64 | 0 | Y | N | 教师姓名 | |
| 4 | title | varchar | 64 | 0 | Y | N | 标题 | |
| 5 | message_content | text | 65535 | 0 | Y | N | 留言内容 | |
| 6 | proposal | text | 65535 | 0 | Y | N | 建议 | |
| 7 | recommend | int | 10 | 0 | N | N | 0 | 智能推荐 |
| 8 | create_time | datetime | 19 | 0 | N | N | CURRENT_TIMESTAMP | 创建时间 |
| 9 | update_time | timestamp | 19 | 0 | N | N | CURRENT_TIMESTAMP | 更新时间 |
| 编号 | 名称 | 数据类型 | 长度 | 小数位 | 允许空值 | 主键 | 默认值 | 说明 |
| 1 | teacher_information_id | int | 10 | 0 | N | Y | 教师信息ID | |
| 2 | teacher_no | int | 10 | 0 | Y | N | 0 | 教师工号 |
| 3 | teacher_name | varchar | 64 | 0 | Y | N | 教师姓名 | |
| 4 | college | varchar | 64 | 0 | Y | N | 学院 | |
| 5 | photo | varchar | 255 | 0 | Y | N | 照片 | |
| 6 | title | varchar | 64 | 0 | Y | N | 职称 | |
| 7 | teaching_course | varchar | 64 | 0 | Y | N | 教学课程 | |
| 8 | education | varchar | 64 | 0 | Y | N | 学历 | |
| 9 | teaching_field | text | 65535 | 0 | Y | N | 教学领域 | |
| 10 | scope_of_answering_questions | text | 65535 | 0 | Y | N | 答疑范围 | |
| 11 | office_hours | text | 65535 | 0 | Y | N | 答疑时间 | |
| 12 | personal_profile | text | 65535 | 0 | Y | N | 个人简介 | |
| 13 | hits | int | 10 | 0 | N | N | 0 | 点击数 |
| 14 | praise_len | int | 10 | 0 | N | N | 0 | 点赞数 |
| 15 | recommend | int | 10 | 0 | N | N | 0 | 智能推荐 |
| 16 | create_time | datetime | 19 | 0 | N | N | CURRENT_TIMESTAMP | 创建时间 |
| 17 | update_time | timestamp | 19 | 0 | N | N | CURRENT_TIMESTAMP | 更新时间 |
| 编号 | 名称 | 数据类型 | 长度 | 小数位 | 允许空值 | 主键 | 默认值 | 说明 |
| 1 | upload_id | int | 10 | 0 | N | Y | 上传ID | |
| 2 | name | varchar | 64 | 0 | Y | N | 文件名 | |
| 3 | path | varchar | 255 | 0 | Y | N | 访问路径 | |
| 4 | file | varchar | 255 | 0 | Y | N | 文件路径 | |
| 5 | display | varchar | 255 | 0 | Y | N | 显示顺序 | |
| 6 | father_id | int | 10 | 0 | Y | N | 0 | 父级ID |
| 7 | dir | varchar | 255 | 0 | Y | N | 文件夹 | |
| 8 | type | varchar | 32 | 0 | Y | N | 文件类型 |
| 编号 | 名称 | 数据类型 | 长度 | 小数位 | 允许空值 | 主键 | 默认值 | 说明 |
| 1 | user_id | mediumint | 8 | 0 | N | Y | 用户ID:[0,8388607]用户获取其他与用户相关的数据 | |
| 2 | state | smallint | 5 | 0 | N | N | 1 | 账户状态:[0,10](1可用|2异常|3已冻结|4已注销) |
| 3 | user_group | varchar | 32 | 0 | Y | N | 所在用户组:[0,32767]决定用户身份和权限 | |
| 4 | login_time | timestamp | 19 | 0 | N | N | CURRENT_TIMESTAMP | 上次登录时间: |
| 5 | phone | varchar | 11 | 0 | Y | N | 手机号码:[0,11]用户的手机号码,用于找回密码时或登录时 | |
| 6 | phone_state | smallint | 5 | 0 | N | N | 0 | 手机认证:[0,1](0未认证|1审核中|2已认证) |
| 7 | username | varchar | 16 | 0 | N | N | 用户名:[0,16]用户登录时所用的账户名称 | |
| 8 | nickname | varchar | 16 | 0 | Y | N | 昵称:[0,16] | |
| 9 | password | varchar | 64 | 0 | N | N | 密码:[0,32]用户登录所需的密码,由6-16位数字或英文组成 | |
| 10 | | varchar | 64 | 0 | Y | N | 邮箱:[0,64]用户的邮箱,用于找回密码时或登录时 | |
| 11 | email_state | smallint | 5 | 0 | N | N | 0 | 邮箱认证:[0,1](0未认证|1审核中|2已认证) |
| 12 | avatar | varchar | 255 | 0 | Y | N | 头像地址:[0,255] | |
| 13 | create_time | timestamp | 19 | 0 | N | N | CURRENT_TIMESTAMP | 创建时间: |
| 编号 | 名称 | 数据类型 | 长度 | 小数位 | 允许空值 | 主键 | 默认值 | 说明 |
| 1 | group_id | mediumint | 8 | 0 | N | Y | 用户组ID:[0,8388607] | |
| 2 | display | smallint | 5 | 0 | N | N | 100 | 显示顺序:[0,1000] |
| 3 | name | varchar | 16 | 0 | N | N | 名称:[0,16] | |
| 4 | description | varchar | 255 | 0 | Y | N | 描述:[0,255]描述该用户组的特点或权限范围 | |
| 5 | source_table | varchar | 255 | 0 | Y | N | 来源表: | |
| 6 | source_field | varchar | 255 | 0 | Y | N | 来源字段: | |
| 7 | source_id | int | 10 | 0 | N | N | 0 | 来源ID: |
| 8 | register | smallint | 5 | 0 | Y | N | 0 | 注册位置: |
| 9 | create_time | timestamp | 19 | 0 | N | N | CURRENT_TIMESTAMP | 创建时间: |
| 10 | update_time | timestamp | 19 | 0 | N | N | CURRENT_TIMESTAMP | 更新时间: |
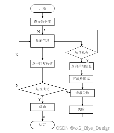
系统的登录窗口是用户的入口,用户只有在登录成功后才可以进入访问。通过在登录提交表单,后台处理判断是否为合法用户,进行页面跳转,进入系统中去。
登录合法性判断过程:用户输入账号和密码后,系统首先确定输入输入数据合法性,然后在login.jsp页面发送登录请求,调用src下的mainctrl类的dopost方法来验证。
用户登录模块的IPO如下所示:
输入:用户名和密码。
处理:
1)检测用户输入的账号、密码是否正确及在数据库已对应存在。
2)从数据库中提取记录,并储存在本地的session中(timeout默认=30min)。
3)根据用户名,将其显示在系统首页上。
输出:是否成功的信息。
登录流程图如下所示。

图5-1登录流程图
系统登录界面如下所示。

图5-2系统登录界面
用户登录的逻辑代码如下。
* 登录
* @param data
* @param httpServletRequest
* @return
*/
@PostMapping("login")
public Map<String, Object> login(@RequestBody Map<String, String> data, HttpServletRequest httpServletRequest) {
log.info("[执行登录接口]");
String username = data.get("username");
String email = data.get("email");
String phone = data.get("phone");
String password = data.get("password");
List resultList = null;
Map<String, String> map = new HashMap<>();
if(username != null && "".equals(username) == false){
map.put("username", username);
resultList = service.select(map, new HashMap<>()).getResultList();
}
else if(email != null && "".equals(email) == false){
map.put("email", email);
resultList = service.select(map, new HashMap<>()).getResultList();
}
else if(phone != null && "".equals(phone) == false){
map.put("phone", phone);
resultList = service.select(map, new HashMap<>()).getResultList();
}else{
return error(30000, "账号或密码不能为空");
}
if (resultList == null || password == null) {
return error(30000, "账号或密码不能为空");
}
//判断是否有这个用户
if (resultList.size()<=0){
return error(30000,"用户不存在");
}
User byUsername = (User) resultList.get(0);
Map<String, String> groupMap = new HashMap<>();
groupMap.put("name",byUsername.getUserGroup());
List groupList = userGroupService.select(groupMap, new HashMap<>()).getResultList();
if (groupList.size()<1){
return error(30000,"用户组不存在");
}
UserGroup userGroup = (UserGroup) groupList.get(0);
//查询用户审核状态
if (!StringUtils.isEmpty(userGroup.getSourceTable())){
String sql = "select examine_state from "+ userGroup.getSourceTable() +" WHERE user_id = " + byUsername.getUserId();
String res = String.valueOf(service.runCountSql(sql).getSingleResult());
if (res==null){
return error(30000,"用户不存在");
}
if (!res.equals("已通过")){
return error(30000,"该用户审核未通过");
}
}
//查询用户状态
if (byUsername.getState()!=1){
return error(30000,"用户非可用状态,不能登录");
}
String md5password = service.encryption(password);
if (byUsername.getPassword().equals(md5password)) {
// 存储Token到数据库
AccessToken accessToken = new AccessToken();
accessToken.setToken(UUID.randomUUID().toString().replaceAll("-", ""));
accessToken.setUser_id(byUsername.getUserId());
tokenService.save(accessToken);
// 返回用户信息
JSONObject user = JSONObject.parseObject(JSONObject.toJSONString(byUsername));
user.put("token", accessToken.getToken());
JSONObject ret = new JSONObject();
ret.put("obj",user);
return success(ret);
} else {
return error(30000, "账号或密码不正确");
}
}
系统呈现出一种简洁大方的首页:界面简约、鳞次栉比,用户能轻车熟路的使用。出于对系统使用群体广泛的顾虑,应有良好性能的后台。
如下图所示为系统的首页界面。

图5-3系统首页界面
其中载入前台页面的主要代码如下。
@EnableJpaRepositories
public class Application {
public static void main(String[] args) {
SpringApplication.run(Application.class,args);
}
}
此页面实现学生的注册,必须注册登录后才能使用系统大部分功能,用户名不允许重复如果重复将会注册失败,并弹出相应的提示,通过js实现对输入的验证。
用户注册流程图如下所示。

图5-4用户注册流程图
用户注册界面如下图所示。

图5-5用户注册界面
用户注册关键代码如下所示。
* 注册
* @param user
* @return
*/
@PostMapping("register")
public Map<String, Object> signUp(@RequestBody User user) {
// 查询用户
Map<String, String> query = new HashMap<>();
query.put("username",user.getUsername());
List list = service.select(query, new HashMap<>()).getResultList();
if (list.size()>0){
return error(30000, "用户已存在");
}
user.setUserId(null);
user.setPassword(service.encryption(user.getPassword()));
service.save(user);
return success(1);
}
/**
* 用户ID:[0,8388607]用户获取其他与用户相关的数据
*/
@Id
@GeneratedValue(strategy = GenerationType.IDENTITY)
@Column(name = "user_id")
private Integer userId;
/**
* 账户状态:[0,10](1可用|2异常|3已冻结|4已注销)
*/
@Basic
@Column(name = "state")
private Integer state;
/**
* 所在用户组:[0,32767]决定用户身份和权限
*/
@Basic
@Column(name = "user_group")
private String userGroup;
/**
* 上次登录时间:
*/
@Basic
@Column(name = "login_time")
private Timestamp loginTime;
/**
* 手机号码:[0,11]用户的手机号码,用于找回密码时或登录时
*/
@Basic
@Column(name = "phone")
private String phone;
/**
* 手机认证:[0,1](0未认证|1审核中|2已认证)
*/
@Basic
@Column(name = "phone_state")
private Integer phoneState;
/**
* 用户名:[0,16]用户登录时所用的账户名称
*/
@Basic
@Column(name = "username")
private String username;
/**
* 昵称:[0,16]
*/
@Basic
@Column(name = "nickname")
private String nickname;
/**
* 密码:[0,32]用户登录所需的密码,由6-16位数字或英文组成
*/
@Basic
@Column(name = "password")
private String password;
/**
* 邮箱:[0,64]用户的邮箱,用于找回密码时或登录时
*/
@Basic
@Column(name = "email")
private String email;
/**
* 邮箱认证:[0,1](0未认证|1审核中|2已认证)
*/
@Basic
@Column(name = "email_state")
private Integer emailState;
/**
* 头像地址:[0,255]
*/
@Basic
@Column(name = "avatar")
private String avatar;
/**
* 创建时间:
*/
@Basic
@Column(name = "create_time")
@JsonFormat(pattern = "yyyy-MM-dd HH:mm:ss")
private Timestamp createTime;
@Basic
@Transient
private String code;
}
用户在lyblist查看在线答疑信息,先使用sql语句查询出所有在线答疑表的数据,然后调用PageManager.getPages(url,4,sql, request ),返回一个ArrayList的对象,在for循环里,使用jsp得到每个ArrayList对象的数据,然后放入页面模板中,用户点击我要在线答疑则跳转至lyb.jsp。
用户在线答疑流程图如下所示。

图5-6用户在线答疑流程图
用户在线答疑界面如图所示。

图5-7用户在线答疑界面
在线答疑管理界面如图所示。

图5-8在线答疑管理界面
在线答疑添加关键代码如下所示。
@RequestMapping(value = "/del")
@Transactional
public Map<String, Object> del(HttpServletRequest request) {
service.delete(service.readQuery(request), service.readConfig(request));
return success(1);
}
@Transactional
public void delete(Map<String,String> query,Map<String,String> config){
StringBuffer sql = new StringBuffer("DELETE FROM ").append("`").append(table).append("`").append(" ");
sql.append(toWhereSql(query, "0".equals(config.get(FindConfig.GROUP_BY))));
log.info("[{}] - 删除操作:{}",table,sql);
Query query1 = runCountSql(sql.toString());
query1.executeUpdate();
}
首先使用sql语句查询出所有课程表的数据,用户在课程页查看课程信息和评论信息,点击评论,跳转至评论添加页面,添加评论则将发布的评论数据封装在HashMap,中然后调用CommDAO的insert方法将评论内容插入评论表中,评论管理页面则调用PageManager.getPages(url,4,sql, request ),返回一个ArrayList的对象,在for循环里,使用jsp得到每个ArrayList对象的数据,然后放入页面模板中。
用户评论流程图如下所示。

图5-9用户评论流程图
用户评论界面如图所示。

图5-10用户评论界面
评论添加关键代码如下所示。
@RequestMapping(value = {"/sum_group", "/sum"})
public Map<String, Object> sum(HttpServletRequest request) {
Query count = service.sum(service.readQuery(request), service.readConfig(request));
return success(count.getResultList());
}
在线答疑过程中,首先使用getmap(id,"xinxi"),通过课程ID得到课程数据,将课程数据赋值给在线答疑,调用CommDAO的insert方法将提问数据插入提问表中,最后查看个人历史在线答疑记录,可以销毁历史提问数据。
在线答疑流程图如下所示。

图5-11在线答疑流程图
在线答疑界面如图所示。

图5-12在线答疑界面
在线答疑关键代码如下所示。
public Map<String, Object> getList(HttpServletRequest request) {
Map<String, Object> map = service.selectToPage(service.readQuery(request), service.readConfig(request));
return success(map);
}
问题回复过程中,首先使用getmap(id,"xinxi"),通过问题ID得到问题数据,将问题数据赋值给问题回复,调用CommDAO的insert方法将回复数据插入回复表中,最后查看个人历史问题回复记录,可以销毁历史回复数据。
问题回复流程图如下所示。

图5-13问题回复流程图
问题回复界面如图所示。

图5-14问题回复界面
问题回复关键代码如下所示。
@RequestMapping(value = {"/sum_group", "/sum"})
public Map<String, Object> sum(HttpServletRequest request) {
Query count = service.sum(service.readQuery(request), service.readConfig(request));
return success(count.getResultList());
}
学生在yhzhgl查看学生信息,先使用sql语句查询出所有学生表的数据,然后调用PageManager.getPages(url,4,sql, request ),返回一个ArrayList的对象,在for循环里,使用jsp得到每个ArrayList对象的数据,在jsp页面中解析ArrayList对象,得到其各个键值对的值。
学生管理界面如下图所示。

图5-15学生管理界面
系统学生管理关键代码如下所示。
port: 5000
servlet:
context-path: /api
spring:
datasource:
url: jdbc:mysql://127.0.0.1:3306/CS725260_20211101091736?serverTimezone=GMT%2B8&useSSL=false&characterEncoding=utf-8
username: root
password: root
driver-class-name: com.mysql.cj.jdbc.Driver
jackson:
property-naming-strategy: CAMEL_CASE_TO_LOWER_CASE_WITH_UNDERSCORES
default-property-inclusion: ALWAYS
time-zone: GMT+8
date-format: yyyy-MM-dd HH:mm:ss
servlet:
multipart:
max-file-size: 100MB
max-request-size: 100MB
用户点击登录填写账号信息登录后,会切换内容为“某某用户欢迎您”和历史订单,并给出注销链接。当用户登录成功后会将个人信息保存在session作用域中,点击自己的用户名时,会跳转到个人详细信息页面,由后台通过Freemarker取出session作用域中的用户信息进行动态渲染,例如,邮箱、电话号码、用户名等等。同时页面上会显示修改个人信息和修改密码的按钮,这时客户可以修改自己的登录密码以保障账号的安全性,防止被人窃取账号,通过UserController.java的updatePassword()实现,同时也可以根据自己的个人信息是否变动做出相应的修改,通过updateUserInfo()实现。
密码修改流程图如下所示。

图5-16密码修改流程图
密码修改关键代码如下所示。
* 修改密码
* @param data
* @param request
* @return
*/
@PostMapping("change_password")
public Map<String, Object> change_password(@RequestBody Map<String, String> data, HttpServletRequest request){
// 根据Token获取UserId
String token = request.getHeader("x-auth-token");
Integer userId = tokenGetUserId(token);
// 根据UserId和旧密码获取用户
Map<String, String> query = new HashMap<>();
String o_password = data.get("o_password");
query.put("user_id" ,String.valueOf(userId));
query.put("password" ,service.encryption(o_password));
Query ret = service.count(query, service.readConfig(request));
List list = ret.getResultList();
Object s = list.get(0);
int count = Integer.parseInt(list.get(0).toString());
if(count > 0){
// 修改密码
Map<String,Object> form = new HashMap<>();
form.put("password",service.encryption(data.get("password")));
service.update(query,service.readConfig(request),form);
return success(1);
}
return error(10000,"密码修改失败!");
}
在对该系统进行完详细设计和编码之后,就要对师生互伴答疑预约系统的程序进行测试,检测程序是否运行无误,反复进行测试和修改,使之最后成为完整的软件,满足用户的需求,实现预期的功能。
在软件的测试过程中,通常测试人员需要针对不同的功能模块设计多种测试用例。通过测试用例能够及时发现代码业务逻辑上是否与真实的业务逻辑相对应,及时发现代码上或逻辑上的缺陷,以此来来完善系统,提高软件产品的质量,使软件具有良好的用户体验。
注册测试用例表如下所示。
表6-1注册测试用例
| 测试性能 | 新用户注册 | ||
| 用例目的 | 测试系统新用户个人信息注册功能的功能和安全性 | ||
| 前提条件 | 进入注册页面填写个人信息 | ||
| 输入条件 | 预期输出 | 实际情况 | |
| 各项基本信息输入不完整 | 不允许注册,无法点击注册按钮 | 一致 | |
| 填写已存在的用户名 | 系统显示出提示信息,要求重新填写 | 一致 | |
| 两次密码输入不一致 | 系统显示出提示信息,要求重新填写 | 一致 | |
| 填写的各项信息没有符合提示的长度和字符要求 | 系统显示出提示信息,要求重新填写 | 一致 | |
| 胡乱填写电话号码 | 收不到验证码 | 一致 | |
| 填写验证码与收到的不一致 | 系统显示提示信息告知用户验证码错误,不予注册 | 一致 | |
登录测试用例表如下所示。
表6-2登录测试用例
| 测试性能 | 用户或操作员登录系统 | ||
| 用例目的 | 测试用户或操作员登录系统时功能是否正常 | ||
| 前提条件 | 进入用户登录页面或操作员登录页面 | ||
| 输入条件 | 预期输出 | 实际情况 | |
| 各项信息不予填写,直接点击登陆按钮 | 不允许登录,提示填写账号相关信息 | 一致 | |
| 填写错误的登录名或密码后点击登录系统 | 提示用户名或密码错误,要求重新填写进行登录 | 一致 | |
| 填写与验证码信息不一致的信息 | 系统显示出提示信息,表明验证码错误,要求重新填写 | 一致 | |
在线答疑测试用例表如下所示。
表6-3在线答疑测试用例
| 测试性能 | 用户进行在线答疑的操作 | ||
| 用例目的 | 测试用户进行在线答疑操作时,该功能是否正常 | ||
| 前提条件 | 用户进入课程详情页,该课程能够被提问 | ||
| 输入条件 | 预期输出 | 实际情况 | |
| 对着某课程点击“提问”按钮 | 界面跳转至提问界面 | 一致 | |
| 在提问界面,输入必填项,点击“提交”按钮 | 提示“提问成功”,并返回上一级界面 | 一致 | |
| 在提问界面,填写提问表单的时候未输入完整,点击“提交”按钮 | 提示“提问失败” | 一致 | |
学生预约测试用例表如下所示。
表6-4学生预约测试用例
| 测试性能 | 预约相关信息管理功能 | ||
| 用例目的 | 测试系统操作者对预约相关信息进行管理的功能是否正常 | ||
| 前提条件 | 登录系统进入相关管理页面 | ||
| 输入条件 | 预期输出 | 实际情况 | |
| 进入学生预约界面,点击“录入”按钮,填写所有必填项,点击提交 | 提示“录入成功”,并返回查询界面 | 一致 | |
| 进入学生预约界面,点击“录入”按钮,未填写一个或者多个必填项,点击提交 | 提示“录入失败”,请填写必填项 | 一致 | |
| 进入学生预约界面,选择要修改的一条数据,点击该条数据后面的“修改”按钮 | 节目跳转至修改界面 | 一致 | |
| 在修改界面,修改可修改项后,点击“提交”按钮 | 提示“修改成功”,并返回查询界面 | 一致 | |
| 进入学生预约界面,点击某条数据后面的删除按钮 | 提示“是否要删除该数据”,如果用户点击“确定”按钮,则成功删除该条数据,并提示“删除成功”,之后返回查询界面 | 一致 | |
经过对此系统的测试,得出该系统足以满足用户日常需求,在功能项目和操作等方面也能满足操作员对于其他用户的管理。但是,还有很多功能有待添加,这个系统仅能满足大部分的需求,还需要对此系统的功能更进一步的完善,这样使用起来才能更加的完美。
通过师生互伴答疑预约系统的开发,本人巩固了之前学过的知识,如今将平时所学到的知识融合在设计中,在设计过程中,做了很多的准备,首先,在数据库系统的设计过程中,尤其是在数据库的工作原理、工作特点,对其深刻的讨论,与此同时,对于小型站点来说,最好服务器的选择,其次,利用所学的知识点分析所做的系统,并在此基础上设计。
目前本系统已经上线,正在试运行阶段,用户反馈良好,基本完成用户所需,试运行过程中没有出现阻断性问题,有一些不足和小问题也及时予以修正,系统上线后,为了保证数据的安全性,对系统进行了备份操作,系统备份是每两个月备份一次,数据库备份为每周备份一次,系统部署在租赁的云平台服务器中。
本次系统上线成功后,得到了用户的高度认可,但是在功能上和性能上还需做进一步的研究处理,使其有更高的性能和更好的用户体验。
系统在以后的升级过程中,需要解决一系列用户所提出的问题,例如打印过程中如何避免浏览器的兼容性问题,大量用户访问时,如何保持较高的响应速度,在系统今后的升级过程中将着重解决这些安全性问题。
参考文献
[1]徐佩.新时期计算机软件开发技术的应用及发展趋势[J].农家参谋,2019(08):167.
[2]张帅,崔婀娜,魏立波.互联网+健康在线服务平台的设计与实现[J].科技创新与应用,2019(10):91-92.
[3]谷利国,陈存田,张甲瑞.基于B/S模式的人事教育信息管理系统的分析与设计[J].电脑知识与技术,2019,15(10):58-59.
[4]胥新政,强毅.基于JSP的常用金属材料标准检索平台开发设计[J].制造业自动化,2019,41(03):41-43+69.
[5]王祖维,南淮耀,张英.“互联网+”视域下的高校学生公寓管理系统设计与实现——以沈阳师范大学为例[J].现代商贸工业,2019,40(08):187-188.
[6]廖明华,齐攀.学生职业能力测评管理系统的设计与实现[J].广东交通职业技术学院学报,2019,18(01):48-52.
[7]李冬冬,刘华明,毕学慧,王秀友.旧衣申领系统的设计与实现[J].电脑知识与技术,2019,15(08):47-50.
[8]李庆年.“互联网+”视域下的人才招聘管理系统设计与实现[J].国际公关,2019(03):164-165.
[9]刘婷,彭焕峰,邵淑婷.基于云平台的高校监考管理系统[J].电脑知识与技术,2019,15(07):91-92.
[10]赵丙秀.基于百度AI平台的Web人脸注册和登录系统的实现[J].电脑知识与技术,2019,15(07):114-115.
[11]戴昭颖,尹涛.钢铁行业成本预算系统开发应用实践[J].电子技术与软件工程,2019(04):29-30.
[12]曹灿,刘志刚.基于SSH和Layui的工程科学前沿与实践系统[J].工业控制计算机,2019,32(02):91-92+96.
[13]谢路.基于Web的考务管理系统设计与实现[J].福建电脑,2019,35(01):136-137.
[14]张继东.MySQL数据库基于JSP的访问技术[J/OL].电子技术与软件工程,2017,(15):169(2017-08-03).
[15]韩思凡.Web开发中的JSP与HTML的基础应用[J].科学技术创新,2020(14):71-72.
[16]NastitiAndini,DaehaKim,JongAhnChun.Operationalsoilmoisturemodelingusingamulti-stageapproachbasedonthegeneralizedcomplementaryprinciple[J].AgriculturalWaterManagement,2020,231.
[17]A.D.Titisari,D.Phillips,I.W.Warmada,Hartono,A.Idrus.40Ar/39ArgeochronologyofthePongkorlowsulfidationepithermalgoldmineralisation,WestJava,Indonesia[J].OreGeologyReviews,2020,119.
[18]FranciscoOrtin,OscarRodriguez-Prieto,NicolasPascual,MiguelGarcia.HeterogeneoustreestructureclassificationtolabelJavaprogrammersaccordingtotheirexpertiselevel[J].FutureGenerationComputerSystems,2020,105.
[19]SatyaKrismatama,IndahRiyantini,IwangGumilar,LantunParadhitaDewanti.SelectivityofFishingGearforScomberomorusguttatus(Bloch&Schneider,1801)CommoditiesinPangandaranFishingGround,WestJava[J].AsianJournalofFisheriesandAquaticResearch,2020.
[20]ZhongXiangfu,PlaAlbert,RaynerSimon.Jasmine:aJavapipelineforisomiRcharacterizationinmiRNA-Seqdata[J].Bioinformatics,2020,36(6).
致谢
伴随着设计的完成,大学生涯也随之即将结束。大学期间是我最珍惜的时光,大学时光中学会了很多,也成长了很多,这段时光中每一段回忆都刻在脑海中。感谢一起学习,一起成长同学们,和成长过程悉心教导的老师们,非常感激有你们的陪伴。
首先感谢我的指导老师,设计的完成离不开老师的一系列指导。在毕业设计的完成过程中,老师给出了很多中肯的建议,正是由于老师一丝不苟的工作态度,我的设计才能顺利的完成。
最后,感谢在大学生涯中每一位教导我的老师,是你们教给了我丰富的知识,更教会了我遇到问题时,如何去应对并解决。谢谢你们的帮助与支持。
免费领取项目源码,请关注❥点赞收藏并私信博主,谢谢~
基于Spring Boot的师生答疑预约系统开发

1240





