农村留守儿童援助系统采用B/S模式,兼容B2C,B2B的特点,促进了农村留守儿童援助的业务发展。与传统农村留守儿童援助相比,让人们可以更好的援助留守儿童,用户可以知道更多的援助信息。
本系统系统使用动态网页开发技术springboot,Java作为系统的开发语言,MySQL作为后台数据库。设计开发了具有首页、轮播图(轮播图管理)、公告信息管理(公告信息)、资源管理(新闻列表、新闻分类)、交流管理(论坛列表、论坛分类)、系统用户(管理员、注册用户、援助组织)、模块管理(志愿活动、报名活动、儿童情况、组织捐助)等功能的农村留守儿童援助系统。在设计过程中,充分保证了系统代码的良好可读性、实用性、易扩展性、通用性、便于后期维护、操作方便以及页面简洁等特点。
关键词:农村留守儿童援助系统;springboot框架;MySQL数据库;
The assistance system for rural left-behind children adopts the B/S model and is compatible with B2C and B2B features, promoting the business development of assistance for rural left-behind children. Compared to traditional rural assistance for left-behind children, it allows people to better assist left-behind children, and users can know more assistance information.
This website system uses dynamic webpage development technology spring boot, Java as the development language of the system, and MySQL as the back-end database. A rural left-behind children assistance system has been designed and developed with functions such as home page, rotation chart (rotation chart management), announcement information management (announcement information), resource management (news list, news classification), communication management (forum list, forum classification), system users (administrators, registered users, assistance organizations), and module management (volunteer activities, enrollment activities, children's situation, and organizational donations). During the design process, the system code has been fully guaranteed to have good readability, practicality, scalability, versatility, ease of later maintenance, easy operation, and concise pages.
Key words:Assistance system for rural left-behind children; Spring boot framework; MySQL database;
目 录
第1章 绪论
1.1 课题背景及研究意义
1.1.1 课题背景
经过互联网近几年的蓬勃发展,整个社会的交易方式已经慢慢地从本质上发生了变化。上世纪90年代以后,我们国家整体经济水平逐渐提高,人民的生活水平有了极大的进步。互联网行业,乃至与其有关联的传统行业,例如物流行业的蓬勃发展,《电子商务法律法规》等一系列关于网络交易法规的出台,阻碍网上交易的各个难关被一一攻破,电子商务的大军越来越壮大。
现如今农村留守儿童援助的流行,让人们的生活发生了极大的变化,用户可以不用再特地援助留守儿童,能随时随地完成。
1.1.2 研究意义
社会主义进入新时代,经济实力越来越强。我们也变得越来越忙碌、对生活的要求也变得更加严格,对快速和方便的服务的需求也在逐渐增加。因此,对社区留守儿童的管理越来越严格。为适应时代的发展,各大社区开始广泛地使用电脑来进行管理,并推出农村留守儿童援助系统,为提高工作人员效率提供了一种新的方式,并且减轻了他们的工作强度。
于此同时,实现农村留守儿童援助系统的计算机化也是顺应时代潮流的举措,现如今留守儿童正逐渐增加,浩繁的援助信息令社区迎来管理上的难题。
本系统即为方便管理者和用户而制作的农村留守儿童援助系统,结合了用户的需求,设计出的一个基于springboot、MySQL的农村留守儿童援助系统。
1.2国内外研究概况
随着国内经济形势的不断发展,中国互联网进入了一个难得的高峰发展时期,这使得中外资本家纷纷转向互联网市场。 然而,许多管理领域的不合理结构,人员不足以及市场管理需求的增加使得更多的人具备了互联网管理的意识。
在当今高度发达的信息中,信息管理改革已成为一种更加广泛和全面的趋势。 “农村留守儿童援助系统”是基于Mysql数据库实现的。为确保中国经济的持续发展,信息时代日益更新,服务业仍在蓬勃发展。同时,随着信息社会的快速发展,各种管理系统面临着越来越多的数据需要处理,如何用方便快捷的方式使管理者在广阔的数据海洋里面查询、存储、管理和共享有效的数据信息,对我们的学习,工作和生活具有重要的现实意义。因此,国内外学术界对此进行了深入而广泛的研究,一个新的研究领域——农村留守儿童援助系统诞生了。
1.3 研究的内容
目前许多人仍将传统的纸质工具作为信息管理的主要工具,而网络技术的应用只是起到辅助作用。在对网络工具的认知程度上,较为传统的office软件等仍是人们使用的主要工具,而相对全面且专业的信息管理软件仍没有得到大多数人的了解或认可。本选题则旨在通过标签分类管理等方式,实现农村留守儿童援助系统的各种功能,从而达到对农村留守儿童援助系统的管理。
详细内容介绍,将在以下六章中详细阐述:
第一章、绪论,介绍了研究课题选择的背景及意义、研究现状,简要介绍了本文的章节内容。
第二章、引入技术知识,通过引入关键技术进行开发,向系统中涉及直观表达的技术知识。
第三章、重点分析了系统的分析,从系统强大的供需市场出发,对系统开发的可行性,系统流程以及系统性能和功能进行了探讨。
第四章、介绍了系统的详细设计方案,包括系统结构设计和数据库设计。
第五章、系统设计的实现,通过对系统功能设计的详细说明,论证了系统的结构。
第六章、系统的整体测试,评判系统是否可以上线运行。
第二章主要技术和工具介绍
2.1 开发技术说明:
本系统前端部分基于MVVM模式进行开发,采用B/S模式,后端部分基于Java的springboot框架进行开发。
前端部分:前端框架采用了比较流行的渐进式JavaScript框架Vue.js。使用Vue-Router和Vuex实现动态路由和全局状态管理,Ajax实现前后端通信,Element UI组件库和Lay UI组件库使页面快速成型,项目前端通过栅格布局实现响应式,可适应PC端、平板端、手机端等不同屏幕大小尺寸的完美布局展示。
后端部分:采用springboot作为开发框架,同时集成MyBatis、Redis等相关技术。
2.2Spring Boot框架介绍
Spring框架是Java平台上的一种开源应用框架,提供具有控制反转特性的容器。尽管Spring框架自身对编程模型没有限制,但其在Java应用中的频繁使用让它备受青睐,以至于后来让它作为EJB(EnterpriseJavaBeans)模型的补充,甚至是替补。Spring框架为开发提供了一系列的解决方案,比如利用控制反转的核心特性,并通过依赖注入实现控制反转来实现管理对象生命周期容器化,利用面向切面编程进行声明式的事务管理,整合多种持久化技术管理数据访问,提供大量优秀的Web框架方便开发等等。Spring框架具有控制反转(IOC)特性,IOC旨在方便项目维护和测试,它提供了一种通过Java的反射机制对Java对象进行统一的配置和管理的方法。Spring框架利用容器管理对象的生命周期,容器可以通过扫描XML文件或类上特定Java注解来配置对象,开发者可以通过依赖查找或依赖注入来获得对象。Spring框架具有面向切面编程(AOP)框架,SpringAOP框架基于代理模式,同时运行时可配置;AOP框架主要针对模块之间的交叉关注点进行模块化。Spring框架的AOP框架仅提供基本的AOP特性,虽无法与AspectJ框架相比,但通过与AspectJ的集成,也可以满足基本需求。Spring框架下的事务管理、远程访问等功能均可以通过使用SpringAOP技术实现。Spring的事务管理框架为Java平台带来了一种抽象机制,使本地和全局事务以及嵌套事务能够与保存点一起工作,并且几乎可以在Java平台的任何环境中工作。
2.3 JAVA技术
JAVA语言是目前软件市场上应用最广泛的语言开发程序。可以在多种平台上运用的,兼容性比较强,适应市面上大多数操作系统,不会出现乱码的现像,其扩展性和维护性都更好,具有分析问题和解决问题的能力,是面向过程的程序设计方便我们编写的代码更强壮。
JAVA相对其它语言来说,比较简单,编译起来更方便一些,安全可靠性高。不完全统计,现在全世界大约有2000多万人在使用它,JAVA既可以镶嵌使用又可以独力的使用。JAVA大致可以分成两个部分,一种部分是JAVA负责的编译,另一种是JAVA负责的运行。JAVA和C++语言很相像,但JAVA在编程时是一种以对象为导向的方式来进行编译的,使得编出来的软件可以单机使用,也可以在互联网上使用,检查出错更为方便。JAVA分布式、体系结构中立的特点也使得其存储更快,编议更简单。面向对象包括四个特点,一是封装,就是说在定义类的时候可以实现一定的功能和属性。二是抽象,属于类的一种,可以把一个具有共同属性的类封装在一个抽象里,便于简单编议。三是继承,顾名思义就是带有前者的特性。还有一个就是多态的特点,可以多种一起运用,表现了它可扩展性好。
2.4 MYSQL数据库
系统的开发必须配套相应数据库,数据库具有一定的组织结构,能够存放和管理数据信息,在以前数据库的功能仅仅是数据保存和管理操作,但是时代的变迁和发展,现在的数据库演变成了数据处理的方式,数据库从最开始的简单存放数据表格信息到现在的能够存放成千上万数据的大型数据库,期间还是经历了许多的改革。
本次开发的第三方游戏账号交易平台使用的数据库是MYSQL数据库,该数据库运行速度快,安全性能也很高,而且对使用的平台没有任何的限制,所以被广泛应运到系统的开发中。MySQL是一个开源和多线程的关系管理数据库系统,MySQL是开放源代码的数据库,具有跨平台性,虽然功能未必强大,导致很多人都了解这个数据库的基本应用,在数据库中,总共建立了10几个表,这里面每个表都是相对应的,都各自有各自的联系,数据库意义重大,如果没有数据库的链接,就没办法运行程序,这显然可以看见数据库与程序的重要性,是紧密相连接的[9]。
2.5 B/S结构
B/S(浏览器/服务器)结构是目前主流的网络化的结构模式,它能够把系统核心功能集中在服务器上面,可以帮助系统开发人员简化操作,便于维护和使用。只需要用户在客户端安装360浏览器、谷歌浏览器、QQ浏览器等当前大众浏览器,在电脑里面安装sqlserver、mysql数据库等数据库[10]。安装好的浏览器与服务器端的数据库进行信息数据的交互。很多专门软件能够做到的事情,采用B/S结构模式也能实现,它能够结合Web浏览器技术,ActiveX技术以及多种脚本语言等技术。帮助程序开发者节约了不少开发成本。目前B/S结构成为程序开发主流结构,它最好的地方就是没有地点限制还不用专门安装软件,笔记本或者电脑能够上网就能访问系统。系统使用B/S进行开发在后期系统维护上面就会很省事,不用什么问题都在服务器上面操作,简单的客户端处理就解决部分问题,开发出来的程序跟用户交互性上面也会增强,还可以实时刷新浏览器进行程序局部的数据信息更新。

图2-1 B/S模式三层结构图
2.6Vue.js 介绍:
Vue (读音 /vjuː/,类似于 view) 是一套用于构建用户界面的渐进式JavaScript框架。与其它大型框架不同的是,Vue被设计为可以自底向上逐层应用。Vue 的核心库只关注视图层,不仅易于上手,还便于与第三方库或既有项目整合。另一方面,当与现代化的工具链以及各种支持类库结合使用时,Vue 也完全能够为复杂的单页应用(SPA)提供驱动。
主要功能:
Vue.js是一套构建用户界面的渐进式框架。与其他重量级框架不同的是,Vue采用自底向上增量开发的设计。Vue 的核心库只关注视图层,并且非常容易学习,非常容易与其它库或已有项目整合。另一方面,Vue 完全有能力驱动采用单文件组件和Vue生态系统支持的库开发的复杂单页应用。
Vue.js 的目标是通过尽可能简单的 API 实现响应的数据绑定和组合的视图组件。
Vue.js 自身不是一个全能框架——它只聚焦于视图层。因此它非常容易学习,非常容易与其它库或已有项目整合。另一方面,在与相关工具和支持库一起使用时,Vue.js 也能驱动复杂的单页应用。
Vue.js 语言特点:
易用:在有HTML,CSS,JavaScript的基础上,快速上手;Vue.js 的 API 是参考了AngularJS、KnockoutJS、Ractive.js、Rivets.js;Vue.js 的 API 的对于其他框架的参考不仅是参考,其中也包含了许多 Vue.js 的独特功能。
灵活:简单小巧的核心,渐进式技术栈,足以应付任何规模的应用。
性能:20kb min+gzip 运行大小、超快虚拟 DOM 、最省心的优化。
第3章 需求分析与可行性分析
3.1 功能需求分析
农村留守儿童援助系统主要是为了提高工作人员的工作效率和更方便快捷的满足用户,更好存储所有数据信息及快速方便的检索功能,对系统的各个模块是通过许多今天的发达系统做出合理的分析来确定考虑用户的可操作性,遵循开发的系统优化的原则,经过全面的调查和研究。
系统所要实现的功能分析,对于现在网络方便的管理,系统要实现用户可以直接在平台上进行查看所有数据信息,根据需求可以进行在线添加,删除或修改农村留守儿童援助系统信息,这样既能节省时间,不用再像传统的方式耽误时间,真的很难去满足用户的各种需求。所以农村留守儿童援助系统的开发不仅仅是能满足用户的需求,还能提高管理员的工作效率,减少原有不必要的工作量。
3.2 可行性分析
3.2.1技术可行性:技术背景
本企业系统在Windows操作系统中进行开发,并且目前PC机的性能已经可以胜任普通系统的web服务器。系统开发所使用的技术也都是自身所具有的,也是当下广泛应用的技术之一。
系统的开发环境和配置都是可以自行安装的,系统使用springboot开发工具,使用比较成熟的Mysql数据库进行对系统前台及后台的数据交互,根据技术语言对数据库,结合需求进行修改维护,可以使得系统运行更具有稳定性和安全性,从而完成实现系统的开发。
(1)硬件可行性分析
农村留守儿童援助系统及信息分析的设计对于所使用的计算机没有什么硬性的要求,计算机只要可以正常的使用进行代码的编写及页面设计就可行,主要是对于服务器有些要求,对于平台搭建完成要上传的服务器是有一定的要求的,服务器必须选择安全性比较高的,然后就是在打开系统必须顺畅,不能停顿太长时间;性价比高;安全性高。
(2)软件可行性分析
开发整个系统使用的是云计算,流量的可扩展性和基于流量的智能调整云计算的优点就是流量的可扩展性和基于流量的智能调整,保障系统的安全及数据信息的及时备份。
因此,我们从两个方面进行了可行性研究,可以看出系统的开发没有问题。
3.2.2经济可行性
在农村留守儿童援助系统系统开发之前所做的市场调研及其他的物流公司相关的管理系统,都是没有任何费用的,都是通过开发者自己的努力,所有的工作的都是自己亲力亲为,在碰到自己比较难以解决的问题,大多是通过同学和指导老师的帮助进行相关信息的解决,所以对于农村留守儿童援助系统的开发在经济上是完全可行的,没有任何费用支出的。
使用比较成熟的技术,系统是基于springboot的开发,采用Mysql数据库。所以系统在开发人力、财力要求不高,具有经济可行性。
3.2.3操作可行性:
可操作性主要是对农村留守儿童援助系统设计完成后,用户的使用体验度,以及管理员可以通过系统随时管理相关的数据信息,并且对于管理员、用户、援助组织人三个用户角色,都可以简单明了的进入到自己的系统界面,通过界面导航菜单可以简单明了地操作功能模块,方便用户信息的操作需求和管理员管理数据信息,对于系统的操作,不需要专业人员都可以直接进行功能模块的操作管理,所以在系统的可操作性是完全可以的。本系统的操作使用的也是界面窗口进行登录,所以操作人员只要会简单的电脑操作就完全可以的。
3.3 系统性能分析
(1)系统响应效率:页面响应时问应该在3秒以内,最长不能超过4秒,并支持至少10000人同时在线所有系统。
(2)界面简洁清晰:系统界面要求简单明了,容易操作,符合用户操作习惯。
(3)储存性高:因为农村留守儿童援助系统中有很多的信息需要存储,因此对于系统的存储量有很大的要求,需要有一个强大的数据库的支持才能确保所有的信息都能安全稳定的进行存储。
(4)易学性:该系统在操作上必须简单好上手,没有很多复杂的操作,只需要简单的进行学习就能操作该系统。
(5)稳定性需求:开发的农村留守儿童援助系统要求运行稳定,运行过程中无界面不清楚、字体模糊等现象。
(6)稳定性:开发的农村留守儿童援助系统要求运行稳定,运行过程中无界面不清楚、字体模糊等现象。
第4章 系统总体设计
4.1 系统的结构划分
本系统可以分为:用户使用的功能、援助组织使用的功能、管理员进行管理的功能。
用户使用功能:首页、模块管理(报名活动、儿童情况、组织捐助)、个人中心等。
援助组织使用功能;首页、模块管理(志愿活动、报名活动、组织捐助)、个人中心等。
管理员管理功能:首页、轮播图(轮播图管理)、公告信息管理(公告信息)、资源管理(新闻列表、新闻分类)、交流管理(论坛列表、论坛分类)、系统用户(管理员、注册用户、援助组织)、模块管理(志愿活动、报名活动、儿童情况、组织捐助)等。
4.1.1 系统结构图
农村留守儿童援助系统的结构图3-1所示:

图4-1 系统结构
登录系统结构图,如图4-2所示:

图4-2 登录结构图
这些功能可以充分满足农村留守儿童援助系统的需求。此系统功能较为全面如下图系统功能结构如图4-3所示。

图4-3系统功能结构图
4.2 系统的流程分析
4.2.1操作流程

图4-4登录流程图
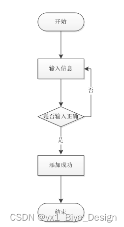
4.2.2添加信息流程
添加信息流程图,如图所示:

图4-5添加信息流程图
4.2.3删除信息流程
删除信息流程图,如图所示:

图4-6删除信息流程图
4.3. 数据库设计
4.3.1 数据库实体
管理员信息结构图,如图3-5所示:

图4-7管理员信息实体结构图
儿童情况管理实体属性图如图4-8所示。

图4-8儿童情况管理实体属性图
志愿活动管理实体属性图如图4-9所示。

图4-9志愿活动管理实体属性图
4.3.2数据表
将数据库概念设计的E-R图转换为关系数据库。在关系数据库中,数据关系由数据表组成,但是表的结构表现在表的字段上。
表access_token (登陆访问时长)
| 编号 | 名称 | 数据类型 | 长度 | 小数位 | 允许空值 | 主键 | 默认值 | 说明 |
| 1 | token_id | int | 10 | 0 | N | Y | 临时访问牌ID | |
| 2 | token | varchar | 64 | 0 | Y | N | 临时访问牌 | |
| 3 | info | text | 65535 | 0 | Y | N | ||
| 4 | maxage | int | 10 | 0 | N | N | 2 | 最大寿命:默认2小时 |
| 5 | create_time | timestamp | 19 | 0 | N | N | CURRENT_TIMESTAMP | 创建时间: |
| 6 | update_time | timestamp | 19 | 0 | N | N | CURRENT_TIMESTAMP | 更新时间: |
| 7 | user_id | int | 10 | 0 | N | N | 0 | 用户编号: |
| 编号 | 名称 | 数据类型 | 长度 | 小数位 | 允许空值 | 主键 | 默认值 | 说明 |
| 1 | aid_agency_id | int | 10 | 0 | N | Y | 援助组织ID | |
| 2 | organization_name | varchar | 64 | 0 | Y | N | 组织名称 | |
| 3 | examine_state | varchar | 16 | 0 | N | N | 未审核 | 审核状态 |
| 4 | recommend | int | 10 | 0 | N | N | 0 | 智能推荐 |
| 5 | user_id | int | 10 | 0 | N | N | 0 | 用户ID |
| 6 | create_time | datetime | 19 | 0 | N | N | CURRENT_TIMESTAMP | 创建时间 |
| 7 | update_time | timestamp | 19 | 0 | N | N | CURRENT_TIMESTAMP | 更新时间 |
| 编号 | 名称 | 数据类型 | 长度 | 小数位 | 允许空值 | 主键 | 默认值 | 说明 |
| 1 | article_id | mediumint | 8 | 0 | N | Y | 文章id:[0,8388607] | |
| 2 | title | varchar | 125 | 0 | N | Y | 标题:[0,125]用于文章和html的title标签中 | |
| 3 | type | varchar | 64 | 0 | N | N | 0 | 文章分类:[0,1000]用来搜索指定类型的文章 |
| 4 | hits | int | 10 | 0 | N | N | 0 | 点击数:[0,1000000000]访问这篇文章的人次 |
| 5 | praise_len | int | 10 | 0 | N | N | 0 | 点赞数 |
| 6 | create_time | timestamp | 19 | 0 | N | N | CURRENT_TIMESTAMP | 创建时间: |
| 7 | update_time | timestamp | 19 | 0 | N | N | CURRENT_TIMESTAMP | 更新时间: |
| 8 | source | varchar | 255 | 0 | Y | N | 来源:[0,255]文章的出处 | |
| 9 | url | varchar | 255 | 0 | Y | N | 来源地址:[0,255]用于跳转到发布该文章的网站 | |
| 10 | tag | varchar | 255 | 0 | Y | N | 标签:[0,255]用于标注文章所属相关内容,多个标签用空格隔开 | |
| 11 | content | longtext | 2147483647 | 0 | Y | N | 正文:文章的主体内容 | |
| 12 | img | varchar | 255 | 0 | Y | N | 封面图 | |
| 13 | description | text | 65535 | 0 | Y | N | 文章描述 |
| 编号 | 名称 | 数据类型 | 长度 | 小数位 | 允许空值 | 主键 | 默认值 | 说明 |
| 1 | type_id | smallint | 5 | 0 | N | Y | 分类ID:[0,10000] | |
| 2 | display | smallint | 5 | 0 | N | N | 100 | 显示顺序:[0,1000]决定分类显示的先后顺序 |
| 3 | name | varchar | 16 | 0 | N | N | 分类名称:[2,16] | |
| 4 | father_id | smallint | 5 | 0 | N | N | 0 | 上级分类ID:[0,32767] |
| 5 | description | varchar | 255 | 0 | Y | N | 描述:[0,255]描述该分类的作用 | |
| 6 | icon | text | 65535 | 0 | Y | N | 分类图标: | |
| 7 | url | varchar | 255 | 0 | Y | N | 外链地址:[0,255]如果该分类是跳转到其他网站的情况下,就在该URL上设置 | |
| 8 | create_time | timestamp | 19 | 0 | N | N | CURRENT_TIMESTAMP | 创建时间: |
| 9 | update_time | timestamp | 19 | 0 | N | N | CURRENT_TIMESTAMP | 更新时间: |
| 编号 | 名称 | 数据类型 | 长度 | 小数位 | 允许空值 | 主键 | 默认值 | 说明 |
| 1 | auth_id | int | 10 | 0 | N | Y | 授权ID: | |
| 2 | user_group | varchar | 64 | 0 | Y | N | 用户组: | |
| 3 | mod_name | varchar | 64 | 0 | Y | N | 模块名: | |
| 4 | table_name | varchar | 64 | 0 | Y | N | 表名: | |
| 5 | page_title | varchar | 255 | 0 | Y | N | 页面标题: | |
| 6 | path | varchar | 255 | 0 | Y | N | 路由路径: | |
| 7 | position | varchar | 32 | 0 | Y | N | 位置: | |
| 8 | mode | varchar | 32 | 0 | N | N | _blank | 跳转方式: |
| 9 | add | tinyint | 3 | 0 | N | N | 1 | 是否可增加: |
| 10 | del | tinyint | 3 | 0 | N | N | 1 | 是否可删除: |
| 11 | set | tinyint | 3 | 0 | N | N | 1 | 是否可修改: |
| 12 | get | tinyint | 3 | 0 | N | N | 1 | 是否可查看: |
| 13 | field_add | text | 65535 | 0 | Y | N | 添加字段: | |
| 14 | field_set | text | 65535 | 0 | Y | N | 修改字段: | |
| 15 | field_get | text | 65535 | 0 | Y | N | 查询字段: | |
| 16 | table_nav_name | varchar | 500 | 0 | Y | N | 跨表导航名称: | |
| 17 | table_nav | varchar | 500 | 0 | Y | N | 跨表导航: | |
| 18 | option | text | 65535 | 0 | Y | N | 配置: | |
| 19 | create_time | timestamp | 19 | 0 | N | N | CURRENT_TIMESTAMP | 创建时间: |
| 20 | update_time | timestamp | 19 | 0 | N | N | CURRENT_TIMESTAMP | 更新时间: |
| 编号 | 名称 | 数据类型 | 长度 | 小数位 | 允许空值 | 主键 | 默认值 | 说明 |
| 1 | collect_id | int | 10 | 0 | N | Y | 收藏ID: | |
| 2 | user_id | int | 10 | 0 | N | N | 0 | 收藏人ID: |
| 3 | source_table | varchar | 255 | 0 | Y | N | 来源表: | |
| 4 | source_field | varchar | 255 | 0 | Y | N | 来源字段: | |
| 5 | source_id | int | 10 | 0 | N | N | 0 | 来源ID: |
| 6 | title | varchar | 255 | 0 | Y | N | 标题: | |
| 7 | img | varchar | 255 | 0 | Y | N | 封面: | |
| 8 | create_time | timestamp | 19 | 0 | N | N | CURRENT_TIMESTAMP | 创建时间: |
| 9 | update_time | timestamp | 19 | 0 | N | N | CURRENT_TIMESTAMP | 更新时间: |
| 编号 | 名称 | 数据类型 | 长度 | 小数位 | 允许空值 | 主键 | 默认值 | 说明 |
| 1 | comment_id | int | 10 | 0 | N | Y | 评论ID: | |
| 2 | user_id | int | 10 | 0 | N | N | 0 | 评论人ID: |
| 3 | reply_to_id | int | 10 | 0 | N | N | 0 | 回复评论ID:空为0 |
| 4 | content | longtext | 2147483647 | 0 | Y | N | 内容: | |
| 5 | nickname | varchar | 255 | 0 | Y | N | 昵称: | |
| 6 | avatar | varchar | 255 | 0 | Y | N | 头像地址:[0,255] | |
| 7 | create_time | timestamp | 19 | 0 | N | N | CURRENT_TIMESTAMP | 创建时间: |
| 8 | update_time | timestamp | 19 | 0 | N | N | CURRENT_TIMESTAMP | 更新时间: |
| 9 | source_table | varchar | 255 | 0 | Y | N | 来源表: | |
| 10 | source_field | varchar | 255 | 0 | Y | N | 来源字段: | |
| 11 | source_id | int | 10 | 0 | N | N | 0 | 来源ID: |
| 编号 | 名称 | 数据类型 | 长度 | 小数位 | 允许空值 | 主键 | 默认值 | 说明 |
| 1 | forum_id | mediumint | 8 | 0 | N | Y | 论坛id | |
| 2 | display | smallint | 5 | 0 | N | N | 100 | 排序 |
| 3 | user_id | mediumint | 8 | 0 | N | N | 0 | 用户ID |
| 4 | nickname | varchar | 16 | 0 | Y | N | 昵称:[0,16] | |
| 5 | praise_len | int | 10 | 0 | Y | N | 0 | 点赞数 |
| 6 | hits | int | 10 | 0 | N | N | 0 | 访问数 |
| 7 | title | varchar | 125 | 0 | N | N | 标题 | |
| 8 | keywords | varchar | 125 | 0 | Y | N | 关键词 | |
| 9 | description | varchar | 255 | 0 | Y | N | 描述 | |
| 10 | url | varchar | 255 | 0 | Y | N | 来源地址 | |
| 11 | tag | varchar | 255 | 0 | Y | N | 标签 | |
| 12 | img | text | 65535 | 0 | Y | N | 封面图 | |
| 13 | content | longtext | 2147483647 | 0 | Y | N | 正文 | |
| 14 | create_time | timestamp | 19 | 0 | N | N | CURRENT_TIMESTAMP | 创建时间: |
| 15 | update_time | timestamp | 19 | 0 | N | N | CURRENT_TIMESTAMP | 更新时间: |
| 16 | avatar | varchar | 255 | 0 | Y | N | 发帖人头像: | |
| 17 | type | varchar | 64 | 0 | N | N | 0 | 论坛分类:[0,1000]用来搜索指定类型的论坛帖 |
| 编号 | 名称 | 数据类型 | 长度 | 小数位 | 允许空值 | 主键 | 默认值 | 说明 |
| 1 | type_id | smallint | 5 | 0 | N | Y | 分类ID:[0,10000] | |
| 2 | name | varchar | 16 | 0 | N | N | 分类名称:[2,16] | |
| 3 | description | varchar | 255 | 0 | Y | N | 描述:[0,255]描述该分类的作用 | |
| 4 | url | varchar | 255 | 0 | Y | N | 外链地址:[0,255]如果该分类是跳转到其他网站的情况下,就在该URL上设置 | |
| 5 | father_id | smallint | 5 | 0 | N | N | 0 | 上级分类ID:[0,32767] |
| 6 | icon | varchar | 255 | 0 | Y | N | 分类图标: | |
| 7 | create_time | timestamp | 19 | 0 | N | N | CURRENT_TIMESTAMP | 创建时间: |
| 8 | update_time | timestamp | 19 | 0 | N | N | CURRENT_TIMESTAMP | 更新时间: |
| 编号 | 名称 | 数据类型 | 长度 | 小数位 | 允许空值 | 主键 | 默认值 | 说明 |
| 1 | hits_id | int | 10 | 0 | N | Y | 点赞ID: | |
| 2 | user_id | int | 10 | 0 | N | N | 0 | 点赞人: |
| 3 | create_time | timestamp | 19 | 0 | N | N | CURRENT_TIMESTAMP | 创建时间: |
| 4 | update_time | timestamp | 19 | 0 | N | N | CURRENT_TIMESTAMP | 更新时间: |
| 5 | source_table | varchar | 255 | 0 | Y | N | 来源表: | |
| 6 | source_field | varchar | 255 | 0 | Y | N | 来源字段: | |
| 7 | source_id | int | 10 | 0 | N | N | 0 | 来源ID: |
| 编号 | 名称 | 数据类型 | 长度 | 小数位 | 允许空值 | 主键 | 默认值 | 说明 |
| 1 | notice_id | mediumint | 8 | 0 | N | Y | 公告id: | |
| 2 | title | varchar | 125 | 0 | N | N | 标题: | |
| 3 | content | longtext | 2147483647 | 0 | Y | N | 正文: | |
| 4 | create_time | timestamp | 19 | 0 | N | N | CURRENT_TIMESTAMP | 创建时间: |
| 5 | update_time | timestamp | 19 | 0 | N | N | CURRENT_TIMESTAMP | 更新时间: |
表organization_donation_information (组织捐助)
| 编号 | 名称 | 数据类型 | 长度 | 小数位 | 允许空值 | 主键 | 默认值 | 说明 |
| 1 | organization_donation_information_id | int | 10 | 0 | N | Y | 组织捐助ID | |
| 2 | organization_account | int | 10 | 0 | Y | N | 0 | 组织账号 |
| 3 | child_number | varchar | 64 | 0 | Y | N | 儿童编号 | |
| 4 | childs_name | varchar | 64 | 0 | Y | N | 儿童姓名 | |
| 5 | child_sex | varchar | 64 | 0 | Y | N | 儿童性别 | |
| 6 | child_age | varchar | 64 | 0 | Y | N | 儿童年龄 | |
| 7 | whether_to_donate | varchar | 64 | 0 | Y | N | 是否捐助 | |
| 8 | donor_agencies | varchar | 64 | 0 | Y | N | 捐助机构 | |
| 9 | contact_number | varchar | 16 | 0 | Y | N | 联系电话 | |
| 10 | way_of_donation | varchar | 64 | 0 | Y | N | 捐助方式 | |
| 11 | donation_amount | varchar | 64 | 0 | Y | N | 捐助金额 | |
| 12 | donation_materials | varchar | 64 | 0 | Y | N | 捐助物资 | |
| 13 | donor_process | varchar | 64 | 0 | Y | N | 捐助进程 | |
| 14 | other_remarks | varchar | 64 | 0 | Y | N | 其他备注 | |
| 15 | recommend | int | 10 | 0 | N | N | 0 | 智能推荐 |
| 16 | create_time | datetime | 19 | 0 | N | N | CURRENT_TIMESTAMP | 创建时间 |
| 17 | update_time | timestamp | 19 | 0 | N | N | CURRENT_TIMESTAMP | 更新时间 |
| 编号 | 名称 | 数据类型 | 长度 | 小数位 | 允许空值 | 主键 | 默认值 | 说明 |
| 1 | praise_id | int | 10 | 0 | N | Y | 点赞ID: | |
| 2 | user_id | int | 10 | 0 | N | N | 0 | 点赞人: |
| 3 | create_time | timestamp | 19 | 0 | N | N | CURRENT_TIMESTAMP | 创建时间: |
| 4 | update_time | timestamp | 19 | 0 | N | N | CURRENT_TIMESTAMP | 更新时间: |
| 5 | source_table | varchar | 255 | 0 | Y | N | 来源表: | |
| 6 | source_field | varchar | 255 | 0 | Y | N | 来源字段: | |
| 7 | source_id | int | 10 | 0 | N | N | 0 | 来源ID: |
| 8 | status | bit | 1 | 0 | N | N | 1 | 点赞状态:1为点赞,0已取消 |
| 编号 | 名称 | 数据类型 | 长度 | 小数位 | 允许空值 | 主键 | 默认值 | 说明 |
| 1 | registered_users_id | int | 10 | 0 | N | Y | 注册用户ID | |
| 2 | user_name | varchar | 64 | 0 | Y | N | 用户姓名 | |
| 3 | user_gender | varchar | 64 | 0 | Y | N | 用户性别 | |
| 4 | examine_state | varchar | 16 | 0 | N | N | 已通过 | 审核状态 |
| 5 | recommend | int | 10 | 0 | N | N | 0 | 智能推荐 |
| 6 | user_id | int | 10 | 0 | N | N | 0 | 用户ID |
| 7 | create_time | datetime | 19 | 0 | N | N | CURRENT_TIMESTAMP | 创建时间 |
| 8 | update_time | timestamp | 19 | 0 | N | N | CURRENT_TIMESTAMP | 更新时间 |
表registration_activities (报名活动)
| 编号 | 名称 | 数据类型 | 长度 | 小数位 | 允许空值 | 主键 | 默认值 | 说明 |
| 1 | registration_activities_id | int | 10 | 0 | N | Y | 报名活动ID | |
| 2 | organization_account | int | 10 | 0 | Y | N | 0 | 组织账号 |
| 3 | user_account | int | 10 | 0 | Y | N | 0 | 用户账号 |
| 4 | activity_number | varchar | 64 | 0 | Y | N | 活动编号 | |
| 5 | activity_name | varchar | 64 | 0 | Y | N | 活动名称 | |
| 6 | event_location | varchar | 64 | 0 | Y | N | 活动地点 | |
| 7 | personnel_name | varchar | 64 | 0 | Y | N | 人员名称 | |
| 8 | contact_number | varchar | 16 | 0 | Y | N | 联系电话 | |
| 9 | number_of_participants | varchar | 64 | 0 | Y | N | 参与人数 | |
| 10 | examine_state | varchar | 16 | 0 | N | N | 未审核 | 审核状态 |
| 11 | recommend | int | 10 | 0 | N | N | 0 | 智能推荐 |
| 12 | create_time | datetime | 19 | 0 | N | N | CURRENT_TIMESTAMP | 创建时间 |
| 13 | update_time | timestamp | 19 | 0 | N | N | CURRENT_TIMESTAMP | 更新时间 |
表request_for_assistance (援助申请)
| 编号 | 名称 | 数据类型 | 长度 | 小数位 | 允许空值 | 主键 | 默认值 | 说明 |
| 1 | request_for_assistance_id | int | 10 | 0 | N | Y | 援助申请ID | |
| 2 | organization_account | int | 10 | 0 | Y | N | 0 | 组织账号 |
| 3 | account_name | int | 10 | 0 | Y | N | 0 | 用户账号 |
| 4 | child_number | varchar | 64 | 0 | Y | N | 儿童编号 | |
| 5 | childs_name | varchar | 64 | 0 | Y | N | 儿童姓名 | |
| 6 | child_sex | varchar | 64 | 0 | Y | N | 儿童性别 | |
| 7 | child_age | varchar | 64 | 0 | Y | N | 儿童年龄 | |
| 8 | school_name | varchar | 64 | 0 | Y | N | 学校名称 | |
| 9 | class_name | varchar | 64 | 0 | Y | N | 班级名称 | |
| 10 | family_situation | text | 65535 | 0 | Y | N | 家庭情况 | |
| 11 | application_date | date | 10 | 0 | Y | N | 申请日期 | |
| 12 | reason_for_application | text | 65535 | 0 | Y | N | 申请原因 | |
| 13 | examine_state | varchar | 16 | 0 | N | N | 未审核 | 审核状态 |
| 14 | examine_reply | varchar | 16 | 0 | Y | N | 审核回复 | |
| 15 | recommend | int | 10 | 0 | N | N | 0 | 智能推荐 |
| 16 | create_time | datetime | 19 | 0 | N | N | CURRENT_TIMESTAMP | 创建时间 |
| 17 | update_time | timestamp | 19 | 0 | N | N | CURRENT_TIMESTAMP | 更新时间 |
| 编号 | 名称 | 数据类型 | 长度 | 小数位 | 允许空值 | 主键 | 默认值 | 说明 |
| 1 | situation_of_children_id | int | 10 | 0 | N | Y | 儿童情况ID | |
| 2 | account_name | int | 10 | 0 | Y | N | 0 | 用户账号 |
| 3 | child_number | varchar | 64 | 0 | Y | N | 儿童编号 | |
| 4 | childs_name | varchar | 64 | 0 | Y | N | 儿童姓名 | |
| 5 | childrens_photos | varchar | 255 | 0 | Y | N | 儿童照片 | |
| 6 | child_sex | varchar | 64 | 0 | Y | N | 儿童性别 | |
| 7 | child_age | varchar | 64 | 0 | Y | N | 儿童年龄 | |
| 8 | school_name | varchar | 64 | 0 | Y | N | 学校名称 | |
| 9 | class_name | varchar | 64 | 0 | Y | N | 班级名称 | |
| 10 | academic_status | varchar | 64 | 0 | Y | N | 学业状况 | |
| 11 | number_of_households | varchar | 64 | 0 | Y | N | 家庭人数 | |
| 12 | home_address | varchar | 64 | 0 | Y | N | 家庭住址 | |
| 13 | family_situation | text | 65535 | 0 | Y | N | 家庭情况 | |
| 14 | examine_state | varchar | 16 | 0 | N | N | 未审核 | 审核状态 |
| 15 | examine_reply | varchar | 16 | 0 | Y | N | 审核回复 | |
| 16 | recommend | int | 10 | 0 | N | N | 0 | 智能推荐 |
| 17 | create_time | datetime | 19 | 0 | N | N | CURRENT_TIMESTAMP | 创建时间 |
| 18 | update_time | timestamp | 19 | 0 | N | N | CURRENT_TIMESTAMP | 更新时间 |
| 编号 | 名称 | 数据类型 | 长度 | 小数位 | 允许空值 | 主键 | 默认值 | 说明 |
| 1 | slides_id | int | 10 | 0 | N | Y | 轮播图ID: | |
| 2 | title | varchar | 64 | 0 | Y | N | 标题: | |
| 3 | content | varchar | 255 | 0 | Y | N | 内容: | |
| 4 | url | varchar | 255 | 0 | Y | N | 链接: | |
| 5 | img | varchar | 255 | 0 | Y | N | 轮播图: | |
| 6 | hits | int | 10 | 0 | N | N | 0 | 点击量: |
| 7 | create_time | timestamp | 19 | 0 | N | N | CURRENT_TIMESTAMP | 创建时间: |
| 8 | update_time | timestamp | 19 | 0 | N | N | CURRENT_TIMESTAMP | 更新时间: |
| 编号 | 名称 | 数据类型 | 长度 | 小数位 | 允许空值 | 主键 | 默认值 | 说明 |
| 1 | upload_id | int | 10 | 0 | N | Y | 上传ID | |
| 2 | name | varchar | 64 | 0 | Y | N | 文件名 | |
| 3 | path | varchar | 255 | 0 | Y | N | 访问路径 | |
| 4 | file | varchar | 255 | 0 | Y | N | 文件路径 | |
| 5 | display | varchar | 255 | 0 | Y | N | 显示顺序 | |
| 6 | father_id | int | 10 | 0 | Y | N | 0 | 父级ID |
| 7 | dir | varchar | 255 | 0 | Y | N | 文件夹 | |
| 8 | type | varchar | 32 | 0 | Y | N | 文件类型 |
| 编号 | 名称 | 数据类型 | 长度 | 小数位 | 允许空值 | 主键 | 默认值 | 说明 |
| 1 | user_id | mediumint | 8 | 0 | N | Y | 用户ID:[0,8388607]用户获取其他与用户相关的数据 | |
| 2 | state | smallint | 5 | 0 | N | N | 1 | 账户状态:[0,10](1可用|2异常|3已冻结|4已注销) |
| 3 | user_group | varchar | 32 | 0 | Y | N | 所在用户组:[0,32767]决定用户身份和权限 | |
| 4 | login_time | timestamp | 19 | 0 | N | N | CURRENT_TIMESTAMP | 上次登录时间: |
| 5 | phone | varchar | 11 | 0 | Y | N | 手机号码:[0,11]用户的手机号码,用于找回密码时或登录时 | |
| 6 | phone_state | smallint | 5 | 0 | N | N | 0 | 手机认证:[0,1](0未认证|1审核中|2已认证) |
| 7 | username | varchar | 16 | 0 | N | N | 用户名:[0,16]用户登录时所用的账户名称 | |
| 8 | nickname | varchar | 16 | 0 | Y | N | 昵称:[0,16] | |
| 9 | password | varchar | 64 | 0 | N | N | 密码:[0,32]用户登录所需的密码,由6-16位数字或英文组成 | |
| 10 | | varchar | 64 | 0 | Y | N | 邮箱:[0,64]用户的邮箱,用于找回密码时或登录时 | |
| 11 | email_state | smallint | 5 | 0 | N | N | 0 | 邮箱认证:[0,1](0未认证|1审核中|2已认证) |
| 12 | avatar | varchar | 255 | 0 | Y | N | 头像地址:[0,255] | |
| 13 | create_time | timestamp | 19 | 0 | N | N | CURRENT_TIMESTAMP | 创建时间: |
| 编号 | 名称 | 数据类型 | 长度 | 小数位 | 允许空值 | 主键 | 默认值 | 说明 |
| 1 | user_donations_id | int | 10 | 0 | N | Y | 用户捐助ID | |
| 2 | user_account | int | 10 | 0 | Y | N | 0 | 用户账号 |
| 3 | user_name | varchar | 64 | 0 | Y | N | 用户姓名 | |
| 4 | child_number | varchar | 64 | 0 | Y | N | 儿童编号 | |
| 5 | childs_name | varchar | 64 | 0 | Y | N | 儿童姓名 | |
| 6 | child_sex | varchar | 64 | 0 | Y | N | 儿童性别 | |
| 7 | child_age | varchar | 64 | 0 | Y | N | 儿童年龄 | |
| 8 | school_name | varchar | 64 | 0 | Y | N | 学校名称 | |
| 9 | class_name | varchar | 64 | 0 | Y | N | 班级名称 | |
| 10 | family_situation | text | 65535 | 0 | Y | N | 家庭情况 | |
| 11 | date_of_donation | date | 10 | 0 | Y | N | 捐助日期 | |
| 12 | donation_amount | varchar | 64 | 0 | Y | N | 捐助金额 | |
| 13 | donation_notes | text | 65535 | 0 | Y | N | 捐助备注 | |
| 14 | pay_state | varchar | 16 | 0 | N | N | 未支付 | 支付状态 |
| 15 | pay_type | varchar | 16 | 0 | Y | N | 支付类型: 微信、支付宝、网银 | |
| 16 | recommend | int | 10 | 0 | N | N | 0 | 智能推荐 |
| 17 | create_time | datetime | 19 | 0 | N | N | CURRENT_TIMESTAMP | 创建时间 |
| 18 | update_time | timestamp | 19 | 0 | N | N | CURRENT_TIMESTAMP | 更新时间 |
| 编号 | 名称 | 数据类型 | 长度 | 小数位 | 允许空值 | 主键 | 默认值 | 说明 |
| 1 | group_id | mediumint | 8 | 0 | N | Y | 用户组ID:[0,8388607] | |
| 2 | display | smallint | 5 | 0 | N | N | 100 | 显示顺序:[0,1000] |
| 3 | name | varchar | 16 | 0 | N | N | 名称:[0,16] | |
| 4 | description | varchar | 255 | 0 | Y | N | 描述:[0,255]描述该用户组的特点或权限范围 | |
| 5 | source_table | varchar | 255 | 0 | Y | N | 来源表: | |
| 6 | source_field | varchar | 255 | 0 | Y | N | 来源字段: | |
| 7 | source_id | int | 10 | 0 | N | N | 0 | 来源ID: |
| 8 | register | smallint | 5 | 0 | Y | N | 0 | 注册位置: |
| 9 | create_time | timestamp | 19 | 0 | N | N | CURRENT_TIMESTAMP | 创建时间: |
| 10 | update_time | timestamp | 19 | 0 | N | N | CURRENT_TIMESTAMP | 更新时间: |
| 编号 | 名称 | 数据类型 | 长度 | 小数位 | 允许空值 | 主键 | 默认值 | 说明 |
| 1 | volunteer_activities_id | int | 10 | 0 | N | Y | 志愿活动ID | |
| 2 | organization_account | int | 10 | 0 | Y | N | 0 | 组织账号 |
| 3 | activity_number | varchar | 64 | 0 | N | N | 活动编号 | |
| 4 | activity_name | varchar | 64 | 0 | Y | N | 活动名称 | |
| 5 | event_location | varchar | 64 | 0 | Y | N | 活动地点 | |
| 6 | start_time | datetime | 19 | 0 | Y | N | 开始时间 | |
| 7 | end_time | datetime | 19 | 0 | Y | N | 结束时间 | |
| 8 | activity_picture | varchar | 255 | 0 | Y | N | 活动图片 | |
| 9 | contact_information | varchar | 16 | 0 | Y | N | 联系方式 | |
| 10 | activity_content | text | 65535 | 0 | Y | N | 活动内容 | |
| 11 | hits | int | 10 | 0 | N | N | 0 | 点击数 |
| 12 | praise_len | int | 10 | 0 | N | N | 0 | 点赞数 |
| 13 | examine_state | varchar | 16 | 0 | N | N | 未审核 | 审核状态 |
| 14 | recommend | int | 10 | 0 | N | N | 0 | 智能推荐 |
| 15 | create_time | datetime | 19 | 0 | N | N | CURRENT_TIMESTAMP | 创建时间 |
| 16 | update_time | timestamp | 19 | 0 | N | N | CURRENT_TIMESTAMP | 更新时间 |
第5章 系统实现过程(详细设计)
5.1系统功能模块
农村留守儿童援助系统,在系统首页可以查看首页、交流论坛、公告信息、爱心资讯、个人账户、个人收藏、志愿活动、儿童情况等内容,如图5-1所示。

图5-1系统首页界面图
用户注册,在用户注册页面通过填写用户名、密码、姓名、身份证、手机等信息完成用户注册,如图5-2所示。

图5-2用户注册界面图
公告信息,在公告信息页面可以查看网站公告、关于我们、联系方式、网站介绍息等详细信息,如图5-3所示。

图5-3活动公示界面图
5.2管理员功能模块
管理员登录,通过填写注册时输入的用户名、密码、验证进行登录,如图5-4所示。

图5-4管理员登录界面图
管理员登录进入农村留守儿童援助系统可以查看首页、轮播图(轮播图管理)、公告信息管理(公告信息)、资源管理(新闻列表、新闻分类)、交流管理(论坛列表、论坛分类)、系统用户(管理员、注册用户、援助组织)、模块管理(志愿活动、报名活动、儿童情况、组织捐助)等信息,如图5-5所示。

图5-5管理员功能界面图
用户管理,在用户管理页面中可以查看索引、用户名、密码、姓名、性别、头像、身份证、手机等内容,还可以根据需要进行修改或删除等操作,如图5-6所示。

图5-6用户管理界面图
新闻列表管理,在新闻列表管理页面中可以查看索引、标题、封面图、文章分类、标签、描述等信息,并可根据需要进行查看评论、修改或删除等操作,如图5-7所示。

图5-7新闻列表管理界面图
轮播图管理,在轮播图管理页面中可以查看索引标题、轮播图等信息,并可根据需要进行修改或删除等操作,如图5-8所示。

图5-8轮播图管理界面图
论坛列表管理,在论坛列表管理页面中可以查看索引、标题、封面图、分类、标签等内容,并且根据需要进行查看评论、修改或删除等操作,如图5-9所示。

图5-9援助信息管理界面图
5.3用户功能模块
用户登录进入农村留守儿童援助系统可以查看首页、模块管理(报名活动、儿童情况、组织捐助)、个人中心等内容,如图5-10所示。

图5-10用户功能界面图
志愿活动,在志愿活动页面中通过填写组织账号、活动编号、活动名称、活动地点、开始时间、结束时间、活动图片等信息,并且根据需要进行修改或删除等操作,如图5-11所示。

图5-11志愿活动界面图
5.4援助组织功能模块
援助组织登录进入农村留守儿童援助系统可以查看首页、模块管理(志愿活动、报名活动、组织捐助)、个人中心等内容,如图5-12所示。

图5-12援助组织功能界面图
组织捐助管理,在组织捐助管理页面中可以查看索引、用户账号、组织账号、儿童编号、儿童姓名、儿童性别、儿童年龄、是否捐助等内容,并且根据需要进行修改或删除等操作,如图5-13所示。

图5-13援助信息管理界面图
第6章 系统测试
6.1系统测试的目的
程序设计不能保证没有错误,这是一个开发过程,在错误或错误的过程中都是难以避免的。虽然这是不可避免的,但我们不能使这些错误始终存在于系统中,错误可能会造成无法估量的后果,如系统崩溃,安全信息泄露,系统无法正常启动等,为了避免这些问题,我们需要测试程序,再测试过程中发现问题,并纠正它们,从而使系统更长时间稳定成熟。本章的作用是发现这些问题,并对其进行修改,虽然耗时费力,但对于长期使用而言是非常重要和必要系统的开发。
软件在设计后必须进行测试,调试过程中使用的方法是软件测试方法。在开发新软件时,系统测试是检查软件是否合格的关键步骤,以及是否符合设计目标的参考。测试主要是查看软件中数据的准确性,正确的操作与否,以及操作的结果,还有哪些方面需要改进。
农村留守儿童援助系统系统的实现,对于系统中功能模块的实现及操作都必须通过测试进行来评判系统是否可以准确的实现。在农村留守儿童援助系统系统正式上传使用之前必须做的一步就是系统测试,对于测试发现的错误及时修改处理,保证系统准确无误的供给用户使用。
6.2系统测试方法
在对农村留守儿童援助系统系统进行测试的时候在找到问题的情况下必须在第一时间找到解决问题的办法,不要存在侥幸的心理,这样才能让农村留守儿童援助系统开发的质量可以过关,并且开发的周期会大大缩短,还有就是在测试时,不要出现重复性的错误,遇到一个错误问题,要将整个农村留守儿童援助系统系统开发所牵扯的该问题都必须一一解决,提高农村留守儿童援助系统平台的安全性、稳定性。
白盒测试与黑盒测试是测试中比较常用的两种方法。
①结构测试俗称白盒测试:这种测试是在对程序的处理过程与结构都有详尽谅解的前提下,顺从程序内部的逻辑而完成的系统测试,以确定系统中所有的通路都能够遵照设计要求正常工作,不出现任何偏差。
②功能测试又成黑盒测试:主要是针对程序功能能够按照设计正常实现的一种检测,在程序接口处进行,检测程序手法数据是否正常,与外部信息的交换是否完整。
6.3功能测试
用户登录测试:
| 模块名称 | 测试用例 | 预期结果 | 实际结果 | 是否通过 |
| 登录模块 | 用户名:admin 密码:123 | 弹出错误提示,提示密码错误 | 弹出错误提示,提示密码错误 | 通过 |
| 登录模块 | 用户名:123 密码:admin | 弹出错误提示,提示用户名错误 | 弹出错误提示,提示用户名错误 | 通过 |
| 登录模块 | 用户名:admin 密码:admin | 管理员登录成功 | 管理员登录成功 | 通过 |
删除分类测试:
| 模块名称 | 测试用例 | 预期结果 | 实际结果 | 是否通过 |
| 删除分类模块 | 分类名:最新通知 | 删除成功、页面自动跳转 | 删除成功、页面自动跳转 | 通过 |
修改密码测试:
| 模块名称 | 测试用例 | 预期结果 | 实际结果 | 是否通过 |
| 修改密码模块 | 原密码:666 新密码:123 确认密码:123 | 弹出错误提示,提示原密码错误 | 弹出错误提示,提示原密码错误 | 通过 |
| 修改密码模块 | 原密码:admin 新密码:123 确认密码:333 | 弹出错误提示,提示确认密码不一致 | 弹出错误提示,提示确认密码不一致 | 通过 |
| 修改密码模块 | 原密码:admin 新密码:123 确认密码:123 | 密码修改成功 | 密码修改成功 | 通过 |
通过对功能的测试,农村留守儿童援助系统系统的基本功能都是可行的,不管是系统里面的功能,还是界面的设计都是可值得推广宣传的。
第7章 总结
2023年的今天,计算机技术已经相当成熟。它的发展推动了许多行业改头换面,计算机的出现使人类社会有了进一步降低人力物力和资源的方法,提高了人类社会的生产力,转变了社会生产方式。目前各大社区都在积极备战,发展计算机和互联网,结合自身优势进军互联网行业成为各大企业的重点项目。
本文利用springboot框架和MySQL数据库技术,通过分析现实农村留守儿童援助业务流程的基础上,并完成了农村留守儿童援助系统。经调试结果显示,本系统基本可以满足一个农村留守儿童援助系统的业务需要。系统界面简洁而有美感, 易操作,做出了自己的特色,然而因为时间仓促再加上缺乏系统开发经验和仅依靠少数问卷调查方式,因此本系统还存在不少缺陷、不足,比如:
1. 数据输入的格式并没有全部检验,所以很难保证数据的准确,可能有一些不符合规则的数据也可以通过检验。
2. 系统功能还不够完善,无法提供丰富多彩的在线功能,只能实现援助组织管理、留守儿童管理、援助信息管理等一系列功能。
本系统还存在一些漏洞没有解决,在现实应用情境中很难保证完全不出错,但相信通过再次完善,可以调试出真正符合实际的农村留守儿童援助系统。
[1]陈锴迪,欧阳李青,马玉璘,张海波,徐玮,徐昕.基于SpringBoot的运载火箭信息交互指挥平台[J].计算机测量与控制,2023,31(03):247-254.DOI:10.16526/j.cnki.11-4762/tp.2023.03.036.
[2]余鹏翔,石军锋.基于SpringBoot框架的群养母猪饲喂站管理系统设计与试验[J].中国农机化学报,2023,44(03):149-155+241.DOI:10.13733/j.jcam.issn.2095-5553.2023.03.021.
[3]王琪.SpringBoot在线学习系统的开发[J].互联网周刊,2023(05):60-62.
[4]董袁泉,贾苏,钱梦颖.基于SpringBoot的自动化车座安排系统[J].电脑知识与技术,2023,19(02):47-49.DOI:10.14004/j.cnki.ckt.2023.0058.
[5]银莉,杜啸楠.基于SpringBoot和Vue的社区服务平台设计与实现[J].电子技术,2022,51(12):182-183.
[6]赵胤章.基于SpringBoot的立案登记系统研究[J].无线互联科技,2022,19(23):62-64.
[7]Yu Yang. Design and Implementation of Student Information Management System Based on Springboot[J]. Advances in Computer, Signals and Systems,2022,6(6).
[8]鄢靖丰,王佳乐.基于SpringBoot的微电子平台设计与实现[J].许昌学院学报,2022,41(05):94-98.
[9]葛萌,李闯楠,高凯.基于SpringBoot的地方精准扶贫管理系统[J].软件,2022,43(09):17-19+31.
[10]陈小燕,朱映辉,余晓春.基于SpringBoot+Vue的好农物商城的设计与实现[J].电脑知识与技术,2022,18(22):37-39.DOI:10.14004/j.cnki.ckt.2022.1535.
[11]阳博,温志萍.基于SpringBoot的在线协同办公系统设计与实现[J].电脑知识与技术,2022,18(22):49-51.DOI:10.14004/j.cnki.ckt.2022.1515.
[12]陈颖灵,朱映辉,江玉珍,黄栾雅.基于SpringBoot学生实训管理系统的设计与实现[J].电脑知识与技术,2022,18(19):49-51.DOI:10.14004/j.cnki.ckt.2022.1319.
[13]杨敏,徐万明,田新宇,李凌霄.基于Spring Boot框架和Android的会议管理系统设计与实现[J].信息与电脑(理论版),2022,34(12):94-96.
[14]Fuyuan Cheng. Talent Recruitment Management System for Small and Micro Enterprises Based on Springboot Framework[J]. Advances in Educational Technology and Psychology,2021,5(2).
[15]成玉婷. X市农村留守儿童安全管理问题研究[D].东华大学,2021.DOI:10.27012/d.cnki.gdhuu.2021.001214.
[16]张翠凤. 浅谈农村留守儿童教育关爱服务体系构建探析[A]. 中国智慧工程研究会智能学习与创新研究工作委员会.2020课程教学与管理云论坛(贵阳分会场)论文集[C].中国智慧工程研究会智能学习与创新研究工作委员会:中国智慧工程研究会智能学习与创新研究工作委员会,2020:5.DOI:10.26914/c.cnkihy.2020.053306.
[17]Guanhong Chen,Jiangming Xu. Design and implementation of efficient Learning platform based on SpringBoot Framework[J]. Journal of Electronics and Information Science,2020,6(1).
[18]Jian Chen,Chen Jian,Pan Hailan. Design of Man Hour Management Information System on SpringBoot Framework[J]. Journal of Physics: Conference Series,2020,1646(1).
[19]邢慧斌,杨青,朱彦伊.教育扶贫视角下农村留守儿童“精神扶贫”研究——以河北省为例[J].教育文化论坛,2019,11(06):69-76.DOI:10.15958/j.cnki.jywhlt.2019.06.010.
[20]Kan Ji,Xiaojun Chen,Aoming Qin,Jia Liu,Jinmei Wu. Design and Implementation of Teaching Quality Evaluation System Based on SpringBoot[A]. 西南石油大学(Southwest Petroleum University).第七届计算与信息科学国际学术会议论文集[C].西南石油大学(Southwest Petroleum University):西南石油大学计算机科学学院,2019:9.
[21]周镇忠,蔡芸,顾天安,吕玉文,任成,玛拉·斯图尔特,苏珊·斯通.大数据支持下的农村留守儿童福利政策研究[J].社会保障研究,2019(05):79-87.
[22]郭环环,党浮,肖隽.基于Web的农村留守儿童关爱帮扶信息管理系统设计与应用研究[J].中国教育技术装备,2019(11):26-28+39.
[23]王挺鉴. 基于多中心治理理论的定安县农村留守儿童管理研究[D].海南大学,2019.DOI:10.27073/d.cnki.ghadu.2019.001131.
[24]Shufan Liu,Ximei Li,Peng Sun. Design and Implementation of Communication Base Station Survey System based on Springboot[A]. 香港新世纪文化出版社(Hongkong New Century Cultural Publishing House).2018年智慧教育与人工智能发展学术会议论文集(第一部分)[C].香港新世纪文化出版社(Hongkong New Century Cultural Publishing House):香港新世纪文化出版社有限公司,2018:3.
[25]Deng Fei. Built on SpringBoot's travel platform[P]. Jiangxi Industrial and Polytechnic College (China),2022.
致谢
这次毕业设计能够完成,最重要的就是来自指导老师的帮助,老师不厌其烦的对我的论文及毕业设计提出非常有建设性的建议,我的毕设能够完成离不开老师的帮助。我对老师由衷的表示感谢,
其次要感谢大学四年里学院里所有的任课老师的教导,老师们在我整个大学四年里给予了我丰富的知识,让我能够在大学中不虚度光阴,踏踏实实的学习,没有这些老师不辞辛劳的教诲,我无法完成这四年的学业。
由于自己的水平有限,毕设仍然存在着很大的缺陷,各位老师若提出意见,我会努力改正。
免费领取项目源码,请关注❥点赞收藏并私信博主,谢谢~
本文介绍了农村留守儿童援助系统,采用B/S模式,使用Spring Boot框架和Java语言,以MySQL为数据库。系统具备首页、公告管理等功能,设计注重代码特性。经测试基本满足业务需求,但存在数据检验和功能完善方面的不足。

被折叠的 条评论
为什么被折叠?



