文章目录
Java毕业设计-基于springboot开发的网页时装购物系统-毕业论文(附毕设源代码)
逃逸的卡路里
博主介绍:✌️码农一枚 | 毕设布道师,专注于大学生项目实战开发、讲解和毕业🚢文撰写修改等。✌️主要项目:小程序、SpringBoot、SSM、Vue、Java、Jsp等设计与开发。
🍅文末获取源码联系🍅
如需其他项目或毕设源码,可进主页看下往期的毕设资源分享哦,希望对您有帮助!
–
前言
随着信息技术的飞速发展,Java语言作为一种成熟、稳定且功能强大的编程语言,已经广泛应用于企业级应用、移动开发、大数据处理等多个领域。作为本科大学生,我们在学习Java编程语言的过程中,不仅掌握了其语法规则和编程技巧,更重要的是学会了如何利用Java解决实际问题,实现软件系统的设计与开发。
本次毕业设计旨在通过实际项目的开发,将我们在大学期间所学的Java编程语言知识与实践相结合,进一步加深对Java语言的理解和应用。毕业设计的宗旨在于培养我们的独立思考能力、团队协作精神和创新能力,提升我们解决实际问题的能力,为未来的职业发展打下坚实的基础。
在毕业设计中,我们将综合运用Java编程语言、数据库技术、前端开发技术等,设计并实现一个具有实际应用价值的软件系统。通过需求分析、系统设计、编码实现、测试维护等阶段的实践,我们将全面提升自己的软件开发能力,为未来的学习和工作积累宝贵的经验。
一、毕设成果演示(源代码在文末)



二、毕设摘要展示
1、开发说明
开发语言:Java
框架:springboot
JDK版本:JDK1.8
服务器:tomcat7
数据库:mysql 5.7(一定要5.7版本)
数据库工具:Navicat11
开发软件:eclipse/myeclipse/idea
Maven包:Maven3.3.9
浏览器:谷歌浏览器
推荐使用:谷歌浏览器
后台地址
http://localhost:8080/springbootw3o95/admin/dist/index.html
管理员 abo 密码 abo
前台地址:http://localhost:8080/springbootw3o95/front/index.html
在src\main\resources\application.yml中编辑
url: jdbc:mysql://127.0.0.1:3306/springbootw3o95?useUnicode=true&characterEncoding=utf-8&useJDBCCompliantTimezoneShift=true&useLegacyDatetimeCode=false&serverTimezone=UTC
username: root
password: 123456 (数据库密码)
2、需求/流程分析
本选题则旨在通过标签分类管理等方式,实现管理员:首页、个人中心、用户管理、商品分类管理、颜色管理、商品信息管理、商品评价管理、系统管理、订单管理,用户;首页、个人中心、商品评价管理、我的收藏管理、订单管理,前台首页;首页、商品信息、商品资讯、个人中心、后台管理、购物车、客服等功能。从而达到对时装购物系统信息的高效管理。
本时装购物系统采用的数据库是Mysql,使用springboot框架开发。在设计过程中,充分保证了系统代码的良好可读性、实用性、易扩展性、通用性、便于后期维护、操作方便以及页面简洁等特点。
关键词:时装购物系统,springboot框架 Mysql数据库 Java技术



3、系统功能结构

三、系统实现展示
1、管理员功能模块
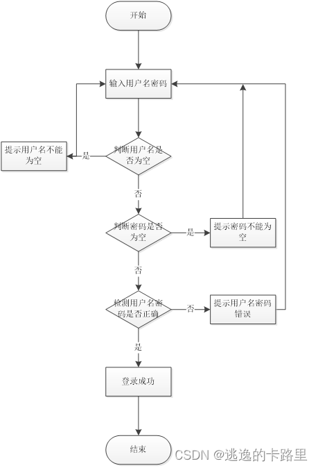
管理员登录,通过填写注册时输入的用户名、密码、角色进行登录,如图5-1所示。

管理员登录进入时装购物系统可以查看首页、个人中心、用户管理、商品分类管理、颜色管理、商品信息管理、商品评价管理、系统管理、订单管理等信息。
用户管理,在用户管理页面中可以通过填写用户名、密码、姓名、头像、性别、联系电话进行详情、修改,如图5-2所示。还可以根据需要对商品分类管理进行详情,修改或删除等详细操作,如图5-3所示。


颜色管理,在颜色管理页面中可以查看颜色等信息,并可根据需要对颜色管理进行详情、修改或删除等操作,如图5-4所示。

商品信息管理,在商品信息管理页面中可以查看商品名称、商品分类、图片、标签、品牌、颜色、尺码、价格等信息,并可根据需要对商品信息管理进行详情、修改或删除等详细操作,如图5-5所示。

商品资讯,在商品资讯页面中可以查看标题、简介等内容,并且根据需要对商品资讯进行详情、修改或删除等详细操作,如图5-6所示。

轮播图;该页面为轮播图管理界面。管理员可以在此页面进行首页轮播图的管理,通过新建操作可在轮播图中加入新的图片,还可以对以上传的图片进行修改操作,以及图片的删除操作,如图5-7所示。

客服管理,在客服管理页面中可以查看新消息、状态等内容,并且根据需要对客服管理进行详情、修改或删除等详细操作,如图5-8所示。

订单管理,在订单管理页面中可以查看订单编号、商品名称、商品图片、购买数量、价格/积分、折扣价格、总价格/总积分、折扣总价格、支付类型、状态、地址等内容,并且根据需要对订单管理进行详情、修改或删除等详细操作,如图5-9所示。

2、用户功能模块
用户登录进入时装购物系统可以查看首页、个人中心、商品评价管理、我的收藏管理、订单管理等内容。
商品评价管理,在商品评价管理页面中通过填写订单编号、商品名称、商品分类、品牌、颜色、尺码、评分、评价内容、添加图片、评价日期、用户名、联系电话、审核回复、审核状态等信息还可以根据需要对商品评价管理进行修改,如图5-10所示。

我的收藏管理,在我的收藏管理页面中可以查看收藏名称、收藏图片等信息内容,并且根据需要对我的收藏管理进行修改或删除等其他详细操作,如图5-11所示。

订单管理,在订单管理页面中通过填写订单编号、商品名称、商品图片、购买数量、价格/积分、折扣价格、总价格/总积分、折扣总价格、支付类型、状态、地址等内容进行详情、删除,如图5-12所示。

3、前台首页功能模块
时装购物系统,在时装购物系统可以查看首页、商品信息、商品资讯、个人中心、后台管理、购物车、客服等内容,如图5-13所示。

登录、用户注册,通过用户注册获取用户名、密码、姓名、联系电话等信息进行注册、登录,如图5-14所示。

商品信息,在商品信息页面可以填写商品名称、商品分类、图片、标签、品牌、颜色、尺码、价格等信息进行添加到购物车、立即购买,如图5-15所示。

我的订单,在我的订单页面可以填写订单编号、商品、价格、数量、总价、地址等进行提交如图5-16所示。

四、毕设内容和源代码获取
Java毕业设计-基于springboot开发的网页时装购物系统-毕业论文(附毕设源代码):https://download.youkuaiyun.com/download/u014740628/88922528
如需其他项目或毕设源码,可进主页看下往期的毕设资源分享哦,希望对您有帮助!
逃逸的卡路里
总结
通过本次毕业设计,我们不仅巩固了所学的Java编程语言知识,还学会了如何将理论知识应用于实际项目中。我们设计的软件系统具有一定的实际应用价值,这让我们对自己的能力充满了信心,也为未来的职业发展打下了坚实的基础。
参考文献
[1]Bruce Eckel.《Thinking in Java》(第三版) [M],American:Prentice Hall PTR,2017
[2]霍斯特曼等著,陈昊鹏等译.JAVA核心技术卷II:高级特性[M]. 2019.12
3格雷恩.Ajax实战——实例详解[M].北京:人民邮电出版社 2019年11月
[4]王占全,苏玲.Eclipse全程指南[M]. 北京:电子工业出版社,2019年3月
[5]李清霞.《Java动态网页设计》课程建设与教学模式研究[J].福建电脑,2017,33(06):92-93+166
[6]李刚.整合STRUTS+HIBERNATE+SPRING应用开发详解[M].北京:电子工业出版社2017年1月
[7]孙卫琴,李红成.Tomcat与Java WEB开发技术讲解.电子工业出版社.2019年六月:1-205
[8]张丽.基于C语言访问的MySQL数据库[J]. 电子技术与软件工程,2018,(22):165-166
[9]廖琴,文成玉.MySQL数据库高可用性的研究与实现[J]. 科技风,2018,(18):100
[10]王国辉,王易.Java数据库系统开发案例精选[M].北京:人民邮电出版社,2019
[11]高杨,赵立杰.基于Java+MySQL的物流管理系统的设计与实现[J].信息系统工程,2018,(11):141+143
[12]王金龙,张静.基于Java+Mysql的高校慕课(MOOC)教学系统设计[J].通讯世界,2017,(20):276-277
[13]高祖彦.软件工程思想在Java程序设计教学中的应用[J].时代教育,2017,(09):211
[14]霍斯特曼等著,陈昊鹏等译.JAVA核心技术卷II:高级特性[M]. 2019.12
[15]吴秀娟.Java在动态网页制作技术比较分析[J].数字技术与应用,2018,(10):221+223.


被折叠的 条评论
为什么被折叠?



