文章目录
Java毕业设计-基于springboot开发的大学城水电管理系统-毕业论文(附毕设源代码)
如需其他项目或毕设源码,可进主页看下往期的毕设资源分享哦,希望对您有帮助!
逃逸的卡路里
–
前言
随着信息技术的飞速发展,Java语言作为一种成熟、稳定且功能强大的编程语言,已经广泛应用于企业级应用、移动开发、大数据处理等多个领域。作为本科大学生,我们在学习Java编程语言的过程中,不仅掌握了其语法规则和编程技巧,更重要的是学会了如何利用Java解决实际问题,实现软件系统的设计与开发。
本次毕业设计旨在通过实际项目的开发,将我们在大学期间所学的Java编程语言知识与实践相结合,进一步加深对Java语言的理解和应用。毕业设计的宗旨在于培养我们的独立思考能力、团队协作精神和创新能力,提升我们解决实际问题的能力,为未来的职业发展打下坚实的基础。
在毕业设计中,我们将综合运用Java编程语言、数据库技术、前端开发技术等,设计并实现一个具有实际应用价值的软件系统。通过需求分析、系统设计、编码实现、测试维护等阶段的实践,我们将全面提升自己的软件开发能力,为未来的学习和工作积累宝贵的经验。
本大学城水电管理系统管理员功能有个人中心,用户管理,领用设备管理,消耗设备管理,设备申请管理,设备派发管理,状体汇报管理,领用报表管理,消耗报表管理,班组报表管理,个人报表管理,用户反馈管理,维护保养管理,设备检测管理,设备维修管理,报修信息管理,定期修复管理,修理计划管理。用户功能有个人中心,领用设备管理,消耗设备管理,设备申请管理,设备派发管理,状态汇报管理,用户反馈管理,报修信息管理。因而具有一定的实用性。
本站是一个B/S模式系统,采用Spring Boot框架,MYSQL数据库设计开发,充分保证系统的稳定性。系统具有界面清晰、操作简单,功能齐全的特点,使得大学城水电管理系统管理工作系统化、规范化。本系统的使用使管理人员从繁重的工作中解脱出来,实现无纸化办公,能够有效的提高大学城水电管理系统管理效率。
关键词:大学城水电管理系统;Spring Boot框架;MYSQL数据库
一、毕设成果演示(源代码在文末)
二、毕设摘要展示
1、开发说明
开发语言:Java
框架:springboot
JDK版本:JDK1.8
服务器:tomcat7
数据库:mysql 5.7(一定要5.7版本)
数据库工具:Navicat11
开发软件:eclipse/myeclipse/idea
Maven包:Maven3.3.9
浏览器:谷歌浏览器
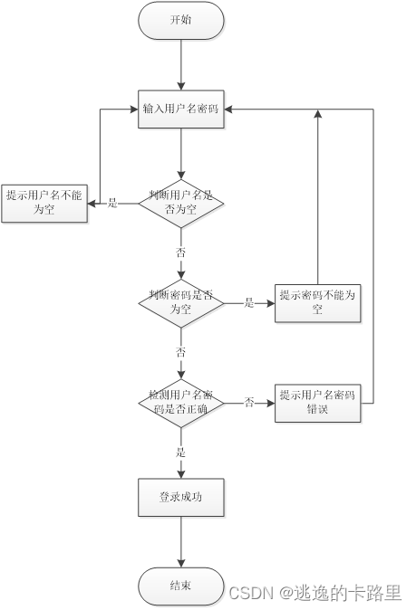
2、需求/流程分析


3、系统功能结构

三、系统实现展示
1、管理员模块的实现
1.1 领用设备管理
大学城水电管理系统的系统管理员可以管理领用设备,可以对领用设备信息添加修改删除以及查询操作。

1.2 消耗设备管理
系统管理员可以查看对消耗设备信息进行添加,修改,删除以及查询操作。

1.3 设备申请管理
系统管理员可以对设备申请进行审核操作。界面如下图所示:

1.4 状态汇报管理
系统管理员可以对状态汇报进行审核操作。界面如下图所示:

2、用户模块的实现
2.1 设备申请
用户可以进行设备申请操作。界面如下图所示:

2.2 状态汇报
用户可以对状态汇报进行添加,修改,删除操作。界面如下图所示:

2.3 用户反馈
用户可以对用户反馈进行添加修改删除操作。界面如下图所示:

四、毕设内容和源代码获取
Java毕业设计-基于springboot开发的大学城水电管理系统-毕业论文(附毕设源代码):https://download.youkuaiyun.com/download/u014740628/88921471
如需其他项目或毕设源码,可进主页看下往期的毕设资源分享哦,希望对您有帮助!
逃逸的卡路里
总结
通过本次毕业设计,我们不仅巩固了所学的Java编程语言知识,还学会了如何将理论知识应用于实际项目中。我们设计的软件系统具有一定的实际应用价值,这让我们对自己的能力充满了信心,也为未来的职业发展打下了坚实的基础。
参考文献
[1]付昕. 基于B/S模式仓库管理系统的实现[J].山东省农业管理干部学院学报, 2010, 27(4):166-168
[2] 雷文华, 薛小文. MATLAB和Servlet在网络数据处理中的应用[J]. 电子测试, 2010, (11):81-86.
[3] 黄艳峰. 在Java语言中实施“案例教学”的研究与探索[J]. 电脑知识与技术, 2010, 6(5):1148-1149
[4] 王玉英. 基于JSP的MySQL数据库访问技术[J]. 现代计算机:专业版, 2010, 19(14):63-66
[5] 赵钢. JSP Servlet+EJB的Web模式应用研究[J]. 电子设计工程, 2013, 21(13):47-49
[6] David L.Anderson.Managing Information Systems.清华大学出版社,2002:16
[7] 王家华.软件工程[M],沈阳:东北大学出版社,2011:46
[8] 张孝祥,徐明华.软件开发课堂.清华大学出版社,2009:55
[9] 崔洋.MySQL数据库应用从入门到精通.中国铁道出版社,2013:27
[10] 王珊,萨师煊.数据库系统概论.高等教育出版社, 2006:16
[11] 崔洋.MySQL数据库应用从入门到精通.中国铁道出版社,2013:27
[12] 王珊,萨师煊.数据库系统概论.高等教育出版社, 2006:16
[13] 张海潘.软件工程导论.清华大学出版社,2008:86
[14] 黄艳峰. 在Java语言中实施“案例教学”的研究与探索[J]. 电脑知识与技术, 2010, 6(5):1148-1149
[15] 王玉英. 基于JSP的MySQL数据库访问技术[J]. 现代计算机:专业版, 2010, 19(14):63-66

本文详细描述了一项Java毕业设计,通过SpringBoot框架开发了一个大学城水电管理系统,涵盖了管理员和用户模块的功能,包括设备管理、申请、状态汇报等,以及数据库设计和使用。该系统旨在结合理论与实践,提升学生的软件开发能力。

被折叠的 条评论
为什么被折叠?



