Kaelthas是一款开源免费的监控系统。前一篇介绍了kaelthas的主机监控以及网络监控,这篇文章将介绍在Kaelthas中如何配置数据库监控
相关文章
1. 创建数据库监控
创建数据库帮助用户了解数据库监控的全部流程,在数据库模块对需要监控的数据库指标进行配置。
点击数据库 --> 点击新建数据库。在输入所有数据库信息后点击测试可以看到数据库是否可用

字段说明:
| 字段名称 | 是否必填 | 说明 |
| 名称 | 是 | 数据库的命名,在列表当中进行展示 |
| 数据源ip | 是 | 数据库所在的ip地址 |
| 数据库类型 | 是 | 数据库的类型,如:MYSQL和pgsql |
| 数据库端口号 | 是 | 所监控的数据库的端口号 |
| 用户名 | 是 | 能够访问监控数据库所有指标的用户名 |
| 密码 | 是 | 能够访问监控数据库所有指标的密码 |
| 是否开启 | 是 | 是否监控数据库,开启则监控,关闭则不监控 |
2. 查看数据库监控
在数据库监控列表当中可以看到数据库的大概信息,是否能够检测到数据库是否能够连接,是否有告警等信息。

3. 数据库监控详情
数据库监控的详细信息,能够在数据库详情中配置数据库的监控项、触发器等,也可以看到数据的展示和告警信息。
3.1 配置
数据库监控配置是控制数据库数据上报,数据告警等一系列的操作,包含了监控项、触发器、图形,配置后便能够数据上报。
- 监控项配置
数据库监控列表 --> 点击监控的数据库名称 --> 配置 --> 监控项 --> 新建监控项。

监控项字段描述:
| 字段名称 | 是否必填 | 说明 |
| 监控名称 | 是 | 监控项的命名 |
| 采集数据库名称 | 否 | 指定了数据库就采集指定的数据库信息,如果没有指定,则采集所有数据库的和 |
| 监控指标 | 是 | 具体的监控项指标,需要先选监控项大类 |
| 数据保留时间 | 是 | 数据到指定时间会清理,单位为秒 |
| 状态是否开启 | 是 | 开启后会进行数据上报,关闭不进行数据上报 |
- 触发器配置
数据库监控列表 --> 点击监控的数据库名称 --> 配置 --> 触发器 --> 新建触发器。

触发器字段含义:
| 字段名称 | 是否必填 | 说明 |
| 触发器名称 | 是 | 触发器的命名 |
| 触发器表达式 | 是 | 触发器表达式,需要参考触发器的命名规范 |
| 触发方案 | 是 | 三种触发方案:最近值、平均值和百分比 |
| 时间范畴 | 是 | 以分钟为单位,几分钟以内的数据 |
| 百分比 | 是 | 百分比达到了多少数值 |
| 消息通知方案 | 是 | 消息的通知方式,多选 |
| 严重性 | 是 | 严重等级,根据告警级别不同设置不同的等级,单选 |
| 问题描述 | 是 | 告警信息的描述 |
| 触发器状态 | 是 | 是否启动触发器 |
触发器表达式书写格式:{ {监控项表达式}}大小判断符号[数值]例如:{ {systems.db.Locks}}==[0] 这个表达式就是判断锁数量是否为0
触发器方案:
| 触发方案 | 适用场景 |
| 最近值判断 | 单值触发的时候,例如锁数量超过指定数值 |
| 平均值判断 | 对一段时间的平均值进行判断,例如某段时间的事务提交的平均值 |
| 百分比判断 | 对一段时间超过平均值的百分比进行判断,在平均值的基础上进一步的细化的规则 |
- 图形配置
对数据库监控当中图形展示的配置,用户可以根据自己的需求将不同的监控项放到一个图形下进行展示。数据库监控列表 --> 点击监控的数据库名称 --> 配置 --> 图形 --> 新建图形。

图形的字段含义:
| 字段名称 | 是否必填 | 说明 |
| 图形名称 | 是 | 图形的命名,监控图形的展示会展示图形名称 |
| 监控项 | 是 | 选择当前图形展示的监控项,多选 |
| 图形描述 | 否 | 图形的描述信息,备注 |
3.2 监控
监控是截至到当前的图形展示,目前有三种视图:折线图、柱状图、面积图,可以通过时间筛选来选择时间段的数据。

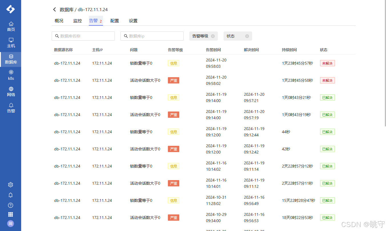
3.3 告警
告警是出现问题的通知,目前有灾难、严重、一般严重、告警、信息、未分类六个等级,能够提示用户哪些主机出现了问题。点击状态当中的“未解决”可以扭转状态为“已解决”。每个模块当中有告警模块,最外侧的一级模块也有告警模块。
数据库监控模块内告警信息:

全局告警信息:

3.4 概况
数据库监控的配置信息,如:监控项的数量、触发器的数量。数据库监控的添加信息,如:“创建了监控项-插入行数”。

3.5 设置
数据库监控的信息配置,编辑数据库和删除数据库需要注意的事项和操作步骤。
- 编辑数据库
编辑数据库监控基本信息,操作:数据库列表 --> 点击监控数据库名称 --> 设置 --> 数据库信息 -->编辑数据库。

字段说明:
| 字段名称 | 是否必填 | 说明 |
| 名称 | 是 | 数据库的命名,在列表当中进行展示 |
| 数据源ip | 是 | 数据库所在的ip地址 |
| 数据库类型 | 是 | 数据库的类型,如:MYSQL和pgsql |
| 数据库端口号 | 是 | 所监控的数据库的端口号 |
| 用户名 | 是 | 能够访问监控数据库所有指标的用户名 |
| 密码 | 是 | 能够访问监控数据库所有指标的密码 |
| 是否开启 | 是 | 是否监控数据库,开启则监控,关闭则不监控 |
- 删除数据库
监控数据库信息删除后不可恢复。操作:数据库列表 --> 点击监控数据库名称 --> 设置 --> 数据库信息 --> 删除数据库
4. 帮助与支持
如果在使用中碰到问题, 我们提供了丰富的文档和教程,帮助你轻松解决问题。前往Tiklab社区,获得详细的配置说明和常见问题解答。你也可以随时向活跃的社区寻求帮助
- 社区
社区https://developer.tiklab.nethttps://developer.tiklab.net
https://developer.tiklab.net
- 文档
1375

被折叠的 条评论
为什么被折叠?



