Apache POI是Apache软件基金会的开源项目,POI提供API给Java程序对Microsoft Office格式档案读和写的功能。
Apache POI 代码实现复杂,学习成本较高。
Easypoi 功能如同名字easy,主打的功能就是容易,让一个没见接触过poi的人员 就可以方便的写出Excel导出,Excel模板导出,Excel导入,Word模板导出,通过简单的注解和模板 语言(熟悉的表达式语法),完成以前复杂的写法
EasyPOI官网:EasyPoi教程_V1.0
环境搭建
1)搭建springboot项目
2)导入依赖
<!-- 引入easyPOI -->
<dependency>
<groupId>cn.afterturn</groupId>
<artifactId>easypoi-spring-boot-starter</artifactId>
<version>4.2.0</version>
</dependency>
EasyPOI相关注解
easypoi 起因就是Excel的导入导出,最初的模板是实体和Excel的对应,model--row,filed--col 这样利用注解我们可以和容易做到excel到导入导出 经过一段时间发展,现在注解有5个类分别是
- @Excel 作用到filed上面,是对Excel一列的一个描述
- @ExcelCollection 表示一个集合,主要针对一对多的导出,比如一个老师对应多个科目,科目就可以用集合表示
- @ExcelEntity 表示一个继续深入导出的实体,但他没有太多的实际意义,只是告诉系统这个对象里面同样有导出的字段
- @ExcelIgnore 和名字一样表示这个字段被忽略跳过这个导导出
- @ExcelTarget 这个是作用于最外层的对象,描述这个对象的id,以便支持一个对象可以针对不同导出做出不同处理
@ExcelTarget
1.说明
- 用在实体类上标识是一个可以通过EasyPOI导入导出的实体类
- 相关属性:
value: [String][定义id唯一标识,不能重复] `常用`
height: [Double][定义单元格高度]
fontSize:[short ][定义单元格字体大小]
2.使用
@ExcelTarget("users")
public class User implements Serializable {
//..... 省略属性 相关GET,SET方法
}
@Excel
# 1.说明
- 用在filed(属性)上面,是对Excel一列的一个描述
- 常用属性:
name : [String][生成Excel表格中列名]
needMerge: [boolean][是否需要纵向合并单元格(用于含有list中,单个的单元格,合并list创建的多个row)]
orderNum : [String][指定生成Excel中列的顺序,按照数字自然顺序排序]
savePath : [String][指定导入Excel中图片的保存路径]
type : [String][导出类型 1 是文本 2 是图片,3 是函数,10 是数字 默认是文本]
width : [Double][指定导出Excel时列的宽度]
isImportField: [boolean][是否是导入字段,如果没有说明是错误的Excel]
exportFormat: [String][导出Excel的时间格式]
importFormat: [String][导入Excel的时间格式]
format : [String][相当于同时设置了exportFormat和importFormat]
imageType: [int ][导出类型 1 从file读取 2 是从数据库中读取 默认是文件 同样导入也是一样的]
suffix : [String][文字后缀,如% 90 变成90%]
2.使用
public class User implements Serializable {
@Excel(name="编号",orderNum="1",replace = {"xxx_1","nnn_2"})
private String id;
@Excel(name="姓名",orderNum="2")
private String name;
@Excel(name="年龄",orderNum="4",suffix = " $")
private Integer age;
@Excel(name="生日",orderNum = "3",width = 20.0,exportFormat = "yyyy年MM月dd日")
private Date bir;
//...省略GET、SET方法
}
@ExcelEntity
1.说明
- 标记是不是导出excel 标记为实体类,一遍是一个内部属性类,标记是否继续穿透
- 常用属性:
name: [String][定义唯一标识]
2.使用
@ExcelTarget("users")
public class User implements Serializable {
//... 省略GET SET和其他属性
@ExcelEntity(name="身份信息")
private Card card;
}
@ExcelTarget("card")
public class Card implements Serializable {
@Excel(name="身份证号",orderNum = "6")
private String id;
@Excel(name="家庭住址",orderNum = "7")
private String address;
}
@ExcelCollection
1.说明
- 一对多的集合注解,用以标记集合是否被数据以及集合的整体排序
- 常用属性:
name: [String][定义集合列名]
orderNum:[int][用来指定导出excel集合内列的顺序]
type: [Class\<?>][用来指定导出是创建对象类型]
2.使用
@ExcelTarget("users")
public class User implements Serializable {
//....省略GET SET其他属性
@ExcelCollection(name="订单",orderNum = "5")
private List<Order> orders;
}
@ExcelTarget("orders")
public class Order implements Serializable {
//....省略GET SET方法
@Excel(name = "订单编号")
private String id;
@Excel(name = "订单名称")
private String name;
}
@ExcelIgnore
.说明
- 用在属性上,导出Excel时忽略这个属性
导出Excel
导出基本数据
注意:导出Excel的对象必须实现对象序列化接口
1)定义对象
@Data
@ExcelTarget("users")
public class User implements Serializable {
@ExcelIgnore
@Excel(name="编号",orderNum="1")
private String id;
@Excel(name="姓名",orderNum="2")
private String name;
@Excel(name="年龄",orderNum="3",suffix = " &")
private Integer age;
@Excel(name="生日",orderNum="4",width = 35.0,format = "yyyy-MM-dd HH:mm:ss")
private Date birthday;
@Excel(name ="状态" ,orderNum="5",replace = {"激活_1","未激活_0"})
private String status;
}
2)定义测试数据
public List<User> getUsers(){
List<User> users = new ArrayList<>();
for (int i = 0; i < 10; i++) {
User user = new User();
user.setId(String.valueOf(i));
user.setName("向阳");
user.setAge(16+i);
user.setBirthday(new Date());
user.setStatus(String.valueOf(i%2));
users.add(user);
}
return users;
}
3)导出Excel
@Test
public void testExport() throws Exception {
//1.配置对象 2.导出类型 3.导出数据集合
Workbook workbook = ExcelExportUtil.exportExcel(new ExportParams("用户列表", "测试"), User.class, getUsers());
FileOutputStream outputStream = new FileOutputStream("C:\\Users\\86187\\Desktop\\user.xls");
workbook.write(outputStream);
outputStream.close();
workbook.close();
}
4)查看Excel

导出List集合
1)说明
- 往往有时候导出的对象中含有数组或者集合,需要导出这样的数据可以直接使用@Excel进行导出
2)使用
@Data
@ExcelTarget("users")
public class User implements Serializable {
@Excel(name = "爱好",width=20.0,orderNum = "6")
private List<String> hobby;
}

3) 改换格式
// @Excel(name = "爱好",width=20.0,orderNum = "6")
@ExcelIgnore
private List<String> hobby;
@Excel(name = "爱好",width=20.0,orderNum = "6")
private String hobbystr;
//自定义格式
public String getHobbystr() {
StringBuilder sb = new StringBuilder();
this.hobby.forEach(s -> sb.append(s).append("、") );
return sb.toString();
}

导出对象中含有的对象
- 导出对象中含有对象的Excel
@Data
@ExcelTarget("users")
public class User implements Serializable {
//定义对象
@ExcelEntity(name="card")
private Card card;
}
@ExcelTarget("card")
public class Card implements Serializable {
@Excel(name="身份证号",orderNum = "6")
private String id;
@Excel(name="家庭住址",orderNum = "7")
private String address;
}
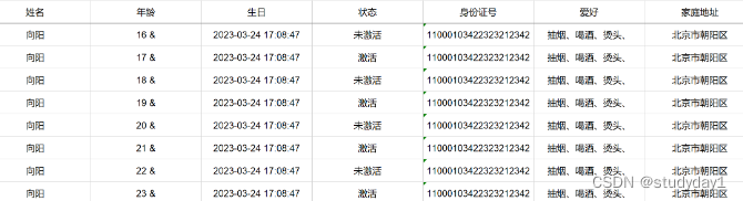
- 为导出对象赋值
public List<User> getUsers(){
List<User> users = new ArrayList<>();
for (int i = 0; i < 10; i++) {
User user = new User();
user.setId(String.valueOf(i));
user.setName("向阳");
user.setAge(16+i);
user.setBirthday(new Date());
user.setStatus(String.valueOf(i%2));
user.setHobby(Arrays.asList("抽烟","喝酒","烫头"));
user.setCard(new Card("11000103422323212342","北京市朝阳区"));
users.add(user);
}
return users;
}
- 导出Excel
//1.配置对象 2.导出类型 3.导出数据集合
Workbook workbook = ExcelExportUtil.exportExcel(new ExportParams("用户列表", "测试"), User.class, getUsers());
FileOutputStream outputStream = new FileOutputStream("C:\\Users\\86187\\Desktop\\user.xls");
workbook.write(outputStream);
outputStream.close();
workbook.close();

导出图片
- 往往随着业务不断变化,可能需要在导出excel时将图片信息也一并导出,如商品图标,用户头像信息等数据,这个时候easypoi该如何处理呢?
@ExcelTarget("users")
public class User implements Serializable {
@Excel(name = "头像信息",type = 2,orderNum = "0",width = 12,height = 12)
private String photo;//定义头像 直接写指定图片路径
}
准备图片放入指定路径中,并在测试数据中进行赋值
public List<User> getUsers(){
List<User> users = new ArrayList<>();
for (int i = 0; i < 10; i++) {
User user = new User();
user.setId(String.valueOf(i));
user.setName("向阳");
user.setAge(16+i);
user.setBirthday(new Date());
user.setStatus(String.valueOf(i%2));
user.setHobby(Arrays.asList("抽烟","喝酒","烫头"));
user.setCard(new Card("11000103422323212342","北京市朝阳区"));
user.setPhoto("C:\\Users\\86187\\Desktop\\桌面.png");
users.add(user);
}
return users;
}
导出Excel查看结果
导入Excel
导入基本数据
1) 准备导入的目标Excel
2) 定义导出数据基本对象
@Data
@ExcelTarget("emps")
public class Emp implements Serializable {
@Excel(name="编号")
private String id;
@Excel(name="姓名")
private String name;
@Excel(name="年龄")
private Integer age;
@Excel(name="生日",format = "yyyy-MM-dd HH:mm:ss")
private Date bir;
@Excel(name="状态",replace = {"激活_1","未激活_0"})
private String status;
@Excel(name="头像",type = 2,savePath = "I:\\resources\\static")
private String photo;
}
3) 导入excel中数据
@Test
public void testImportExcel()throws Exception{
ImportParams params = new ImportParams();
params.setTitleRows(1); //标题列占几行
params.setHeadRows(1); //列名占几行
params.setNeedSave(true);
params.setSaveUrl("I:\\msb_hejiayun\\easypoi_boot\\src\\main\\resources\\static");
List<Emp> list = ExcelImportUtil.importExcel(new FileInputStream("C:\\Users\\86187\\Desktop\\emp.xls"), Emp.class, params);
list.forEach(System.out::println);
}
多Sheet页导入导出
- 读取指定的sheet
比如要读取上传得第二个sheet 那么需要把startSheetIndex = 1 就可以了- 读取几个sheet
比如读取前2个sheet,那么 sheetNum=2 就可以了- 读取第二个到第五个sheet
设置 startSheetIndex = 1 然后sheetNum = 4- 读取全部的sheet
sheetNum 设置大点就可以了- 判断一个Excel是不是合法的Excel
importFields 设置下值,就是表示表头必须至少包含的字段,如果缺一个就是不合法的excel,不导入
准备表格,创建对应实体

@Data
@ExcelTarget("loginUser")
public class LoginUser implements Serializable {
@Excel(name = "用户ID",orderNum = "1")
private String id;
@Excel(name = "昵称",orderNum = "2")
private String nickname;
@Excel(name = "密码",orderNum = "3")
private String password;
@Excel(name="注册时间",orderNum="4",format = "yyyy-MM-dd HH:mm:ss")
private Date createTime;
@Excel(name ="状态" ,orderNum="5",replace = {"VIP_1","普通用户_0"})
private String status;
}
@Data
@ExcelTarget("loginUrl")
public class LoginUrl implements Serializable {
@Excel(name = "用户ID",orderNum = "1")
private String userId;
@Excel(name = "请求类型",orderNum = "2")
private String type;
@Excel(name = "访问地址",orderNum = "3")
private String url;
}
多sheet导入方法
/**
* 功能描述:根据接收的Excel文件来导入多个sheet,根据索引可返回一个集合
* @param filePath 导入文件路径
* @param sheetIndex 导入sheet索引
* @param titleRows 表标题的行数
* @param headerRows 表头行数
* @param pojoClass Excel实体类
* @return
*/
public static <T> List<T> importMultiSheet(String filePath,int sheetIndex,Integer titleRows, Integer headerRows, Class<T> pojoClass) {
// 根据file得到Workbook,主要是要根据这个对象获取,传过来的excel有几个sheet页
ImportParams params = new ImportParams();
// 第几个sheet页
params.setStartSheetIndex(sheetIndex);
params.setTitleRows(titleRows);
params.setHeadRows(headerRows);
//是否保存本次上传的excel
params.setNeedSave(false);
//表示表头必须包含的字段,不包含 就报错.
params.setImportFields(new String[]{"用户ID"});
List<T> list = null;
try {
list = ExcelImportUtil.importExcel(new FileInputStream(filePath), pojoClass, params);
} catch (Exception e) {
e.printStackTrace();
}
return list;
}
//测试多sheet导入
@Test
public void testImportMultiSheet() throws Exception {
String excelPath = "C:\\Users\\86187\\Desktop\\login.xls";
List<LoginUser> loginUserList = this.importMultiSheet(excelPath, 0, 1, 1, LoginUser.class);
loginUserList.forEach(System.out::println);
List<LoginUrl> loginUrlList = this.importMultiSheet(excelPath, 1, 1, 1, LoginUrl.class);
loginUrlList.forEach(System.out::println);
}
多sheet导出方法
public void exportMultiSheet(Object... objects) throws Exception {
//创建参数对象,用于设定Excel的sheet页内容等信息
ExportParams loginUserExportParams = new ExportParams();
//设置sheet的名称
loginUserExportParams.setSheetName("登录用户");
loginUserExportParams.setTitle("登录用户列表");
//使用map创建sheet1
HashMap<String, Object> sheet1Map = new HashMap<>();
//设置title
sheet1Map.put("title",loginUserExportParams);
//设置导出的实体类型
sheet1Map.put("entity",LoginUser.class);
//sheet中要填充的数据
sheet1Map.put("data",objects[0]);
///==================================
//创建参数对象,用于设定Excel的sheet页内容等信息
ExportParams loginUrlExportParams = new ExportParams();
//设置sheet的名称
loginUrlExportParams.setSheetName("URL路径");
loginUrlExportParams.setTitle("URL路径");
//使用map创建sheet2
HashMap<String, Object> sheet2Map = new HashMap<>();
//设置title
sheet2Map.put("title",loginUrlExportParams);
//设置导出的实体类型
sheet2Map.put("entity",LoginUrl.class);
//sheet中要填充的数据
sheet2Map.put("data",objects[1]);
//将sheet1和sheet2 进行包装
List<Map<String,Object>> sheetList = new ArrayList<>();
sheetList.add(sheet1Map);
sheetList.add(sheet2Map);
//执行方法
Workbook workbook = ExcelExportUtil.exportExcel(sheetList, ExcelType.HSSF);
FileOutputStream outputStream =
new FileOutputStream("C:\\Users\\86187\\Desktop\\exportLogin.xls");
workbook.write(outputStream);
outputStream.close();
workbook.close();
}
//测试多sheet导出
@Test
public void testExportMultiSheet() throws Exception {
List<LoginUser> sheet1 = new ArrayList<>();
sheet1.add(new LoginUser("1001", "向阳", "123456", new Date(), "0"));
sheet1.add(new LoginUser("1002", "文渊", "123456", new Date(), "1"));
sheet1.add(new LoginUser("1003", "小李", "123456", new Date(), "0"));
List<LoginUrl> sheet2 = new ArrayList<>();
sheet2.add(new LoginUrl("1001", "get", "http://127.0.0.1:8080"));
sheet2.add(new LoginUrl("1001", "post", "http://127.0.0.1:8080/logingout"));
exportMultiSheet(sheet1,sheet2);
}
集成web实现导入导出
前端代码
<!DOCTYPE html>
<html lang="en" xmlns:th="http://www.thymeleaf.org">
<head>
<meta charset="UTF-8">
<title>导入excel的主页面</title>
<link rel="stylesheet" href="https://cdn.jsdelivr.net/npm/bootstrap@3.3.7/dist/css/bootstrap.min.css" integrity="sha384-BVYiiSIFeK1dGmJRAkycuHAHRg32OmUcww7on3RYdg4Va+PmSTsz/K68vbdEjh4u" crossorigin="anonymous">
</head>
<body>
<div class="container-fluid">
<div class="row">
<div class="col-md-12">
<h1>选择Excel文件导入到数据中</h1>
<form th:action="@{/course/importExcel}" method="post" enctype="multipart/form-data" class="form-inline">
<div class="form-group">
<input class="form-control" type="file" name="excelFile">
<input type="submit" class="btn btn-danger" value="导入数据">
</div>
</form>
</div>
<div class="col-md-12">
<h1>显示导入数据列表</h1>
<table class="table table-bordered" >
<tr>
<th>ID编号</th>
<th>订单编号</th>
<th>课程名称</th>
<th>课程简介</th>
<th>课程价格</th>
</tr>
<tr th:each="course : ${courses}">
<td th:text="${course.cid}"></td>
<td th:text="${course.orderno}"></td>
<td th:text="${course.cname}"></td>
<td th:text="${course.brief}"></td>
<td th:text="${course.price}"></td>
</tr>
</table>
<hr>
<a th:href="@{/course/exportExcel}" class="btn btn-info" >导出excel</a>
</div>
</div>
</div>
</body>
</html>
Controller层
@Controller
@RequestMapping("/course")
public class CourseController {
@Autowired
private CourseService courseService;
@RequestMapping("/findAll")
public String findAll(Model model){
List<Course> courses = courseService.findAll();
System.out.println(courses);
model.addAttribute("courses",courses);
return "index";
}
//导入Excel
@RequestMapping("/importExcel")
public String importExcel(MultipartFile excelFile) throws Exception {
ImportParams params = new ImportParams();
params.setTitleRows(1); //设置1级标题行为一行
params.setHeadRows(1); //设置header标题行为一行
List<Course> courseList = ExcelImportUtil.importExcel(excelFile.getInputStream(), Course.class, params);
courseService.save(courseList);
return "redirect:/course/findAll";
}
//导出Excel
@RequestMapping("/exportExcel")
public void exportExcel(HttpServletResponse response)throws Exception{
//查询数据库的所有数据
List<Course> courseList = courseService.findAll();
//生成Excel
Workbook workbook = ExcelExportUtil.exportExcel(new ExportParams("课程信息列表", "课程信息"),
Course.class, courseList);
response.setHeader("content-disposition","attachment;fileName="+ URLEncoder.encode("课程信息列表.xls","UTF-8"));
ServletOutputStream outputStream = response.getOutputStream();
workbook.write(outputStream);
outputStream.close();
workbook.close();
}
}
Service层
public interface CourseService {
//查询所有
List<Course> findAll();
//插入记录
void save(List<Course> courses);
}
@Service
public class CourseServiceImpl implements CourseService {
@Autowired
private CourseDao courseDao;
@Override
public List<Course> findAll() {
return courseDao.findAll();
}
@Override
public void save(List<Course> courses) {
courses.forEach(course -> {
course.setCid(null); //自动生成ID 不使用Excel中的编号
courseDao.save(course);
});
}
}
dao层
@Mapper
public interface CourseDao {
//查询所有
List<Course> findAll();
//插入记录
void save(Course course);
}
XML
<!DOCTYPE mapper PUBLIC "-//mybatis.org//DTD Mapper 3.0//EN" "http://mybatis.org/dtd/mybatis-3-mapper.dtd">
<mapper namespace="com.mashibing.mapper.CourseDao">
<!--查询所有-->
<select id="findAll" resultType="Course">
SELECT cid,orderno,cname,brief,price FROM course;
</select>
<!-- 插入记录 -->
<insert id="save" parameterType="Course" >
INSERT INTO course VALUES (#{cid},#{orderno},#{cname},#{brief},#{price})
</insert>
</mapper>

22万+

被折叠的 条评论
为什么被折叠?



