目录
-
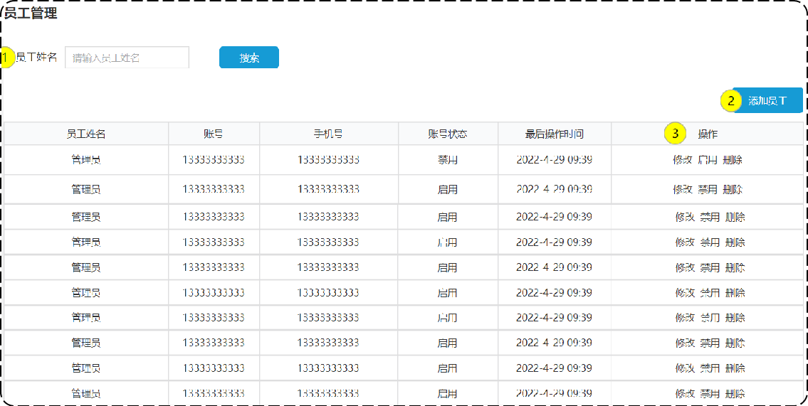
新增员工
-
员工分页查询
-
启用禁用员工账号
-
编辑员工
-
导入分类模块功能代码
功能实现:员工管理、菜品分类管理
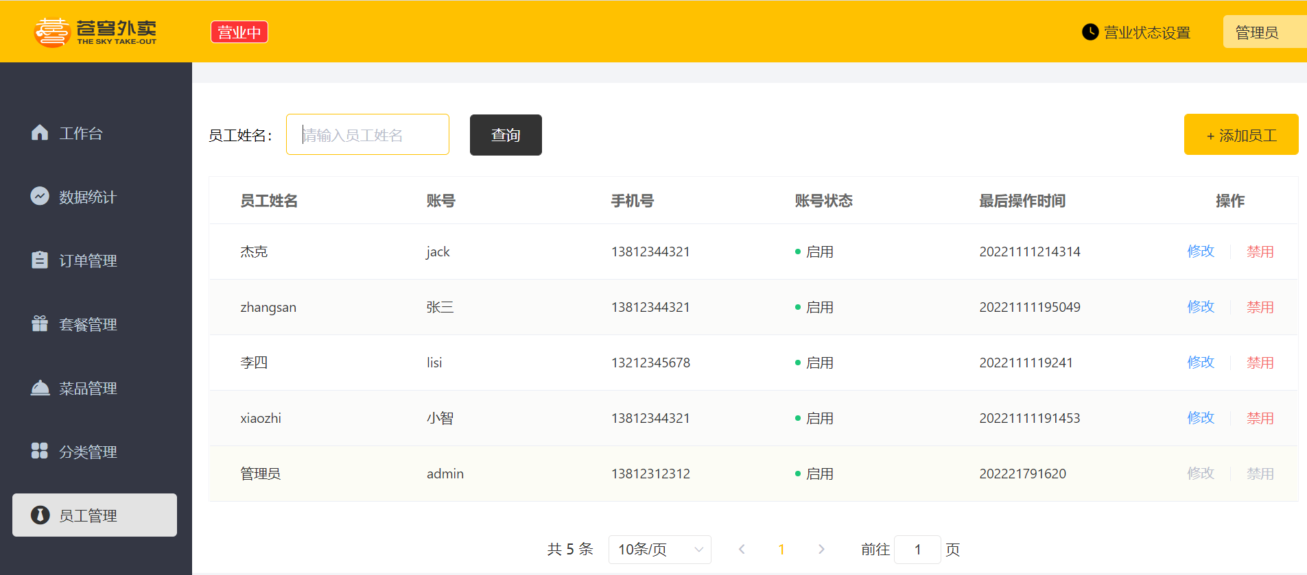
员工管理效果:

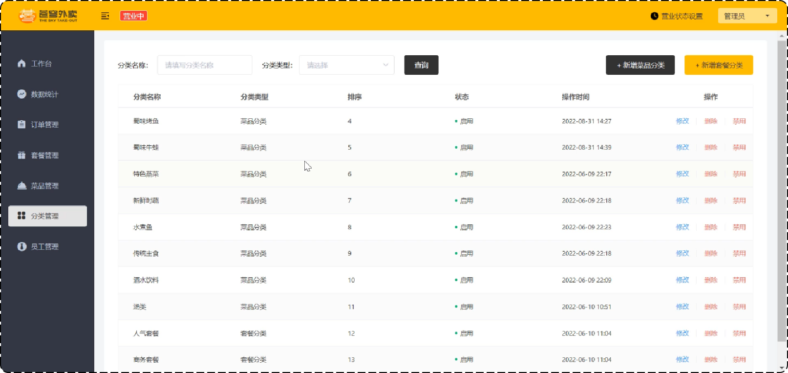
菜品分类管理效果:

1. 新增员工
1.1 需求分析和设计
1.1.1 产品原型
一般在做需求分析时,往往都是对照着产品原型进行分析,因为产品原型比较直观,便于我们理解业务。
后台系统中可以管理员工信息,通过新增员工来添加后台系统用户。
新增员工原型:

当填写完表单信息, 点击"保存"按钮后, 会提交该表单的数据到服务端, 在服务端中需要接受数据, 然后将数据保存至数据库中。
注意事项:
-
账号必须是唯一的
-
手机号为合法的11位手机号码
-
身份证号为合法的18位身份证号码
-
密码默认为123456
1.1.2 接口设计


明确新增员工接口的请求路径、请求方式、请求参数、返回数据。
本项目约定:
-
管理端发出的请求,统一使用/admin作为前缀。
-
用户端发出的请求,统一使用/user作为前缀。
1.1.3 表设计
新增员工,其实就是将我们新增页面录入的员工数据插入到employee表。
employee表结构:
| 字段名 | 数据类型 | 说明 | 备注 |
|---|---|---|---|
| id | bigint | 主键 | 自增 |
| name | varchar(32) | 姓名 | |
| username | varchar(32) | 用户名 | 唯一 |
| password | varchar(64) | 密码 | |
| phone | varchar(11) | 手机号 | |
| sex | varchar(2) | 性别 | |
| id_number | varchar(18) | 身份证号 | |
| status | Int | 账号状态 | 1正常 0锁定 |
| create_time | Datetime | 创建时间 | |
| update_time | datetime | 最后修改时间 | |
| create_user | bigint | 创建人id | |
| update_user | bigint | 最后修改人id |
其中,employee表中的status字段已经设置了默认值1,表示状态正常。

1.2 代码开发
1.2.1 设计DTO类
根据新增员工接口设计对应的DTO
DTO类用来储存前端传递的参数列表(也可以不单独作为一个类,用employee即可,但是这样做更规范,因为employee中有多余的属性值,但当相差的属性值不多时,可以直接采用原始的实体类)
前端传递参数列表与实体类对比:

注意:当前端提交的数据和实体类中对应的属性差别比较大时,建议使用DTO来封装数据
由于上述传入参数和实体类有较大差别,所以自定义DTO类。
进入sky-pojo模块,在com.sky.dto包下,已定义EmployeeDTO
package com.sky.dto;
import lombok.Data;
import java.io.Serializable;
@Data
public class EmployeeDTO implements Serializable {
private Long id;
private String username;
private String name;
private String phone;
private String sex;
private String idNumber;
}
1.2.2 Controller层
EmployeeController中创建新增员工方法
进入到sky-server模块中,在com.sky.controller.admin包下,在EmployeeController中创建新增员工方法,接收前端提交的参数。
/**
* 新增员工
* @param dto
* @return
*/
@ApiOperation("新增员工")
@PostMapping
public Result addEmp(@RequestBody EmployeeDTO dto){
log.info("新增员工:{}",dto);
employeeService.addEmp(dto);
return Result.success();
}
注意新增员工的参数前面要加@RequestBody注解:
@RequestBody的作用
@RequestBody是Spring MVC中的一个注解,主要用于:
指示参数来源:告诉Spring MVC这个参数应该从HTTP请求的正文(body)中获取,而不是从URL参数或表单数据中获取。
触发数据绑定:将HTTP请求正文中的JSON数据自动反序列化并绑定到Java对象上。
内容类型处理:配合Content-Type: application/json请求头,处理JSON格式的请求数据。@RequestBody注解使得Spring MVC能够:
读取请求正文中的JSON数据
将JSON数据自动转换为EmployeeDTO对象
将转换后的对象赋值给dto参数
注:Result类定义了后端统一返回结果格式。
进入sky-common模块,在com.sky.result包下定义了Result.java
package com.sky.result;
import lombok.Data;
import java.io.Serializable;
/**
* 后端统一返回结果
* @param <T>
*/
@Data
public class Result<T> implements Serializable {
private Integer code; //编码:1成功,0和其它数字为失败
private String msg; //错误信息
private T data; //数据
public static <T> Result<T> success() {
Result<T> result = new Result<T>();
result.code = 1;
return result;
}
public static <T> Result<T> success(T object) {
Result<T> result = new Result<T>();
result.data = object;
result.code = 1;
return result;
}
public static <T> Result<T> error(String msg) {
Result result = new Result();
result.msg = msg;
result.code = 0;
return result;
}
}
1.2.3 Service层接口
在EmployeeService接口中声明新增员工方法
进入到sky-server模块中,com.sky.server.EmployeeService
package com.sky.service;
import com.sky.dto.EmployeeDTO;
import com.sky.dto.EmployeeLoginDTO;
import com.sky.entity.Employee;
public interface EmployeeService {
/**
* 员工登录
* @param employeeLoginDTO
* @return
*/
Employee login(EmployeeLoginDTO employeeLoginDTO);
/**
* 新增员工
* @param dto
*/
void addEmp(EmployeeDTO dto);
}
1.2.4 Service层实现类
在EmployeeServiceImpl中实现新增员工方法
com.sky.server.impl.EmployeeServiceImpl中创建方法
/**
* 新增员工
* @param dto
*/
@Override
public void addEmp(EmployeeDTO dto) {
Employee employee = new Employee();
//属性拷贝
BeanUtils.copyProperties(dto,employee);//将dto中的属性值复制给employee
//1.补充缺失的属性值
//补充密码字段,需要进行MD5加密后才能存储到数据库
employee.setPassword(DigestUtils.md5DigestAsHex(PasswordConstant.DEFAULT_PASSWORD.getBytes()));
//设置账号的状态,默认正常状态1表示正常 0表示锁定
employee.setStatus(StatusConstant.ENABLE);
employee.setCreateTime(LocalDateTime.now());
employee.setUpdateTime(LocalDateTime.now());
//TODO:
employee.setCreateUser(10L);
employee.setUpdateUser(10L);
//2.调用mapper的新增方法,将员工对象存入employee表中
employeeMapper.insert(employee);
}
TODO的作用:
TODO 是一种常见的代码注释标记,用于标识代码中需要完成或改进的部分。它的主要作用包括:
1.标记未完成的功能
2.提醒开发者需要处理的事项
3.便于团队协作中的任务分配和跟踪
4.作为代码审查时的检查点
在sky-common模块com.sky.constants包下已定义StatusConstant.java
package com.sky.constant;
/**
* 状态常量,启用或者禁用
*/
public class StatusConstant {
//启用
public static final Integer ENABLE = 1;
//禁用
public static final Integer DISABLE = 0;
}
1.2.5 Mapper层
在EmployeeMapper中声明insert方法
com.sky.EmployeeMapper中添加方法
/**
* 插入员工数据
* @param employee
*/
@Insert("INSERT into employee values (null,#{name},#{username},#{password},#{phone},#{sex},#{idNumber}" +
",#{status},#{createTime},#{updateTime},#{createUser},#{updateUser})")
void insert(Employee employee);
在application.yml中已开启驼峰命名,故id_number和idNumber可对应。
mybatis:
configuration:
#开启驼峰命名
map-underscore-to-camel-case: true
! ! !
新增员工时在mapper层的insert注意不是数据库中表格的字段名,而是定义的实体类中的属性名。
1.3 功能测试
代码已经发开发完毕,对新增员工功能进行测试。
功能测试实现方式:
-
通过接口文档测试
-
通前后端联调测试
接下来我们使用上述两种方式分别测试。
1.3.1 接口文档测试
启动服务:访问http://localhost:8080/doc.html,进入新增员工接口

json数据:
{
"id": 0,
"idNumber": "111222333444555666",
"name": "xiaozhi",
"phone": "13812344321",
"sex": "1",
"username": "小智"
}
响应码:401 报错
通过断点调试:进入到JwtTokenAdminInterceptor拦截器
/**
* 校验jwt
*
* @param request
* @param response
* @param handler
* @return
* @throws Exception
*/
public boolean preHandle(HttpServletRequest request, HttpServletResponse response, Object handler) throws Exception {
//判断当前拦截到的是Controller的方法还是其他资源
if (!(handler instanceof HandlerMethod)) {
//当前拦截到的不是动态方法,直接放行
return true;
}
//1、从请求头中获取令牌 jwtProperties.getAdminTokenName()获取为token
String token = request.getHeader(jwtProperties.getAdminTokenName());
//2、校验令牌
try {
log.info("jwt校验:{}", token);
Claims claims = JwtUtil.parseJWT(jwtProperties.getAdminSecretKey(), token);
Long empId = Long.valueOf(claims.get(JwtClaimsConstant.EMP_ID).toString());
log.info("当前员工id:", empId);
//3、通过,放行
return true;
} catch (Exception ex) {
//4、不通过,响应401状态码
response.setStatus(401);
return false;
}
}
报错原因:由于JWT令牌校验失败,导致EmployeeController的addEmp()方法没有被调用
解决方法:调用员工登录接口获得一个合法的JWT令牌
使用admin用户登录获取令牌

添加令牌:
将合法的JWT令牌添加到全局参数中
文档管理-->全局参数设置-->添加参数

接口测试:

查看employee表:

测试成功。
注意:由于开发阶段前端和后端是并行开发的,后端完成某个功能后,此时前端对应的功能可能还没有开发完成, 导致无法进行前后端联调测试。所以在开发阶段,后端测试主要以接口文档测试为主。
1.4 代码完善
目前,程序存在的问题主要有两个:
-
录入的用户名已存,抛出的异常后没有处理
-
新增员工时,创建人id和修改人id设置为固定值
接下来,我们对上述两个问题依次进行分析和解决。
1.4.1 问题一
描述:录入的用户名已存,抛出的异常后没有处理
分析:
新增username=zhangsan的用户,若employee表中之前已存在。

后台报错信息:

查看employee表结构:

我们发现username已经添加了唯一约束,不能重复。
解决:
通过全局异常处理器来处理。
在GlobalExceptionHandler.java中添加方法,这个异常方法里我们只需要捕获SQL的异常即可
/**
* 捕获SQL异常
* @param ex
* @return
*/
@ExceptionHandler
public Result doSQLException(SQLIntegrityConstraintViolationException ex) {
log.error("异常信息:{}",ex.getMessage());
String message = ex.getMessage();
if (message.contains("Duplicate")) {
return Result.error(message.split(" ")[2] + MessageConstant.ALREADY_EXIST);
}
return Result.error(MessageConstant.UNKNOWN_ERROR);
}
因为在username冲突时,后端会报同样的错误语句,我们可以利用split分割空格得到的数组,获取数组中的下标为2的值,就能捕获异常并把重复的用户名打印出来。
拼接输出的异常信息时,我们可以把"username"后面的已存在设置为常量,避免“魔数”的出现,也可以让代码更加规范,在报错信息的常量类MessageConstant里设置如下:
package com.sky.constant;
/**
* 信息提示常量类
*/
public class MessageConstant {
public static final String PASSWORD_ERROR = "密码错误";
public static final String ACCOUNT_NOT_FOUND = "账号不存在";
public static final String ACCOUNT_LOCKED = "账号被锁定";
public static final String UNKNOWN_ERROR = "未知错误";
public static final String USER_NOT_LOGIN = "用户未登录";
public static final String CATEGORY_BE_RELATED_BY_SETMEAL = "当前分类关联了套餐,不能删除";
public static final String CATEGORY_BE_RELATED_BY_DISH = "当前分类关联了菜品,不能删除";
public static final String SHOPPING_CART_IS_NULL = "购物车数据为空,不能下单";
public static final String ADDRESS_BOOK_IS_NULL = "用户地址为空,不能下单";
public static final String LOGIN_FAILED = "登录失败";
public static final String UPLOAD_FAILED = "文件上传失败";
public static final String SETMEAL_ENABLE_FAILED = "套餐内包含未启售菜品,无法启售";
public static final String PASSWORD_EDIT_FAILED = "密码修改失败";
public static final String DISH_ON_SALE = "起售中的菜品不能删除";
public static final String SETMEAL_ON_SALE = "起售中的套餐不能删除";
public static final String DISH_BE_RELATED_BY_SETMEAL = "当前菜品关联了套餐,不能删除";
public static final String ORDER_STATUS_ERROR = "订单状态错误";
public static final String ORDER_NOT_FOUND = "订单不存在";
public static final String ALREADY_EXIST = "已存在";
}
再次,接口测试:

1.4.2 问题二
描述:新增员工时,我们把表中的创建人id和修改人id设置为固定值10,但是实际开发中需要获取到当前登录人员的id
分析:
/**
* 新增员工
*
* @param employeeDTO
*/
public void save(EmployeeDTO employeeDTO) {
Employee employee = new Employee();
//................
//////////当前设置的id为固定值10//////////
employee.setCreateUser(10L);
employee.setUpdateUser(10L);
//////////////////////////////////////
//.................................
employeeMapper.insert(employee);//后续步骤定义
}
解决:
通过某种方式动态获取当前登录员工的id。

员工登录成功后会生成JWT令牌并响应给前端:
/**
* 登录
*
* @param employeeLoginDTO
* @return
*/
@ApiOperation("员工登录")
@PostMapping("/login")
public Result<EmployeeLoginVO> login(@RequestBody EmployeeLoginDTO employeeLoginDTO) {
log.info("员工登录:{}", employeeLoginDTO);
Employee employee = employeeService.login(employeeLoginDTO);
//登录成功后,生成jwt令牌
Map<String, Object> claims = new HashMap<>();
claims.put(JwtClaimsConstant.EMP_ID, employee.getId());
String token = JwtUtil.createJWT(
jwtProperties.getAdminSecretKey(),
jwtProperties.getAdminTtl(),
claims);
EmployeeLoginVO employeeLoginVO = EmployeeLoginVO.builder()
.id(employee.getId())
.userName(employee.getUsername())
.name(employee.getName())
.token(token)
.build();
return Result.success(employeeLoginVO);
}
在拦截器中我们用解析token获取到了员工id,但是我们最终存入当前id时是在service中操作的,但在拦截器中的员工id是一个局部变量,无法在Service层中使用。
方法一:我们可以获取token,token含有员工id,然后在存入当前员工id前解析token,但是后续有很多新增操作都需要存入员工id,每一次存入前都需要写这段代码,非常冗余。
方法二:另一种方法是把拦截器中的员工id设置为全局变量,这样在别的类中也可以直接使用,但是这种方法会将id直接暴露在所有的类都可以调用和修改非常不安全。
登录方法中,前端会携带JWT令牌,而我们通过令牌可以解析出员工存入的id:
在拦截器类中,我们可以从用JwtUtil.parseJWT(jwtProperties.getAdminSecretKey(), token)解析出员工id:
/**
* jwt令牌校验的拦截器
*/
@Component
@Slf4j
public class JwtTokenAdminInterceptor implements HandlerInterceptor {
@Autowired
private JwtProperties jwtProperties;
/**
* 校验jwt
*
* @param request
* @param response
* @param handler
* @return
* @throws Exception
*/
public boolean preHandle(HttpServletRequest request, HttpServletResponse response, Object handler) throws Exception {
log.info("JwtTokenAdminInterceptor:线程id={}",Thread.currentThread().getId());
//判断当前拦截到的是Controller的方法还是其他资源
if (!(handler instanceof HandlerMethod)) {
//当前拦截到的不是动态方法,直接放行
return true;
}
//1、从请求头中获取令牌
String token = request.getHeader(jwtProperties.getAdminTokenName());
//2、校验令牌
try {
log.info("jwt校验:{}", token);
Claims claims = JwtUtil.parseJWT(jwtProperties.getAdminSecretKey(), token);
Long empId = Long.valueOf(claims.get(JwtClaimsConstant.EMP_ID).toString());
//将获取到的登录人员id存入到TreadLocal中,方便后续使用
//BaseContext.setCurrentId(empId);
log.info("当前员工id:", empId);
//3、通过,放行
return true;
} catch (Exception ex) {
//4、不通过,响应401状态码
response.setStatus(401);
return false;
}
}
}
思考:解析出登录员工id后,如何传递给Service的addEmp方法?
通过ThreadLocal进行传递。
1.4.3 ThreadLocal
介绍:
ThreadLocal 并不是一个Thread,而是Thread的局部变量。 ThreadLocal为每个线程提供单独一份存储空间,具有线程隔离的效果,只有在线程内才能获取到对应的值,线程外则不能访问。
常用方法:
-
public void set(T value) 设置当前线程的线程局部变量的值
-
public T get() 返回当前线程所对应的线程局部变量的值
-
public void remove() 移除当前线程的线程局部变量
对ThreadLocal有了一定认识后,接下来继续解决问题二

一次请求在后端所用的线程是同一个:

发送请求——>拦截器——>Controller——>Service——>Mapper
解析了token可以拿到emp_id,需要在service层拿到拦截器解析出来的emp_id
这就是ThreadLocal的好处,在一条线程上的数据可以共享,我们可以先把emp_id在拦截器中就存入ThreadLocal中的线程局部变量,然后在service再取出就可以用了。
初始工程中已经封装了 ThreadLocal 操作的工具类:
在sky-common模块:
package com.sky.context;
public class BaseContext {
public static ThreadLocal<Long> threadLocal = new ThreadLocal<>();
public static void setCurrentId(Long id) {
threadLocal.set(id);
}
public static Long getCurrentId() {
return threadLocal.get();
}
public static void removeCurrentId() {
threadLocal.remove();
}
}
在拦截器中解析出当前登录员工id,并放入线程局部变量中:
在sky-server模块中,拦截器:
package com.sky.interceptor;
/**
* jwt令牌校验的拦截器
*/
@Component
@Slf4j
public class JwtTokenAdminInterceptor implements HandlerInterceptor {
@Autowired
private JwtProperties jwtProperties;
/**
* 校验jwt
*
* @param request
* @param response
* @param handler
* @return
* @throws Exception
*/
public boolean preHandle(HttpServletRequest request, HttpServletResponse response, Object handler) throws Exception {
//.............................
//2、校验令牌
try {
//.................
Claims claims = JwtUtil.parseJWT(jwtProperties.getAdminSecretKey(), token);
Long empId = Long.valueOf(claims.get(JwtClaimsConstant.EMP_ID).toString());
log.info("当前员工id:", empId);
/////将用户id存储到ThreadLocal////////
BaseContext.setCurrentId(empId);
////////////////////////////////////
//3、通过,放行
return true;
} catch (Exception ex) {
//......................
}
}
}
在Service中获取线程局部变量中的值:
/**
* 新增员工
* @param dto
*/
@Override
public void addEmp(EmployeeDTO dto) {
log.info("EmployeeServiceImpl:线程id={}",Thread.currentThread().getId());
Employee employee = new Employee();
//属性拷贝
BeanUtils.copyProperties(dto,employee);//将dto中的属性值复制给employee
//1.补充缺失的属性值
//补充密码字段,需要进行MD5加密后才能存储到数据库
employee.setPassword(DigestUtils.md5DigestAsHex(PasswordConstant.DEFAULT_PASSWORD.getBytes()));
employee.setStatus(StatusConstant.ENABLE);
employee.setCreateTime(LocalDateTime.now());
employee.setUpdateTime(LocalDateTime.now());
//从ThreadLocal中获取当前登录用户的id
employee.setCreateUser(BaseContext.getCurrentId());
employee.setUpdateUser(BaseContext.getCurrentId());
//2.调用mapper的新增方法,将员工对象存入employee表中
employeeMapper.insert(employee);
}
测试:使用admin(id=1)用户登录后添加一条记录

查看employee表记录

1.5 代码提交

2. 员工分页查询
2.1 需求分析和设计
2.1.1 产品原型
系统中的员工很多的时候,如果在一个页面中全部展示出来会显得比较乱,不便于查看,所以一般的系统中都会以分页的方式来展示列表数据。而在我们的分页查询页面中, 除了分页条件以外,还有一个查询条件 "员工姓名"。
查询员工原型:

业务规则:
-
根据页码展示员工信息
-
每页展示10条数据
-
分页查询时可以根据需要,输入员工姓名进行查询
2.1.2 接口设计


注意事项:
-
请求参数类型为Query,不是json格式提交,在路径后直接拼接。/admin/employee/page?name=zhangsan
-
返回数据中records数组中使用Employee实体类对属性进行封装。
2.2 代码开发
2.2.1 设计DTO类
根据请求参数进行封装,在sky-pojo模块中
package com.sky.dto;
import lombok.Data;
import java.io.Serializable;
@Data
public class EmployeePageQueryDTO implements Serializable {
//员工姓名
private String name;
//页码
private Integer page=1;
//每页显示记录数
private Integer pageSize=10;
}
在EmployeePageQueryDTO类中,page和pageSize使用Integer类型而不是int类型的原因如下:
1. 可以为null
使用Integer包装类型最重要的原因是它可以为null。这在处理分页参数时非常有用:
当前端没有传递分页参数时,这些字段可以保持为null
后端可以更容易地区分"未传递参数"和"传递了参数但值为0"这两种情况
可以在后端设置默认值,用了int类型,当未传递参数时默认会为0,不符合业务需求2. 与Spring MVC的数据绑定机制配合更好
Spring MVC在处理HTTP请求参数时,如果使用基本类型int,当参数缺失时会抛出异常。而使用Integer类型时:
如果参数缺失,字段值为null
可以通过初始化赋值设置默认值
避免了类型转换异常
3. 更好的灵活性
使用Integer类型提供了更大的灵活性4. 符合DTO设计原则
在数据传输对象(DTO)中,通常使用包装类型而非基本类型,因为:
可以更好地表示"无值"状态
与JSON序列化/反序列化配合更好
避免默认值干扰业务逻辑
5. 与分页插件配合
在使用PageHelper等分页插件时,通常需要检查参数是否有效
为什么要实现Serializable接口?
让对象可以被"打包"和"解包":
网络传输 - 对象可以在网络中传输(比如微服务之间调用)
存储到缓存 - 可以存入Redis等缓存系统
保存到文件 - 对象可以保存成文件,需要时再恢复
Session存储 - Web应用中可以保存在用户会话里
项目中的意义
在sky-take-out项目中,虽然目前可能用不上,但实现Serializable接口是为了:
未来扩展:万一以后需要缓存查询结果或分布式部署
规范做法:Java开发的通用做法,特别在企业级项目中
避免问题:防止在某些框架或场景下出现序列化相关的错误
简单类比
就像你要寄一个包裹:
不实现Serializable = 包裹无法打包,不能邮寄
实现Serializable = 包裹可以打包,能邮寄、能存储、能运输
所以这是一个"有备无患"的设计,保证对象在各种场景下都能正常使用。
2.2.2 封装PageResult
后面所有的分页查询,统一都封装为PageResult对象。
在sky-common模块
/**
* 封装分页查询结果
*/
@Data
@AllArgsConstructor
@NoArgsConstructor
public class PageResult implements Serializable {
private long total; //总记录数
private List records; //当前页数据集合
}
员工信息分页查询后端返回的对象类型为: Result<PageResult>
package com.sky.result;
import lombok.Data;
import java.io.Serializable;
/**
* 后端统一返回结果
* @param <T>
*/
@Data
public class Result<T> implements Serializable {
private Integer code; //编码:1成功,0和其它数字为失败
private String msg; //错误信息
private T data; //数据
public static <T> Result<T> success() {
Result<T> result = new Result<T>();
result.code = 1;
return result;
}
public static <T> Result<T> success(T object) {
Result<T> result = new Result<T>();
result.data = object;
result.code = 1;
return result;
}
public static <T> Result<T> error(String msg) {
Result result = new Result();
result.msg = msg;
result.code = 0;
return result;
}
}
2.2.3 Controller层
在sky-server模块中,com.sky.controller.admin.EmployeeController中添加分页查询方法。
/**
* 员工分页查询
* @param dto
* @return
*/
@ApiOperation("员工分页查询")
@GetMapping("/page")
public Result<PageResult> page(EmployeePageQueryDTO dto) {
log.info("员工分页查询{}",dto);
PageResult pageResult = employeeService.page(dto);
return Result.success(pageResult);
}
2.2.4 Service层接口
在EmployeeService接口中声明page方法:
/**
* 分页查询
* @param dto
* @return
*/
PageResult page(EmployeePageQueryDTO dto);
2.2.5 Service层实现类
在EmployeeServiceImpl中实现page方法:
/**
* 分页查询员工--用上分页插件PageHelper
* @param dto
* @return
*/
@Override
public PageResult page(EmployeePageQueryDTO dto) {
//1.设置分页参数
PageHelper.startPage(dto.getPage(),dto.getPageSize());
//2.调用mapper的查询方法,并强转返回类型为Page
Page<Employee> page = employeeMapper.list(dto.getName());
//3.封装PageResult对象并返回
return new PageResult(page.getTotal(),page.getResult());
}
注意:此处使用 mybatis 的分页插件 PageHelper 来简化分页代码的开发。底层基于 mybatis 的拦截器实现。
PageHelper的用法,分页插件一定要再pom文件中导入依赖才可以使用
<dependency>
<groupId>com.github.pagehelper</groupId>
<artifactId>pagehelper-spring-boot-starter</artifactId>
<version>${pagehelper}</version>
</dependency>

Page继承了ArrayList,所以也是一个集合,可以强转为Employee类型,因为最终到页面的数据就是一个个员工列表,然后将total和records封装到PageResult中返回。
2.2.6 Mapper层
在 EmployeeMapper 中声明list 方法:
/**
* 条件查询
* @param name
* @return
*/
Page<Employee> list(String name);
<!--根据姓名模糊查询,需要根据事件倒序排序-->
<select id="list" resultType="com.sky.entity.Employee">
select *
from employee
<where>
<if test="name != null and name != ''">
name like concat('%', #{name}, '%')
</if>
</where>
order by create_time desc
</select>
注意这里的create_time必须是对应数据库里面的字段名。
concat的作用?
concat('%',#{name],'%') 的作用是将三个部分连接起来:
- 第一个 '%' - 百分号,表示任意字符开头
- #{name} - 参数值,即用户输入的搜索关键词
- 第二个 '%' - 百分号,表示任意字符结尾
这样连接后的效果相当于在搜索关键词的前后都加上了通配符%,实现了模糊匹配查询。
举个例子,如果用户搜索关键词是 "pizza",那么:
concat('%', 'pizza', '%') 会生成 '%pizza%'
这样就能匹配到所有包含 "pizza" 的名称,比如 "pizza hut"、"best pizza"、"pizza delivery" 等为什么要使用 concat 函数而不是直接写 '%#{name}%' 呢?
这是出于以下考虑:
安全性:使用 #{name} 占位符可以防止SQL注入攻击,MyBatis会自动进行参数转义
规范性:这是一种标准的模糊查询写法,在各种数据库系统中都有良好的兼容性
可读性:明确地展示了模糊匹配的逻辑,便于理解和维护
这也是项目中定义的MyBatis模糊查询规范的要求:
使用 concat('%', #{value}, '%') 格式实现模糊查询
禁止字符串拼接
必须使用 #{} 占位符防止SQL注入
最后注意xml中的语句结束不能加分号
2.3 功能测试
可以通过接口文档进行测试,也可以进行前后端联调测试。
接下来使用两种方式分别测试:
2.3.1 接口文档测试
重启服务:访问http://localhost:8080/doc.html,进入员工分页查询

响应结果:

2.3.2 前后端联调测试
点击员工管理

输入员工姓名为zhangsan

不难发现,最后操作时间格式不清晰,在代码完善中解决。

2.4 代码完善
问题描述:操作时间字段显示有问题。原因是在配置类中有如下代码:

这个父类WebMvcConfigurationSupport有很多自带的序列化对象映射器,会将时间转换为类似数组的格式。

解决方式:
1). 方式一
在属性上加上注解,对日期进行格式化
但这种方式,需要在每个时间属性上都要加上该注解,使用较麻烦,不能全局处理。

2). 方式二(推荐 )
在WebMvcConfiguration中扩展SpringMVC的消息转换器,统一对日期类型进行格式处理
/**
* 扩展消息转换器,将String类型的json转换成对象
* @param converters
*/
@Override
protected void extendMessageConverters(List<HttpMessageConverter<?>> converters) {
log.info("扩展消息转换器对象...");
//1.创建消息转换器对象
MappingJackson2HttpMessageConverter converter = new MappingJackson2HttpMessageConverter();
//2.设置自定义的消息对象转换器
converter.setObjectMapper(new JacksonObjectMapper());
//3.将自定义的消息对象转换器设置为优先级最高
converters.add(0, converter);
}
时间格式的定义是在JacksonObjectMapper类中:
/**
* 对象映射器:基于jackson将Java对象转为json,或者将json转为Java对象
* 将JSON解析为Java对象的过程称为 [从JSON反序列化Java对象]
* 从Java对象生成JSON的过程称为 [序列化Java对象到JSON]
*/
public class JacksonObjectMapper extends ObjectMapper {
public static final String DEFAULT_DATE_FORMAT = "yyyy-MM-dd";
//public static final String DEFAULT_DATE_TIME_FORMAT = "yyyy-MM-dd HH:mm:ss";
public static final String DEFAULT_DATE_TIME_FORMAT = "yyyy-MM-dd HH:mm";
public static final String DEFAULT_TIME_FORMAT = "HH:mm:ss";
public JacksonObjectMapper() {
super();
//收到未知属性时不报异常
this.configure(FAIL_ON_UNKNOWN_PROPERTIES, false);
//反序列化时,属性不存在的兼容处理
this.getDeserializationConfig().withoutFeatures(DeserializationFeature.FAIL_ON_UNKNOWN_PROPERTIES);
SimpleModule simpleModule = new SimpleModule()
.addDeserializer(LocalDateTime.class, new LocalDateTimeDeserializer(DateTimeFormatter.ofPattern(DEFAULT_DATE_TIME_FORMAT)))
.addDeserializer(LocalDate.class, new LocalDateDeserializer(DateTimeFormatter.ofPattern(DEFAULT_DATE_FORMAT)))
.addDeserializer(LocalTime.class, new LocalTimeDeserializer(DateTimeFormatter.ofPattern(DEFAULT_TIME_FORMAT)))
.addSerializer(LocalDateTime.class, new LocalDateTimeSerializer(DateTimeFormatter.ofPattern(DEFAULT_DATE_TIME_FORMAT)))
.addSerializer(LocalDate.class, new LocalDateSerializer(DateTimeFormatter.ofPattern(DEFAULT_DATE_FORMAT)))
.addSerializer(LocalTime.class, new LocalTimeSerializer(DateTimeFormatter.ofPattern(DEFAULT_TIME_FORMAT)));
//注册功能模块 例如,可以添加自定义序列化器和反序列化器
this.registerModule(simpleModule);
}
}
3. 启用禁用员工账号
3.1 需求分析与设计
3.1.1 产品原型
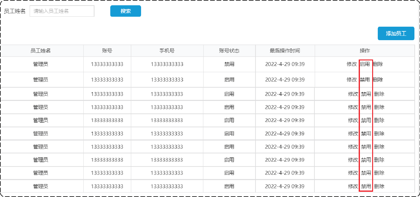
在员工管理列表页面,可以对某个员工账号进行启用或者禁用操作。账号禁用的员工不能登录系统,启用后的员工可以正常登录。如果某个员工账号状态为正常,则按钮显示为 "禁用",如果员工账号状态为已禁用,则按钮显示为"启用"。
启禁用员工原型:

业务规则:
-
可以对状态为“启用” 的员工账号进行“禁用”操作
-
可以对状态为“禁用”的员工账号进行“启用”操作
-
状态为“禁用”的员工账号不能登录系统
3.1.2 接口设计


1). 路径参数携带状态值。
2). 同时,把id传递过去,明确对哪个用户进行操作。
3). 返回数据code状态是必须,其它是非必须。
3.2 代码开发
3.2.1 Controller层
在sky-server模块中,根据接口设计中的请求参数形式对应的在 EmployeeController 中创建启用禁用员工账号的方法:
/**
* 启用禁用员工账号
* @param status
* @param id
* @return
*/
@ApiOperation("启用禁用员工账号")
@PostMapping("/status/{status}")
public Result enableOrDisable(@PathVariable Integer status,Long id) {
log.info("员工状态修改:status={},id={}",status, id);
employeeService.enableOrDisable(status,id);
return Result.success();
}
注意:这里要传入路径参数,需要加上@PathVaiable注解。
3.2.2 Service层接口
在 EmployeeService 接口中声明启用禁用员工账号的业务方法:
/**
* 启用禁用员工账号
* @param status
* @param id
*/
void enableOrDisable(Integer status, Long id);
3.2.3 Service层实现类
在 EmployeeServiceImpl 中实现启用禁用员工账号的业务方法:
/**
* 启用禁用员工账号
* @param status
* @param id
*/
@Override
public void enableOrDisable(Integer status, Long id) {
Employee employee = Employee.builder()
.id(id)
.status(status)
.updateTime(LocalDateTime.now())
.updateUser(BaseContext.getCurrentId())
.build();
employeeMapper.update(employee);
}
注意这里面得到updateUser依然是用ThreadLocal线程局部变量中存的id来获取。
启用禁用员工账号有很多要修改的地方,传统的修改方式是用一堆set方法一个一个修改,但是我们可以在employee类的上方加上@Builder注解:
- 只需要更新部分字段(status, updateTime, updateUser)
- 保持代码简洁和可读性
- 明确表达了只更新特定字段的意图
3.2.4 Mapper层
在 EmployeeMapper 接口中声明 update 方法:
/**
* 更新员工(包括更新状态)
* @param employee
* @return
*/
//update employee set name = #{name} where id = #{id}
void update(Employee employee);
在 EmployeeMapper.xml 中编写SQL:
<!--更新员工状态-->
<update id="update">
update employee
<set>
<if test="name != null">name = #{name},</if>
<if test="username != null">username = #{username},</if>
<if test="password != null">password = #{password},</if>
<if test="phone != null">phone = #{phone},</if>
<if test="sex != null">sex = #{sex},</if>
<if test="idNumber != null">id_Number = #{idNumber},</if>
<if test="updateTime != null">update_Time = #{updateTime},</if>
<if test="updateUser != null">update_User = #{updateUser},</if>
<if test="status != null">status = #{status},</if>
</set>
where id = #{id}
</update>
3.3 功能测试
3.3.1 前后端联调测试
测试前,查询employee表中员工账号状态


点击启用:

4. 编辑员工
4.1 需求分析与设计
4.1.1 产品原型
在员工管理列表页面点击 "编辑" 按钮,跳转到编辑页面,在编辑页面回显员工信息并进行修改,最后点击 "保存" 按钮完成编辑操作。
员工列表原型:

修改页面原型:
注:点击修改时,数据应该正常回显到修改页面。

4.1.2 接口设计
根据上述原型图分析,编辑员工功能涉及到两个接口:
-
根据id查询员工信息
-
编辑员工信息
1). 根据id查询员工信息


注:因为是修改功能,请求方式可设置为PUT。
4.2 代码开发
4.2.1 回显员工信息功能
1). Controller层
在 EmployeeController 中创建 getById 和update 方法:
/**
* 回显员工
* @param id
* @return
*/
@ApiOperation("回显员工")
@GetMapping("/{id}")
public Result<Employee> getById(@PathVariable Long id) {
log.info("回显员工:{}",id);
Employee employee = employeeService.getById(id);
return Result.success(employee);
}
/**
* 修改员工信息
* @param dto
* @return
*/
@ApiOperation("编辑员工信息")
@PutMapping
public Result update(@RequestBody EmployeeDTO dto) {
log.info("编辑员工信息:{}",dto);
employeeService.update(dto);
return Result.success();
}
2). Service层接口
在 EmployeeService 接口中声明 getById 方法:
/**
* 根据id查询员工信息
* @param id
* @return
*/
Employee getById(Long id);
/**
* 编辑员工信息
* @param dto
*/
void update(EmployeeDTO dto);
3). Service层实现类
在 EmployeeServiceImpl 中实现 getById 方法:
/**
* 回显员工
* @param id
* @return
*/
@Override
public Employee getById(Long id) {
return employeeMapper.getById(id);
}
/**
* 编辑员工信息
* @param dto
*/
@Override
public void update(EmployeeDTO dto) {
Employee employee = new Employee();
//拷贝属性值
BeanUtils.copyProperties(dto,employee);
//补充更新时间和更新人
employee.setUpdateTime(LocalDateTime.now());
employee.setUpdateUser(BaseContext.getCurrentId());
employeeMapper.update(employee);
}
注意这里有一个方法BeanUtils.copyProperties(dto,employee);是用来拷贝属性值,第一个参数是原来的实体类,第二个参数是目标实体类。
4). Mapper层
在 EmployeeMapper 接口中声明 getById 方法:
/**
* 更新员工(包括更新状态)
* @param employee
* @return
*/
//update employee set name = #{name} where id = #{id}
void update(Employee employee);
/**
* 根据id查询员工
* @param id
* @return
*/
Employee getById(Long id);
<!--根据id查询员工-->
<select id="getById" resultType="com.sky.entity.Employee">
select * from employee where id = #{id}
</select>
4.3 功能测试
4.3.1 接口文档测试
分别测试根据id查询员工信息和编辑员工信息两个接口
1). 根据id查询员工信息
查询employee表中的数据,以id=4的记录为例

2). 编辑员工信息
修改id=4的员工信息,name由zhangsan改为张三丰,username由张三改为zhangsanfeng。
查看employee表数据

4.3.2 前后端联调测试
进入到员工列表查询

对员工姓名为杰克的员工数据修改,点击修改,数据已回显

修改后,点击保存

4.4 代码提交

5. 导入分类模块功能代码
5.1 需求分析与设计
5.1.1 产品原型
后台系统中可以管理分类信息,分类包括两种类型,分别是 菜品分类 和 套餐分类 。
先来分析菜品分类相关功能。
新增菜品分类:当我们在后台系统中添加菜品时需要选择一个菜品分类,在移动端也会按照菜品分类来展示对应的菜品。
菜品分类分页查询:系统中的分类很多的时候,如果在一个页面中全部展示出来会显得比较乱,不便于查看,所以一般的系统中都会以分页的方式来展示列表数据。
根据id删除菜品分类:在分类管理列表页面,可以对某个分类进行删除操作。需要注意的是当分类关联了菜品或者套餐时,此分类不允许删除。
修改菜品分类:在分类管理列表页面点击修改按钮,弹出修改窗口,在修改窗口回显分类信息并进行修改,最后点击确定按钮完成修改操作。
启用禁用菜品分类:在分类管理列表页面,可以对某个分类进行启用或者禁用操作。
分类类型查询:当点击分类类型下拉框时,从数据库中查询所有的菜品分类数据进行展示。
分类管理原型:

业务规则:
-
分类名称必须是唯一的
-
分类按照类型可以分为菜品分类和套餐分类
-
新添加的分类状态默认为“禁用”
5.1.2 接口设计
根据上述原型图分析,菜品分类模块共涉及6个接口。
-
新增分类
-
分类分页查询
-
根据id删除分类
-
修改分类
-
启用禁用分类
-
根据类型查询分类
接下来,详细地分析每个接口。
找到资料-->项目接口文档-->苍穹外卖-管理端接口.html
1). 新增分类

2). 分类分页查询

3). 根据id删除分类

4). 修改分类

5). 启用禁用分类

6). 根据类型查询分类

5.1.3 表设计
category表结构:
| 字段名 | 数据类型 | 说明 | 备注 |
|---|---|---|---|
| id | bigint | 主键 | 自增 |
| name | varchar(32) | 分类名称 | 唯一 |
| type | int | 分类类型 | 1菜品分类 2套餐分类 |
| sort | int | 排序字段 | 用于分类数据的排序 |
| status | int | 状态 | 1启用 0禁用 |
| create_time | datetime | 创建时间 | |
| update_time | datetime | 最后修改时间 | |
| create_user | bigint | 创建人id | |
| update_user | bigint | 最后修改人id |
5.2 代码
5.2.1 Mapper层
DishMapper.java
package com.sky.mapper;
import org.apache.ibatis.annotations.Mapper;
import org.apache.ibatis.annotations.Select;
@Mapper
public interface DishMapper {
/**
* 根据分类id查询菜品数量
* @param categoryId
* @return
*/
@Select("select count(id) from dish where category_id = #{categoryId}")
Integer countByCategoryId(Long categoryId);
}
SetmealMapper.java
package com.sky.mapper;
import org.apache.ibatis.annotations.Mapper;
import org.apache.ibatis.annotations.Select;
@Mapper
public interface SetmealMapper {
/**
* 根据分类id查询套餐的数量
* @param id
* @return
*/
@Select("select count(id) from setmeal where category_id = #{categoryId}")
Integer countByCategoryId(Long id);
}
CategoryMapper.java
package com.sky.mapper;
import com.github.pagehelper.Page;
import com.sky.enumeration.OperationType;
import com.sky.dto.CategoryPageQueryDTO;
import com.sky.entity.Category;
import org.apache.ibatis.annotations.Delete;
import org.apache.ibatis.annotations.Insert;
import org.apache.ibatis.annotations.Mapper;
import java.util.List;
@Mapper
public interface CategoryMapper {
/**
* 插入数据
* @param category
*/
@Insert("insert into category(type, name, sort, status, create_time, update_time, create_user, update_user)" +
" VALUES" +
" (#{type}, #{name}, #{sort}, #{status}, #{createTime}, #{updateTime}, #{createUser}, #{updateUser})")
void insert(Category category);
/**
* 分页查询
* @param categoryPageQueryDTO
* @return
*/
Page<Category> pageQuery(CategoryPageQueryDTO categoryPageQueryDTO);
/**
* 根据id删除分类
* @param id
*/
@Delete("delete from category where id = #{id}")
void deleteById(Long id);
/**
* 根据id修改分类
* @param category
*/
void update(Category category);
/**
* 根据类型查询分类
* @param type
* @return
*/
List<Category> list(Integer type);
}
CategoryMapper.xml,进入到resources/mapper目录下
<?xml version="1.0" encoding="UTF-8" ?>
<!DOCTYPE mapper PUBLIC "-//mybatis.org//DTD Mapper 3.0//EN"
"http://mybatis.org/dtd/mybatis-3-mapper.dtd" >
<mapper namespace="com.sky.mapper.CategoryMapper">
<select id="pageQuery" resultType="com.sky.entity.Category">
select * from category
<where>
<if test="name != null and name != ''">
and name like concat('%',#{name},'%')
</if>
<if test="type != null">
and type = #{type}
</if>
</where>
order by sort asc , create_time desc
</select>
<update id="update" parameterType="Category">
update category
<set>
<if test="type != null">
type = #{type},
</if>
<if test="name != null">
name = #{name},
</if>
<if test="sort != null">
sort = #{sort},
</if>
<if test="status != null">
status = #{status},
</if>
<if test="updateTime != null">
update_time = #{updateTime},
</if>
<if test="updateUser != null">
update_user = #{updateUser}
</if>
</set>
where id = #{id}
</update>
<select id="list" resultType="Category">
select * from category
where status = 1
<if test="type != null">
and type = #{type}
</if>
order by sort asc,create_time desc
</select>
</mapper>
5.2.2 Service层
CategoryService.java
package com.sky.service;
import com.sky.dto.CategoryDTO;
import com.sky.dto.CategoryPageQueryDTO;
import com.sky.entity.Category;
import com.sky.result.PageResult;
import java.util.List;
public interface CategoryService {
/**
* 新增分类
* @param categoryDTO
*/
void save(CategoryDTO categoryDTO);
/**
* 分页查询
* @param categoryPageQueryDTO
* @return
*/
PageResult pageQuery(CategoryPageQueryDTO categoryPageQueryDTO);
/**
* 根据id删除分类
* @param id
*/
void deleteById(Long id);
/**
* 修改分类
* @param categoryDTO
*/
void update(CategoryDTO categoryDTO);
/**
* 启用、禁用分类
* @param status
* @param id
*/
void startOrStop(Integer status, Long id);
/**
* 根据类型查询分类
* @param type
* @return
*/
List<Category> list(Integer type);
}
EmployeeServiceImpl.java
/**
* 分类业务层
*/
@Service
@Slf4j
public class CategoryServiceImpl implements CategoryService {
@Autowired
private CategoryMapper categoryMapper;
@Autowired
private DishMapper dishMapper;
@Autowired
private SetmealMapper setmealMapper;
/**
* 新增分类
* @param categoryDTO
*/
public void save(CategoryDTO categoryDTO) {
Category category = new Category();
//属性拷贝
BeanUtils.copyProperties(categoryDTO, category);
//分类状态默认为禁用状态0
category.setStatus(StatusConstant.DISABLE);
//设置创建时间、修改时间、创建人、修改人
category.setCreateTime(LocalDateTime.now());
category.setUpdateTime(LocalDateTime.now());
category.setCreateUser(BaseContext.getCurrentId());
category.setUpdateUser(BaseContext.getCurrentId());
categoryMapper.insert(category);
}
/**
* 分页查询
* @param categoryPageQueryDTO
* @return
*/
public PageResult pageQuery(CategoryPageQueryDTO categoryPageQueryDTO) {
PageHelper.startPage(categoryPageQueryDTO.getPage(),categoryPageQueryDTO.getPageSize());
//下一条sql进行分页,自动加入limit关键字分页
Page<Category> page = categoryMapper.pageQuery(categoryPageQueryDTO);
return new PageResult(page.getTotal(), page.getResult());
}
/**
* 根据id删除分类
* @param id
*/
public void deleteById(Long id) {
//查询当前分类是否关联了菜品,如果关联了就抛出业务异常
Integer count = dishMapper.countByCategoryId(id);
if(count > 0){
//当前分类下有菜品,不能删除
throw new DeletionNotAllowedException(MessageConstant.CATEGORY_BE_RELATED_BY_DISH);
}
//查询当前分类是否关联了套餐,如果关联了就抛出业务异常
count = setmealMapper.countByCategoryId(id);
if(count > 0){
//当前分类下有菜品,不能删除
throw new DeletionNotAllowedException(MessageConstant.CATEGORY_BE_RELATED_BY_SETMEAL);
}
//删除分类数据
categoryMapper.deleteById(id);
}
/**
* 修改分类
* @param categoryDTO
*/
public void update(CategoryDTO categoryDTO) {
Category category = new Category();
BeanUtils.copyProperties(categoryDTO,category);
//设置修改时间、修改人
category.setUpdateTime(LocalDateTime.now());
category.setUpdateUser(BaseContext.getCurrentId());
categoryMapper.update(category);
}
/**
* 启用、禁用分类
* @param status
* @param id
*/
public void startOrStop(Integer status, Long id) {
Category category = Category.builder()
.id(id)
.status(status)
.updateTime(LocalDateTime.now())
.updateUser(BaseContext.getCurrentId())
.build();
categoryMapper.update(category);
}
/**
* 根据类型查询分类
* @param type
* @return
*/
public List<Category> list(Integer type) {
return categoryMapper.list(type);
}
}
5.2.3 Controller层
CategoryController.java
/**
* 分类管理
*/
@RestController
@RequestMapping("/admin/category")
@Api(tags = "分类相关接口")
@Slf4j
public class CategoryController {
@Autowired
private CategoryService categoryService;
/**
* 新增分类
* @param categoryDTO
* @return
*/
@PostMapping
@ApiOperation("新增分类")
public Result<String> save(@RequestBody CategoryDTO categoryDTO){
log.info("新增分类:{}", categoryDTO);
categoryService.save(categoryDTO);
return Result.success();
}
/**
* 分类分页查询
* @param categoryPageQueryDTO
* @return
*/
@GetMapping("/page")
@ApiOperation("分类分页查询")
public Result<PageResult> page(CategoryPageQueryDTO categoryPageQueryDTO){
log.info("分页查询:{}", categoryPageQueryDTO);
PageResult pageResult = categoryService.pageQuery(categoryPageQueryDTO);
return Result.success(pageResult);
}
/**
* 删除分类
* @param id
* @return
*/
@DeleteMapping
@ApiOperation("删除分类")
public Result<String> deleteById(Long id){
log.info("删除分类:{}", id);
categoryService.deleteById(id);
return Result.success();
}
/**
* 修改分类
* @param categoryDTO
* @return
*/
@PutMapping
@ApiOperation("修改分类")
public Result<String> update(@RequestBody CategoryDTO categoryDTO){
categoryService.update(categoryDTO);
return Result.success();
}
/**
* 启用、禁用分类
* @param status
* @param id
* @return
*/
@PostMapping("/status/{status}")
@ApiOperation("启用禁用分类")
public Result<String> startOrStop(@PathVariable("status") Integer status, Long id){
categoryService.startOrStop(status,id);
return Result.success();
}
/**
* 根据类型查询分类
* @param type
* @return
*/
@GetMapping("/list")
@ApiOperation("根据类型查询分类")
public Result<List<Category>> list(Integer type){
List<Category> list = categoryService.list(type);
return Result.success(list);
}
}
5.3 功能测试
分页查询:

分类类型:

启用禁用:

点击禁用:

修改:
回显

修改后

新增:

点击确定,查询列表

删除:

1175

被折叠的 条评论
为什么被折叠?



