java-springboot在线天气查询系统n07psust计算机毕业设计(配套有源码 程序 mysql数据库 论文)
本套源码可以在文本联xi,先看具体系统功能演示视频领取,可分享源码参考。
极端高温、暴雨、沙尘暴轮番登上热搜,“明天穿什么、能不能洗车、要不要带伞”成了全民每日三连问。把墨迹天气的简洁与中央气象台的专业合二为一,做自己的天气中台——用一套开源代码聚合全球气象接口,让数据在图表、地图、新闻推送里跑起来,是技术人能给生活场景最直观的小确幸。
系统采用 Java + SpringBoot + MySQL + Vue,B/S 架构,Windows 开发、Linux 可部署;对接第三方气象 API,5 分钟刷新一次,支持城市搜索、地图点选、订阅提醒,前台秒开,后台一键爬取。
功能全集(已上线,点开即用)
-
登录 / 注册 / 密码找回
-
用户管理(账号、姓名、性别、电话、身份证、头像)
-
天气信息管理(城市、封面图、日期、气温、风向、风速、紫外线、穿衣指数、空气指数、降雨、注意事项、天气描述、评论数、收藏数)
-
天气预警管理(温度、预警提醒、图片、提醒类型、日期)
-
天气新闻管理(标题、简介、分类、发布人、点击、点赞、收藏、富文本内容)
-
天气新闻分类(动态栏目,可扩展)
-
收藏功能(天气、新闻一键收藏,支持重复取消)
-
评论与回复(天气信息评论区、头像、昵称、回复追评)
-
轮播图管理(首页大图后台即时更换)
-
系统配置(参数、开关、关于我们统一入口)
-
个人中心(资料修改、密码修改、我的收藏)
-
城市搜索与地图定位(支持拼音、汉字模糊搜索,地图点选自动回填)
-
订阅提醒(高温、暴雨、大风微信/邮件推送)
-
数据可视化(气温折线图、降雨量柱状图、风速玫瑰图)
-
数据导出(用户、天气日志 Excel 一键生成)
-
操作日志(登录、关键操作全程留痕)
-
数据库备份与恢复(后台一键 SQL dump)
一句话总结:把“气温、风向、降雨、预警、新闻”装进 17 个可搜可订可导的功能按钮,让天气查询从“打开网页”变成“秒开即所得”。
注:以上是纯课题毕业设计功能介绍,并非实际开发完成,最终开发完成的毕业设计程序以下面的的环境软件、功能图和界面为准。
系统所需要的环境软件:idea、eclipse+mysql5.7、8.0+Navicat+JDK1.8+tomcat7.0
3系统分析
3.1整体分析
系统分析主要分为需求分析和功能分析两种。需求分析的意义在于更快速地整理和分析系统的架构逻辑,而功能分析则旨在更快地处理系统的详细部分。
根据调查资料,在线天气查询系统主要供内部使用,为使用者提供天气查询管理服务来支持。该管理系统的设计和实现主要是为了解决当前天气查询管理繁琐的问题,实现高效的规范化管理。该系统不仅需要满足当前的需要,还需要具备良好的可扩展性,以满足未来发展的需求。
该系统采用分模块设计,实现了用户管理、天气信息管理、天气预警管理、系统管理、用户中心的一体化管理。此外,该系统采用B/S结构,易于上手,只需几次体验即可熟练使用各种功能。
3.2功能需求分析
天气查询管理是当今社会信息交流中的重要组成部分。本文将分析天气查询管理的需求和现状,以使本系统的设计实现具有实际使用价值。我们的目标是创建一个实用性强的在线天气查询系统,以满足用户需求,并让用户能够更便捷地进行天气查询。
设计开发在线天气查询系统的主要目的是简化天气查询管理,使管理员能够更高效地完成工作,并在管理过程中实现快速高效的工作效率。
本文从满足天气查询管理的实际需求出发,为了降低系统的耦合性,采用了SPRINGBOOT框架集来完成系统总体架构的设计,以提高系统的重用性、适用性和可维护性。
系统包括管理员和用户两个角色;
管理员用例如下所示:
图3-1 管理员用例图
用户用例如下所示:
图3-2 用户用例图
3.3系统可行性分析
3.3.1技术可行性
技术可行性研究是否通过,取决于对目前技术和硬件设备的分析。在系统软件开发中,我们将使用Java作为计算机语言。自问世以来,Java语言不断得到强化和完善,具有广泛的运用覆盖面和开发必需性。同时,我们还将应用MySQL数据库作为数据存储,该数据库具有高度的安全性和低配备要求,是一种常用的数据库。前端开发将采用Java技术,使得网页设计既美观又方便维护。最后,我们将使用IDEA作为开发环境,因为它包含了框架和函数等资源,可以立即应用。综上所述,从技术角度来看,本项目是可行的。
3.3.2经济可行性
在经济发展的可行性分析中,需要从开发商的经济发展能力和用户必要的成本费用两个层面进行剖析。为了降低项目成本,系统软件可以采用开源版本的IDEA。数据库查询可以使用开源的MySQL数据库,并在配置好操作系统的计算机上进行。用户通常选择Tomcat 7.0作为系统软件所在的网络服务器,并使用出色的IE、火狐和Google等浏览器全面展示CSS网页页面,以推动系统的升级维护和控制成本。从经济层面考虑,进行开发是没有障碍的。
3.3.3操作可行性
这个在线天气查询系统采用B/S架构,用户无需安装其他软件即可轻松掌握和熟练使用。同时,由于系统基于Web,可以实现客户端的请求与服务器的端口组件之间的交互,确保数据库文件的数据一致性并得出结论。为了更好地组织和存储数据,数据库能够确保数据的一致性。一旦对数据进行操作,工作将变得更加简易,工作量也会降低。所有操作都由系统自身完成,大大减少了工作人员的工作量,并使他们更便捷地掌握整个操作过程。这不仅提高了工作效率,还降低了错误率。从经济、技术和操作角度来看,该系统符合要求,并且具有可行性。
经过总结,该系统在经济、技术和操作方面都符合要求,并且是具有可行性的。
3.4系统流程分析
3.4.1操作流程
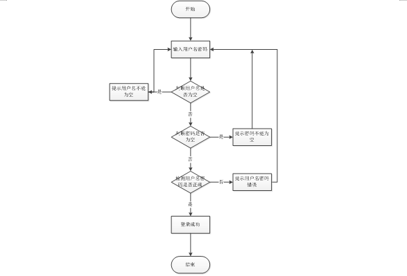
首先是系统的登录页面。用户进入页面后,可以进行登录和注册操作。点击登录后,会弹出一个登录提示框,向用户传达信息:需要输入用户名和密码才能进行下一步操作。用户完成输入后,系统会将输入的信息提交给后台,并与数据库中的信息记录进行比较判断。判断主要包括三个方面:检查用户名是否为空、检查密码是否为空以及检查用户名和密码是否匹配。只有当以上三个条件同时满足,即数据库中的信息匹配正确时,登录才视为成功,用户才能进行后续操作。如果其中任何一条条件不满足,系统会提示登录错误,需要重新登录。系统登录流程图如图3-3所示:
图3-3登录流程图
3.4.2添加信息流程
然后是添加信息的页面。进入该页面后,页面会出现一个提示框,示意操作者可以进行信息的添加,从而进行下一步的操作。用户输入想要添加的信息后提交,系统会对输入的内容进行检测。如果检测后输入的信息正确,则会出现“添加成功”的提示框,从而可以进行下一步操作;如果系统检测后检测到想要添加的信息不符合规范要求,则会提示报错,需要进行修改后重新添加。添加信息流程图如图3-4所示:
图3-4添加信息流程图
3.4.3删除信息流程
最后为删除信息页面。进入该页面后,用户可以对所要删除的信息进行选择,选择好删除的内容后,会有一个“是否确认删除”的提示框,操作者可以根据自己的意愿来选择“是”或“否”。完成上述操作,系统会自动的对删除的内容进行判断,如果符合删除要求则会成功删除数据记录,并且更新数据库的内容信息;如果删除的数据记录不符合要求,则会有一个“删除失败”的提示框,操作人员需要根据提示来进行修改,修改完成后重新删除知道删除成功。删除信息流程图如图3-5所示:
图3-5删除信息流程图
4 系统设计
4.1系统体系结构
在线天气查询系统的结构图4-1所示:

图4-1系统结构
登录系统结构图,如图4-2所示:

图4-2登录结构图
4.2系统总功能结构设计
系统按照用户的实际需求开发而来,贴近生活。从管理员通过正确的账号的密码进入系统,可以使用相关的系统应用。管理员总体负责整体系统的运行维护,统筹协调。
系统整体模块设计:系统分为管理员和用户两大角色,系统管理员有最大的权限,总体功能展示如图4-3所示。

图4-3 系统总体功能图
4.3数据库设计
数据库设计(Database Design)是针对特定的数据库管理体系,针对特定的数据库进行结构和构建的流程。
在信息系统的开发与推荐中,数据库的设计是实现数据库与应用的关键技术。因为数据库应用系统的复杂性,使得数据库的开发工作非常复杂,所以优化的设计不是一朝一夕就可以完成的,而是一个“循序渐进”的过程,即将数据库中的数据目标和它们的相互关系进行计划和组织。
通过对在线天气查询系统的主要功能信息进行规划并分为若干功能实体信息,实体信息将使用E-R图加以表示,本系统的主要功能实体图如下图所示:

图4-4局部E-R图
5 系统软件功能的具体实现
5.1系统功能实现
当人们打开系统的网址后,首先看到的就是首页界面。在这里,人们能够看到系统的导航条,通过导航条导航进入各功能展示页面进行操作。系统首页界面如图5-1所示:

图5-1 系统首页界面
在注册流程中,用户在Vue前端填写必要信息(如用户账号、密码等)并提交。前端将这些信息通过HTTP请求发送到Java后端。后端处理这些信息,检查用户名是否唯一,并将新用户数据存入MySQL数据库。完成后,后端向前端发送注册成功的确认,前端随后通知用户完成注册。这个过程实现了新用户的数据收集、验证和存储。系统注册页面如图5-2所示:

图5-2系统注册页面
天气信息:在天气信息页面的输入栏中输入城市和日期进行查询,可以查看到天气信息详情,并进行收藏或评论操作;天气信息详细页面如图5-3所示:

图5-3天气信息详细页面
个人中心:在个人中心页面可以对修改密码、我的收藏进行详细操作;如图5-4所示:

图5-4个人中心界面
5.2后台管理员功能实现
在登录流程中,用户首先在Vue前端界面输入用户名和密码。这些信息通过HTTP请求发送到Java后端。后端接收请求,通过与MySQL数据库交互验证用户凭证。如果认证成功,后端会返回给前端,允许用户访问系统。这个过程涵盖了从用户输入到系统验证和响应的全过程。如图5-5所示。

图5-5管理员登录界面
管理员进入主页面,主要功能包括对用户管理、天气信息管理、天气预警管理、系统管理、用户中心等进行操作。管理员主界面如图5-6所示:

图5-6管理员主界面
用户管理功能在视图层(view层)进行交互,比如点击“探寻、增添或移除”按钮或填写用户表单。这些用户表单动作被视图层捕获并作为请求发送给相应的控制器层(controller层)。控制器接收到这些请求后,调用服务层(service层)以执行相关的业务逻辑,例如验证输入数据的有效性和与数据库的交互。服务层处理完这些逻辑后,进一步与数据访问对象层(DAO层)交互,后者负责具体的数据操作如浏览、更改或移除用户信息,并将操作结果返回给控制器。最终,控制器根据这些结果更新视图层,以便用户管理功能可以看到最新的信息或相应的操作反馈。如图5-7所示:

图5-7用户管理界面
管理员点击天气信息管理;在天气信息页面输入城市和日期进行探寻、增添或移除天气信息列表,并对天气信息详细信息进行浏览、更改、查看评论或移除操作。如图5-8所示。

图5-8天气信息管理界面图
管理员点击天气预警管理;在天气预警页面输入预警提醒进行探寻、增添或移除天气预警列表,并对天气预警详细信息进行浏览、更改或移除操作。如图5-9所示。

图5-9天气预警管理界面图
管理员点击系统管理;在天气新闻页面输入标题进行探寻、增添或移除天气新闻列表,并对天气新闻详细信息进行浏览、更改或移除操作;还可以对天气新闻分类和轮播图管理进行相同操作。如图5-10所示。

图5-10系统管理界面图
源码无偿分享,文未领取
基于SpringBoot的天气查询系统
2662

被折叠的 条评论
为什么被折叠?



