计算机毕设java学生作业管理系统375n59 (配套有源码 程序 mysql数据库 论文)
本套源码可以在文本联xi,先看具体系统功能演示视频领取,可分享源码参考。
随着互联网技术的飞速发展,高校教学管理逐渐向信息化、智能化方向迈进。传统的学生作业管理模式面临着诸多挑战,如作业提交不便、信息管理繁琐、反馈不及时等。为了提升教学管理效率,优化学生作业管理流程,开发一套高效、便捷的学生作业管理系统显得尤为重要。本系统基于Java Web技术,采用B/S架构,结合MySQL数据库,旨在为高校师生提供一个功能完备、操作简便的作业管理平台。
系统的主要功能包括:
-
用户管理:支持管理员、教师和学生三种角色的注册与登录,实现权限分级管理。
-
学生信息管理:管理员可对学生信息进行查询、新增、修改和删除操作。
-
教师信息管理:管理员可对教师信息进行查询、新增、修改和删除操作。
-
班级管理:管理员可对班级信息进行查询、新增、修改和删除操作。
-
课程信息管理:管理员和教师可对课程信息进行查询、新增、修改和删除操作。
-
作业信息管理:教师可发布作业信息,学生可查询作业并提交作业。
-
作业提交管理:学生提交作业后,教师可查看并管理作业提交记录。
-
作业批改管理:教师可对学生提交的作业进行批改,并给出评分和评语。
-
选课信息管理:学生可查询课程信息并进行选课操作,管理员可管理选课记录。
-
交流平台:提供一个师生交流的平台,方便信息共享和问题解答。
-
系统管理:管理员可对系统公告、关于我们等信息进行管理。
通过以上功能,该学生作业管理系统能够有效解决传统作业管理中的诸多痛点,提升教学管理效率,优化学生的学习体验。系统采用模块化设计,操作简便,界面友好,能够满足高校在学生作业管理方面的多样化需求。
注:以上是纯课题毕业设计功能介绍,并非实际开发完成,最终开发完成的毕业设计程序以下面的的环境软件、功能图和界面为准。
系统所需要的环境软件:idea、eclipse+mysql5.7、8.0+Navicat+JDK1.8+tomcat7.0
3.1 系统需求分析
对于学生作业管理系统来说,系统的功能需求分析阶段首先的任务是确定该系统的使用用户,学生作业管理系统总体上基于B/S架构进行开发,系统总体上分为三层,当用户需要登录进入学生作业管理系统时,系统必须对用户的身份进行选择确定,只有符合系统要求的用户才可以登录进入系统。该系统主要满足的登录人群为管理员、教师用户和学生用户,如果管理员在进入该系统之后,就可以对学生、教师的资料,信息进行调整和安排,符合管理员在学校管理中的一些基础要求;教师用户负责发布课程信息和作业信息,由学生进行完成项目及修复缺陷,基本满足学生和教师用户的需求。
3.2 可行性分析
高校致力于建设数字信息型校园。该体系结构设计从相对抽象的角度来理解、分析和设计整个体系。本文在发展学生作业管理系统管理的过程中,研究了教师管理、学生信息管理、学生作业管理等教育管理系统各种业务体系的实施方法。构建符合校园网络环境下先进国际标准的信息管理平台。
学生作业管理系统管理的主要针对服务群体是学生和教师。为学生和教师提供优质服务是学生作业管理业务的主要目标。因此,必须在校园网框架内利用学生作业管理系统管理。该系统包括所有的部门和用户,复盖合作单位和查询节点的应用系统可以共享和交互管理信息,实现学生作业管理业务的信息管理,从而加强用户和管理员、用户和教师的联系,使信息在该系统内可以得到有效且快速的共享,使学生作业管理系统的作用更大程度的发挥出来。
3.2.1 技术可行性
开发过程控制系统网络中最重要的两个系统基础上开发编程体系,一种是基于浏览器(B / S)结构和(C / S)结构。由于本模型系统是基于B / S模式的,所以服务器编译好的服务返回浏览器端,同时需要需要Java Development辅助开发。按照功能、特性和系统限制,建立学校管理,考虑到新的目标系统定义所需技术、管理学校系统构成的数据库管理系统和搜索装备更为先进的硬件、软件、环境条件等,充分利用现有技术条件。此外,该系统还有一个更长的开发周期,因此可以在规定的时间内开发完成。
上述分析表明,从技术上讲,学生作业管理系统的开发是可能的。
运行环境:jdk1.6
数据库:MySQL
服务器:tomcat5.5
开发工具: myeclips5.5
3.2.2 经济可行性
这个系统所需的硬件和软件是通用的。windows平台在平台开发方面有很大的适用性。学生作业管理系统中的大多数计算机都是使用于这个基本平台,预算不高。此外,定制一些特别的项目的费用在一定的范围内会相对较矮。系统软件的实施将加快和提高管理效率,并有效节约人力和管理资源。根据B/S实体模型的信息管理系统最适宜选用专业的电子计算机互联网技术通讯技术和强有力的Java语言表达系统。该系统不但提供一致的操作界面,还提供客户端零配备和客户端服务平台的自觉性。在服务器上开发设计、维护保养和实际操作系统有利于系统更新、拓展和集成化。系统开发设计使用价值远高于系统项目成本,学生作业管理系统的设计方案和完成在经济上是可行的。
3.2.3 操作可行性
21世纪,随着IT技术的飞速发展并且伴随着互联网的日益普及和相关技术的发展,互联网技术极大地方便了人们的生活,B / S 模式逐渐成为现代计算机系统的首选解决方案。B / S模型是在传统的C / S两级结构基础上开发的一种新的网络结构模型。它的出现是为了弥补系统在C/S模式下的缺陷,如客户端软件拥挤、维护困难等。客户端应用系统依赖于应用平台;假如系统相对性关掉,同一应用程序必须好几个版本的实际操作系统。公司或单位搭建的系统沒有规范的用户页面和操作步骤,所以不益于宣传策划的系统化。可是,在B/S方式下,根据C/S结构模型的MIS的总体设计、开发工具和应用环境也发生了很大转变。该系统的开发设计和应用环境是根据B/S结构模型的资金高效率、便于拷贝的构造。
在B/S方式下,用户可以根据电脑浏览器轻轻松松迅速地与虚拟服务器通讯,而不会受到部位限定。该系统不但简易,并且还具备用户改动、删掉、加上等视觉效果页面。学生作业管理系统使用方便,第一次应用系统的用户只需几小时就可以逐渐。这表明该系统在使用上是可行的。
3.3功能需求分析
该系统的用户主要是管理员、教师和学生。教师可以管理个人信息和登录密码,发布课程信息和作业信息,而学生负责完成课程和作业提交。管理员可以管理系统的所有信息,包括:个人中心、学生管理、教师管理、班级管理、课程信息管理、作业信息管理、作业提交管理、作业批改管理、选课信息管理、交流平台、系统管理。
3.4 非功能性需求分析
在对该学生作业管理系统进行设计与实现过程中,由于用户,登录时间以及登录设备的影响,环境和数据可能会发生相应的改变,在这个过程中,系统的性能和功能以及编码上的错误会暴露出来,因此该系统在后期过程中需要技术人员进行大量的系统维护,所以在对系统进行设计与实现过程中,我们不但要对系统功能进行需求分析,也需要考虑非功能性的需求进行分析,使系统在建设过程中更加完美。
3.4.1 性能需求
(1)在系统访问的高峰期,应该至少满足500个用户能够同时进入该系统,并且支持在线用户的操作;
(2)系统提供访问的时间应该是7*24小时;
(3)可以使windows操作系统的用户和IOS操作系统的用户进入该系统;
(4)系统跳转界面响应的时间不应该大于3秒。
3.4.2 安全需求
系统在设计与实现过程中的最本身的需要就是保证系统的安全性,为了确保系统的安全系数和安全级别高,系统应该遵循以下原则:
- 同一个用户不能在两个浏览器同时在线;
- 用户若出现违规操作时,系统应该阻止其操作,并进行提示;
- 给使用者提供基础数据备份和备份数据恢复存储等功能;
- 对使用该系统的用户信息进行加密处理,在传输和访问数据时也进行加密。
4 系统设计
4.1 系统功能模块设计
学生作业管理系统整功能如图4-1所示:

图4-1系统总功能模块图
4.2 数据库设计
对数据库进行设计的过程中,要以系统的实际数据为依据,在对系统功能进行需求分析的时候,可以先对结构规划,数据库表逻辑结构等应用系统的数据库进行分析,对数据库应用模式进行优化,使数据库管理水平进一步提高,并且让系统可以更加有效的对数据进行处理,达到满足用户的安全性,完整性,处理请求和信息需求等需求的目的。
4.2.1 概念模型设计
学生信息实体图如图4-2所示。

图4-2学生信息实体属性图
教师信息实体图如图4-3所示。

图4-3教师信息实体图
课程信息实体属性图实体图如图4-4所示。

图4-4课程信息实体图
作业信息实体属性图如图4-5所示。

图4-5作业信息实体图
作业批改实体属性图如图4-6所示。

图4-6作业批改实体图
5.1系统前台功能的实现
系统的登录模块是在首页对用户登录操作的功能模块,用户输入自己的账号和密码后,系统便会提示用户登录成功,并进入到自己的管理模块中。用户的登录界面如图1所示。

图5-1系统登录界面图
当学生进入该系统前台后,进入系统主页,主页包括查看首页、课程信息、作业信息、交流平台、公告信息、管理个人中心、进行后台管理,具体效果如图2所示。

图5-2系统首页界面图
点击课程信息,学生可以输入课程名称、教师工号进行查询相关信息,并进行在线收藏和选课的操作,具体效果如图3所示。


图5-3课程信息界面图
点击作业信息,学生在这里可以输入课程名称、作业名称、科目、班级、教师姓名进行查询作业信息,并可以对作业信息进行下载和提交等操作,如下图所示。


图5-4作业信息界面图
点击个人中心,用户可以对个人信息和我的收藏内容进行管理,个人中心管理具体效果如图5所示。

图5-5个人中心界面图
5.2 管理员功能实现
管理员登录模块,此模块主要功能是用于登录本系统的用户,管理员登录页面如图5-6所示。

图5-6系统登录界面图
- 登录程序流程如图5-2所示。

图5-7登录程序流程图
管理员登录本系统后,可以管理个人中心、学生管理、教师管理、班级管理、课程信息管理、作业信息管理、作业提交管理、作业批改管理、选课信息管理、交流平台、系统管理这些功能模块;点击学生管理,管理员可以管理学生信息。如图5-8所示。

图5-8学生管理界面图
点击教师管理,管理员可以查看系统已有的教师信息,并进行查询、新增、删除、修改的操作。如图5-9所示。

图5-9教师管理界面图
管理员点击班级管理,可以对班级进行查询、新增、删除或修改的操作。具体操作如下图所示。

图5-10班级管理界面图
点击课程信息管理,进入课程信息管理页面,可以查看系统已有的课程信息,并进行修改、删除或查询等操作。如图5-11所示。

图5-11课程信息管理界面图
点击作业信息管理,管理员可以查看已有的完成作业信息,并进行查询、修改或删除的操作,如图5-12所示。

图5-12作业信息管理界面图
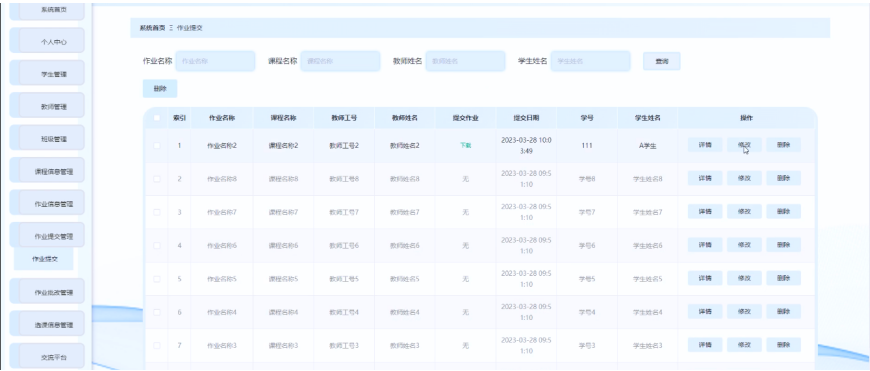
在作业提交管理页面,管理员可以查看系统已有的作业提交,并进行查询、删除、修改等操作。如图5-13所示。

图5-13作业提交管理界面图
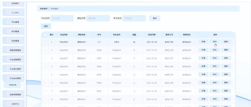
点击作业批改管理,进入到作业批改管理页面,管理员可以查看系统已有的信息,并进行查询、删除、修改等操作,如图5-14所示。

图5-14作业批改管理界面图
源码无偿分享,文未领取

被折叠的 条评论
为什么被折叠?



