计算机毕设java校园疫情防控信息管理系统i06e39 (配套有源码 程序 mysql数据库 论文)
本套源码可以在文本联xi,先看具体系统功能演示视频领取,可分享源码参考。
随着信息技术的飞速发展,校园管理的信息化水平也在不断提升。特别是在疫情防控的特殊时期,传统的线下管理模式面临着诸多挑战,如信息传递不及时、数据管理复杂、人员流动难以精准掌控等。为了有效应对这些挑战,提高校园疫情防控的效率和准确性,开发一套基于Java的校园疫情防控信息管理系统显得尤为重要。该系统旨在通过现代化的计算机技术和网络平台,实现校园疫情防控信息的高效管理,为校园的安全稳定提供有力保障。
在系统的设计与开发过程中,我们充分考虑了校园疫情防控的实际需求,结合Java语言的强大功能和SpringBoot框架的高效性能,构建了一个功能完备、操作便捷、安全可靠的校园疫情防控信息管理系统。系统的主要功能包括:
-
用户管理:支持管理员、教师、学生和后勤人员等不同角色的注册、登录和权限管理。
-
疫情信息管理:实时更新校园疫情数据,包括累计确诊、新增病例、治愈人数、死亡人数等,并提供疫情动态的查询和统计功能。
-
物资管理:对疫情防控物资进行入库、出库和库存管理,确保物资的合理分配和使用。
-
人员信息管理:记录学生、教师和后勤人员的个人信息、健康状况和行程轨迹,便于及时追踪和管理。
-
每日打卡管理:学生和教师每日健康打卡,记录体温、症状等信息,系统自动统计打卡情况。
-
离校与返校信息管理:记录学生的离校和返校时间、目的地、交通方式等信息,方便对人员流动进行监控。
-
请假申请管理:学生提交请假申请,教师进行审批,系统记录请假原因、时间等信息。
-
新闻资讯发布:发布与疫情防控相关的新闻、公告和通知,及时向师生传达重要信息。
-
系统管理:管理员可以对系统进行配置和维护,包括用户权限设置、数据备份与恢复等。
通过以上功能的实现,校园疫情防控信息管理系统不仅能够提高信息管理的效率和准确性,还能为校园疫情防控决策提供数据支持,保障校园的正常教学和生活秩序。该系统的设计与开发,充分体现了信息技术在校园管理中的重要作用,为校园疫情防控工作提供了有力的技术支撑。
注:以上是纯课题毕业设计功能介绍,并非实际开发完成,最终开发完成的毕业设计程序以下面的的环境软件、功能图和界面为准。
系统所需要的环境软件:idea、eclipse+mysql5.7、8.0+Navicat+JDK1.8+tomcat7.0
3.1可行性分析
疫情物资、每日打卡无论在学校还是社会中都广泛存在,校园疫情防控信息管理系统是学校不可或缺的一部分,对校园疫情防控信息管理系统的可行性分析基于当下的互联网背景,从经济、市场、技术、法律和用户使用上进行了调查,从此验证次系统开发的可行性。下面分别从以下几点进行分析:
3.1.1经济可行性分析:此次校园疫情防控信息管理系统所用的框架技术完全是开源的,其余的软件使用也都是免费的,在开发方面所消耗的成本可以忽略不计。而购置设备的费用远远少于其带来的社会收益,从经济上分析开发校园疫情防控信息管理系统是完全可行的[6]。
3.1.2市场可行性分析:校园疫情防控信息管理系统作为非盈利性的系统,其职能在方便用户。图书馆作为承载知识的载体,社会都有不计其数的图书馆,而校园疫情防控信息管理系统需要图书馆的支撑,自然在市场上可行[7]。
3.1.3技术可行性分析:对系统进行分析,校园疫情防控信息管理系统的大部分功能都需
要管理员完成,Eclipse工具其中的Java系统只需要添加少量代码就可以很好适配管理员功能。Java的模板可以提高HTML文件的复用率,提高效率。在数据库方面,ORM简化了表的创建和使用,采用了Oracle旗下开源的关系型数据管理系统MySQL,多表存储的特点使数据更加规范化,增删改查更容易。综上所述,技术开发上并无太大的难点[8]。
3.1.4用户使用可行性分析:鉴于系统的使用用户为高校学生,有统一的学
号和一定的知识水平,且系统无需用户有过多的操作,界面清晰简洁,用户使用可行性上无问题。
3.1.5法律可行性分析:本应用的开发内容均在法律范围内得到支持,并已经通过备案[9]。
3.2 需求分析
需求分析,也称为软件需求分析、系统需求分析或需求分析工程,是指开发人员经过充分的研究和分析,准确地理解用户和项目在功能、性能、可靠性等方面的具体需求,并将用户的非正式需求表述转化为确定系统必须执行的需求的完整定义的过程[10]。
3.3网站功能分析
功能需求分析是系统设计的前提,它要求开发者和用户定义开发什么样的体系和系统需要什么样的功能。本文主要介绍了一种基于windows平台实现的校园疫情防控信息管理系统。该系统为用户提供了更安全、更高效、更便捷的途径。本系统有四个角色:管理员、学生、教师和后勤人员,要求具备以下功能:
(a) 管理员;管理员使用本系统涉到的功能主要有:首页、个人中心、教师管理、后勤人员管理、学生管理、每日打卡管理、离校信息管理、返校信息管理、请假申请管理、校园疫情管理、疫情物资管理、物资入库管理、物资出库管理、系统管理等功能。管理员用例图如图3-1所示。

图3-1 管理员用例图
(b) 教师;进入系统可以实现首页、个人中心、请假申请管理等功能进行操作。教师用例图如图3-2所示。

(C) 后勤人员;进入系统可以实现首页、个人中心、疫情物资管理、物资入库管理、物资出库管理等功能进行操作。后勤人员用例图如图3-3所示。

图3-3后勤人员用例图
(d) 学生;进入系统可以实现首页、个人中心、每日打卡管理、离校信息管理、返校信息管理、请假申请管理等功能进行操作。学生用例图如图3-4所示。

图3-4学生用例图
3.4系统流程设计
3.4.1 系统开发流程
校园疫情防控信息管理系统的设计和开发,首先要对用户的实际使用需求和具体情况进行细致的分析,分析出系统要完成的全部功能,然后再针对整个系统的工作流程和功能进行设计,力求每个模块都能够达到用户的要求,最后通过测试来解决问题,保证系统的稳定和正常的运转,本系统的开发流程如图3-5所示。

图3-5系统开发流程图
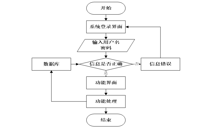
3.4.2 用户登录流程
登录流程实现了管理员和其他用户的登录,在登录页面需要用户填写自己的信息,前端页面会将信息传递给后端接口,然后查询数据库确定该身份有效后登录成功,否则此用户登录失败,需要重新填写信息,进行再次验证,如图3-6所示。

图3-6登录流程图
3.4.3 系统操作流程
系统操作流程分析是软件开发过程中的一个关键环节,它是整个系统整体的运行过程,必须保证其中的每一个步骤都是确定的,这样一个规范的流程图可以使开发者易于理解,快速的投入到接口开发中,从而提升系统开发效率。
同时,流程图还能减少开发者对系统操作流程产生歧义和降低沟通的成本,系统操作流程如图3-7所示。

图3-7系统操作流程图
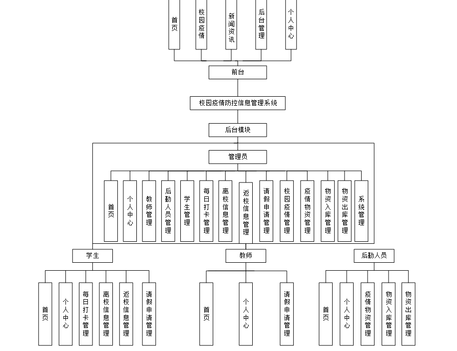
4 软件功能模块设计
校园疫情防控信息管理系统采用了结构化开发的方法。这种开发方法的优点是控制性比较强,开发过程中采用了结构化和模块化的设计思想,自顶向下,从总体到部分,合理划分系统的结构和模块[11]。结构化开发时使用模块式开发,各模块之间互不影响,方便系统的开发与管理。 网站总体功能如下图所示:

图 4-1 校园疫情防控信息管理系统总体功能模块图
4.1 数据库设计与实现
在每一个系统中数据库有着非常重要的作用,数据库的设计得好将会增加系统的效率以及系统各逻辑功能的实现。所以数据库的设计我们要从系统的实际需要出发,才能使其更为完美的符合系统功能的实现。
4.1.1 概念模型设计
概念模型是对现实中的问题出现的事物的进行描述,ER图是由实体及其关系构成的图,通过E-R图可以清楚地描述系统涉及到的实体之间的相互关系。
教师信息实体图如图4-2所示:

图4-2教师信息实体图
后勤人员信息实体图如图4-3所示:

图4-3后勤人员信息实体图
每日打卡实体图如图4-4所示:

图4-4每日打卡实体图
学生信息实体图如图4-5所示:

图4-5学生信息实体图
5.1前台系统功能模块实现
当游客打开系统的网址后,首先看到的就是首页界面。在这里,游客能够看到校园疫情防控信息管理系统的导航栏显示首页、校园疫情、 新闻资讯、后台管理、个人中心等。系统首页界面如图5-1所示:

图5-1系统首页界面
当学生进入前台系统进行相关操作前必须进行注册、登录,学生注册、学生登录界面如图5-2所示:


图5-2 学生注册、学生登录界面
学生点击校园疫情;在校园疫情页面的搜索栏输入校区、更新时间等信息,然后可以查看校区、封面、累计确诊、新增病例、治愈人数、死亡人数、更新时间等信息操作;如图5-3所示。

图5-3校园疫情界面图
新闻资讯的实现:主要是通过新闻资讯页面可以查看标题、简介、发布时间、新闻资讯等信息,如图5-4所示。

图5-4新闻资讯面图
在个人中心页面可以输入个人详细信息,进行信息更新操作,如图5-5所示:

图5-5个人中心界面
5.2管理员功能模块实现
管理员登录,管理员通过登录页面输入用户名、密码选择角色,并点击登录操作,如图5-6所示。

图5-6管理员登录界面图
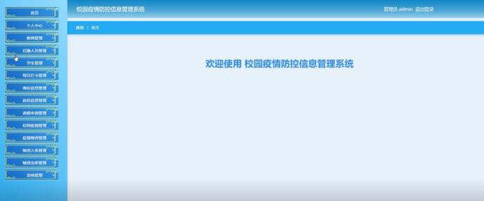
管理员登录系统后,可以对首页、个人中心、教师管理、后勤人员管理、学生管理、每日打卡管理、离校信息管理、返校信息管理、请假申请管理、校园疫情管理、疫情物资管理、物资入库管理、物资出库管理、系统管理等功能进行相应操作,如图5-7所示。

图5-7管理员功能界面图
管理员点击教师管理;在教师管理页面对教师工号、头像、教师姓名、性别、联系电话、邮箱等信息,进行查询,新增或删除教师信息等操作;如图5-8所示。

图5-8教师管理界面图
管理员点击后勤人员管理;在后勤人员管理页面对后勤账号、后勤人员、头像、性别、联系电话、身份证号等信息,进行查询,新增或删除后勤人员等操作;如图5-9所示。

图5-9后勤人员管理界面图
管理员点击学生管理;在学生管理页面对学生号、学生姓名、头像、性别、班级、手机号码、邮箱等信息,进行查询或新增、删除学生信息等操作;如图5-10所示。

图5-10学生管理界面图
管理员点击每日打卡管理;在每日打卡管理页面对学生号、学生姓名、班级、打卡时间、体温、备注等信息,进行查询或删除每日打卡等操作;如图5-11所示。

图5-11每日打卡管理界面图
管理员点击离校信息管理;在离校信息管理页面对学生号、学生姓名、手机号码、班级、目的地、离校时间、返校状态等信息,进行查询或删除离校信息等操作;如图5-12所示。

图5-12离校信息管理界面图
管理员点击返校信息管理;在返校信息管理页面对学生号、学生姓名、手机号码、班级、返校时间、备注等信息,进行查询或删除返校信息等操作;如图5-13所示。

图5-13返校信息管理界面图
管理员点击请假申请管理;在请假申请管理页面对学生号、学生姓名、班级、请假时间、请假天数、请假原因、备注、教师工号、教师姓名、审核回复、审核状态等信息,进行查询或删除请假申请信息等操作;如图5-14所示。

图5-14请假申请管理界面图
5.3学生功能模块实现
学生登录界面,首先双击打开系统,连上网络之后会显示出本系统的登录界面,这是进入系统的第初始页面“登录”,能成功进入到该登录界面则代表系统的开启是成功的,接下来就可以操作本系统所带有的其他所有的功能,如图5-15所示。

图5-15学生登录界面
源码无偿分享,文未领取
794

被折叠的 条评论
为什么被折叠?



