项目运行
环境配置:
Jdk1.8 + Tomcat7.0 + Mysql + HBuilderX(Webstorm也行)+ Eclispe(IntelliJ IDEA,Eclispe,MyEclispe,Sts都支持)。
项目技术:
SSM + mybatis + Maven + Vue 等等组成,B/S模式 + Maven管理等等。
环境需要
1.运行环境:最好是java jdk 1.8,我们在这个平台上运行的。其他版本理论上也可以。
2.IDE环境:IDEA,Eclipse,Myeclipse都可以。推荐IDEA;
3.tomcat环境:Tomcat 7.x,8.x,9.x版本均可
4.硬件环境:windows 7/8/10 1G内存以上;或者 Mac OS;
5.是否Maven项目: 否;查看源码目录中是否包含pom.xml;若包含,则为maven项目,否则为非maven项目
6.数据库:MySql 5.7/8.0等版本均可;
毕设帮助,指导,本源码分享,调试部署(见文末)
3.1可行性分析
本文的设计的系统将会分别从经济的可行性,技术的可行性以及操作的可行性等方面进行全面的可行性的分析。
3.1.1经济可行性
本系统是校园洗衣机预约系统,面向的是电脑学生所以成本并不高,维护和调试只需个别成员参与,所以人力投入也很少。虽说人力和资金的投入不是很多,但是面临的增益是十分的可观尤其是从长远角度来看,所谓知识是无价的,而保管者需要面临很多困扰,而校园洗衣机预约系统很大程度上解决了这一问题,未来,需要投入到资源保管的人十分的少,不需要很多的人就够了,人少却又能保证信息的安全,那么对人员的资金就可以减少不少,并且工作人员并不会很辛苦。
使用的数据库是MySQL数据库,对于小型网站来讲是很低的成本,大大减少了空间,而原有的空间则可以用来处理别的事物。
3.1.2技术可行性
在技术方面也是完全可以做到的,目前所拥有的技术足以开发出一个完整的校园洗衣机预约系统。因为面向的对象较为单一,所以所需要的技术并不复杂,皆是学校内所学到的知识,而且所需要的工具也不是很复杂。使用Dreamweaver作为开发的平台,使用PHP编写页面和apache连接数据库,使用最简单的MySQL数据库,维护起来也是十分的容易,而本系统是基于B/S的结构创建的,也是比较简单明了的。所以从技术方面来讲也是可以实行的。
3.1.3操作可行性
本系统的开发,运用的是基础技术,面向的是单一群体,所以不会造成信息拥堵和崩溃的局面,所以运行时是可以较快的执行学生的命令的。而存在于页面的数据都会以表单的形式传送到数据库,所以不会造成混乱。
就目前而言,计算机普及的时代,学习维护和运用系统并不会很困难,所以人员方面是可以实行的,而且系统可以运用在不同的计算机上,所以这里也是可以运行的。
3.1.4 时间可行性
就时间而言,因为项目并不是很庞大,所以是可以在时间范围内完成的。但是需要好好把握时间的安排,因为本次毕业设计是单人的,所以需要自我监督和敦促,不能见异思迁,一定要先有一个明确的时间规划表。才能在有限的时间内完成本系统
3.1.5 法律可行性
本系统所用的技术和资源均是合法的,引用的部分都有注明,参考文献等也是合乎规定的,是属于个人的创作成果,没有涉及到危害他人的知识产权的行为
3.2需求分析
针对现存的问题和需要,通过功能需求的分析,特建立了数字化、信息化的校园洗衣机预约系统。
本系统主要包含了首页、个人中心、学生管理、信誉信息管理、信誉增加管理、信誉减少管理、机器信息管理、预约信息管理、故障报修管理、留言板管理、系统管理等内容。下面分别简单阐述一下这几个功能需求。不同的权限对应相应的功能需求,管理员权限的级别是最高的,所以所对应的需求是最多的,根据不同的权限分别简单阐述一下各个权限的需求。
3.3业务流程分析
总体业务流程:以管理员的身份在登录页面输入账号和密码,经过数据库身份验证,验证成功后登录系统主页,可以使用系统,管理系统等功能操作 。
系统的业务流程如下图所示。

图3-1系统业务流程图
3.4数据流程分析
数据流图的简称为DFD,是通过使用图形的方法对系统所具备的逻辑功能进行阐述,描述系统数据的流向和逻辑变换。由于该方法能将难以阐述的问题进行表述,因此被开发者广泛应用,是当前应用范围较为广泛的结构化系统分析方法。
一层数据流程是流程中最抽象的,它包括了登录管理、管理员功能管理和检索维护管理等功能模块,在登录模块使用到的数据存储有管理员账户信息文档、管理员信息文档,管理员功能管理模块需要的存储是管理员添加信息文档、查询信息文档、删除信息文档,检索维护是通过以上这些文档信息通过关键词进行搜索。
系统的1层数据流图如下图所示。

图3-2系统数据流图(1层)
2层为管理员操作后台数据流图,管理员可以分别通过添加、修改和删除来对系统管理员进行管理,如下图所示:

图3-3系统数据流图(2层)
3.5数据流程分析
系统登录模块可分为前台登录模块和后台登录模块,为确保系统安全性,系统操作员只有在登录界面输入正确的管理员名、密码、权限以及验证码,单击“登录”按钮后才能够进入本系统的主界面。
管理员登录流程图如下所示。

图3-4管理员登录流程图
第4章 系统设计
4.1系统结构设计
系统设计主要是管理员登录后对整个系统相关操作进行处理,可进行管理员的添加和删除等操作管理。
系统的功能结构图如下图所示。

图4-1系统功能结构图
4.2功能模块设计
系统登录:系统登录是管理员访问系统的路口,设计了系统登录界面,包括管理员名、密码和验证码,然后对登录进来的管理员判断身份信息,判断是管理员管理员还是学生。
管理员管理:管理员可以管理系统的其他学生的账号,包括录入新管理员,删除现有的学生,修改现有的学生的信息,并可以通过管理员名和姓名等关键字搜索学生,打印管理员列表页面,导出管理员列表至excel中。
修改密码:系统所有管理员(管理员和学生)应该都要能修改自己的登录密码,修改后需要重新登录。
个人资料管理:由学生使用,学生登录系统后,可以修改个人原始信息,如修改电话号码、邮箱等,管理员的管理员名是无法修改的。
登录情况管理:系统每个管理员应该都能查看个人的历史登录情况,如登录IP、登录时间、登录地址等,防止管理员账号被盗,加强管理员账号安全。
操作日志管理:系统每个管理员应该都能查看个人的历史操作日志,如管理员添加了某条数据,历史操作日志需要展示操作人,操作描述,操作时间等信息。防止系统被黑客攻击,加强系统的安全性。
系统里尤为关键的部分是在数据库方面,需要十分清晰的思路,所以从开始的设计时需要做到确立模块之间的联系,从而可以很明确的建立表间的联系和表中所需的内容。设计数据库还有一点是减少表的繁杂的创建,所以联系很关键,可以大大的减少,数据表中重复的事项。由此可以保证数据的完整和统一,不会造成数据的错误和重复,并且可以使数据得到数据库安全的保护,会使学生更加的放心。
概念设计是整个数据库设计的关键,在概念设计阶段,由需求分析得到了E-R模型。E-R图是识别功能模型与数据模型间关联关系的,在主题数据库的抽取和规范化的过程中,采用的是简化的E-R图表示方法,从而避免过繁过细的E-R图表示影响规划的直观和可用性。是对现实世界的抽象和概括,是数据库设计人员进行数据可设计的有力工具,能够方便直接地表达应用中的各种语义知识,令一方面它简单、清晰、易于学生理解。
管理员实体包括管理员名称、密码和权限三个属性。
学生管理ER图如下图所示。

图4-2学生管理ER图
信誉信息管理ER图如下图所示。

图4-3信誉信息管理ER图
机器信息管理ER图如下图所示。

图4-4机器信息管理ER图
5.1管理员功能模块
管理员登录,通过填写注册时输入的用户名、密码、角色进行登录,如图5-1所示。

图5-1管理员登录界面图
管理员登录进入系统可以查看首页、个人中心、学生管理、信誉信息管理、信誉增加管理、信誉减少管理、机器信息管理、预约信息管理、故障报修管理、留言板管理、系统管理等信息,如图5-2所示。

图5-2管理员功能界面图
学生管理,在学生管理页面中可以通过查看索引、学号、密码、学生姓名、性别、头像、学院、手机等内容进行信誉值、修改或删除等详细操作,如图5-3所示。

图5-3学生管理界面图
信誉信息管理,在信誉信息管理页面中可以查看索引、学号、学生姓名、信誉值、日期等信息,并可根据需要对列表进行详情、增加、减少、修改或删除等详细操作,如图5-4所示。

图5-4信誉信息管理界面图
信誉增加管理,在信誉增加管理页面中可以查看索引、学号、学生姓名、信誉值、增加日期、备注等信息,并可根据需要对列表进行详情、修改或删除等详细操作,如图5-5所示。

图5-5信誉增加管理界面图
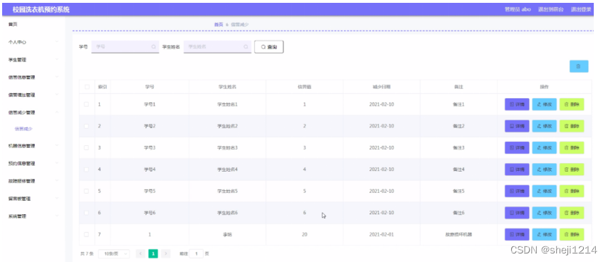
信誉减少管理,在信誉减少管理页面中可以查看索引、学号、学生姓名、信誉值、减少日期、备注等内容,并且根据需要进行详情、修改或删除等详细操作,如图5-6所示。

图5-6信誉减少管理界面图
机器信息管理,在机器信息管理页面中可以查看索引、机器编号、机器名称、规模、图片、重量、使用状态等信息,并且根据需要进行详情、修改或删除等详细操作,如图5-7所示。

图5-7机器信息管理界面图
预约信息管理,在预约信息管理页面中可以查看索引、机器编号、机器名称、预约内容、预约时间、学号、学生姓名、手机、审核回复、审核状态、审核等内容,并且根据需要进行详情、修改或删除等详细操作,如图5-8所示。

图5-8预约信息管理界面图
故障报修管理,在故障报修管理页面中可以查看索引、机器编号、机器名称、故障图片、报修内容、报修日期、学号、学生姓名、手机、审核回复、审核状态、审核等内容,并且根据需要进行详情、修改或删除等详细操作,如图5-9所示。

图5-9故障报修管理界面图
留言板管理,在留言板管理页面中可以查看索引、用户名、留言内容、回复内容等内容,并且根据需要进行详情、修改、回复或删除等详细操作,如图5-10所示。

图5-10留言板管理界面图
系统管理,在轮播图管理页面中可以查看索引、名称、值等内容进行详情、修改或删除等详细操作,并且根据需要对公告信息进行相应操作,如图5-11所示。

图5-11系统管理界面图
5.2系统功能模块
学生登录进入系统可以查看首页、机器信息、公告信息、留言反馈、个人中心、后台管理等内容,如图5-12所示。

图5-12系统首页界面图
本文档详述了一款使用Python的Django框架开发的校园洗衣机预约系统的可行性分析、需求分析、业务和数据流程。系统设计考虑了经济、技术、操作的可行性,采用MySQL数据库,适用于学生群体,具有较低的维护成本。功能模块包括管理员和学生管理,提供预约、信誉值管理、故障报修等功能。
233

被折叠的 条评论
为什么被折叠?



