一、引言:ARP 与 Proxy ARP 为何是网络通信的核心枢纽?
在网络世界中,设备间的通信就像一场复杂的 “地址接力赛”。ARP(地址解析协议)负责将 IP 地址翻译成 MAC 地址,是二层网络与三层网络的 “翻译官”;而 Proxy ARP(代理 ARP)则在跨网段通信中扮演 “中间人” 角色,让未配置网关的主机实现 “跨域对话”。
目录
一、引言:ARP 与 Proxy ARP 为何是网络通信的核心枢纽?
(二)Proxy ARP 进阶原理:跨网段通信的 “善意欺骗”
二、原理篇:从基础到进阶,逐层拆解核心机制
(一)ARP 基础原理:IP 到 MAC 的 “翻译密码”
ARP 作为网络通信的基础协议,承担着将 IP 地址解析为 MAC 地址的关键任务 ,就像是网络世界中的翻译官,让不同设备能够 “听懂” 彼此的地址信息。它的核心功能在于通过广播请求和单播响应的方式,动态构建 IP 与 MAC 的映射表,即 ARP 缓存。
想象一下,你身处一个大型写字楼,每个办公室都有一个房间号(IP 地址),但要真正找到这个办公室,你需要知道它在几楼、哪个区域(MAC 地址)。ARP 就像是写字楼的导览系统,当你知道房间号后,通过它就能找到对应的楼层和区域。
在网络中,当设备需要发送数据时,它会先检查自己的 ARP 缓存中是否有目标设备的 MAC 地址。如果没有,就会发送一个 ARP 广播请求,这个请求就像是在写字楼里大声询问:“谁是 192.168.1.2(目标 IP 地址)?请告诉我你的 MAC 地址 。” 同一网段内的所有设备都会收到这个广播,但只有目标设备(IP 地址匹配的设备)会回复一个单播响应,告诉请求者:“我是 192.168.1.2,我的 MAC 是 00-0C-29-33-33-33 。” 这样,请求设备就会将这个 IP - MAC 映射关系存入 ARP 缓存,下次再与该目标设备通信时,就可以直接从缓存中获取 MAC 地址,无需再次发送广播请求 。
华为设备可通过以下命令查看当前 ARP 表项,区分动态(D)和静态(S)条目:
查看所有ARP表项
<Huawei> display arp all
查看指定IP对应的ARP表项
<Huawei> display arp ip-address 192.168.1.2
清除所有动态ARP表项
<Huawei> reset arp dynamic
在显示的结果中,我们会看到动态(D)和静态(S)条目。动态条目是通过上述的 ARP 请求 - 响应过程自动学习到的,它们具有一定的时效性,过了一段时间后如果没有再次使用,就会从缓存中删除。而静态条目则是管理员手动配置的,不会因为时间或其他因素而自动删除,通常用于一些需要固定 IP - MAC 映射关系的场景,比如网络中的关键服务器或者安全设备 。
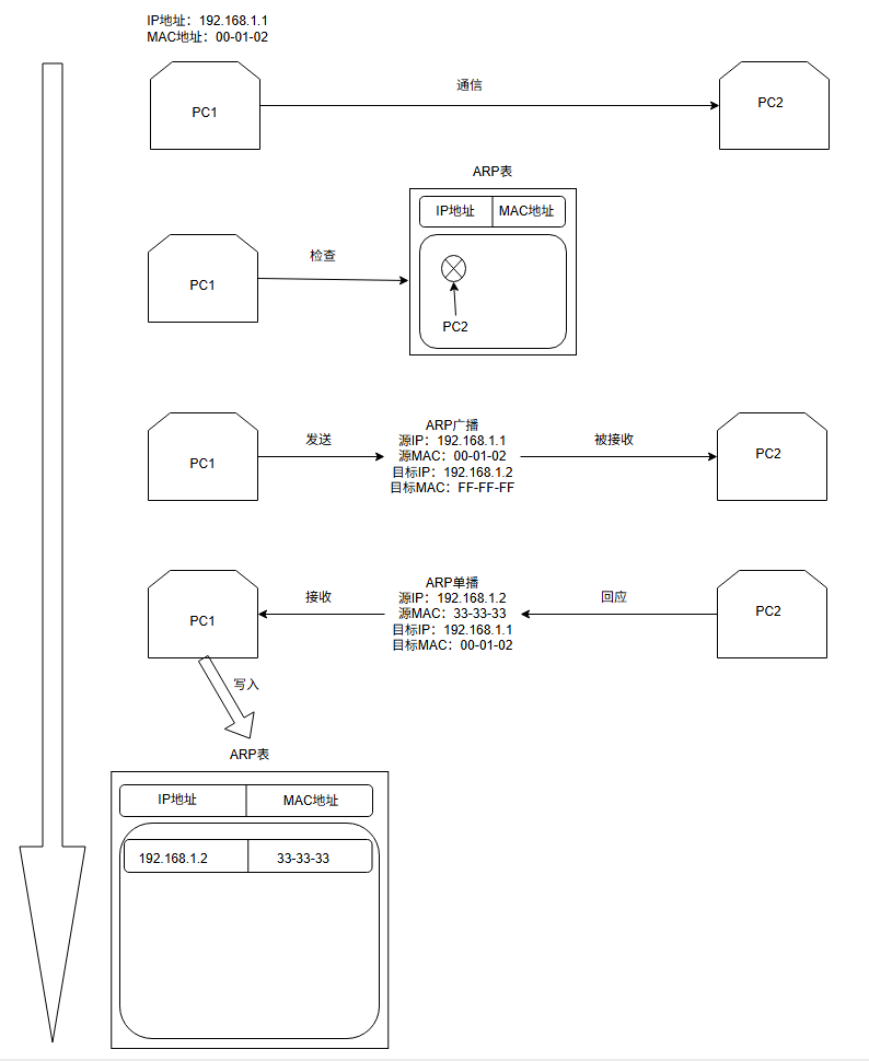
接下来,我们通过一个具体的工作流程来深入理解 ARP 的运作机制。

假设 PC1 想要 ping 通 PC2,当 PC1 准备发送 ping 请求时,它会先检查自己的 ARP 表中是否有 PC2 的 IP - MAC 映射。如果没有,PC1 就会发送一个 ARP 广播,这个广播包的源 IP 和源 MAC 分别是 PC1 自己的 IP 地址 192.168.1.1 和 MAC 地址 00 - 01 - 02,目标 IP 是 PC2 的 IP 地址 192.168.1.2,而目标 MAC 则是全 F 的广播地址 FF - FF - FF - FF - FF - FF,表示这是一个广播包,希望网段内所有设备都能收到 。
当同网段的 PC2 收到这个 ARP 广播后,发现目标 IP 是自己的地址,于是就会回复一个单播 ARP 响应。这个响应包的源 IP 和源 MAC 是 PC2 的 IP 地址 192.168.1.2 和 MAC 地址 00 - 0C - 29 - 33 - 33 - 33,目标 IP 和目标 MAC 则是 PC1 的 IP 地址 192.168.1.1 和 MAC 地址 00 - 01 - 02 。PC1 收到这个响应后,就会将 PC2 的 IP - MAC 映射关系存入自己的 ARP 表中,同时 PC2 也会将 PC1 的 IP - MAC 映射关系存入自己的 ARP 表 。
当 PC1 真正发送 ping 请求时,它会将三层的 IP 包封装在二层的帧中,此时目标 MAC 就是通过 ARP 解析得到的 PC2 的 MAC 地址。这样,数据帧就可以准确无误地发送到 PC2,实现了跨设备通信 。ARP 就像是网络通信中的基石,确保了数据在同一网段内能够准确地找到目标设备,为更高层的网络应用提供了可靠的基础 。
(二)Proxy ARP 进阶原理:跨网段通信的 “善意欺骗”
在网络环境中,我们常常会遇到一些特殊的场景,当两个主机从逻辑上看属于同一网段,但实际上却被路由器分割在了不同的物理网段,并且主机没有配置网关时,它们之间的直接通信就会遇到困难 。这就好比在一个城市中,虽然两个区域在地图上看起来距离很近(属于同一逻辑网段),但中间却隔着一条河流(路由器分割),而且没有桥梁(未配置网关),车辆(数据)就无法直接从一个区域到达另一个区域 。
这时,Proxy ARP 就像是一座隐形的桥梁,发挥着关键作用。Proxy ARP 允许路由器代替目标主机响应 ARP 请求,它通过一种 “善意的欺骗”,让源主机误以为目标主机就在同一网段,从而实现跨物理网段的通信 。
假设我们有这样一个网络场景:PC1 和 PC3 属于同一逻辑网段 192.168.1.0/24,但 PC1 位于路由器 R1 的 G0/0/0 接口所连接的 192.168.1.0/24 网段,PC3 位于 R1 的 G0/0/1 接口所连接的 192.168.2.0/24 网段,且 PC1 和 PC3 都未配置网关 。当 PC1 想要与 PC3 通信时,它会像往常一样发送 ARP 广播请求,试图解析 PC3 的 MAC 地址 。
PC1 发送的 ARP 广播请求中,源 IP/MAC 为 192.168.1.1/00 - 01 - 02,目标 IP 为 192.168.2.3(假设 PC3 的 IP 是 192.168.2.3),目标 MAC 为 FF - FF - FF - FF - FF - FF 。这个广播请求会被路由器 R1 收到,R1 收到广播后,会查询自己的路由表 。当 R1 发现 192.168.2.0/24 是自己的直连网段时,它就会扮演一个 “热心的代理” 。R1 会用自己 G0/0/1 接口的 MAC 地址(假设为 00 - E0 - FC - 1D - 4E - EC)回复 ARP 响应给 PC1,告诉 PC1:“192.168.2.3 的 MAC 是我的 G0/0/1 接口 MAC 。”
PC1 收到这个响应后,就会将 192.168.2.3 与 R1 的 G0/0/1 接口 MAC 地址的映射关系存入自己的 ARP 表中 。当 PC1 向 “伪装” 的 MAC 地址发送数据时,数据会先到达路由器 R1 。R1 接收后,会根据自己的路由表,将数据转发至真实目标 PC3 。这样,就实现了 PC1 与 PC3 之间的跨物理网段通信 。Proxy ARP 的这种机制,在一些旧设备不支持子网划分或者网络配置不完善的环境中,能够有效地解决主机之间的通信问题 ,就像是在复杂的网络迷宫中,为设备找到了一条通往目标的捷径 。
三、实战篇:ENSP 模拟器全流程操作指南
原理概述
ARP(AddressResolutionProtocol)是用来将IP地址解析为MAC地址的协议。ARP表项可以分为动态和静态两种类型。动态ARP是利用ARP广播报文,动态执行并自动进行IP地址到以太网MAC地址的解析,无需网络管理员手工处理。静态ARP是建立IP地址和MAC地址之间固定的映射关系,在主机和路由器上不能动态调整此映射关系,需要网络管理员手工添加。设备上有一个ARP高速缓存(ARPcache),用来存放IP地址到MAC地址的映射表,利用ARP请求和应答报文来缓存映射表,以便能正确地把三层数据包封装成二层数据帧,达到快速封装数据帧、正确转发数据的目的。另外ARP还有扩展应用功能,比如ProxyARP功能。
ProxyARP,即代理ARP,当主机上没有配置默认网关地址(即不知道如何到达本地网络的网关设备),可以发送一个广播ARP请求(请求目的主机的MAC地址),使具备ProxyARP功能的路由器收到这样的请求后,在确认请求地址可达后,会使用自身的MAC地址作为该ARP请求的回应,使得处于不同物理网络的同一网段的主机之间可以正常通信。
实验内容
本实验模拟公司网络场景。路由器R1是公司的出口网关,连接到外网。公司内所有员工使用10.1.0.0/16网段,通过交换机连接到网关路由器上。网络管理员通过配置静态ARP防止ARP欺骗攻击,保证通信安全。又由于公司内所有主机都没有配置网关,且分属于不同广播域,造成无法正常通信,网络管理员需要通过在路由器上配置ARP代理功能,实现网络内所有主机的通信。
实验拓扑

实验编址
| 设备 | 接口 | IP地址 | 子网掩码 | 默认网关 |
| R1 | GE 0/0/1 | 10.1.1.254 | 255.255.255.0 | N/A |
| GE 0/0/2 | 10.1.2.254 | 255.255.255.0 | N/A | |
| PC1 | E 0/0/1 | 10.1.1.1 | 255.255.0.0 | N/A |
| PC2 | E 0/0/1 | 10.1.1.2 | 255.255.0.0 | N/A |
| PC3 | E 0/0/1 | 10.1.2.3 | 255.255.0.0 | N/A |
实验步骤
1.基础配置
配置路由器R1的接口IP地址,掩码长度为24。
R1
<Huawei>system-view
[Huawei]sysname R1
[R1]interface GigabitEthernet 0/0/1
[R1-GigabitEthernet0/0/1]ip address 10.1.1.254 255.255.255.0
[R1-GigabitEthernet0/0/1]quit
[R1]interface GigabitEthernet 0/0/2
[R1-GigabitEthernet0/0/2]ip address 10.1.2.254 255.255.255.0
[R1-GigabitEthernet0/0/2]quit
配置完成后,使用display arp all命令查看R1的ARP表。
[R1]display arp all
IP ADDRESS MAC ADDRESS EXPIRE(M) TYPE INTERFACE VPN-INSTANCE
VLAN/CEVLAN PVC
------------------------------------------------------------------------------
10.1.1.254 00e0-fc5c-39ab I - GE0/0/1
10.1.2.254 00e0-fc5c-39ac I - GE0/0/2
------------------------------------------------------------------------------
Total:2 Dynamic:0 Static:0 Interface:2
ARP表中仅含有R1的两个接口IP地址及与其对应的MAC地址的ARP表项,没有其他条目。
在PC-1上使用ping命令测试到网关R1和PC-2的连通性


在PC-3上,使用ping命令测试到网关R1的连通性。

可以观察到,直连网络连通性正常。
当主机和网关之间有数据访问时,如果ARP表中没有目标IP地址与目标MAC地址的对应表项,ARP协议会被触发,向直连网段发送ARP广播请求包,请求目标IP地址所对应的MAC地址。
PC和R1都会从这一对消息中知道对方的IP地址与MAC地址的对应关系,并将它写到各自的ARP表中。在PC-1上ping网关10.1.1.254后,在PC上使用arp-a命令查看,在R1上使用display arp all命令查看。


可以观察到,在PC-1上生成了网关IP地址10.1.1.254和与其对应的MAC地址的
ARP表项,在R1上生成了PC-1的IP地址10.1.1.1和与其对应的MAC地址的ARP表项。上述出现在PC和R1里面的条目都是动态生成的。如果一段时间之后没有更新,便会从上述ARP表中删除。
2.配置静态ARP
上述ARP协议的工作行为往往被攻击者利用。如果攻击者发送伪造的ARP报文,而且报文里面所通告的IP地址和MAC地址的映射是错误的,则主机或网关会把错误的映射更新到ARP表中。当主机要发送数据到指定的目标IP地址时,从ARP表里得到了不正确的硬件MAC地址,并用之封装数据帧,导致数据帧无法正确发送。
由于公司内主机感染了这种ARP病毒,所以主机对网关R1进行ARP攻击,向网关R1通告含错误映射的ARP通告,导致网关路由器上使用不正确的动态ARP映射条目,造成其他主机无法与网关正常通信。
模拟ARP攻击发生时,网络的通信受到了影响。在网关R1上,使用arp static 10.1.1.1 5489-98CF-2803命令在路由器上静态添加一条关于PC-1的错误的ARP映射,假定此映射条目是通过一个ARP攻击报文所获得的(静态的条目优于动态的条目),所以错误的映射将出现在ARP表中。
[R1]arp static 10.1.1.1 5489-98CF-2803
[R1]display arp all
IP ADDRESS MAC ADDRESS EXPIRE(M) TYPE INTERFACE VPN-INSTANCE
VLAN/CEVLAN PVC
------------------------------------------------------------------------------
10.1.1.254 00e0-fc5c-39ab I - GE0/0/1
10.1.2.254 00e0-fc5c-39ac I - GE0/0/2
10.1.2.3 5489-9851-50c8 14 D-0 GE0/0/2
10.1.1.1 5489-98cf-2803 S--
------------------------------------------------------------------------------
Total:4 Dynamic:1 Static:1 Interface:2
[R1]ping 10.1.1.1
PING 10.1.1.1: 56 data bytes, press CTRL_C to break
Request time out
Request time out
Request time out
Request time out
Request time out
--- 10.1.1.1 ping statistics ---
5 packet(s) transmitted
0 packet(s) received
100.00% packet loss

可以观察到,PC-1与网关间无法通信,因为在路由器R1上ARP的映射错误,导致路由器无法正确地发送数据包给PC-1
为应对ARP欺骗攻击,防止其感染路由器的ARP表,可以通过配置静态ARP表项来实现。如果IP地址和一个MAC地址的静态映射已经出现在ARP表中,则通过动态ARP方式学来的映射则无法进入ARP表。所以针对公司网络的现状,网络管理员在R1上手工配置三条关于PC-1、PC-2和PC-3的正确ARP映射。使用arp static命令,配置如下。
[R1]undo arp static 10.1.1.1 5489-98CF-2803
[R1]arp static 10.1.1.1 5489-98bc-320e
[R1]arp static 10.1.1.2 5489-98cf-5723
[R1]arp static 10.1.2.3 5489-98cf-e417

配置完成后,在PC-1上测试。

可以观察到,配置后连通性恢复正常。
公司网络中出现ARP攻击的情况是比较常见的,防御的办法之一是在ARP表中手工添加ARP映射。此种方法的优点是简单易操作,不足之处是网络中每个网络设备都有ARP表,要全方位保护网络就要在尽可能多的三层设备上把全网的ARP映射手工写入到ARP表里,工作量过大,如果更换IP或MAC后,还需要手工更新ARP映射,远没有动态ARP协议维护ARP表方便。但如果公司网络规模不大或者网络设备不多的情况下,静态ARP方案还是具有一定优势的。
3. Proxy ARP
目前公司的网络被路由器R1分割为两个独立的广播域,每个路由器接口对应一个IP网络,分别是10.1.1.0/24和10.1.2.0/24,查看R1的路由表。

默认情况下,路由器上的ARP代理功能是关闭的。
如果R1保持ARP代理功能关闭的情况,则PC-2和PC-3之间不能互相通信。在PC-2上,使用ping访问10.1.2.3

可以观察到,PC-2发出了ARP广播,却一直没有收到ARP响应。原因是PC-2和
PC-3分处在两个广播域内,PC-2发的ARP请求无法跨越中间的路由器,所以PC-3收不到PC-2的ARP请求,PC-2也无法知晓目标主机PC-3的硬件MAC地址而导致数据封装失败。
但R1如果开启ARP代理之后,看是否能够解决这个问题。配置arp-proxy enable命令在路由器的接口上来开启ARP代理功能。
[R1]interface GigabitEthernet 0/0/1
[R1-GigabitEthernet0/0/1]arp-proxy enable
启用ARP代理之后,同样的测试,在PC-2上访问PC-3
可以观察到,PC-2发出了ARP请求并收到了ARP响应,但响应中10.1.2.3所对应的硬件MAC地址并非是PC-3的MAC地址,而是网关R1的GE0/0/1接口MAC地址。在PC-2上查看ARP表。


开启ARP代理后,PC-2访问PC-3的工作过程如下。
R1的接口GE 0/0/1开启了ARP代理后,收到PC-2的ARP广播请求报文后,R1根据ARP请求中的目标IP地址10.1.2.3查看自身的路由表中是否有对应的目标网络,R1的GE 0/0/2接口就是10.1.2.0/24网络,所以,R1直接把自身的GE 0/0/1接口的MAC地址通过ARP响应返回给PC-2,PC-2接收到此ARP响应后使用该MAC作为目标硬件地址发送报文给R1,R1收到后再把报文转发给PC-3。
同理,PC-3要能访问R1连接的其他广播域的PC,也需要在R1的GE0/0/2接口上开启ARP代理功能。
[R1]interface GigabitEthernet 0/0/2
[R1-GigabitEthernet0/0/2]arp-proxy enable
配置完成后,测试PC-3与PC-1间的连通性。

可以观察到,通信正常。
如果IP网络过大,广播对网络的影响也相应增大。在不改变网络主机配置的情况下,由管理员在网络中透明地插入一台路由器,靠路由器分割出多个广播域,降低了广播对网络的影响。在当前的IP网络中,此种做法并不多见。其缺点是主机间的通信会因为引入额外的路由器而延迟增大,并存在着瓶颈问题,所以一般只作为临时解决方案使用。
四、注意事项与常见问题排查
1. Proxy ARP 的局限性
增加路由器处理负载,适用于小规模网络临时方案,大规模场景建议配置网关或路由协议。
可能引发 ARP 缓存不一致,需通过以下命令清除缓存后重试
# PC端清除ARP缓存(Windows)
C:\> arp -d
# 路由器清除所有ARP缓存
<R1>reset arp all
2. 命令行排错技巧
若 Ping 提示 “Destination host unreachable”,执行以下命令排查:
# 1. 检查路由器接口IP及状态
[R1] display ip interface brief
# 确保接口IP配置正确且状态为UP
# 2. 验证Proxy ARP是否启用
[R1] display current-configuration interface GigabitEthernet 0/0/0 | include arp-proxy
# 3. 检查路由表是否存在目标网段
[R1] display ip routing-table 192.168.2.2
抓包无 ARP 响应时,确认链路连接:在路由器 ping 主机 IP,检查连通性:
<R1> ping 192.168.1.1
<R1> ping 192.168.2.2
五、结语:从原理到实战,筑牢网络通信基石
ARP 与 Proxy ARP 是理解网络层与数据链路层交互的关键切入点,掌握其原理与配置不仅是 HCIA-RS 认证的核心要求,更是排查二层通信故障的必备技能。
946

被折叠的 条评论
为什么被折叠?



