渗透测试流程到底是什么?这篇给你讲清楚(超详细)
0x01 主动扫描
通常来说,我们会先使用类似于AWVS 、Appscan等工具进⾏主动扫描;主动扫描这个过程主要旨在使用自动化工具解放双手发现漏洞。
对于主动扫描的软硬件产品,使用的方法大同小异,故这⾥使用网神漏洞扫描器进行演示:
- 新建⼀个任务,选择Web扫描(这⾥该扫描器可以进行多项扫描,我们可以认为它是Nmap、AWVS、Nessus的结合体)。

- 扫描方式可以选择手动输入,会话录制 。其中 ,会话录制就是模拟用户正常登录的操作行为( 类似 于AWVS中通过Selenium进行会话维持),这⾥我选择手动输入。

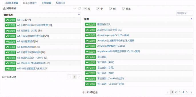
在扫描基本配置处可以配置漏洞插件模板,如果想要扫的更全面,会选择全部web漏dongl洞;其他配置几乎为扫描的策略配置,可以默认不做调整。
- 如果想要针对性的对某个漏洞进行扫描,例如:SQL注⼊漏洞,XSS跨站脚本攻击漏洞等,可以自主选择插件处选择扫描的对应漏洞。

- 配置完成后,即可开始站点的扫描。当扫描完成后,可以导出或在线查看对应的扫描报告。
可以发现,漏扫对该站点扫描并没有得到重要的危害,存在⼀些低危漏洞。(可以复现的真实存在的漏洞,可以写⼊渗透测试报告中)
0x02 手工挖掘、被动扫描
在此部分,我们主要通过手工的方式,对站点开展渗透测试。所以,通常我们会使用Burp进行抓包改包进行测试以发现问题。
- 开启Burp并进⾏基础配置(若此前有配置 ,则可忽略)
a. ⼀路Next知道打开Burp页⾯框:

b. 分别选择 Proxy、Options ,并检查127.0.0.1:8080是否正常运行(如果没有正常运行,则选中"运行中"对应的勾);若没有这条记录 ,则选择"添加",绑定端口为8080,绑定绑定端口为8080,绑定地址为回环口
- 使用SwitchOmege进行网页代理设置
a.填写代理服务器的配置(打开插件选项,设置Proxy情景模式,其代理服务器为127.0.0.1 代理端口为 8080)
b. 配置浏览器代理(将数据流量转发至 Proxy 情景对应的代理服务器)
- 抓包并分析
a. 访问页⾯后Burp成功抓到数据包
b. 如果觉得数据包不重要,点击"发送"将数据发送给服务器;反之,可能有问题的数据包我们可以选择"行动"后选择"发送给重发器" (Repeater)
c. 分析数据包i. 选择Repeater模块,找到要分析的数据包,选择发送,即可获取响应
根据功能点 get_pro_doc_tree 名称及响应包可猜测功能⼤致为:根据提交的Pro_id获取对应的文集信息、并获取该文集下的所有文档信息 。则此处可能存在越权漏洞:文集应有权限限制(例如:A组成员可以访问私有文集B ,但C组成员无法访问该私有文集);但该接口如果并不对身份进行判断,而只接收pro_id并查询文集信息的话,则可以通过修改pro_id查看其他文集的信息。
i. 故这⾥我们更改 pro_id,查看返回值
可以看到 status为true,说明请求成功了,而没有数据⼤概猜测是因为输入的pro_id 不存在;那我们可以对pro_id做个爆破,测试哪些pro_id存在,其对应文集有哪些数据。
ⅲ. 右击选择"发送给测试器" (Intruder), 使用测试器对其进行⼀个爆破测试
ⅳ. 在 Intruder 模块中选择"Positions",选择"清除",选中需要爆破的位置,选择"添加",会发现在爆破的内容前后加上了 ∮ !这样的特殊符号
ⅴ. 选择"Payloads",选择"有效载荷类型"为数值,范围为1-100,增量为1,然后开始爆破
ⅵ. 爆破完成后,长度为最短的即pro_id不存在,其余的均存在,可以获取其文集信息
ⅶ. 故存在越权漏洞,具体细节不仔细展示(则可以将该漏洞写⼊渗透测试报告中)
- 如果手机挖掘没什么漏洞成果,也可以联动被动扫描⼯具,对我们发送的每⼀个数据包都进行构造、攻击等
a. Xray配置监听( 命令:x ray.exe webscan --listen 127.0.0.1:6666 --html-output xxx.html )
b. Burp配置顶级代理服务器( 选择"User options"、“Connections”、“顶级代理服务器”)
c. 如果第⼀次配置,这里应该为空 ,则选择"添加",目标Host为 * ,代理主机及代理端口为Xray 监听的IP及端口,其余不填,选择OK。
d. 此时代理端⼝为6666这—个顶级代理服务器将会被选中, Burp发送给服务器的流量就会转发⾄ 顶级代理服务器Xray;后续就由Xray构造恶意流量并发送给服务器。
e. ⼿动访问页⾯每—个功能点 ,会发现Xray中存在输出;则此时Burp抓取到的所有数据包都会经 过Xray并构造成恶意数据包
f. 全部功能点都访问完成后,查看Xray报告并进⾏复现,复现成功的则写⼊对应的渗透测试报告中。
0x03 报告编写
每个公司都有每个公司具体的模板, 只需要更改⼀些核心的部分即可;模板⼤致目录如下:
我们只需要更改漏洞详情部分,与上述挖掘过程相似。
如果是挖SRC的漏洞, 也是相似, 只需要填写漏洞复现过程即可。
如果是挖SRC的漏洞, 也是相似, 只需要填写漏洞复现过程即可。
文章来自网上,侵权请联系博主
互动话题:如果你想学习更多网安方面的知识和工具,可以看看以下题外话!
学习资源
如果你是也准备转行学习网络安全(黑客)或者正在学习,这里开源一份360智榜样学习中心独家出品《网络攻防知识库》,希望能够帮助到你
知识库由360智榜样学习中心独家打造出品,旨在帮助网络安全从业者或兴趣爱好者零基础快速入门提升实战能力,熟练掌握基础攻防到深度对抗。
1、知识库价值
深度: 本知识库超越常规工具手册,深入剖析攻击技术的底层原理与高级防御策略,并对业内挑战巨大的APT攻击链分析、隐蔽信道建立等,提供了独到的技术视角和实战验证过的对抗方案。
广度: 面向企业安全建设的核心场景(渗透测试、红蓝对抗、威胁狩猎、应急响应、安全运营),本知识库覆盖了从攻击发起、路径突破、权限维持、横向移动到防御检测、响应处置、溯源反制的全生命周期关键节点,是应对复杂攻防挑战的实用指南。
实战性: 知识库内容源于真实攻防对抗和大型演练实践,通过详尽的攻击复现案例、防御配置实例、自动化脚本代码来传递核心思路与落地方法。
2、 部分核心内容展示
360智榜样学习中心独家《网络攻防知识库》采用由浅入深、攻防结合的讲述方式,既夯实基础技能,更深入高阶对抗技术。

360智榜样学习中心独家《网络攻防知识库》采用由浅入深、攻防结合的讲述方式,既夯实基础技能,更深入高阶对抗技术。
内容组织紧密结合攻防场景,辅以大量真实环境复现案例、自动化工具脚本及配置解析。通过策略讲解、原理剖析、实战演示相结合,是你学习过程中好帮手。
1、网络安全意识

2、Linux操作系统

3、WEB架构基础与HTTP协议

4、Web渗透测试

5、渗透测试案例分享

6、渗透测试实战技巧

7、攻防对战实战

8、CTF之MISC实战讲解

3、适合学习的人群
一、基础适配人群
- 零基础转型者:适合计算机零基础但愿意系统学习的人群,资料覆盖从网络协议、操作系统到渗透测试的完整知识链;
- 开发/运维人员:具备编程或运维基础者可通过资料快速掌握安全防护与漏洞修复技能,实现职业方向拓展或者转行就业;
- 应届毕业生:计算机相关专业学生可通过资料构建完整的网络安全知识体系,缩短企业用人适应期;
二、能力提升适配
1、技术爱好者:适合对攻防技术有强烈兴趣,希望掌握漏洞挖掘、渗透测试等实战技能的学习者;
2、安全从业者:帮助初级安全工程师系统化提升Web安全、逆向工程等专项能力;
3、合规需求者:包含等保规范、安全策略制定等内容,适合需要应对合规审计的企业人员;
因篇幅有限,仅展示部分资料,完整版的网络安全学习资料已经上传优快云,朋友们如果需要可以在下方优快云官方认证二维码免费领取【保证100%免费】

渗透测试全流程详解

被折叠的 条评论
为什么被折叠?



