参考资料
推荐学习视频:合集·WPS JS宏从入门到放弃(JSA)教程

wps js宏获取工作簿、工作表、单元格的值、链接转图片、单元格区域数据转二维数组、保存工作簿的常用Excel操作
通过选项卡“帮助”(F1)

通过WPS开放平台
在WPS开放平台(https://open.wps.cn/)中“开发文档”中的“客户端开发”进入到WPS JS宏帮助中心。

https://open.wps.cn/previous/docs/client/wpsLoad

基础知识
打开宏编辑器和JS代码调试
工具-》开发工具-》WPS宏编辑器

左边是工程区,当打开多个excel时会有多个,要注意不要把代码写到其他工作簿去了
右边是代码区

宏是js语言,因此变量或者方法可以网上搜索。比如搜索js变量、js数组方法等。

在语句行号前面点击,可以打断点。

使用Console.log(“你好”)打印文字、变量值等

代码可以使用F11可以逐语句运行,使用F10可以逐过程运行,跳出等
也可以监视变量值

数据类型
数值分为整数和浮点数,都是number类型
var a=Math.trunc(5.984) //截取整数
var b=Math.random() //生成随机小数
var c=Math.pow(5,2) //乘幂
var d=Math.max(3,5) //求最大值
var d=Math.min(3,5) //求最小值
字符串是string类型
var a="3.14"
var b="hello\nworld"
var c=a+b //字符串相加,会变成字符串连接
字符串转数值
var a="3"
var b=5
b=Number(a)
数值转字符串
var a=3.14
var b=String(a)
进制转换
var a=12
var b=a.toString(2) //转换成二进制,结果为字符串类型
var b=a.toString(16) //转换成十六进制,结果为字符串类型
变量申明和赋值
变量有三种声明变量的方式const、var、let
const 常量
let 变量申明(作用域更小)
var 变量申明(作用域更大)
var a;//申明单个变量
var b,c,d;//申明多个变量
var e=1,f=2,g=3.2//申明多个变量并赋值数据类型
单元格读写、数组
Value() 方法 //只读
Value2 属性 只读取值 //可读写
Formula 属性 单元格有公式则读取公式 //可读写
获取A1:C6单元格区域的值,并将数据写入E1:G6单元格区域
//读取A1、A2单元格的值,两种方法
let str1 = Range('A1').Value()
let str2 = Range('A2').Value2
console.log(str1) //输出name
console.log(str2) //输出清风
//写入A1单元格
Range('A1').Value2 = '姓名'
//读取A1:B6单元格区域的值,获取的数据类型为二维数组
let arr = Range('A1:C6').Value2
//写入D1:E6单元格区域
Range('E1:G6').Value2 = arr
function 删除(){
Range("A6").Select();
Selection.Delete(); //删除数据
}
向单元格写入二维数组数据、另存为xlsx工作簿文件、另存为txt文本文件
Range.Resize(行数,列数),以某个单元格为起点扩展区域
user为二维数组,其中user.length表示一维长度,user[0].length表示二维长度
function writeData() {
const user = [
['name', 'sex', 'age'],
['清风', '男', 25],
['若雨', '男', 22],
['猫猫', '女', 18],
['童颜', '女', 22],
['茶季', '女', 21]
]
//A1:B6区域写入数据 Range('A1').Resize(6, 3).Value2 = user
Range('A1').Resize(user.length, user[0].length).Value2 = user
//let path = Env.GetDesktopPath() + '\\user' //获取桌面目录,Env对象仅支持WPS2024
let path = Application.DefaultFilePath + '\\user'
ActiveSheet.Copy() //复制工作表,如果Copy方法没有参数则默认新建一个工作簿
ActiveWorkbook.SaveAs(path, 20) //另存为txt文件,XlFileFormat枚举文件格式:xlTextWindows
ActiveWorkbook.SaveAs(path, 51) //另存为xlsx文件,XlFileFormat枚举文件格式:xlWorkbookDefault
//js字符串模板
MsgBox(`文件路径在: \n${path}.txt \n${path}.xlsx`)
}
选中以A1单元格为起点的连续非空白区域,复制到A8单元格
Range.CurrentRegion属性返回一个Range对象,该对象表示当前区域。当前区域是空白行和空白列的任何组合所限定的区域。此为只读属性。效果相当于快捷键 Ctrl + A 选定有效的数据区域。
let user = Range('A1').CurrentRegion.Select()
Selection.Copy(Range('A8'))
将选定的单元格区域复制为图片,粘贴到A15单元格
let user = Range('A1').CurrentRegion.Select()
Selection.CopyPicture()
Range('A15').PasteSpecial()
将以A1单元格为起点的连续非空白区域转二维数组(类似VBA的CurrentRegion属性)
let sht = ThisWorkbook.ActiveSheet
let ron = sht.Range('A1').CurrentRegion.Value2
打印数组内容
var arr=Range("a2:b5"). Value2
Console.log(JSON. stringify(arr))
插入单元格、区域、行、列
Range("H1").Insert(xlShiftToRight) // 在H1处插入一个单元格,原来的单元格及其同行的右方的单元格,全部右移一格。即在单元格左边插入相应的单元格/区域。
Range("H1").Insert(xlShiftDown) // 在H1处插入一个单元格,原来的单元格及其列行的下方的单元格,全部下移一格。即在单元格上方插入相应的单元格/区域。
Range("H1:I3").Insert(xlShiftToRight) // 在H1到I2这个区域的左侧插入同样大小的区域(在这个例子中就是3x2的单元格)
Range("H1:I3").Insert(xlShiftDown) // 在H1到I2这个区域的上方插入同样大小的区域(在这个例子中就是3x2的单元格)
Range("H:H").Insert(xlShiftDown) // 当Range选择的区域是整个列时,Insert的参数无论是哪个,都只会是xlShiftToRight,即左侧插入一列。毕竟不可能在整列的上方插入整列。
Range("15:15").Insert(xlShiftToRight) // 同理,当Range选择的区域是整个行时,Insert的参数无论是哪个,都只会是xlShiftDown,即在上方插入一行
数组

arr=Range('A1:C5').Value2
就把上面选中单元格的内容保存到数组arr中了,表格下标从0开始,即arr[0][0]保存的时A1单元格内容
function test2(){
const arr=ThisWorkbook.Sheets('测试表1').Range('A5').CurrentRegion.Value2
arr.reverse()
Range('F5').Resize(arr.length,arr[0].length).Value2=arr
}
CurrentRegion是当前单元格挨着的有内容的单元格全部选中,类似于选中A5单元格然后按alt+A

代码第一行就把上面选中的所有单元格内容保存到数组arr中了
arr.reverse()是把数组内容倒过来
Resize(行数,列数) 是指定单元格行数和列数。
arr.length就是数组的行数。arr[0].length是指的数组第一行的列数
代码第3行就是把数组赋值给F5打头的单元格区域

function submitData(){
if(checkData()==true){ //自己写个函数来检查数据是否异常 ==true可以省略,通常只写if(checkData())
const arr=Range('C6').CurrentRegion.Value2
const Data=[] //准备一个数组来装数据
const targetRow=Sheets('操作记录').Range('A65535').End(3).Row+1 //先取得数据表的最大非空行位并+1作为要写入数据的行位
let r=0//等下要用r来记录是第几行数量,方便写金额公式的时候判断行位
for(i=4;i<=11;i++){
if(arr[i][1]){ //如果单元格有内容
//金额写成公式字符串,这里使用反引号,在键盘左上角数字1的左侧,反引号里变量可以用${}标出
let strAmount=`=D${targetRow+r}*F${targetRow+r}` //假如r=0,targetRow=2,这里就是'D2*F2'
r++//遇到数量非空行r自增1假如有三行数据,到第三行时r=2,公式就是 D4*F4
//接下来按数据表的列 构建一个数组
//人员 领货日期 领货型号 数量 xxx单价 金额 备注
let rowItem=[arr[1][1],arr[0][1],arr[2][1],arr[i][1],arr[2][3],arr[i][2],strAmount,arr[i][3]]
//利用push方法把上面的数组一行一行塞进Data构成二维数组
Data.push(rowItem)
}
}
Sheets('操作记录').Range(`A${targetRow}`).Resize(Data.length,Data[0].length).Value2=Data
Sheets('测试表1').Range('D7:D8').ClearContents()
Sheets('测试表1').Range('D7').Select()
}else{
alert('信息不全')
}
}
工作簿、工作表操作
//打开工作簿,需要完整路径,返回一个代表打开的工作簿的Workbook对象
let wb1 = Workbooks.Open('D:\\user.xlsx')
//获取已经打开的工作簿对象,工作簿名称或全路径都可以
let wb2 = Workbooks('user.xlsx')
//导入txt文本文件,如何分列数据请参考官方文档的Workbooks.OpenText方法
Workbooks.OpenText('D:\\user.txt')
let wb = ThisWorkbook //获取当前代码所在的工作簿对象
let sht1 = wb.ActiveSheet //获取当前显示的工作表(活动工作表)
let sht2 = wb.Sheets('Sheet1') //获取当前名为Sheet1的工作表
ThisWorkbook(当前工作簿) ThisWorkbook.Name; //(当前工作薄的名字)
ActiveWorkbook(活动工作簿)ActiveWorkbook.Name; //(活动工作簿的名字)
Workbooks("String")(叫做string的工作簿) Workbooks("String")相当于Workbooks.Item("String")
Workbooks(number)(第几个工作簿) Workbooks(1) 相当于Workbooks.Item(1) //第一个工作簿
ThisWorkbook.Name; //(工作簿名字) ActiveWorkbook.Name
ThisWorkbook.Path; //(工作簿路径)
ThisWorkbook.FullName; //(工作簿路径加名字)
ActiveSheet //活动工作薄中的活动工作簿,没有成员提示
WorkSheets(“工作表名”)//用工作表名表示,某个工作簿中的所有worksheet对象 相当于Workbooks.Item("String")
WorkSheets(number)//用索引号表示,某个工作簿中的所有worksheet对象 相当于Workbooks.Item(number)
Sheets(“工作表名”)//用工作表名表示,包含chart或worksheet对象 相当于Sheets.Item("工作表名")
Sheets(number)//用索引号表示,包含chart或worksheet对象
创建一个新的工作簿
let wb = Workbooks.Add()
将A列名字数据批量另存工作簿
function save_workbook() {
let sht = ThisWorkbook.ActiveSheet
, data = sht.Range('A1').CurrentRegion.Value2
, th = data[0] //获取表头
, path = (ThisWorkbook.Path || Application.DefaultFilePath) + '\\'
//forEach数组迭代方法
data.forEach((item, i) => {
if (i == 0) return //忽略第一行数据
let wb = Workbooks.Add()
, sht = wb.ActiveSheet
, filePath = path + item[0].replace(/[\\/:*?\"<>|]/g, '-') //文件名称不得有\/:*?"<>|字符,用正则将特殊字符替换成-
sht.Range('A1:B2').Value2 = [th, item]
wb.SaveAs(filePath, 51)
wb.Close() //关闭工作簿
})
alert('完成,文件路径在\n' + path)
}
//打开工作簿,需要完整路径,返回一个代表打开的工作簿的Workbook对象
let wb1 = Workbooks.Open('D:\\user.xlsx')
//获取已经打开的工作簿对象,工作簿名称或全路径都可以
let wb2 = Workbooks('user.xlsx')
let wb3 = Workbooks('D:\\user.xlsx')
//导入txt文本文件,如何分列数据请参考官方文档的Workbooks.OpenText方法
Workbooks.OpenText('D:\\user.txt')
如果想使用相对路径可以用ThisWorkbook.Path先获取当前路径
var b=ThisWorkbook.Path + "\\" + "user.xlsx"
let wb2 = Workbooks(b)
let wb = ThisWorkbook //获取当前代码所在的工作簿对象
let sht1 = wb.ActiveSheet //获取当前显示的工作表(活动工作表)
let sht2 = wb.Sheets('Sheet1') //获取当前名为Sheet1的工作表
function traverse_files() {
let folder = 'D:\\*.xlsx' //遍历D盘下的xlsx文件
let files = Dir(folder)
while (files) {
console.log(files)
files = Dir()
}
}
单元格边界获取
得到当前有数据内容的单元格行数

像上面的表格,
如果选中A1单元格,按CTRL+方向右键就会跳到F1,按CTRL+方向下键就会跳到A9
如果选中A12单元格,按CTRL+方向右键就会跳到F12,按CTRL+方向下键就会跳到A20
就可以转换成代码:
Range("A1").End(xlToRight).Select();
Range("A1").End(xlDown).Select();
Range("A12").End(xlToRight).Select();
Range("A12").End(xlDown).Select();
var a=Range("A1").End(xlToRight).Column;
var b=Range("A1").End(xlToRight).Row;
自动填写表格例程

//测试函数
function test(){
if(Selection.Column==1 && Selection.Count==1){
Range('D7').Value2=Selection.Value2
} else if(Selection.Column==2 && Selection.Count==1){
Range('D8').Value2=Selection.Value2
}
}
写入上面代码,如果选中第1列并且选中单元格数量是1个,就让D7单元格值等于选中单元格。如果选中第2列并且选中单元格数量是1个,就让D8单元格值等于选中单元格。
做一个按钮来允许宏

按钮可以输入文字,给按钮指定宏,宏名字就是test。

然后我们选中第一列的一个单元格,再点击按钮,D7就会自动赋值了。
把工作表名字改成“测试表1”

然后加如下代码
function Workbook_SheetSelectionChange(Sh,Target)
{
if(Sh.Name=='测试表1'){
test()
}
}
Workbook_SheetSelectionChange是整个工作簿的回调函数,当选择单元格发生变化的时候就会调用。调用的时候判断当前工作表是不是“测试表1”,如果是就自动运行test宏。

这样就不需要去点按钮了,每次改变选择的单元格就会自动运行。
字符串
单元格为空检查
const DateNotNull= Range('D6').Value2 !=null
数据输入框、提示框
// InputBox("请输入分数") //输入框
// let num=InputBox("请输入分数","提示",100,100,200) //第2参数是标题;第3参数是默认值;第4/5参数是窗口坐标
// alert(num) //消息提示框
// MsgBox("你好")
MsgBox("你好",jsYesNo) //带是/否按钮的消息框
MsgBox("你好",jsYesNoCancel) //带是/否/取消按钮的消息框 MsgBox修改第2参数还支持很多样式
InputBox对象获取用户输入的信息、行号、列号、用户选择的单元格区域数据
function inputbox_test() {
let tip = ['请输入名字', '请选择行', '请选择列', '请选择数据区域']
let myName = InputBox(tip[0])
alert('你输入的名字是 ' + myName)
let ros = Application.InputBox(tip[1], undefined, undefined, undefined, undefined, undefined, undefined, 8).Row
alert('你选择的行号是 ' + ros)
//Application.InputBox参数用对象的方式传入,代码就不用写这么长了
let col = Application.InputBox({Prompt: tip[2], Type: 8}).Column
alert('你选择的列号是 ' + col)
let arr = Application.InputBox({Prompt: tip[3], Type: 8}).Value2
if (!arr) return alert('未能识别数据区域') //!逻辑非
const data = arr.map(i => i.join(',')) //map方法数组迭代
alert('你选择的数据是\n' + data.join('\n'))
}
改变文字效果
function 给范围内的文字改变效果(){
Range("B5:F10").Select();
Selection.Font.Size = 20; //字号20
Selection.Interior.Color = RGB(145, 156, 205); //背景颜色
Selection.Font.Bold = true; //加粗
}
链接转图片方法、生成条形码图片
Shapes.AddPicture(链接或路径, 是否链接文件, 是否与文档保存, Left, Top, 图片宽度, 图片高度)
以生成条形码图片为例,这里用bwip-js在线api演示效果
let sht = ThisWorkbook.ActiveSheet
let link = 'https://bwipjs-api.metafloor.com/?bcid=code128&text=200534231&includetext=true&textsize=12&height=9'
sht.Shapes.AddPicture(link, true, true, 150, 20, 120, 50)

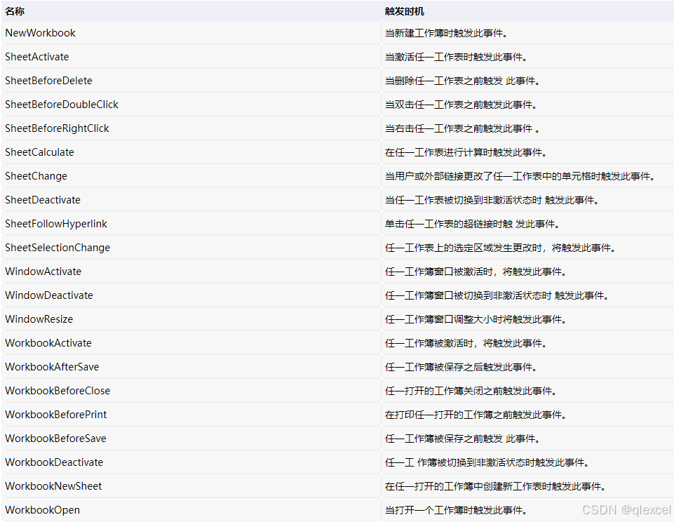
触发事件
Application(工作簿)事件列表

Workbook (工作表)事件列表

操作实例
抓取网页数据
JavaScript Fetch API 网络请求,抓取网页数据
Fetch方法仅支持WPS2024,2023以前的版本不可用,需要了解 JavaScript 回调函数、异步、Promise、Async
function sendhttp() {
let wb = Workbooks.Add()
wb.SaveAs(`${Application.DefaultFilePath}/video-${Date.now()}`)
let url = "https://api.bilibili.com/x/v3/fav/resource/list?media_id=2809168080&pn=1&ps=20&order=mtime&type=0&tid=0&platform=web"
fetch(url)
.then(res => res.json()) //res.json()是一个Promise对象
.then(d => { //拿到数据
//获取视频列表总数量
let cot = d.data.info.media_count
let page = []
if (cot > 20) {
//获取页数
let limit = Math.ceil(cot / 20)
//获取当前页码
let pn = Number(url.match(/(?<=pn=)\d+/)[0])
for (let i = 1; i <= limit; i++) {
if (i != pn) {
//拼接每页的url
page.push(url.replace(/(?<=pn=)\d+/, i))
}
}
}
//设置行高列宽
Rows("1:" + cot).RowHeight = 60
Columns('A:B').ColumnWidth = 15;
Columns('C:E').ColumnWidth = 32;
//写入数据
writedata(d.data.medias, 0)
//获取剩下的页
page.forEach((url, i) => {
fetch(url)
.then(req => req.json())
.then(d => writedata(d.data.medias, i + 1))
})
})
}
function writedata(list, index) {
//处理需要的数据
let arr = []
list.forEach(i => arr.push([
i.cover + "@320w_200h_1c_!web-space-favlist-video.webp",
i.upper.name,
i.title,
i.intro,
"https://www.bilibili.com/video/" + i.bvid
]))
//写入数据
index = index * 20 + 1
Range('A' + index).Resize(arr.length, 5).Value2 = arr
Range(`A${index}:A${index + arr.length - 1}`).Value2 = ""
//插入视频封面图片
arr.forEach((i, o) => {
let link = i[0]
let top = (index + o - 1) * 60 + 3
ActiveSheet.Shapes.AddPicture(link, true, true, 4, top, 86, 54)
})
}

6601

被折叠的 条评论
为什么被折叠?



