
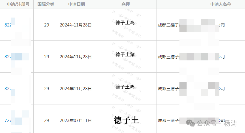
近日《康熙微服私访记》中演“三德子”在直播间卖“土”鸡,“德子土鸡”,其实包装上的商标是“德子土”,引起网络关注,普推知产商标老杨检索看到,在2023年申请了“德子土”商标并成功下证,2024年申请了“德子土鸡”、“德子土猪”、“德子土鸭”、“三德子土鸡”等这些商标都已经驳回。

"德子土"作为独立一个商标注册时,没有关联具体商品,可以通过注册,但是和"鸡""猪"等农产品结合时,整体商标"德子土鸡"就形成明确指向性的商品描述,可能暗示产品具有"土法养殖"特性,引起消费者误认。
有的企业在申请时用"拆解注册"申请,把核心词汇单独注册,在实际使用中组合应用,规避商标审查对整体含义的严格把控,达到暗示产品特性的商业目的,单独存在的"德子土"并不违规,但叠加具体商品名称后,就形成了"土鸡",有打差边之嫌,企业应追求真正“土”或“0含量”,而不是在商标上让消费者误认。
612

被折叠的 条评论
为什么被折叠?



