
1. 为什么这个毕设项目值得你 pick ?
企业资金流智慧管理系统主要功能模块全面覆盖账户管理至会员管理,创新性地引入数据可视化组件ECharts.js优化用户体验。与传统选题相比,该系统不仅具备实用性,在财务数据分析、风险控制等方面展现卓越优势,而且开发难度适中,便于零基础开发者上手实践。具体而言,系统采用SpringMVC框架和MySQL数据库实现模块化设计,普通员工负责数据录入及查阅执行等操作,部门领导则进行审核与统计分析工作。此选题避免了“烂大街”的选择,强调差异化竞争优势;同时,细致的功能划分使得开发路径清晰明了,适合初学者掌握企业级应用系统的完整构建流程。
2. 开发背景分析
企业资金流智慧管理系统开发背景分析:在当前复杂的经济环境中,企业管理者需要实时掌握企业的财务状况以做出正确的决策。传统的企业财务管理方法往往依赖手工操作或简单的电子表格处理,难以满足大规模和复杂业务的需求。采用现代化的管理信息系统可以实现对企业资金流动的有效监控与高效管理。意义在于提高企业运营效率、降低成本风险、增强竞争力以及提升管理水平。系统设计时需考虑账户管理、预算管理等多模块功能,并保证数据的安全性和准确性;系统的开发框架使用SpringMVC,数据库选用MySQL以确保高并发处理能力及良好的性能表现。
3. 系统需求分析
企业资金流智慧管理系统的主要功能包括:账户管理、预算管理、支付管理、收款管理、发票管理、冲销管理、记账管理、现金流管理、利润管理、风险管理、成本管理、资产管理、借款管理、贷款管理、合同管理、员工管理、备忘录管理、任务管理、职位管理、会员管理。
3.1 账户管理功能分析
账户管理功能定义包括数据录入、查询、变更及审核。普通员工输入新账户信息如编码名称账号等,系统验证后保存;部门领导可查阅所有账户详情以核对准确性,并有权修改余额状态等关键字段。审核流程确保操作合规性,在更改前必须由高级权限用户确认并记录变动原因与时间。通过统计分析工具展示各时间段内不同账户的动态变化趋势及异常情况,辅助管理层做出决策。数据可视化组件ECharts.js呈现图表形式便于直观理解财务状况。

3.2 预算管理功能分析
预算管理模块主要字段属性包括:编码、名称、年份、月份、部门、金额及状态。数据录入方面,普通员工根据实际业务情况填写预算信息并提交审核;查询功能实现按条件筛选和多维度统计展示预算详情;变更涉及修改已录数据需审批流程确认后更新数据库记录;审核环节由领导进行复核批准或退回修正直至最终确定预设方案;数据分析则通过图表形式展现各指标变化趋势及对比,辅助决策。

3.3 支付管理功能分析
支付管理功能定义:录入支付信息,包括编码、单号、类型及账户详情;查询特定条件下的支付记录;变更已录信息如金额或状态;由部门领导审核支付是否合规;统计分析月度或年度的支付总额与分布情况。

3.4 收款管理功能分析
收款管理主要字段属性包括:收款编码、收款单号、收款类型、所属收款账户、付款人名称、付款人账号、付款人开户行、收款金额、货币代码、收款来源、收款日期、收款状态。该模块提供数据录入功能,确保所有相关方信息准确无误;查询功能允许用户根据不同的条件筛选和查找相关信息; 更改信息时需遵循一定的流程以保证账户资金安全;部门领导负责审核收款单据的合法性与准确性,并进行必要的修改或驳回操作;统计分析功能能够生成各类报表,帮助管理层全面了解企业的资金流向及管理状况。

3.5 (略)(查看更多请关注博主获取)
4. 系统设计
4.1 系统架构设计
三层架构设计是将系统划分为UI表示层、业务逻辑层和数据访问层。其中,UI表示层负责展示界面及接收用户输入信息;业务逻辑层处理业务规则并为用户提供服务接口;数据访问层则完成与数据库的交互操作包括增删查改等。这种划分使得开发人员能够独立进行模块设计与调试工作提高效率降低耦合度便于维护升级且易于扩展功能实现各层次职责分离确保系统稳定运行同时提升用户体验及安全性优势明显。

4.2 功能模块设计
企业资金流智慧管理系统主要功能包括:账户管理、预算管理、支付管理、收款管理、发票管理、冲销管理、记账管理、现金流管理、利润管理、风险管理、成本管理、资产管理、借款管理、贷款管理、合同管理、员工管理、备忘录管理、任务管理及职位管理和会员管理。通过使用SpringMVC框架和MySQL数据库,系统能够实现高效稳定的数据处理与展示功能。账户模块负责维护企业资金的各类账户信息;预算模块则帮助企业进行财务规划,并提供相应的数据分析工具;支付和收款模块支持企业的日常交易活动并确保每笔款项的安全流转;发票管理协助生成、审核及保存所有相关票据以供税务使用,冲销管理处理异常账务调整。记账与现金流管理记录企业各项经济行为及其影响结果,帮助管理层全面了解资金流动状况。利润管理和成本管理模块提供对企业收益和支出的深入分析,并支持决策制定;风险管理系统能够识别潜在财务风险并提出防范措施;资产系统跟踪公司所有实物财产的价值及状态变化情况;借款、贷款与合同管理保障企业融资活动的安全性和合规性,员工管理系统则确保人力资源信息的准确维护。备忘录与任务模块帮助管理人员记录重要事项和分配工作任务以提高工作效率。职位管理和会员管理分别用于优化组织结构及用户身份认证机制确保系统安全运行。

4.2.1 账户管理模块
账户管理中参与角色包括普通员工和部门领导。普通员工负责数据录入、查阅执行及信息变更,具体用例如:输入新账户信息(包含账户编码、名称等),查询某个账户状态或余额,修改已存在账户的某些属性如账户类型、余额等;而部门领导则进行审核与统计分析,主要用例包括审批账户操作请求确保合规性,在管理系统中查看某段时间内的资金变动情况并生成报表。通过这些角色间的互动保证了企业财务管理流程的有效性和准确性。
账户管理主要属性包括:账户编码、账户名称、账号、银行名称、支行名称、账户类型、账户余额、货币代码、账户状态。

4.2.2 预算管理模块
预算管理中涉及的角色包括普通员工和部门领导。普通员工负责录入和更新年度及月度的预算信息,提交至系统;部门领导审核并批准这些信息,并可修改已使用金额和其他细节。模块用例详细描述:1. 预算新增-普通员工输入编码、名称等基本信息后保存;2. 审核通过-部门领导查看所有待审记录确认无误后更新状态为“审批完成”;3. 修改预算-普通或特定权限用户可调整已使用金额及其他细节,提交审核流程。此系统确保预算信息准确传达及及时反馈给相关部门管理层进行有效管理与监督。
预算管理主要属性包括:预算编码、预算名称、预算编码、预算年份、预算月份、所属部门、预算金额、已使用金额、预算状态。

4.2.3 支付管理模块
支付管理中参与的角色用例包括:普通员工和部门领导。普通员工负责录入、查阅执行及信息变更,如创建新的支付记录并提交给上级审核;部门领导则进行数据审核与统计分析,确保所有支付操作合规性和准确性。详细描述如下——普通员工角色具备基本权限以处理日常的付款业务,例如输入需支付的信息(账户详情、收款方名称和账号等),选择合适的支付类型及用途,并完成支付过程。系统自动记录并生成相应的支付单号与编码;部门领导则拥有审核权力,在接收到提交后的支付申请时进行检查确认无误后予以通过或驳回,以保证企业的资金安全有效利用。
支付管理主要属性包括:支付编码、支付单号、支付类型、所属付款账户、收款人名称、收款人账号、收款人开户行、支付金额、货币代码、支付用途、支付日期、支付状态。

4.2.4 收款管理模块
收款管理中涉及的主要角色包括普通员工和部门领导。普通员工负责数据录入、查阅执行及信息变更,具体用例如:输入新的收款记录(账户编码、金额等)、查看特定收账单详情并更新状态;部门领导则进行数据审核与统计分析,如审查新收入记录的准确性和完整性,并汇总月度或年度收款报告。这些角色通过系统的交互界面操作相关模块实现任务目标。
收款管理主要属性包括:收款编码、收款单号、收款类型、所属收款账户、付款人名称、付款人账号、付款人开户行、收款金额、货币代码、收款来源、收款日期、收款状态。

4.2.5 (略)(查看更多请关注博主获取)
5. 系统实现
5.1 核心功能实现
5.1.1 系统登录
打开系统登录网址,输入账号、密码、验证码确定登录即可,登录界面如图所示。

5.1.2 账户管理功能实现
账户管理功能包括账户列表、账户统计。
在账户列表中可以选择新增账户、编辑账户、删除账户、搜索账户等。账户属性包括:账户编码、账户名称、账号、银行名称、支行名称、账户类型、账户余额、货币代码、账户状态等。新增账户界面如图所示:

在账户统计中可以看到账户类型统计、账户状态统计,账户类型统计如图所示:

5.1.3 预算管理功能实现
预算管理功能包括预算列表、预算统计。
在预算列表中可以选择新增预算、编辑预算、删除预算、搜索预算等。预算属性包括:预算编码、预算名称、预算编码、预算年份、预算月份、所属部门、预算金额、已使用金额、预算状态等。新增预算界面如图所示:

在预算统计中可以看到预算状态统计,预算状态统计如图所示:

5.1.4 支付管理功能实现
支付管理功能包括支付列表、支付统计。
在支付列表中可以选择新增支付、编辑支付、删除支付、搜索支付等。支付属性包括:支付编码、支付单号、支付类型、所属付款账户、收款人名称、收款人账号、收款人开户行、支付金额、货币代码、支付用途、支付日期、支付状态等。新增支付界面如图所示:

在支付统计中可以看到支付类型统计、支付日期年统计、支付日期月统计、支付日期日统计、支付状态统计,支付日期年统计如图所示:

5.1.5 收款管理功能实现
收款管理功能包括收款列表、收款统计。
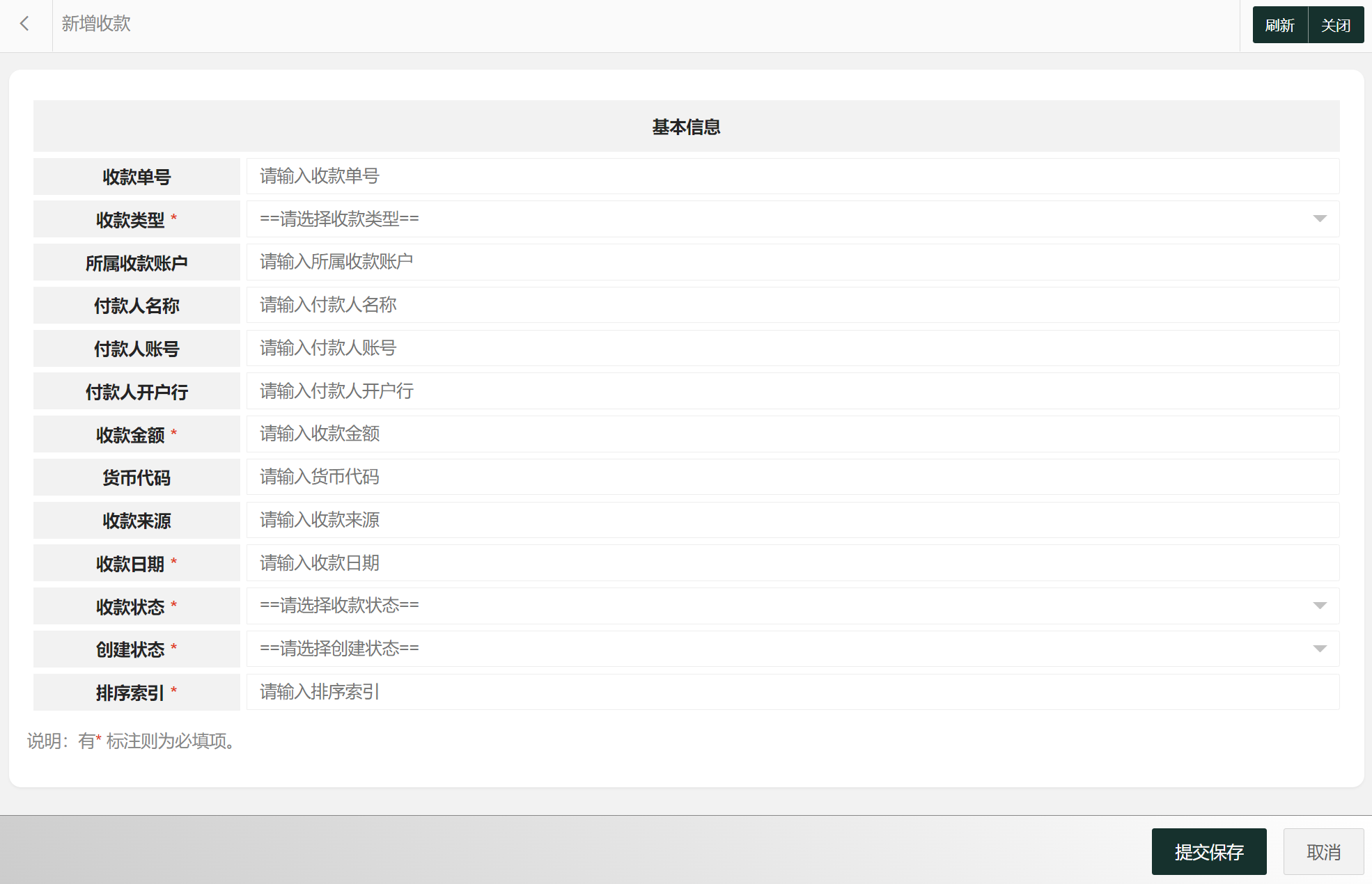
在收款列表中可以选择新增收款、编辑收款、删除收款、搜索收款等。收款属性包括:收款编码、收款单号、收款类型、所属收款账户、付款人名称、付款人账号、付款人开户行、收款金额、货币代码、收款来源、收款日期、收款状态等。新增收款界面如图所示:

在收款统计中可以看到收款类型统计、收款日期年统计、收款日期月统计、收款日期日统计、收款状态统计,收款日期年统计如图所示:

5.1.6 (略)(查看更多请关注博主获取)
6. 福利来了!这些资源帮你省时间
需要项目源码和毕设论文的可以关注评论哈,同时也欢迎在评论区留言交流项目开发过程中遇到的问题,分享自己的开发经验。如果觉得本文对你有帮助,欢迎点赞、收藏、转发。
资源获取地址:[https://bishe.it87.cn/web/main/search.html?keyword=企业资金流智慧管理系统]
|
操作手册 |
毕设论文 |
答辩PPT |




被折叠的 条评论
为什么被折叠?



