大家好呀,我是你们的小猿~
周知,MIUI 是小米公司旗下基于安卓系统深度优化、定制、开发的第三方手机操作系统,也是小米的第一个产品。
从2010年8月16日首个内测版发布至今,MIUI 已拥有全球 6 亿多用户,覆盖 80 种语言,支持 221 个国家与地区。
因其功能全面、系统流畅、动画效果好等特征,早年间小米靠着这套深度定制化的 UI 打下了优质的品牌口碑。
但在这十多年的发展过程中,MIUI 也变得越来越臃肿,或许是听到了用户的心声,MIUI 14 则一举反常地开始走精简路线,通过“剃刀计划”将系统对硬件的资源占用进行了缩减。不仅对系统占用的存储空间进行了精简,还减少了 12% 的开机启动项目,更是将不可卸载的系统级应用减少到 8 个。

愿意听取用户意见在系统方面下功夫,小米这条路走对了,但要完全消除市场对 MIUI 的担忧,小米可能得拿出更大的动作。
这不,知名数码博主@数码闲聊站 日前曝料称“MIUI 14会是MIUI最后一个正式的大版本”。也就是说之后小米不会更新任何大版本了,究其原因,小米要发布自己的操作系统了。

当有网友询问接下来要接棒的是否为小米自研系统,该博主表示“懂自懂”,暗示确实如此。
对此消息,网友表示,看来 MIUI 14 也算交上了一个满意的答卷,小米手机终于开始注重系统不是一味地追求新功能从而导致臃肿。
想必对于初期的 MIOS 来说,大概率会和华为鸿蒙操作系统一样,选择兼容安卓应用,一方面为了降低开发者的适配成本,另一方面保住既有的用户量。
不过,关于 MIUI 14 会是最后一个正式的大版本的爆料,长期关注小米动向的消息源 xiaomiui 则质疑称,小米公司内部依然在测试 MIUI 15 更新,并有望随着小米 14 系列正式发布。
xiaomiui 坦言目前没有关于 MiOS 的相关信息,即便这个爆料是真的,MiOS 无法在国际市场上推广,预估仅限于中国用户。

xiaomiui 目前从小米官方服务器中发现了多个 MIUI 15 测试版本,已经适配小米 13、小米 13 至尊纪念版、红米 K60 Pro、MIX FOLD 3 等手机型号,预估将于 10 月底发布。

综合双方消息来看,MIUI 15 应该就是海外特供了,国内则会使用所谓的“MIOS”。

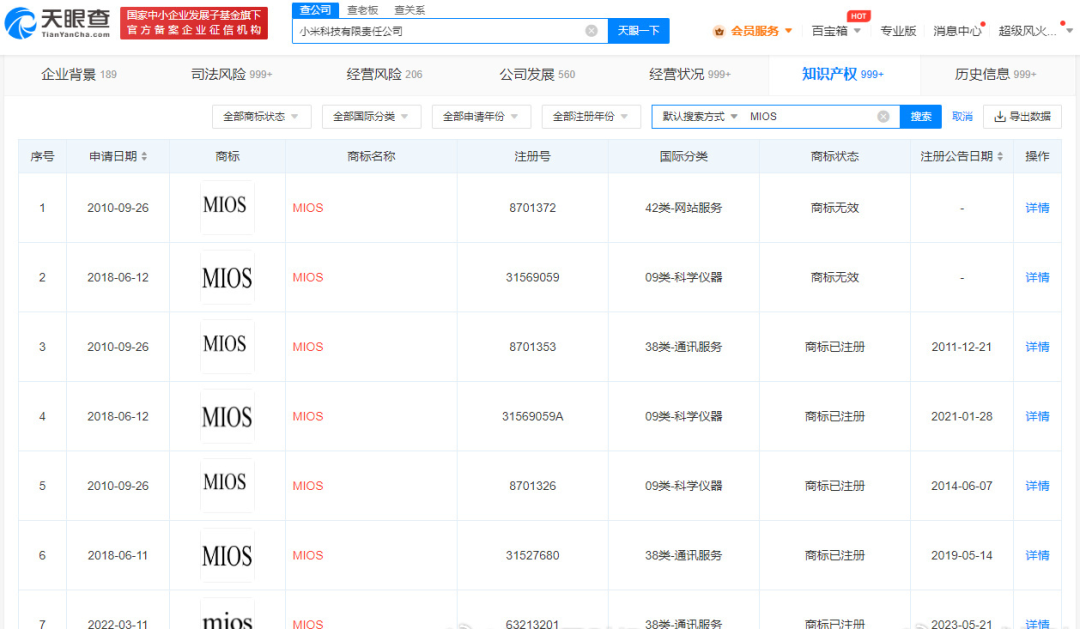
其实,从时间线来看,最早在 2010 年就出现与 MIOS 有关的消息。天眼查App显示,小米科技有限责任公司从2010年开始陆续申请注册多个“MIOS”商标,国际分类包括科学仪器、通讯服务、网站服务,目前,这些商标状态多为已注册。

此外,小米科技有限责任公司又于 2022 年 11 月 11 日备案了 mios.cn 网站域名,目前可在工信部查到。

那么这款全新的 OS 与 UI 的不同之处在哪里呢?
@数码闲聊站 此前也有过爆料,称小米自研操作系统属于全端自研系统,兼容AOSP(Android开放源代码项目)。也就是说,内核、系统服务、框架等,可能会有部分或者全部逐渐转为自研。实际上MIUI 很早之前就改动了大量的安卓底层代码,但应该还是要基于安卓,或是说兼容安卓。

该博主曾于 8 月 15 日还爆料称:“打通‘新终端’的自研 OS 打磨中,已取得阶段性进展”,不过上述爆料很快又被删除。

据悉,小米自研操作系统将为小米汽车提供支持,同时手机、物联网设备也可以使用,类似鸿蒙的全平台覆盖。
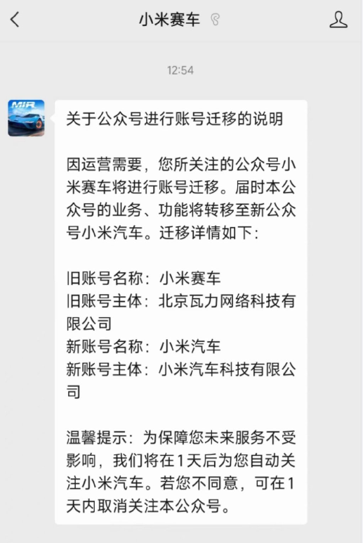
关于小米汽车近期也是消息不断,有消息传出小米的首款轿车最快会在今年的小米14发布会亮相(10月份),或于2024年上半年正式量产。目前小米汽车微信公众号正式上线,其前身是“小米赛车”,这是小米互娱此前推出的一款手游,不过后续似乎停止了运营,现在摇身一变成了小米汽车。


小米汽车公众号显示,其认证主体为小米汽车科技有限公司,于今年9月21日完成认证。

既然是“全端”系统,小米全新自研操作系统很可能会和小米汽车发布同步更新,最晚也要到明年上半年了。随着 MIOS 系统的推出,将加速汽车智能化的进程,为用户带来更便捷和智能的使用体验。
你期待用上新系统吗?历代 MIUI 大版本中你印象最深的是哪个呢?
*来源:电脑报
小声BB:
今天我可真要BB几句了,咱们AI网站上线两年多了,竟然还有很多老粉问我网站是啥,也怪我很少在公众号推广,今天顺带提一嘴。
网址(务必收藏):https://ai.cxyquan.com/
如果后面还有人问我,那我就只能在公众号专门再写一篇推荐了,我就不信自家的网站在自家公众号还宣传不出去


👇点击阅读原文直接进入!

被折叠的 条评论
为什么被折叠?



