内容承接上篇电梯管理系统未能讲完的功能体系
这部分能看到这套系统为长远功能进行了设计,并且考虑了很多低代码配置内容。考虑到甲方可能有些需求会变动,基本每个模块都加入了很多配置调节功能。
物联网设备
设备列表
电梯编码、地区、场所名称、电梯名称、物联网厂商、注册代码、状态、接入日期、物业单位、维保公司
现代电梯是有传感器的,通过物联网可以进行回传。这套系统预留了这些设计,虽然实际看到没怎么用起来。

详情
详情里可以看到电梯的各种详细信息、完整维保信息、完整物业信息。
厂商数据
联系人、联系电话、创建时间、厂家编码、厂家名称、厂商地址、厂商类别、更新时间
此功能打算维护物联网设备接入的认证信息,主要包括厂商接口密钥、访问令牌。

编辑
可以管理厂商信息以及厂商接口密钥、访问令牌。

电梯监控
左侧是监控列表,右侧是采集的电梯数据、电梯信息、电梯实时视频与回放。还支持语音对讲
如果对接完全的情况下,运行数据应当是可以获取到的。可以实时显示电梯当前的速度、门的状态、楼层、温度等等,配合视频监控,展示电梯的运行情况。
按需维护
近几年有开展电梯“有效维护”概念,就是把以前不管有没有事的定期维护,改为通过数据支撑的“按需维护”,假设维保公司设定,电梯上下运行了一万米就派人维护。
以前没有数据,只能拍脑袋派人维护,维护公司人力需求多、物业公司成本高、现场维保人员由于无效工作多掉以轻心,是三方不利的结果。
未来有数据支持的情况,按需维护:
1、提高了维保公司的人效;
2、物业公司付钱也是有理有据;
3、维保人员有更多数据支撑,更知道哪些是维保重点。
低频使用的电梯减少过度的维保,高频使用的电梯增加必须的维保,实现三方共赢。
后续我还会进行相关系统的介绍。

告警记录
告警时间、报警类型、维保单位、场所名称、电梯名称,并提供当时的录像播放并可以下载

维修管理
报修来源、报修时间、电梯名称、维保单位、工单状态

详情
工单信息包括工单状态、故障类型、维修用时、维修员签字图、物业审核员;报修信息包括报修人、报修电话、报修来源、故障原因;以及显示电梯信息

信用管理
信用报告
信用报告编号、创建日期、发布状态、生成状态;以及生成报告
报告内容是每个单位的得分情况

详情
列出每一家企业的得分

信用等级
为信用等级定义分数区间和含义

指标权重
定义指标分类和指标名称以及相应分数,分维保和物业
相当于评分项的参考依据自定义板块,增强了系统应对评分需求变化的定制能力

加减分项
额外定义某个单位的加分或减分项目
在权重基础上的额外加分、扣分内容,增加了系统的灵活性

监督检查
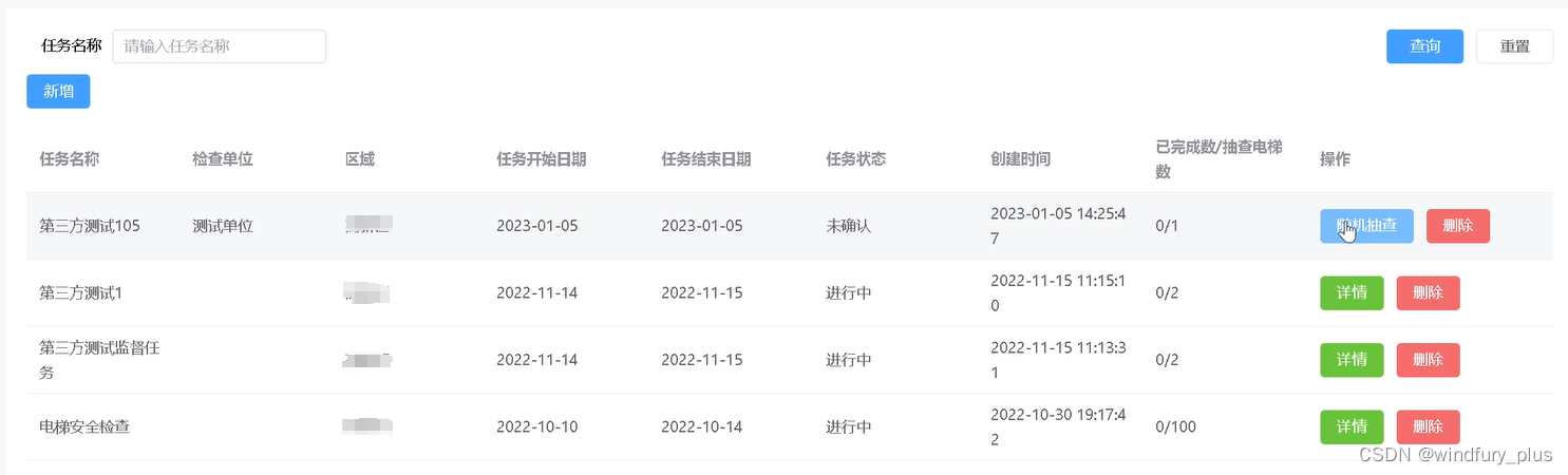
监督检查发起
任务名称、检查单位、区域、任务开始日期、任务结束日期、任务状态、创建时间、已完成数/抽查电梯数

详情
可以查看所有要抽查的电梯列表
后台会对应一个APP,监督通过APP反馈监督检查情况。

监督检查记录
电梯编号、电梯名称、场所、检查规范、检查人员、检查日期、状态、操作
是上面监督检查的详细结果展示
检查规范管理
检查规范的分类和规则。规则有规则名称、规则编码以及说明
最后呈现在检查端的界面

检验检测管理
年检超期
电梯编号、场所名称、注册代码、地区、使用单位、维保单位、上次检验日期、本次应检日期、超期时长
根据电梯填写的年检时间,把年检超期的电梯自动提示在本页面

详情
详情里可以看到电梯的各种详细信息、完整维保信息、完整物业信息。
即将年检
电梯编号、场所名称、注册代码、地区、使用单位、维保单位、上次检验日期、本次应检日期、即将检验日期
根据电梯填写的年检时间,把即将达到年检时间的电梯自动提示在本页面
详情
详情里可以看到电梯的各种详细信息、完整维保信息、完整物业信息。
检测单位管理
单位名称、统一社会信用代码、核准证病号、机构类型、核准证级别、资质有效期、管理员及联系方式、单位注册地址、单位办公地点

详情-单位信息
详情可以看到单位的上传的各种数据与证明资料图片

详情-检验/检测项目
可以看到目标所属的检测类型

检测人员管理
姓名、手机、身份证、检验检测单位、资格证书管理、证书编号、证书照片、证书有效期、身份证正反面照片、当前状态是否有
设计上对人的身份识别,信息跟踪做到了有效的管控。

检验项目管理
申请项目类型、电梯类别/品种、申请单位、申请时间、当前状态、说明
安装监检登记
电梯编码、注册代码、地区、使用单位、安装地址、安装单位、告知时间、资料提交时间、资料审核时间
安装要提交登记,方便进行跟踪

检验记录管理
注册代码、检验日期、下次检验日期、使用单位、电梯使用地址、检验机构、检验报告编号、检验类型、检验结论


本文详细介绍了电梯管理系统的设计特点,包括物联网设备集成、低代码配置、维保管理(按需维护)、信用评级、监督检查等模块,展示了如何利用数据驱动的智能运维提升效率和降低成本。
914





