一、MyBatis工作原理?
1、 创建SqlSessionFactory
2、 通过SqlSessionFactory创建SqlSession
3、 通过sqlsession执行数据库操作
4、 调用session.commit()提交事务
5、 调用session.close()关闭会话

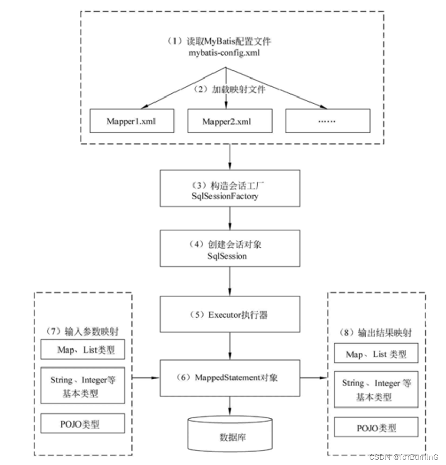
1)读取 MyBatis 配置文件:mybatis-config.xml 为 MyBatis 的全局配置文件,配置了 MyBatis 的运行环境等信息,例如数据库连接信息。
2)加载映射文件。映射文件即 SQL 映射文件,该文件中配置了操作数据库的 SQL 语句,需要在 MyBatis 配置文件 mybatis-config.xml 中加载。mybatis-config.xml 文件可以加载多个映射文件,每个文件对应数据库中的一张表。
3)构造会话工厂:通过 MyBatis 的环境等配置信息构建会话工厂 SqlSessionFactory。
4)创建会话对象:由会话工厂创建 SqlSession 对象,该对象中包含了执行 SQL 语句的所有方法。
5)Executor 执行器:MyBatis 底层定义了一个 Executor 接口来操作数据库,它将根据
SqlSession 传递的参数动态地生成需要执行的 SQL 语句,同时负责查询缓存的维护。
6)MappedStatement 对象:在 Executor 接口的执行方法中有一个 MappedStatement 类型的参数,该参数是对映射信息的封装,用于存储要映射的 SQL 语句的 id、参数等信息。
7)输入参数映射:输入参数类型可以是 Map、List 等集合类型,也可以是基本数据类型和 POJO 类型。输入参数映射过程类似于 JDBC 对 preparedStatement 对象设置参数的过程。
8)输出结果映射:输出结果类型可以是 Map、 List 等集合类型,也可以是基本数据类型和 POJO 类型。输出结果映射过程类似于 JDBC 对结果集的解析过程。
二、mybatis #{}和${}的区别
#{}是占位符,预编译处理;${}是拼接符,字符串替换,没有预编译处理。
#{} 可以有效的防止SQL注入,提高系统安全性;${} 不能防止SQL 注入
把{}替换成变量的值,相当于JDBC中的Statement编译
模糊查询like语句该怎么写
(1)’%${question}%’ 可能引起SQL注入,不推荐
(2)CONCAT(’%’,#{question},’%’) 使用CONCAT()函数,推荐
Mybatis在处理#{}时,#{}传入参数是以字符串传入,会将SQL中的#{}替换为?号,调用PreparedStatement的set方法来赋值。
三、mybatis在mapper中如何传递多个参数
方法1:顺序传参法
#{}里面的数字代表传入参数的顺序。
这种方法不建议使用,sql层表达不直观,且一旦顺序调整容易出错。

方法2:@Param注解传参法
#{}里面的名称对应的是注解@Param括号里面修饰的名称。
这种方法在参数不多的情况还是比较直观的,推荐使用。

方法3:Map传参法
#{}里面的名称对应的是Map里面的key名称。
这种方法适合传递多个参数,且参数易变能灵活传递的情况。

方法4:Java Bean传参法
#{}里面的名称对应的是User类里面的成员属性。
这种方法直观,需要建一个实体类,扩展不容易,需要加属性,但代码可读性强,业务逻辑处理方便,推荐使用。

四、使用MyBatis的mapper接口调用时有哪些要求?
1、Mapper接口方法名和mapper.xml中定义的每个sql的id相同。
2、Mapper接口方法的输入参数类型和mapper.xml中定义的每个sql类型相同。
3、Mapper接口方法的输出参数类型和mapper.xml中定义的每个sql的resultType的类型相同。
4、Mapper.xml文件中的namespace即是mapper接口的类路径。mapper接口里的方法,是不能重载的,因为是全限名+方法名的保存和寻找策略。
五、mybatis mapper接口工作原理?
mapper接口的工作原理是JDK动态代理,Mybatis运行时会使用JDK动态代理为Dao接口生成代理proxy对象,代理对象proxy会拦截接口方法,转而执行MappedStatement所代表的sql,然后将sql执行结果返回。
六、Mybatis是否可以映射Enum枚举类?
Mybatis可以映射枚举类,不只可以映射枚举类,Mybatis可以映射任何对象到表的一列上。映射方式为自定义一个TypeHandler,实现TypeHandler的setParameter()和getResult()接口方法。
TypeHandler有两个作用,一是完成从javaType至jdbcType的转换,二是完成jdbcType至javaType的转换,体现为setParameter()和getResult()两个方法,分别代表设置sql问号占位符参数和获取列查询结果。


七、Mybatis的一级、二级缓存
1)一级缓存: 基于 PerpetualCache 的 HashMap 本地缓存,其存储作用域为 Session,
当 Session flush 或 close 之后,该 Session 中的所有 Cache 就将清空,默认打开一级缓存。
2)二级缓存与一级缓存其机制相同,默认也是采用 PerpetualCache,HashMap 存储,
不同在于其存储作用域为 Mapper(Namespace),并且可自定义存储源,如 Ehcache。默认不打开二级缓存,要开启二级缓存,使用二级缓存的属性类需要实现Serializable序列化接口(可用来保存对象的状态),可在它的映射文件中配置<cache/> ;
3)对于缓存数据更新机制,当某一个作用域(一级缓存 Session/二级缓存Namespaces)的进行了C/U/D 操作后,默认该作用域下所有 select 中的缓存将被 clear。
本文围绕MyBatis展开,介绍了其工作原理,包括创建SqlSessionFactory、执行数据库操作等步骤。还阐述了#{}和${}的区别,以及在mapper中传递多个参数的方法。此外,说明了mapper接口调用要求、工作原理,能否映射Enum枚举类,以及一级、二级缓存的机制和更新规则。
1570

被折叠的 条评论
为什么被折叠?



