目录
第一部分:SSL协议解析
一.SSL简介
二.SSL协议介绍
三.SSL协议应用
四.SSL协议特点
五.SSL协议结构分析
六.SSL连接建立过程(握手过程)
七.几个重要的secret key
八.会话恢复
九.SSL记录协议分析
十.应用层数据传输
第二部分:SSL虚拟专用网
一.二层隧道和IPSec的缺陷
二.SSL虚拟专用网原理及工作过程
第一部分:SSL协议解析
一.SSL简介
SSL(Secure Socket Layer)安全套接层,是用来保障Word Wide Web(WWW)通讯的安全而设立的,主要任务是提供私密性,信息完整性和身份认证
TLS(Transport Layer Security)安全传输层协议,用于在两个通信应用程序之间提供保密性和数据完整性。TLS非常类似SSLv3,只是对SSLv3做了些增加和修改
二.SSL协议介绍
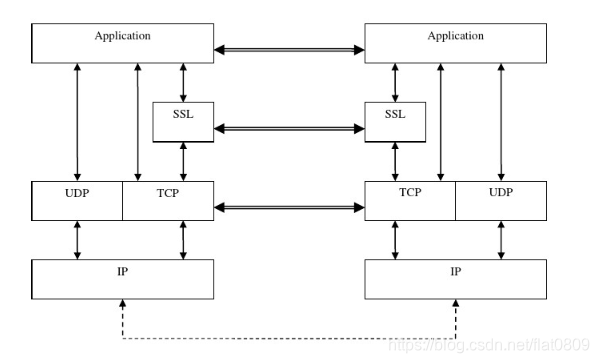
SSL是一个不依赖于平台和应用程序的协议,位于TCP/IP协议与各种应用层协议之间,为数据通信提高安全支持
下图表示的是SSL协议处在协议栈中的位置,他处于应用层协议和传输层协议之间,主要提供应用层的安全控制

三.SSL协议的应用
1.HTTP over SSL:https
加密网页浏览是设计SSL的初衷,HTTP也是第一个使用SSL保障安全的应用层协议,https的端口号为443,http的端口号为80
2.Email over SSL:
类似于HTTP over SSL,邮件协议SMTP,POP3,IMAP也能支持SSL
四.SSL协议的特点
1.SSL安全套接层是一种运行在两台机器之间的安全通道协议,也可以运行在SSL代理和PC之间
2.功能:保护传输数据(加密),识别通信机器(认证)
3.SSL提供的安全通道是透明的,几乎所有基于TCP的协议稍加改动就可以直接运行在SSL之上
4.目前,IETF将SSL作了标准化,推出TLS传输层安全协议,他工作在TCP之上,TLS1.0与SSL3.0的差别非常微小
五.SSL协议结构分析
SSL的体系结构中包含两个协议子层,其中底层是SSL记录协议层(SSL Record Protocol Layer),高层是SSL握手协议层(SSL HandShake Protocol Layer)
1.SSL记录协议
SSL记录协议层的作用是为高层协议提供基本的安全服务。SSL记录协议针对HTTP协议进行了特别的设计,使得超文本的传输协议HTTP能够在SSL运行。记录封装各种高层协议,具体实施压缩解压缩,加密解密,计算和校验MAC等与安全有关的操作
功能:
(1)保护传输数据的私密性,对数据进行加密和解密
(2)验证传输数据的完整性,计算报文的摘要
(3)提高传输数据的效率,对报文进行压缩
(4)保证数据传输的可靠和有序
下图表示SSL记录层的工作流程

2.SSL握手协议
SSL握手协议层包括SSL握手协议(SSL HandShake Protocol),SSL密码参数修改协议(SSL Change Cipher Spec Protocol)和SSL告警协议(SSL Alert Protocol)。握手层的这些协议用于SSL管理信息的交换,允许应用协议传送数据之间相互验证,协商加密算法和生成密钥等
功能:
(1)协商SSL协议的版本
(2)协商加密套件
(3)协商密钥参数
(4)验证通讯双方的身份(可选)
(5)建立SSL连接
SSL握手协议的作用是协调客户和服务器的状态,使双方能够到达状态的同步
四个子协议中最重要的
SSL记录协议:它建立在可靠的传输(如TCP)之上,为高层协议提供数据封装,压缩,加密等基本功能
SSL握手协议:它建立在SSL记录协议之上,用于在实际的数据传输开始之前,通讯双方进行身份认证,协商加密算法,交换加密密钥等

六.SSL建立过程(握手过程)
SSL的建立过程可以类比于IPSec,可以分为两个大阶段
(1)SSL建立的第一阶段(Handshake phase,握手阶段)类似于IPSec IKE密钥协商阶段
·协商机密算法
·认证服务器
·建立用于加密和MAC(Message Authentication Code)用的密钥
(2)SSL建立第二阶段:Secure data transfer phase(安全的数据传输阶段)类似于IPSec ESP的作用
·在已经建立的SSL连接里安全的传输数据
SSL握手协议总过程(带*号的为非必要数据包)

在使用SSL进行通信之前,首先要使用SSL的Handshake协议在通信两端握手,协商数据传输中要用到的相关的安全参数(如加密算法,共享密钥,产生密钥所要的材料等),并对对端的身份进行验证
SSL的建立过程总共有13个包,第一次建立至少需要9个包
SSL握手第一阶段:
客户端发送ClientHello消息到服务端,服务端收到ClientHello消息后,再发送ServerHello消息回应给客户端

ClientHello
握手第一步是客户端向服务端发送Client Hello消息,这个消息包含了一个客户端生成的随机数Random1,客户端支持的加密套件(Support Ciphers)和SSL Version等信息
具体消息具体如下:
客户端版本
客户端随机数Random:后续生成对称密钥时会用到
会话ID(Session id):类似于http的session
加密套件:客户端会给服务器发送自己已经知道的密码套件列表,这是由客户按优先级排列的,但完全由服务器来决定发送与否。TLS中使用的密码套件有一种标准格式
扩展包
ServerHello
收到客户端问候之后服务器必须发送服务器问候信息,服务器会检测指定诸如TLS版本和算法的客户端问候的条件,如果服务器接受并支持所有条件,它将发送其证书以及其他详细信息,否则,服务器将发送握手失败消息
如果接受,第二步是服务端向客户端发送ServerHello消息,这个消息会从Client Hello传过来的Support Ciphers里缺点一份加密套件,这个套件决定了后续加密和生成摘要时具体使用哪些算法,另外还会生成一份随机数Random2.注意,至此客户端和服务器端都拥有了两个随机数(Random1+Random2),这两个随机数会在后续生成对称密钥时用到
具体消息如下
服务器版本:服务器会选择客户端支持的最新版本
随机数Random:32字节的随机数,用来创建加密密钥
加密套件:服务器会从客户端发送的加密套件列表中选出一个加密套件
会话ID:与Http中的session id类似
压缩算法:如果支持,服务器将同意客户端的首选压缩方法
扩展包
这个阶段之后,客户端服务端知道了以下内容
1.SSL版本
2.密钥交换,信息验证,和加密算法
3.压缩方法
4.有关密钥生成的两个随机数
SSL建立第二阶段
服务器向客户端发送消息

服务器启动SSL握手第二阶段,是本阶段所有消息的唯一发送方,客户机是所有消息的唯一接受方。该阶段分为4步:
1.证书:服务器将数字证书和根CA整个链发送给客户端,使客户端能用服务器证书中的服务器公钥认证服务器
2.服务器密钥交换(可选):这里视密钥交换算法而定
3.证书请求:服务端可能会要求客户自身进行验证
4.服务器握手完成:第二阶段的结束,第三阶段开始的信号
Certificate消息(可选)–第一次建立必须要有证书
一般情况下,除了会话恢复时不需要发送该消息,在SSL握手的全流程中,都需要包含该消息。消息包含一个X.509证书,证书中包含公钥,发给客户端用来验证签名或在密钥交换的时候给消息加密
这一步是服务端将自己的证书下发给客户端,让客户端验证自己的身份,客户端验证通过后取出证书中的公钥
Server Key Exchange(可选)
根据之前在ClientHello消息中包含的CipherSuite信息,决定了密钥交换方式(例如RSA或者DH),因此在Server Key Exchange消息中便会包含完成密钥交换所需的一系列参数
Certificate Request(可选)------可以是单向的身份认证,也可以双向认证
这一步是可选的,如果在对安全性要求高的场景中可能用到。服务器用来验证客户端的身份,服务器端发出Certificate Request消息,要求客户端发他自己的证书过来进行验证。这消息中包含服务器支持的证书类型(RSA,DSA,ECDSA等)和服务器端所信任的所有证书的CA列表,客户端会使用这些信息来筛选证书
Server Hello Done
该消息表示服务器已经将所有信息发送完毕,接下来等待客户端的消息
SSL建立的第三阶段
客户端收到服务器发送的一系列消息并解析后,将本端相应的消息发送给服务器

客户机启动SSL握手第三阶段,是本阶段所有消息的唯一发送方,服务器是所有消息的唯一接受方,该阶段分为三步:
1.证书(可选):为了对服务器证明自身,客户要发送一个证书信息,这是可选的,在IIS中可以配置强制客户端证书认证
2.客户机密钥交换(Pre-master-secret):这里客户端将预备主密钥发送给服务器,这条消息将使用服务端的公钥进行加密
3.证书验证(可选):对预备秘密和随机数进行签名,证明拥有(a)证书的公钥
Certificate(可选)
如果在第二阶段服务器端要求发送客户端证书,客户端便会在该阶段将自己的证书发送过去
Client Key Exchange
根据之前从服务器端收到的随机数,按照不同的密钥交换算法,算出一个pre-master,发送给服务器,服务器端收到pre-master算出main-master。而客户端本身也可以通过pre-master算出main-master。如此一来双方就算出了对称密钥
Certificate verify(可选)
只有在客户端发送了自己证书到服务器端,这个消息才需要发送。其中包含一个签名,对从第一条消息以来的所有握手消息的HMAC值(用master_secret)进行签名
SSL建立第四阶段
完成握手协议,建立SSL连接

客户机启动握手第四阶段,使服务器结束。该阶段分为4步,前两个消息来自客户机,后两个消息来自服务器
建立起一个安全的连接,客户端发送一个Change Cipher Spec消息,并且把协商得到的CipherSuite拷贝到当前连接的状态之中。然后客户端用新的算法,密钥参数发送一个Finished消息,这条消息可以检查密钥交换和认证是否已经成功。其中包括一个校验值,对客户端整个握手过程的消息进行检验。服务器同样发送Change Cipher Spec消息和Finished消息。握手过程完成,客户端和服务器可以交换应用层数据进行通信
ChangeCipherSpec
编码改变通知,表示随后的信息都将用双方商定的加密方案和密钥发送(ChangeCipherSpec是一个独立的协议,体现在数据包中就是一个字节的数据,用于告知服务端,客户端已经切换到之前协商好的加密套件(Cipher Suite)的状态,准备使用之前协商好的加密套件加密数据并传输了)
Clinet Finished
客户端握手结束通知,表示客户端的握手阶段已经结束,这一项同时也是前面发送的所有内容的hash值,用来供服务器校验(使用HMAC算法计算收到和发送的所有握手消息的摘要,然后通过RFC-5246中定义的一个伪函数PRF计算出结果,加密后发送。此数据是为了在正式传输应用数据之前对刚刚握手建立起来的加解密通道进行验证)
Server Finished
服务端握手结束通知。
1.使用私钥解密加密的Pre-master数据,基于之前(Client Hello 和 Server Hello)交换的两个明文随机数 random_C 和 random_S,计算得到协商密钥:enc_key=Fuc(random_C, random_S, Pre-Master)—随机数要用两次,第一次客户端生成pre-Master,第二次参与密钥的生成
2.计算之前所有接收信息的 hash 值,然后解密客户端发送的 encrypted_handshake_message,验证数据和密钥正确性
3.发送一个 ChangeCipherSpec(告知客户端已经切换到协商过的加密套件状态,准备使用加密套件和 Session Secret加密数据了)
服务端也会使用 Session Secret 加密一段 Finish 消息发送给客户端,以验证之前通过握手建立起来的加解密通道是否成功。
根据之前的握手信息,如果客户端和服务端都能对Finish信息进行正常加解密且消息正确的被验证,则说明握手通道已经建立成功,接下来,双方可以使用上面产生的Session Secret对数据进行加密传输了。
七.几个重要的secret key
1.PreMaster secret
PreMaster Secret是在客户端使用RSA或者Diffie-Hellman等加密算法生成的。它将用来跟服务端和客户端在Hello阶段产生的随机数结合在一起生成Master Secret。PreMaster secret前两个字节是TLS的版本号,这是一个比较重要的用来握手数据的版本号。服务端需要对密文中解密出来的PreMaster版本号之前Client Hello阶段的版本号进行对比,如果版本号变低,则说明被串改,则立即停止发送任何消息
2.Master secret
由于最后通过交换,客户端和服务端都会有Pre-master和随机数,这个随机数将作为后面产生的Master secret的种子,结合PreMaster secret,客户端和服务端将计算出同样的Master secret

为了保证信息的完整性和机密性,SSL需要有六个加密密钥:四个密钥和两个IV。为了信息的可信性,客户端需要一个密钥(HMAC),为了加密要有一个密钥,为了分组加密要一个IV,服务器也是如此。SSL需要的密钥是单向的,不同于那些在其他方向的密钥。如果在一个方向上有攻击,这种攻击在其他方向是没影响的。生成过程如下



根据要求,有4个密钥用于加密和验证每个消息的完整性,他们是:
·客户端写入加密密钥:客户端用来加密数据,服务器用来解密数据
·服务器写入加密密钥:服务器用来加密数据,客户端用来解密数据
·客户端写入MAC密钥:客户端用来创建MAC,服务器用来验证MAC
·服务器写入MAC密钥:服务器用来创建MAC,客户端用来验证MAC
八.SSL会话恢复
会话恢复是指只要客户端和服务器已经通信过一次,他们就可以通过会话恢复的方式来跳过整个握手阶段二直接进行数据传输
SSL采用会话恢复的方式来减少SSL握手过程中造成的巨大开销

为了加快建立握手的速度,减少协议带来的性能降低和资源消耗,TLS协议有两类会话缓存机制
(1)会话标识session ID:由服务器端支持,协议协议中的标准字段,因此基本所有的服务器都支持,服务器端保存会话ID以及协商的通信信息,Nginx中1M内存约可以保存4000个session ID机器相关信息,占用服务器资源较多
(2)会话记录session ticket:需要服务器和客户端都支持,属于一个扩展字段,支持范围约60%,将协商的通信信息加密之后发送给客户端保存,密钥只有服务器知道,占用服务器资源很少
二者对比,主要是保存协商信息的位置与方式不同。类似于http中的session和cookie,二者都存在的情况下(nginx实现)优先使用session_ticket
会话恢复具体过程(Session ID机制):
1.如果客户端和服务器之间曾经建立了连接,服务器会在握手成功后返回 session ID,并保存对应的通信参数在服务器中;
2.如果客户端再次需要和该服务器建立连接,则在 client_hello 中 session ID 中携带记录的信息,发送给服务器;
3.服务器根据收到的 session ID 检索缓存记录,如果没有检索到货缓存过期,则按照正常的握手过程进行;
4.如果检索到对应的缓存记录,则返回 change_cipher_spec 与 encrypted_handshake_message 信息,两个信息作用类似,5.encrypted_handshake_message 是到当前的通信参数与 master_secret的hash 值;
6.如果客户端能够验证通过服务器加密数据,则客户端同样发送 change_cipher_spec 与 encrypted_handshake_message 信息;
服务器验证数据通过,则握手建立成功,开始进行正常的加密数据通信。
会话恢复具体过程( session ticket):
1.如果客户端和服务器之间曾经建立了连接,服务器会在 new_session_ticket 数据中携带加密的 session_ticket 信息,客户端保存;
2.如果客户端再次需要和该服务器建立连接,则在 client_hello 中扩展字段 session_ticket 中携带加密信息,一起发送给服务器;
3.服务器解密 sesssion_ticket 数据,如果能够解密失败,则按照正常的握手过程进行;
4.如果解密成功,则返回 change_cipher_spec 与 encrypted_handshake_message 信息,两个信息作用与 session ID 中类似;
5.如果客户端能够验证通过服务器加密数据,则客户端同样发送 change_cipher_spec与encrypted_handshake_message 信息;
6.服务器验证数据通过,则握手建立成功,开始进行正常的加密数据通信。
九.SSL记录协议
SSL记录协议主要实现对数据的分块,加密解密,压缩解压缩,完整性检查及封装各种高层协议
下图表示的是SSL协议的报文

下图表示SSL记录协议工作原理

(1)将消息分割为多个片段
(2)对每个片段进行压缩
(3)加上片段编号(放置重放攻击)计算消息验证码(保证数据完整性),追加在压缩片段
(4)对称密码加密
(5)加上数据类型,版本号,压缩后的长度组成的报头,就是最终的报文数据
十.应用数据传输:
在所有的握手阶段都完成之后,就可以开始传送应用数据了。应用数据在传输之前,首先要附加上MAC secret,然后再对这个数据包使用write encryption key进行加密。在服务端收到密文后,使用Client writeencryption key进行解密,客户端收到服务端的数据之后使用Server write encryption key进行解密,然后使用各自的write MAC key对数据的完整性包括是否被篡改进行验证

第二部分:SSL-虚拟专用网
前言:如果通过Internet实现远程终端和内部网络之间的互连,可以通过SSL 虚拟专用网解决远程终端访问内部网络资源的问题。SSL 网关的核心是SSL 网关,远程终端可以通过浏览器和HTTPS实现与SSL 网关之间的通信过程,SSL 网关通过对应的应用层协议完成对内部网络资源的访问过程。由SSL 网关完成将远程终端发送的资源访问请求转换成对应的应用层消息,将内部网络服务器发送的资源访问响应转换成HTTPS消息的过程
一.第二层隧道和IPSec的缺陷

1.对远程终端的访问权限没有限制
IPSec+第二层隧道,远程终端成功接入内部网络后,生成如下图所示的网络结构。远程终端和内部网络中的其他终端一样,可以通过分配给他的内部网络本地IP地址与内部网络中的其他终端和服务器进行通信。由于远程终端通过Internet接入内部网络,因此,对远程终端访问内部资源的权限应该有所限制,但这种VPN结构本身无法对远程终端访问内部网络资源的权限进行控制
2.需要专用客户端
IPSec+二层隧道模式远程终端都要安装专用客户端。IPSec+二层隧道情况下远程终端还需要通过客户端配置与建立安全关联有关的参数。用户只有具备一定的专业知识,才能完成专用客户端的使用和配置过程
3.远程终端可以发现内部网络拓扑结构
IPSec+二层隧道模式下,内部网络对于远程终端都不是透明的,远程终端可以获取内部网络的拓扑结构,这不利于内部网络的安全
4.无法实现基于用户授权
远程接入内部网络的用户类型是多种多样的,有出差在外的企业员工,有企业合作者,有企业产品的用户等,不同类型的用户应该具有不同的访问内部网络资源的权限,即需要基于用户授权
二.SSL虚拟专用网实现原理
1.SSL 虚拟专用网结构
如下图所示,整个结构的核心设备是SSL 网关,它一端连接Internet,分配全球IP地址,另一端连接内部网络,分配内部网络本地地址。与其他实现内部网络和Internet互联的路由器不同,SSL VPN网关对于远程终端,等同于连接在Internet上的Web服务器,远程终端可以用访问其他连接在Internet上的Web服务器一样的方式登录SSL 网关,为了实现数据远程终端与SSL 之间的安全传输,远程终端和SSL 网关之间采用应用层安全协议HTTPS

SSL 网关通过连接内部网络的接口建立与内部各个服务器之间的传输通路,通过相应的应用层协议完成访问内部网络中各个服务器的过程。远程终端请求访问内部网络资源的访问请求封装成HTTPS消息后,传输给SSL 网关。SSL 网关从HTTPS消息中分离出远程终端的资源访问请求,确定需要访问的内部网络服务器,通过相应的应用层协议完成对该服务器的访问过程,然后将该服务器的访问结果封装成HTTPS消息后,传输给远程终端。
SSL 虚拟专用网网关统一用HTTPS实现与远程终端之间的数据传输过程,用不同的应用层协议实现对内部网络中各个服务器的访问过程,因此需要完成HTTPS消息格式与相应的应用层消息格式之间的相互转换过程
值得注意的一点,远程终端登录SSL 网关,通过SSL 网关实现对内部网络的资源访问过程,内部网络对远程终端是不可见的
由于所有远程终端统一用HTTPS访问SSL 网关,因此所有远程终端可以通过浏览器实现对SSL 网关的访问过程
2.SSL 虚拟专用网的实现过程
SSL虚拟专用网实现过程如下图所示,以远程终端访问内部网络的FTP服务器为例,讨论SSL 实现过程中包含的步骤

(1)建立远程终端与SSL 网关之间的TCP连接
登录SSL VPN网关时,需要在浏览器地址栏中输入SSL 网关的全球IP地址,或者是互联网中的完全合格的域名,远程终端在获取SSL网关的公网地址之后,发起建立与SSL VPN网关之间的TCP连接
该TCP连接SSL网关一端的端口号是443,表明经过该TCP连接传输的是SSL/TLS消息
(2)建立远程终端与SSL 网关之间的SSL会话
建立远程终端与SSL 网关之间的TCP连接后,远程终端可以发起建立与SSL网关之间的SSL会话。建立远程终端与SSL网关之间会话的过程中,完成以下操作
·远程终端完成对SSL网关身份的鉴别过程
·远程终端与SSL网关之间约定加密算法
·远程终端与SSL网关之间生成一致的加密密钥,MAC密钥
(3)远程终端登录SSL网关
建立远程终端与SSL网关之间的会话后,SSL 网关出现用户登录的界面,需要用户输入用户名和密码。用户输入有效用户名和密码后,才允许进行访问内部网络资源的操作
建立远程终端与SSL网关之间的SSL会话后,远程终端与SSL 网关之间的传输的数据都被封装成TLS记录协议的报文
(4)远程终端向SSL网关发送FTP服务器访问请求
远程终端如果需要访问内部网络资源,需要给出唯一标识内部网络资源的统一资源定位器(URL),如访问内部网络FTP服务器中文件“abc”的URL=ftp://ftp.a.com/abc。并将该URL封装成HTTPS消息后,发送给SSL网关
(5)SSL网关完成FTP服务器的访问过程
SSL网关收到URL=ftp://ftp.a.com/abc后,根据域名ftp.a.com,通过内部网络的DNS解析出FTP服务器的内部网络本地IP地址,建立与FTP服务器之间的TCP连接,该TCP连接FTP服务器一端的端口为21,表明经过该TCP连接传输的是FTP消息。SSL网关与FTP服务器之间通过交换FTP消息完成文件abc的读取过程
(6)SSL网关向远程终端发送FTP服务器访问响应
SSL网关将文件abc封装成HTTPS消息后,发送给远程终端
本文深入解析SSL协议,涵盖其结构、握手过程、会话恢复机制及SSL虚拟专用网原理。详细介绍SSL如何确保数据安全传输,以及SSL VPN如何解决远程访问内部网络资源的安全问题。
7024

被折叠的 条评论
为什么被折叠?



