分布式定时调度-xxl-job
一.定时任务概述
1.定时任务认识
1.1.什么是定时任务
定时任务是按照指定时间周期运行任务。使用场景为在某个固定时间点执行,或者周期性的去执行某个任务,比如:每天晚上24点做数据汇总,定时发送短信等。
1.2.常见定时任务方案
- While + Sleep : 通过循环加休眠的方式定时执行
- Timer和TimerTask实现 :JDK自带的定时任务,可以实现简单的间隔执行任务(在指定时间点执行某一任务,也能定时的周期性执行),无法实现按日历去调度执行任务。
- ScheduledExecutorService : Java并发包下,JDK1.5出现,是比较理想的定时任务实现方案。Eureka就使用的是它
- QuartZ : 使用Quartz,它是一个异步任务调度框架,功能丰富,可以实现按日历调度,支持持久化。
- 使用Spring Task,Spring 3.0后提供Spring Task实现任务调度,支持按日历调度,相比Quartz功能稍简单,但是在开发基本够用,支持注解编程方式。
- SpringBoot中的Schedule :通过@EnableScheduling+@Scheduled最实现定时任务,底层使用的是Spring Task
2.分布式定时任务
2.1.遇到什么问题
上述的定时任务都是集中式(单体项目使用)的定时任务,在分布式中将会面临一些问题或不足
- 业务量大,单机性能瓶颈需要扩展
- 多台机器部署如何保证定时任务不重复执行
- 定时任务时间需要可调整,可以暂停
- 机器发生故障down机,定时任务依然可用,如何实现故障转移
- 定时任务,执行日志是否可监控
2.2.分布式定时任务xxl-job
XXL-JOB是一个分布式任务调度平台,于2015问世,其核心设计目标是开发迅速、学习简单、轻量级、易扩展。现已开放源代码并接入多家公司线上产品线,开箱即用。其具备且不止如下能力
- 1、简单:支持通过Web页面对任务进行CRUD操作,操作简单,一分钟上手;
- 2、动态:支持动态修改任务状态、启动/停止任务,以及终止运行中任务,即时生效;
- 3、调度中心HA(中心式):调度采用中心式设计,“调度中心”基于集群Quartz实现并支持集群部署,可保证调度中心HA;执行器HA(分布式):任务分布式执行,任务"执行器"支持集群部署,可保证任务执行HA;
- 4、弹性扩容缩容:一旦有新执行器机器上线或者下线,下次调度时将会重新分配任务;
- 5、路由策略:执行器集群部署时提供丰富的路由策略,包括:第一个、最后一个、轮询、随机、一致性HASH、最不经常使用、最近最久未使用、故障转移、忙碌转移等;
- 6、故障转移:任务路由策略选择"故障转移"情况下,如果执行器集群中某一台机器故障,将会自动Failover切换到一台正常的执行器发送调度请求。
- 7、任务失败告警;默认提供邮件方式失败告警,同时预留扩展接口,可方面的扩展短信、钉钉等告警方式;
具体见:https://github.com/xuxueli/xxl-job/tree/v2.0.0
二.XXL-JOB初体验
1.xxl-job架构设计
1.1.设计思想
将调度行为抽象形成“调度中心”公共平台,而平台自身并不承担业务逻辑,“调度中心”负责发起调度请求。
将任务抽象成分散的JobHandler,交由“执行器”统一管理,“执行器”负责接收调度请求并执行对应的JobHandler中业务逻辑。因此,“调度”和“任务”两部分可以相互解耦,提高系统整体稳定性和扩展性;
1.2.架构设计图
xxl-job分为 调度中心和执行器两大模块
- 调度模块(调度中心)
负责管理调度信息,按照调度配置发出调度请求,自身不承担业务代码。调度系统与任务解耦,提高了系统可用性和稳定性,同时调度系统性能不再受限于任务模块;
支持可视化、简单且动态的管理调度信息,包括任务新建,更新,删除,GLUE开发和任务报警等,所有上述操作都会实时生效,同时支持监控调度结果以及执行日志,支持执行器Failover(故障转移)。 - 执行模块(执行器)
负责接收调度请求并执行任务逻辑。任务模块专注于任务的执行等操作,开发和维护更加简单和高效;
接收“调度中心”的执行请求、终止请求和日志请求等。
![[外链图片转存失败,源站可能有防盗链机制,建议将图片保存下来直接上传(img-YotgsgRk-1637138879954)(课件图片/img_Qohm.png)]](https://i-blog.csdnimg.cn/blog_migrate/2d4f92dcc41906613809462148f001be.png)
- 调度中心高可用
基于数据库的集群方案,数据库选用Mysql;集群分布式并发环境中进行定时任务调度时,会在各个节点会上报任务,存到数据库中,执行时会从数据库中取出触发器来执行,如果触发器的名称和执行时间相同,则只有一个节点去执行此任务。
- 并行调度
调度采用线程池方式实现,避免单线程因阻塞而引起任务调度延迟。XXL-JOB调度模块默认采用并行机制,在多线程调度的情况下,调度模块被阻塞的几率很低,大大提高了调度系统的承载量。
XXL-JOB的不同任务之间并行调度、并行执行。XXL-JOB的单个任务,针对多个执行器是并行运行的,针对单个执行器是串行执行的。同时支持任务终止。
- 执行器(任务)高可用
执行器如若集群部署,调度中心将会感知到在线的所有执行器,如“127.0.0.1:9997, 127.0.0.1:9998, 127.0.0.1:9999”。多个执行器可以选择“路由策略”来采用轮询,随机等方式进行多机器调度。
当任务”路由策略”选择”故障转移(FAILOVER)”时,当调度中心每次发起调度请求时,会按照顺序对执行器发出心跳检测请求,第一个检测为存活状态的执行器将会被选定并发送调度请求。调度成功后,可在日志监控界面查看“调度备注”
更多功能见:https://www.xuxueli.com/xxl-job/#%E4%BA%94%E3%80%81%E6%80%BB%E4%BD%93%E8%AE%BE%E8%AE%A1
2.xxl-job安装
2.1.下载源码
请下载项目源码并解压,使用IDEA工具导入项目
| 源码仓库地址 | Release Download |
|---|---|
| https://github.com/xuxueli/xxl-job | Download |
| http://gitee.com/xuxueli0323/xxl-job | Download |
项目代码结构如下
![[外链图片转存失败,源站可能有防盗链机制,建议将图片保存下来直接上传(img-GcV8gQVU-1637138879958)(课件图片/1637133624058.png)]](https://i-blog.csdnimg.cn/blog_migrate/b2140384a3c0abe883dd2b26e653e952.png)
- doc : 文档,即SQL脚本所在目录
- db : “调度数据库”建表脚本
- xxl-job-admin : 调度中心项目源码
- xxl-job-core : 核心模块,公共Jar依赖
- xxl-job-executor-samples : 执行器,Sample示例项目(大家可以在该项目上进行开发,也可以将现有项目改造生成执行器项目)
2.2.导入数据库
打开项目代码,获取 “调度数据库初始化SQL脚本” 并执行即可。“调度数据库初始化SQL脚本” 位置为: /xxl-job/doc/db/tables_xxl_job.sql ,数据库名:xxl_job
![[外链图片转存失败,源站可能有防盗链机制,建议将图片保存下来直接上传(img-eCxldsYU-1637138879960)(课件图片/1637133468426.png)]](https://i-blog.csdnimg.cn/blog_migrate/2e9a90bd48802e6245a69d9ef4aef234.png)
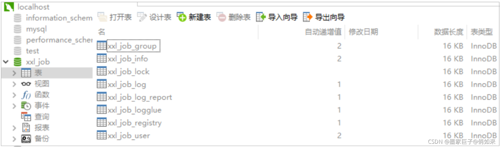
数据库如下
![[外链图片转存失败,源站可能有防盗链机制,建议将图片保存下来直接上传(img-Dgd07HmX-1637138879962)(课件图片/1637133507365.png)]](https://i-blog.csdnimg.cn/blog_migrate/f3bd736b60f84743b37d37da6d01d356.png)
- xxl_job_lock:任务调度锁表;
- xxl_job_group:执行器信息表,维护任务执行器信息;
- xxl_job_info:调度扩展信息表: 用于保存XXL-JOB调度任务的扩展信息,如任务分组、任务名、机器地址、执行器、执行入参和报警邮件等等;
- xxl_job_log:调度日志表: 用于保存XXL-JOB任务调度的历史信息,如调度结果、执行结果、调度入参、调度机器和执行器等等;
- xxl_job_log_report:调度日志报表:用户存储XXL-JOB任务调度日志的报表,调度中心报表功能页面会用到;
- xxl_job_logglue:任务GLUE日志:用于保存GLUE更新历史,用于支持GLUE的版本回溯功能;
- xxl_job_registry:执行器注册表,维护在线的执行器和调度中心机器地址信息;
- xxl_job_user:系统用户表;
2.3.启动调度中心
打开 xxl-job-admin 的配置文件,/xxl-job/xxl-job-admin/src/main/resources/application.properties 对调度中心进行配置,重要配置如下
- server.port : 根据情况修改端口
- spring.datasource.url : 指向刚才准备的数据库
- spring.datasource.password : 记得修改成自己的数据库密码
- spring.mail.username : 配置自己的邮件账号
- spring.mail.password :邮件的授权码,我下面是以qq邮箱为例
下面根据自己的情况进行修改,不要直接复制
### 调度中心JDBC链接:链接地址请保持和 2.1章节 所创建的调度数据库的地址一致
spring.datasource.url=jdbc:mysql://127.0.0.1:3306/xxl_job?useUnicode=true&characterEncoding=UTF-8&autoReconnect=true&serverTimezone=Asia/Shanghai
spring.datasource.username=root
spring.datasource.password=root_pwd
spring.datasource.driver-class-name=com.mysql.jdbc.Driver
### 报警邮箱
spring.mail.host=smtp.qq.com
spring.mail.port=25
spring.mail.username=xxx@qq.com
spring.mail.password=邮箱授权码,不是登录密码
spring.mail.properties.mail.smtp.auth=true
spring.mail.properties.mail.smtp.starttls.enable=true
spring.mail.properties.mail.smtp.starttls.required=true
spring.mail.properties.mail.smtp.socketFactory.class=javax.net.ssl.SSLSocketFactory
### 调度中心通讯TOKEN [选填]:非空时启用;
xxl.job.accessToken=
### 调度中心国际化配置 [必填]: 默认为 "zh_CN"/中文简体, 可选范围为 "zh_CN"/中文简体, "zh_TC"/中文繁体 and "en"/英文;
xxl.job.i18n=zh_CN
## 调度线程池最大线程配置【必填】
xxl.job.triggerpool.fast.max=200
xxl.job.triggerpool.slow.max=100
### 调度中心日志表数据保存天数 [必填]:过期日志自动清理;限制大于等于7时生效,否则, 如-1,关闭自动清理功能;
xxl.job.logretentiondays=30
然后启动调度中心 ,执行 XxlJobAdminApplication#main 方法 , 启动之后,浏览器访问 http://localhost:18080/xxl-job-admin/jobinfo?jobGroup=2 ;注意URL中有个上下文路径。默认登录账号 “admin/123456”, 登录后运行界面如下图所示。

2.3.配置部署“执行器项目
“执行器”项目:xxl-job-executor-sample-springboot (提供多种版本执行器供选择,现以 springboot 版本为例,可直接使用,也可以参考其并将现有项目改造成执行器)
作用:负责接收“调度中心”的调度并执行;可直接部署执行器,也可以将执行器集成到现有业务项目中。
修改配置:/xxl-job/xxl-job-executor-samples/xxl-job-executor-sample-springboot/src/main/resources/application.properties
- xxl.job.admin.addresses : 调度中心的地址,如果调度中心修改过端口,这里也要对应修改
### 调度中心部署跟地址 [选填]:如调度中心集群部署存在多个地址则用逗号分隔。执行器将会使用该地址进行"执行器心跳注册"和"任务结果回调";为空则关闭自动注册;
xxl.job.admin.addresses=http://127.0.0.1:18080/xxl-job-admin
### 执行器通讯TOKEN [选填]:非空时启用;
xxl.job.accessToken=
### 执行器AppName [选填]:执行器心跳注册分组依据;为空则关闭自动注册
xxl.job.executor.appname=xxl-job-executor-sample
### 执行器注册 [选填]:优先使用该配置作为注册地址,为空时使用内嵌服务 ”IP:PORT“ 作为注册地址。从而更灵活的支持容器类型执行器动态IP和动态映射端口问题。
xxl.job.executor.address=
### 执行器IP [选填]:默认为空表示自动获取IP,多网卡时可手动设置指定IP,该IP不会绑定Host仅作为通讯实用;地址信息用于 "执行器注册" 和 "调度中心请求并触发任务";
xxl.job.executor.ip=
### 执行器端口号 [选填]:小于等于0则自动获取;默认端口为9999,单机部署多个执行器时,注意要配置不同执行器端口;
xxl.job.executor.port=9999
### 执行器运行日志文件存储磁盘路径 [选填] :需要对该路径拥有读写权限;为空则使用默认路径;
xxl.job.executor.logpath=/data/applogs/xxl-job/jobhandler
### 执行器日志文件保存天数 [选填] : 过期日志自动清理, 限制值大于等于3时生效; 否则, 如-1, 关闭自动清理功能;
xxl.job.executor.logretentiondays=30
上面配置是为了在Spring容器中创建一个 XxlJobSpringExecutor 执行器Bean,见:com.xxl.job.executor.core.config.XxlJobConfig#xxlJobExecutor
@Bean
public XxlJobSpringExecutor xxlJobExecutor() {
logger.info(">>>>>>>>>>> xxl-job config init.");
XxlJobSpringExecutor xxlJobSpringExecutor = new XxlJobSpringExecutor();
xxlJobSpringExecutor.setAdminAddresses(adminAddresses);
xxlJobSpringExecutor.setAppname(appname);
xxlJobSpringExecutor.setAddress(address);
xxlJobSpringExecutor.setIp(ip);
xxlJobSpringExecutor.setPort(port);
xxlJobSpringExecutor.setAccessToken(accessToken);
xxlJobSpringExecutor.setLogPath(logPath);
xxlJobSpringExecutor.setLogRetentionDays(logRetentionDays);
return xxlJobSpringExecutor;
}
在com.xxl.job.executor.service.jobhandler.SampleXxlJob中提供了简单的定时任务实例
为方便用户参考与快速实用,示例执行器内原生提供多个Bean模式任务Handler,可以直接配置实用,如下:
- demoJobHandler:简单示例任务,任务内部模拟耗时任务逻辑,用户可在线体验Rolling Log等功能;
- shardingJobHandler:分片示例任务,任务内部模拟处理分片参数,可参考熟悉分片任务;
- httpJobHandler:通用HTTP任务Handler;业务方只需要提供HTTP链接等信息即可,不限制语言、平台。示例任务入参如下:
/**
* XxlJob开发示例(Bean模式)
*
* 开发步骤:
* 1、在Spring Bean实例中,开发Job方法,方式格式要求为 "public ReturnT<String> execute(String param)"
* 2、为Job方法添加注解 "@XxlJob(value="自定义jobhandler名称", init = "JobHandler初始化方法", destroy = "JobHandler销毁方法")",注解value值对应的是调度中心新建任务的JobHandler属性的值。
* 3、执行日志:需要通过 "XxlJobLogger.log" 打印执行日志;
*
* @author xuxueli 2019-12-11 21:52:51
*/
@Component
public class SampleXxlJob {
private static Logger logger = LoggerFactory.getLogger(SampleXxlJob.class);
/**
* 1、简单任务示例(Bean模式)
*/
@XxlJob("demoJobHandler")
public ReturnT<String> demoJobHandler(String param) throws Exception {
logger.info("XXL-JOB, Hello World. param={}",param);
return ReturnT.SUCCESS;
}
//...省略...
}
【重要】 如果我们要写自己的定时任务,参照上面方法,在方法上注解一个@XxlJob("任务名字") ,方法可以接受一个字符串参数,方法需要返回ReturnT格式。
最后启动执行器项目.
3.配置定时任务
3.1.执行器创建
打开调度中心可视化界面,在执行器管理界面,添加新增执行器
![[外链图片转存失败,源站可能有防盗链机制,建议将图片保存下来直接上传(img-G0KocL0v-1637138879964)(课件图片/1637134732964.png)]](https://i-blog.csdnimg.cn/blog_migrate/ffdc94e8001bf38a480d8fc4518e6a93.png)
-
appName : 执行器的名字,可以任意填写
-
名称:任意填写
-
注册方式:调度中心是通过RPC的方式对执行器发起调度,所以这里需要的是执行器项目的ip:port ,注意,该端口不是执行器项目的
server.port,而是:xxl.job.executor.port端口。你可以选择自动注册,也可以手动录入。
3.2.创建任务
在 任务管理 界面,新增任务
![[外链图片转存失败,源站可能有防盗链机制,建议将图片保存下来直接上传(img-DmeE1GSP-1637138879966)(课件图片/1637135062774.png)]](https://i-blog.csdnimg.cn/blog_migrate/aabe76b49a0767232aa200ca4ebb9c04.png)
- 路由策略:有轮询,随机,故障转移等等策略,是用在集群模式下的调度方式。
- cron : 定时任务的执行时间规则,时间表达式
- JobHandler : 这个是要对应 “执行器项目”中
@XxlJob("demoJobHandler")注解中的名字 - 运行模式 : Bean ,使用内置代码方式,也可以执行在线执行代码方式
- 报警邮件 : 如果定时任务失败,会发送报警邮件到邮箱
- 任务参数:这个参数可以传递给
@XxlJob("demoJobHandler")所在方法的参数。
创建好任务之后就可以执行了
![[外链图片转存失败,源站可能有防盗链机制,建议将图片保存下来直接上传(img-3asKcdzV-1637138879967)(课件图片/1637135245475.png)]](https://i-blog.csdnimg.cn/blog_migrate/0f4d8e00c7b33b1cbb67ed1d3d19b60c.png)
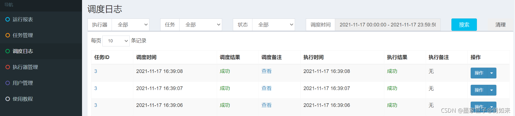
调度日志
![[外链图片转存失败,源站可能有防盗链机制,建议将图片保存下来直接上传(img-tSwJ8Mh5-1637138879968)(课件图片/1637138390369.png)]](https://i-blog.csdnimg.cn/blog_migrate/ea2f816353f3e3d65d8c4add21ecd972.png)
IDEA工具控制台效果
15:47:33.017 logback [Thread-16] INFO c.x.j.e.s.jobhandler.SampleXxlJob - XXL-JOB, Hello World. param=
15:47:34.007 logback [Thread-16] INFO c.x.j.e.s.jobhandler.SampleXxlJob - XXL-JOB, Hello World. param=
15:47:35.008 logback [Thread-16] INFO c.x.j.e.s.jobhandler.SampleXxlJob - XXL-JOB, Hello World. param=
...省略...
4.GLUE模式(Java)
4.1.添加任务
该模式支持在线编辑定时任务的内容,立刻执行,无需再开发工具中编辑代码,也无需重启项目。
请点击任务右侧 “GLUE” 按钮,进入 “GLUE编辑器开发界面” ,见下图。“GLUE模式(Java)” 运行模式的任务默认已经初始化了示例任务代码,即打印Hello World。
![[外链图片转存失败,源站可能有防盗链机制,建议将图片保存下来直接上传(img-uNwXbc32-1637138879969)(课件图片/1637137444000.png)]](https://i-blog.csdnimg.cn/blog_migrate/dcc274798eade0ddf4614bc75ab1e6ac.png)
任务以源码方式维护在调度中心,支持通过Web IDE在线更新,实时编译和生效,因此不需要指定JobHandler
4.2.编写代码
保存之后可以在操作按钮里面去编写任务
![[外链图片转存失败,源站可能有防盗链机制,建议将图片保存下来直接上传(img-fxKzDC5X-1637138879970)(课件图片/1637137493351.png)]](https://i-blog.csdnimg.cn/blog_migrate/c04c4aa21e137be454bc1e06e4f54a9a.png)
(“GLUE模式(Java)” 运行模式的任务实际上是一段继承自IJobHandler的Java类代码,它在执行器项目中运行,可使用@Resource/@Autowire注入执行器里中的其他服务),比如我的定时任务如下,编辑好之后点击保存
![[外链图片转存失败,源站可能有防盗链机制,建议将图片保存下来直接上传(img-pNUiWBoq-1637138879971)(课件图片/1637137843345.png)]](https://i-blog.csdnimg.cn/blog_migrate/a92fd8fb1813c221f52b597c774a4206.png)
保存好之后,启动定时任务,效果如下
![[外链图片转存失败,源站可能有防盗链机制,建议将图片保存下来直接上传(img-OxO9lylU-1637138879972)(课件图片/1637137960273.png)]](https://i-blog.csdnimg.cn/blog_migrate/cb927eee1ae5404a23456f35aebaf02a.png)
三.XXL-JOB集群部署
1.调度中心集群
1.1.问题概述
调度中心支持集群部署,提升调度系统容灾和可用性。调度中心集群部署时,几点要求和建议:
-
DB配置保持一致;
-
集群机器时钟保持一致(单机集群忽视);
-
当启动多个调度器时,执行器配置调度中心部署跟地址可以用逗号分隔。执行器将会使用该地址进行"执行器心跳注册"和"任务结果回调";为空则关闭自动注册;
但是建议:推荐通过nginx为调度中心集群做负载均衡,分配域名。调度中心访问、执行器回调配置、调用API服务等操作均通过该域名进行。
1.2.启动多个调度中心
修改调度中心端口,启动多个调度中心,我这里启动两个如
- http://localhost:18080/xxl-job-admin/
- http://localhost:18081/xxl-job-admin/
1.3.配置Nginx负载均衡
当启动多个调度器时,执行器配置调度中心部署跟地址可以用逗号分隔。执行器将会使用该地址进行“执行器心跳注册”和“任务结果回调”;为空则关闭自动注册;
但是建议:推荐通过nginx为调度中心集群做负载均衡,分配域名。调度中心访问、执行器回调配置、调用API服务等操作均通过该域名进行。
我们启动了2个调度中心,那么我的执行器项目该注册到哪个调度中心呢?我们通过Nginx来解决这个问题,原理如下图:
![[外链图片转存失败,源站可能有防盗链机制,建议将图片保存下来直接上传(img-5iu4xT3X-1637138879973)(课件图片/1637135852714.png)]](https://i-blog.csdnimg.cn/blog_migrate/2d95fdede63d87a5f346bc935e608057.png)
我们再hosts配置 www.jobs.com作为nginx的主机域名,然后反向代理到多个调度中心,这样一来执行器就只需要注册到www.jobs.com Nginx即可。
修改 C:\Windows\System32\drivers\etc\hosts增加配置如下
127.0.0.1 www.jobs.com
Nginx配置如下
#调度中心
upstream jobs{
server localhost:18080;
server localhost:18081;
}
server {
listen 80;
#使用域名
server_name www.jobs.com;
#charset koi8-r;
#access_log logs/host.access.log main;
location / {
#调度中心反向代理配置
proxy_pass http://jobs/;
}
#error_page 404 /404.html;
# redirect server error pages to the static page /50x.html
#
error_page 500 502 503 504 /50x.html;
location = /50x.html {
root html;
}
}
启动Nginx,通过浏览器访问 http://www.jobs.com/xxl-job-admin/ ,可以访问到调度中心的管理界面
2.执行器项目集群
执行器支持集群部署,提升调度系统可用性,同时提升任务处理能力。
执行器集群部署时,几点要求和建议:
- 执行器回调地址(xxl.job.admin.addresses)需要保持一致;执行器根据该配置进行执行器自动注册等操作。
- 同一个执行器集群内AppName(xxl.job.executor.appname)需要保持一致;调度中心根据该配置动态发现不同集群的在线执行器列表。
2.1.启动多个执行器项目
现在对执行器项目做集群,修改xxl-job-executor-sample-springboot配置文件application.properties
- server.port : 既然是做集群,项目端口需要修改
- xxl.job.admin.addresses : 调度中心地址需要修改成www.jobs.com ,多个执行器配置同一个地址。
- xxl.job.executor.port : RPC通信端口也要修改,多个执行器该端口需要不一样
第一个实例配置
server.port=19090
xxl.job.admin.addresses=http://www.jobs.com/xxl-job-admin #对应Nginx地址
xxl.job.executor.port=9999
第二个实例配置
server.port=19091
xxl.job.admin.addresses=http://www.jobs.com/xxl-job-admin
xxl.job.executor.port=9998
在 Configurations中配置,允许启动多个实例
![[外链图片转存失败,源站可能有防盗链机制,建议将图片保存下来直接上传(img-FFUGiRRs-1637138879973)(课件图片/1637136682350.png)]](https://i-blog.csdnimg.cn/blog_migrate/ea73c6f61b7ab4e2eda2e61119388814.png)
启动实例如下
![[外链图片转存失败,源站可能有防盗链机制,建议将图片保存下来直接上传(img-bM130ivW-1637138879974)(课件图片/1637136824731.png)]](https://i-blog.csdnimg.cn/blog_migrate/59dea405339d09afa6f72606af9f9647.png)
2.2.配置定时任务
通过http://www.jobs.com/xxl-job-admin 访问调度中心管理界面,在执行器管理中可以看到多台执行器实例
![[外链图片转存失败,源站可能有防盗链机制,建议将图片保存下来直接上传(img-HyzhATpI-1637138879975)(课件图片/1637137102829.png)]](https://i-blog.csdnimg.cn/blog_migrate/233f493f01da71e2af3d34ba2cf80f70.png)
在任务管理中,可以编辑任务,然后选择路由策略,比如:选择轮询,然后启动任务,就会看到两个执行器项目轮着执行定时任务。
![[外链图片转存失败,源站可能有防盗链机制,建议将图片保存下来直接上传(img-AvTDtdNA-1637138879976)(课件图片/1637137227287.png)]](https://i-blog.csdnimg.cn/blog_migrate/aa3033018c208e9fbb325e4fd1414728.png)
说在最后
xxl-job确实很强大,功能也很全,经过该文章学习相信你可以把xxl-job给用起来了,但是如果你的项目是一个小体量的单体,我不太建议使用它,Quzrtz或者SpringBoot Task就足够 ,对于xxl-job个人还是有些笨重。文章到这就结束了,喜欢的话请一定给个三连。收藏,点赞,好评。
1915

被折叠的 条评论
为什么被折叠?



