springboot077基于SpringBoot的汽车票网上预订系统--论文pf
表4.9 用户
用户需要注册才可以登录。具体界面的展示如图5.1所示。
用户登录后在后台汽车票信息可以进行预定操作。具体界面如图5.2所示。
用户可以在订单管理里面对订单信息进行换票和支付操作。界面如下图所示:
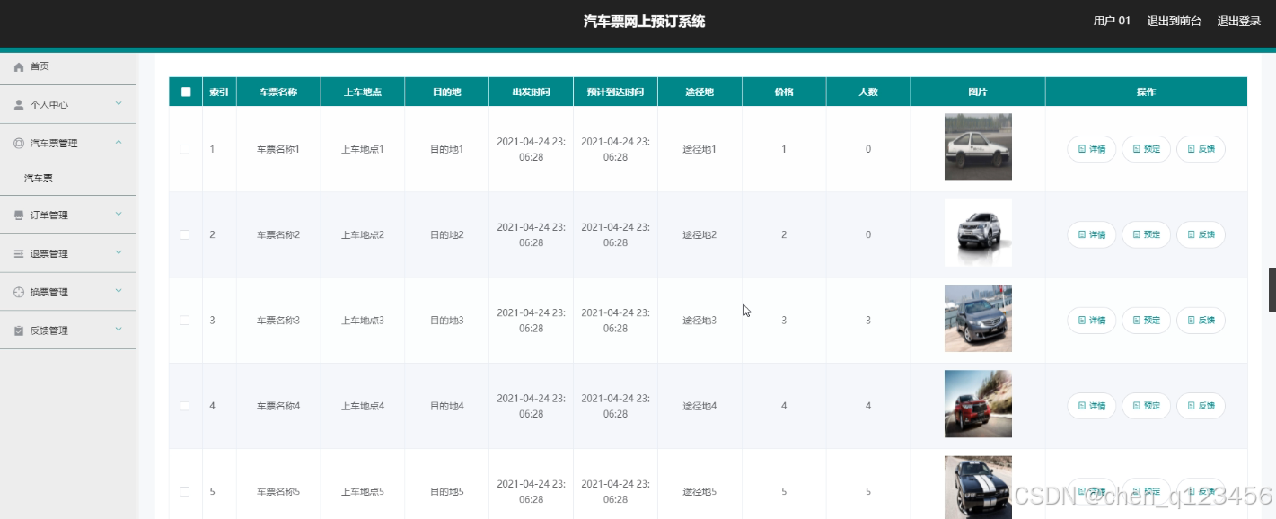
管理员可以对汽车票信息进行添加修改删除操作。界面如下图所示:
管理员可以对用户的退票信息进行审核。界面如下图所示:
管理员可以对留言反馈进行审核,修改,删除操作。界面如下图所示:
任务:消除软件故障,保证程序的可靠运行。测试与纠错的关系,可以用图6-1的数据流图来说明。图中表明,每一次测试都要准备好若干必要的测试数据,与被测试程序一道送入计算机执行。通常把一次程序执行需要的测试数据,称为一个“测试用例(Test Case)。每一个测试用例产生一个相应的“测试结果”。如果它与“期望结果”不想符合,便说明程序中存在错误,需要用纠错来改正。

DingdanController.java
package com.controller;
import java.text.SimpleDateFormat;
import java.util.ArrayList;
import java.util.Arrays;
import java.util.Calendar;
import java.util.Map;
import java.util.HashMap;
import java.util.Iterator;
import java.util.Date;
import java.util.List;
import javax.servlet.http.HttpServletRequest;
import com.utils.ValidatorUtils;
import org.apache.commons.lang3.StringUtils;
import org.springframework.beans.factory.annotation.Autowired;
import org.springframework.format.annotation.DateTimeFormat;
import org.springframework.web.bind.annotation.PathVariable;
import org.springframework.web.bind.annotation.RequestBody;
import org.springframework.web.bind.annotation.RequestMapping;
import org.springframework.web.bind.annotation.RequestParam;
import org.springframework.web.bind.annotation.RestController;
import com.baomidou.mybatisplus.mapper.EntityWrapper;
import com.baomidou.mybatisplus.mapper.Wrapper;
import com.annotation.IgnoreAuth;
import com.entity.DingdanEntity;
import com.entity.view.DingdanView;
import com.service.DingdanService;
import com.service.TokenService;
import com.utils.PageUtils;
import com.utils.R;
import com.utils.MD5Util;
import com.utils.MPUtil;
import com.utils.CommonUtil;
/**
* 订单
* 后端接口
* @author
* @email
* @date 2021-04-24 23:05:57
*/
@RestController
@RequestMapping("/dingdan")
public class DingdanController {
@Autowired
private DingdanService dingdanService;
/**
* 后端列表
*/
@RequestMapping("/page")
public R page(@RequestParam Map<String, Object> params,DingdanEntity dingdan,
HttpServletRequest request){
String tableName = request.getSession().getAttribute("tableName").toString();
if(tableName.equals("yonghu")) {
dingdan.setYonghuming((String)request.getSession().getAttribute("username"));
}
EntityWrapper<DingdanEntity> ew = new EntityWrapper<DingdanEntity>();
PageUtils page = dingdanService.queryPage(params, MPUtil.sort(MPUtil.between(MPUtil.likeOrEq(ew, dingdan), params), params));
return R.ok().put("data", page);
}
/**
* 前端列表
*/
@RequestMapping("/list")
public R list(@RequestParam Map<String, Object> params,DingdanEntity dingdan,
HttpServletRequest request){
EntityWrapper<DingdanEntity> ew = new EntityWrapper<DingdanEntity>();
PageUtils page = dingdanService.queryPage(params, MPUtil.sort(MPUtil.between(MPUtil.likeOrEq(ew, dingdan), params), params));
return R.ok().put("data", page);
}
/**
* 列表
*/
@RequestMapping("/lists")
public R list( DingdanEntity dingdan){
EntityWrapper<DingdanEntity> ew = new EntityWrapper<DingdanEntity>();
ew.allEq(MPUtil.allEQMapPre( dingdan, "dingdan"));
return R.ok().put("data", dingdanService.selectListView(ew));
}
/**
* 查询
*/
@RequestMapping("/query")
public R query(DingdanEntity dingdan){
EntityWrapper< DingdanEntity> ew = new EntityWrapper< DingdanEntity>();
ew.allEq(MPUtil.allEQMapPre( dingdan, "dingdan"));
DingdanView dingdanView = dingdanService.selectView(ew);
return R.ok("查询订单成功").put("data", dingdanView);
}
/**
* 后端详情
*/
@RequestMapping("/info/{id}")
public R info(@PathVariable("id") Long id){
DingdanEntity dingdan = dingdanService.selectById(id);
return R.ok().put("data", dingdan);
}
/**
* 前端详情
*/
@RequestMapping("/detail/{id}")
public R detail(@PathVariable("id") Long id){
DingdanEntity dingdan = dingdanService.selectById(id);
return R.ok().put("data", dingdan);
}
/**
* 后端保存
*/
@RequestMapping("/save")
public R save(@RequestBody DingdanEntity dingdan, HttpServletRequest request){
dingdan.setId(new Date().getTime()+new Double(Math.floor(Math.random()*1000)).longValue());
//ValidatorUtils.validateEntity(dingdan);
dingdanService.insert(dingdan);
return R.ok();
}
/**
* 前端保存
*/
@RequestMapping("/add")
public R add(@RequestBody DingdanEntity dingdan, HttpServletRequest request){
dingdan.setId(new Date().getTime()+new Double(Math.floor(Math.random()*1000)).longValue());
//ValidatorUtils.validateEntity(dingdan);
dingdanService.insert(dingdan);
return R.ok();
}
/**
* 修改
*/
@RequestMapping("/update")
public R update(@RequestBody DingdanEntity dingdan, HttpServletRequest request){
//ValidatorUtils.validateEntity(dingdan);
dingdanService.updateById(dingdan);//全部更新
return R.ok();
}
/**
* 删除
*/
@RequestMapping("/delete")
public R delete(@RequestBody Long[] ids){
dingdanService.deleteBatchIds(Arrays.asList(ids));
return R.ok();
}
/**
* 提醒接口
*/
@RequestMapping("/remind/{columnName}/{type}")
public R remindCount(@PathVariable("columnName") String columnName, HttpServletRequest request,
@PathVariable("type") String type,@RequestParam Map<String, Object> map) {
map.put("column", columnName);
map.put("type", type);
if(type.equals("2")) {
SimpleDateFormat sdf = new SimpleDateFormat("yyyy-MM-dd");
Calendar c = Calendar.getInstance();
Date remindStartDate = null;
Date remindEndDate = null;
if(map.get("remindstart")!=null) {
Integer remindStart = Integer.parseInt(map.get("remindstart").toString());
c.setTime(new Date());
c.add(Calendar.DAY_OF_MONTH,remindStart);
remindStartDate = c.getTime();
map.put("remindstart", sdf.format(remindStartDate));
}
if(map.get("remindend")!=null) {
Integer remindEnd = Integer.parseInt(map.get("remindend").toString());
c.setTime(new Date());
c.add(Calendar.DAY_OF_MONTH,remindEnd);
remindEndDate = c.getTime();
map.put("remindend", sdf.format(remindEndDate));
}
}
Wrapper<DingdanEntity> wrapper = new EntityWrapper<DingdanEntity>();
if(map.get("remindstart")!=null) {
wrapper.ge(columnName, map.get("remindstart"));
}
if(map.get("remindend")!=null) {
wrapper.le(columnName, map.get("remindend"));
}
String tableName = request.getSession().getAttribute("tableName").toString();
if(tableName.equals("yonghu")) {
wrapper.eq("yonghuming", (String)request.getSession().getAttribute("username"));
}
int count = dingdanService.selectCount(wrapper);
return R.ok().put("count", count);
}
}
MessagesController.java
package com.controller;
import java.text.SimpleDateFormat;
import java.util.ArrayList;
import java.util.Arrays;
import java.util.Calendar;
import java.util.Map;
import java.util.HashMap;
import java.util.Iterator;
import java.util.Date;
import java.util.List;
import javax.servlet.http.HttpServletRequest;
import com.utils.ValidatorUtils;
import org.apache.commons.lang3.StringUtils;
import org.springframework.beans.factory.annotation.Autowired;
import org.springframework.format.annotation.DateTimeFormat;
import org.springframework.web.bind.annotation.PathVariable;
import org.springframework.web.bind.annotation.RequestBody;
import org.springframework.web.bind.annotation.RequestMapping;
import org.springframework.web.bind.annotation.RequestParam;
import org.springframework.web.bind.annotation.RestController;
import com.baomidou.mybatisplus.mapper.EntityWrapper;
import com.baomidou.mybatisplus.mapper.Wrapper;
import com.annotation.IgnoreAuth;
import com.entity.MessagesEntity;
import com.entity.view.MessagesView;
import com.service.MessagesService;
import com.service.TokenService;
import com.utils.PageUtils;
import com.utils.R;
import com.utils.MD5Util;
import com.utils.MPUtil;
import com.utils.CommonUtil;
/**
* 留言板
* 后端接口
* @author
* @email
* @date 2021-04-24 23:05:57
*/
@RestController
@RequestMapping("/messages")
public class MessagesController {
@Autowired
private MessagesService messagesService;
/**
* 后端列表
*/
@RequestMapping("/page")
public R page(@RequestParam Map<String, Object> params,MessagesEntity messages,
HttpServletRequest request){
if(!request.getSession().getAttribute("role").toString().equals("管理员")) {
messages.setUserid((Long)request.getSession().getAttribute("userId"));
}
EntityWrapper<MessagesEntity> ew = new EntityWrapper<MessagesEntity>();
PageUtils page = messagesService.queryPage(params, MPUtil.sort(MPUtil.between(MPUtil.likeOrEq(ew, messages), params), params));
return R.ok().put("data", page);
}
/**
* 前端列表
*/
@RequestMapping("/list")
public R list(@RequestParam Map<String, Object> params,MessagesEntity messages,
HttpServletRequest request){
if(!request.getSession().getAttribute("role").toString().equals("管理员")) {
messages.setUserid((Long)request.getSession().getAttribute("userId"));
}
EntityWrapper<MessagesEntity> ew = new EntityWrapper<MessagesEntity>();
PageUtils page = messagesService.queryPage(params, MPUtil.sort(MPUtil.between(MPUtil.likeOrEq(ew, messages), params), params));
return R.ok().put("data", page);
}
/**
* 列表
*/
@RequestMapping("/lists")
public R list( MessagesEntity messages){
EntityWrapper<MessagesEntity> ew = new EntityWrapper<MessagesEntity>();
ew.allEq(MPUtil.allEQMapPre( messages, "messages"));
return R.ok().put("data", messagesService.selectListView(ew));
}
/**
* 查询
*/
@RequestMapping("/query")
public R query(MessagesEntity messages){
EntityWrapper< MessagesEntity> ew = new EntityWrapper< MessagesEntity>();
ew.allEq(MPUtil.allEQMapPre( messages, "messages"));
MessagesView messagesView = messagesService.selectView(ew);
return R.ok("查询留言板成功").put("data", messagesView);
}
/**
* 后端详情
*/
@RequestMapping("/info/{id}")
public R info(@PathVariable("id") Long id){
MessagesEntity messages = messagesService.selectById(id);
return R.ok().put("data", messages);
}
/**
* 前端详情
*/
@RequestMapping("/detail/{id}")
public R detail(@PathVariable("id") Long id){
MessagesEntity messages = messagesService.selectById(id);
return R.ok().put("data", messages);
}
/**
* 后端保存
*/
@RequestMapping("/save")
public R save(@RequestBody MessagesEntity messages, HttpServletRequest request){
messages.setId(new Date().getTime()+new Double(Math.floor(Math.random()*1000)).longValue());
//ValidatorUtils.validateEntity(messages);
messagesService.insert(messages);
return R.ok();
}
/**
* 前端保存
*/
@RequestMapping("/add")
public R add(@RequestBody MessagesEntity messages, HttpServletRequest request){
messages.setId(new Date().getTime()+new Double(Math.floor(Math.random()*1000)).longValue());
//ValidatorUtils.validateEntity(messages);
messages.setUserid((Long)request.getSession().getAttribute("userId"));
messagesService.insert(messages);
return R.ok();
}
/**
* 修改
*/
@RequestMapping("/update")
public R update(@RequestBody MessagesEntity messages, HttpServletRequest request){
//ValidatorUtils.validateEntity(messages);
messagesService.updateById(messages);//全部更新
return R.ok();
}
/**
* 删除
*/
@RequestMapping("/delete")
public R delete(@RequestBody Long[] ids){
messagesService.deleteBatchIds(Arrays.asList(ids));
return R.ok();
}
/**
* 提醒接口
*/
@RequestMapping("/remind/{columnName}/{type}")
public R remindCount(@PathVariable("columnName") String columnName, HttpServletRequest request,
@PathVariable("type") String type,@RequestParam Map<String, Object> map) {
map.put("column", columnName);
map.put("type", type);
if(type.equals("2")) {
SimpleDateFormat sdf = new SimpleDateFormat("yyyy-MM-dd");
Calendar c = Calendar.getInstance();
Date remindStartDate = null;
Date remindEndDate = null;
if(map.get("remindstart")!=null) {
Integer remindStart = Integer.parseInt(map.get("remindstart").toString());
c.setTime(new Date());
c.add(Calendar.DAY_OF_MONTH,remindStart);
remindStartDate = c.getTime();
map.put("remindstart", sdf.format(remindStartDate));
}
if(map.get("remindend")!=null) {
Integer remindEnd = Integer.parseInt(map.get("remindend").toString());
c.setTime(new Date());
c.add(Calendar.DAY_OF_MONTH,remindEnd);
remindEndDate = c.getTime();
map.put("remindend", sdf.format(remindEndDate));
}
}
Wrapper<MessagesEntity> wrapper = new EntityWrapper<MessagesEntity>();
if(map.get("remindstart")!=null) {
wrapper.ge(columnName, map.get("remindstart"));
}
if(map.get("remindend")!=null) {
wrapper.le(columnName, map.get("remindend"));
}
int count = messagesService.selectCount(wrapper);
return R.ok().put("count", count);
}
}
IndexAsideStatic.vue
<template>
<el-aside class="index-aside" height="100vh" width="210px">
<div class="index-aside-inner menulist" style="height:100%">
<div v-for="item in menuList" :key="item.roleName" v-if="role==item.roleName" class="menulist-item" style="height:100%;broder:0;background-color:#EEEEEE">
<div class="menulistImg" style="backgroundColor:#ff0000;padding:25px 0" v-if="false && menulistStyle == 'vertical'">
<el-image v-if="'http://codegen.caihongy.cn/20201021/cc7d45d9c8164b58b18351764eba9be1.jpg'" src="http://codegen.caihongy.cn/20201021/cc7d45d9c8164b58b18351764eba9be1.jpg" fit="cover" />
</div>
<el-menu mode="vertical" :unique-opened="true" class="el-menu-demo" style="height:100%;" background-color="#EEEEEE" text-color="#333333" active-text-color="#030303" default-active="0">
<el-menu-item index="0" :style="menulistBorderBottom" @click="menuHandler('')"><i v-if="true" class="el-icon-s-home" />首页</el-menu-item>
<el-submenu :index="1+''" :style="menulistBorderBottom">
<template slot="title">
<i v-if="true" class="el-icon-user-solid" />
<span>个人中心</span>
</template>
<el-menu-item :index="1-1" @click="menuHandler('updatePassword')">修改密码</el-menu-item>
<el-menu-item :index="1-2" @click="menuHandler('center')">个人信息</el-menu-item>
</el-submenu>
<el-submenu :style="menulistBorderBottom" v-for=" (menu,index) in item.backMenu" :key="menu.menu" :index="index+2+''">
<template slot="title">
<i v-if="true" :class="icons[index]" />
<span>{{ menu.menu }}</span>
</template>
<el-menu-item v-for=" (child,sort) in menu.child" :key="sort" :index="(index+2)+'-'+sort" @click="menuHandler(child.tableName)">{{ child.menu }}</el-menu-item>
</el-submenu>
</el-menu>
</div>
</div>
</el-aside>
</template>
<script>
import menu from '@/utils/menu'
export default {
data() {
return {
menuList: [],
dynamicMenuRoutes: [],
role: '',
icons: [
'el-icon-s-cooperation',
'el-icon-s-order',
'el-icon-s-platform',
'el-icon-s-fold',
'el-icon-s-unfold',
'el-icon-s-operation',
'el-icon-s-promotion',
'el-icon-s-release',
'el-icon-s-ticket',
'el-icon-s-management',
'el-icon-s-open',
'el-icon-s-shop',
'el-icon-s-marketing',
'el-icon-s-flag',
'el-icon-s-comment',
'el-icon-s-finance',
'el-icon-s-claim',
'el-icon-s-custom',
'el-icon-s-opportunity',
'el-icon-s-data',
'el-icon-s-check',
'el-icon-s-grid',
'el-icon-menu',
'el-icon-chat-dot-square',
'el-icon-message',
'el-icon-postcard',
'el-icon-position',
'el-icon-microphone',
'el-icon-close-notification',
'el-icon-bangzhu',
'el-icon-time',
'el-icon-odometer',
'el-icon-crop',
'el-icon-aim',
'el-icon-switch-button',
'el-icon-full-screen',
'el-icon-copy-document',
'el-icon-mic',
'el-icon-stopwatch',
],
menulistStyle: 'vertical',
menulistBorderBottom: {},
}
},
mounted() {
const menus = menu.list()
this.menuList = menus
this.role = this.$storage.get('role')
},
created(){
setTimeout(()=>{
this.menulistStyleChange()
},10)
this.icons.sort(()=>{
return (0.5-Math.random())
})
this.lineBorder()
},
methods: {
lineBorder() {
let style = 'vertical'
let w = '1px'
let s = 'solid'
let c = '#8CA2A0'
if(style == 'vertical') {
this.menulistBorderBottom = {
borderBottomWidth: w,
borderBottomStyle: s,
borderBottomColor: c
}
} else {
this.menulistBorderBottom = {
borderRightWidth: w,
borderRightStyle: s,
borderRightColor: c
}
}
},
menuHandler(name) {
let router = this.$router
name = '/'+name
router.push(name)
},
// 菜单
setMenulistHoverColor(){
let that = this
this.$nextTick(()=>{
document.querySelectorAll('.menulist .el-menu-item').forEach(el=>{
el.addEventListener("mouseenter", e => {
e.stopPropagation()
el.style.backgroundColor = "rgba(0, 150, 136, 1)"
})
el.addEventListener("mouseleave", e => {
e.stopPropagation()
el.style.backgroundColor = "#EEEEEE"
})
el.addEventListener("focus", e => {
e.stopPropagation()
el.style.backgroundColor = "rgba(0, 150, 136, 1)"
})
})
document.querySelectorAll('.menulist .el-submenu__title').forEach(el=>{
el.addEventListener("mouseenter", e => {
e.stopPropagation()
el.style.backgroundColor = "rgba(0, 150, 136, 1)"
})
el.addEventListener("mouseleave", e => {
e.stopPropagation()
el.style.backgroundColor = "#EEEEEE"
})
})
})
},
setMenulistIconColor() {
this.$nextTick(()=>{
document.querySelectorAll('.menulist .el-submenu__title .el-submenu__icon-arrow').forEach(el=>{
el.style.color = "rgba(0, 150, 136, 1)"
})
})
},
menulistStyleChange() {
this.setMenulistIconColor()
this.setMenulistHoverColor()
this.setMenulistStyleHeightChange()
let str = "vertical"
if("horizontal" === str) {
this.$nextTick(()=>{
document.querySelectorAll('.el-container .el-container').forEach(el=>{
el.style.display = "block"
el.style.paddingTop = "80px" // header 高度
})
document.querySelectorAll('.el-aside').forEach(el=>{
el.style.width = "100%"
el.style.height = "60px"
el.style.paddingTop = '0'
})
document.querySelectorAll('.index-aside .index-aside-inner').forEach(el=>{
el.style.paddingTop = '0'
})
})
}
if("vertical" === str) {
this.$nextTick(()=>{
document.querySelectorAll('.index-aside .index-aside-inner').forEach(el=>{
el.style.paddingTop = "80px"
})
})
}
},
setMenulistStyleHeightChange() {
this.$nextTick(()=>{
document.querySelectorAll('.menulist-item>.el-menu--horizontal>.el-menu-item').forEach(el=>{
el.style.height = "60px"
el.style.lineHeight = "60px"
})
document.querySelectorAll('.menulist-item>.el-menu--horizontal>.el-submenu>.el-submenu__title').forEach(el=>{
el.style.height = "60px"
el.style.lineHeight = "60px"
})
})
},
}
}
</script>
<style lang="scss" scoped>
.index-aside {
position: relative;
overflow: hidden;
.menulistImg {
padding: 24px 0;
box-sizing: border-box;
.el-image {
margin: 0 auto;
width: 100px;
height: 100px;
border-radius: 100%;
display: block;
}
}
.index-aside-inner {
height: 100%;
margin-right: -17px;
margin-bottom: -17px;
overflow: scroll;
overflow-x: hidden !important;
padding-top: 60px;
box-sizing: border-box;
&:focus {
outline: none;
}
.el-menu {
border: 0;
}
}
}
</style>

921

被折叠的 条评论
为什么被折叠?



