项目运行
环境配置:
Jdk1.8 + Tomcat7.0 + Mysql + HBuilderX(Webstorm也行)+ Eclispe(IntelliJ IDEA,Eclispe,MyEclispe,Sts都支持)。
项目技术:
SSM + mybatis + Maven + Vue 等等组成,B/S模式 + Maven管理等等。
环境需要
1.运行环境:最好是java jdk 1.8,我们在这个平台上运行的。其他版本理论上也可以。
2.IDE环境:IDEA,Eclipse,Myeclipse都可以。推荐IDEA;
3.tomcat环境:Tomcat 7.x,8.x,9.x版本均可
4.硬件环境:windows 7/8/10 1G内存以上;或者 Mac OS;
5.是否Maven项目: 否;查看源码目录中是否包含pom.xml;若包含,则为maven项目,否则为非maven项目
6.数据库:MySql 5.7/8.0等版本均可;
毕设帮助,指导,本源码分享,调试部署(见文末)
3.1.1 经济可行性
由于本系统是作为毕业设计系统,且系统本身存在一些技术层面的缺陷,并不能直接用于商业用途,只想要通过该系统的开发提高自身学术水平,不需要特定服务器等额外花费。所有创造及工作过程仅需在个人电脑上就能实现,使用到的软件大多为开源软件,所以经济成本并不高,可以轻易实现。
3.1.2 技术可行性
本系统的开发使用java作为系统开发的开发语言,开发环境选择My Eclipse,而B/S结构决定了本系统的兼容性和多用户可操作性,此外选择MySql作为数据库不仅提高了数据安全性更保障了数据的可操作性。
3.1.3 运行可行性
本系统作为以java作为开发语言的系统,而且选用B/S结构则决定了要操作本系统仅需要占用很小的资源,并没有过多地硬件配置要求,目前市面上只要能正常运行浏览器的个人电脑都可以正常运行使用该系统。
经过总结,本系统在经济方面、技术方面、运行方面的条件都得以满足,为此系统的开发具备了可行性条件。
3.2 小程序现状分析
系统使用用户的数量直接决定了用户信息管理者的工作量,毫无疑问,网站管理者的工作量较大较繁琐。通过总结出系统当前对社区人员管理的工作状态得以下分析:
统筹规划,如果系统在信息化管理中不够全面,缺少综合性、系统性、整体性,那不可避免的需要投入大量人力物力来规划整理信息。引入信息化管理方式无疑可以达到节省信息管理成本的目的不仅减少资源浪费还可以使居家养老服务信息变得井井有条,成为市场竞争中的一大优势。
要循序渐进,做事不能心急,一步一个脚印,都不可能一步到位,就算信息服务系统也一样,要让系统发挥最大效率还是应该多调研,多听取管理者的意见,并进行必要的统筹规划,有组织有目的地设计系统功能,团结各个部门发挥主观能动性。
(1)信息安全措施不到位
隐私权神圣不可侵犯,这是中华人民共和国宪法赋予我们的权利,人和人都不能侵犯我们的正当权益,而网络用户信息管理存在极大安全隐患,信息泄露的案列不在少数,加强信息安全措施是完善网络信息管理过程中不可避免的一环。
(2资源不能充分共享
资源共享是网络的一大特点,没有共享就没有社交,网络也就失去了他应有的魅力,如果能够实现用户信息共享,无疑对于社区人员的发展存在不可或缺的帮助。
(3现有系统可扩展性不高。
如今科学技术发展飞速,随着而来的就是技术更新,那势必会给软件更新带来挑战,因此,系统必须具备良好的开放性和可扩充性,为了不落后于时代,这是必备特色之一。
基于上述分析,居家养老服务系统小程序应该切合实际,做到确实有效,集体表现为:一是系统能够整理并集合归类用户信息,防止用户信息混乱,难以整理;二是系统要安全稳定,不能泄露用户信息,造成隐私泄露,不仅伤害用户利益更是对经营者名誉的损毁;三是系统要具有良好的开放性,不仅要方便定期的维护维修,更要方便及时增加新功能,保证先进的时代契合性。经过详细的讨论论证,确定系统的总体要求。
3.3 功能需求分析
系统功能需求分析是通过软件开发者在参与市场调研,与居家养老服务管理者及居家养老服务交流后经过详细缜密的思考,再讨论研究后得出的初步系统开发所需实现功能。这是开发系统的开始,也是相当关键的一步,如果不在这个阶段制定系统所需模块,日后会带来不必要的麻烦。因此,必须严肃认真,全身心投入去做好这个步骤。
本系统采用从上往下的步骤开发,基本功能如下:
本课题要求实现一套居家养老服务系统小程序,系统主要包括前台模块(社区人员,子女,老人)和后台模块(管理员)等功能。

图3-1管理员用例图
(2)社区人员,子女和老人进入小程序首页可以实现首页,健康情况,老人事务,服务进度,我的等内容,前台用例图如下所示:

图3-2前台用例图
3.4 系统设计规则与运行环境
软件系统的优劣很大程度上是由系统设计的完善与否决定的。世间万物都必须遵循生老病死的法则,这是大自然的规则不能违反,软件设计也一样需要遵循系统设计规则。因此,在设计过程中必须遵循系统设计规则。
规则如下:
简单性:为了扩大系统使用者的受众面,系统设计应该本着操作越简单约好的原则,这样不仅能提高系统的使用率更能够扩大系统使用面。。
针对性:一个系统针对性越强,所能提供的功能必然越完善,用户体验肯定更好,所以应该明确指定系统针对性。
实用性:实用永远是检验一个系统是否成功的唯一标准,使用的语言再高端,使用的结构再新颖但不能满足用户的要求那就是失败。
运行环境:
本系统是利用B/S结构来开发的,数据库在服务器上进行部署MySQL即可,其他包括My Eclipse等常规开发程序。
3.5系统流程分析
3.5.1操作流程

图3-3登录流程图
3.5.2添加信息流程
添加信息流程图,如图所示:

图3-4添加信息流程图
3.5.3删除信息流程
删除信息流程图,如图所示:

图3-5删除信息流程图
4 系统设计
4.1 系统设计主要功能
通过市场调研及咨询研究,了解了居家养老服务及管理者的使用需求,于是制定了管理员,社区人员,子女,老人等模块。功能结构图如下所示:

图4-1系统功能结构图
4.2 数据库设计
4.2.1 数据库设计规范
数据可设计要遵循职责分离原则,即在设计时应该要考虑系统独立性,即每个系统之间互不干预不能混乱数据表和系统关系。
数据库命名也要遵循一定规范,否则容易混淆,数据库字段名要尽量做到与表名类似,多使用小写英文字母和下划线来命名并尽量使用简单单词。
4.2.2 E/R图
社区人员管理E/R图,如下所示:

图4-2 社区人员管理E/R图
子女管理E/R图,如下所示:

图4-3子女管理E/R图
老人管理E/R图,如下所示。

图4-4老人管理E/R图
5.1前台功能模块(社区人员,子女,老人)
登录,社区人员,子女,老人通过输入用户名和密码,并点击登录进行系统登录操作,如图5-1所示。

图5-1用户登录界面图
子女注册,在子女注册页面通过填写用户账号,密码,确认密码,姓名,性别,手机等信息进行注册操作;如图5-2所示。

图5-2子女注册界面图
社区人员,子女,老人登陆系统后,可以对首页,健康情况,老人事务,服务进度,我的等功能进行详细操作,如图5-3所示。

图5-3小程序首页界面图
老人,在我的页面可以对健康情况,老人事务,服务进度,意见反馈等详细信息进行操作,如图5-4所示。

图5-4老人功能界面图
子女,在我的页面可以对健康情况,老人事务,服务进度,意见反馈等详细信息进行操作,如图5-5所示。

图5-5子女功能界面图
社区人员,在我的页面可以对老人健康情况,服务进度,意见反馈等详细信息进行操作,如图5-6所示。

图5-6社区人员功能界面图
5.2后台功能模块(管理员)
管理员登录,管理员通过输入账号、密码,选择角色并点击登录进行系统登录操作,如图5-7所示。

图5-7管理员登录界面图
管理员登陆系统后,可以对首页,个人中心,社区人员管理,子女管理,老人管理,事务类型管理,健康情况管理,老人事务管理,服务进度管理,管理员管理,系统管理等功能进行相应操作,如图5-8所示。

图5-8管理员功能界面图
社区人员管理,在社区人员管理页面可以对索引,工作编号,姓名,性别,头像,手机等内容进行详情、修改或删除等操作,如图5-9所示。

图5-9社区人员管理界面图
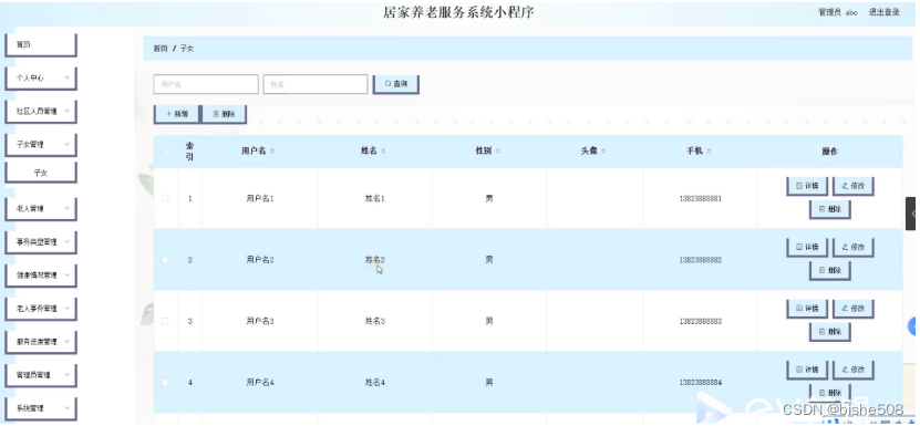
子女管理,在子女管理页面可以对索引,用户名,姓名,性别,头像,手机等内容进行详情,修改或删除等操作,如图5-10所示。

图5-10子女管理界面图
老人管理,在老人管理页面可以对索引,老人账号,老人姓名,性别,照片,年龄,联系电话,用户名,姓名等内容进行详情、修改或删除等操作,如图5-11所示。

图5-11老人管理界面图
事务类型管理,在事务类型管理页面可以对索引,事务类型内容进行详情,修改或删除等操作,如图5-12所示。

图5-12事务类型管理界面图
本文档详述了一款基于SpringBoot的居家养老服务系统小程序的设计与开发,探讨了其经济、技术和运行可行性。系统采用B/S架构,利用Java和MySql数据库,旨在提升居家养老信息管理效率。功能涵盖管理员和用户(社区人员、子女、老人)模块,强调了系统的安全性、实用性和可扩展性。设计中包括登录、信息添加与删除等流程,并提供了E/R图和功能结构图。
363

被折叠的 条评论
为什么被折叠?



