防疫物资是本轮新冠肺炎病毒疫情防控取得最终胜利的重要保障,由于抗疫物资既有医疗装备,又有日常的医用耗材和消毒产品,物资单价低,消耗大,管理繁琐。如何通过分级和闭环管理,应用信息化手段,达到满足疫情防控的需要,保障抗疫取得最后胜利,是目前疫情常态化下防疫物资管理的重大课题。
尤其是社区作为防疫的一线阵地,对于抗疫物资也承担着不可推卸的管理责任。通常社区所需的抗疫物资比较多且杂,如果仅仅只采用人工进行纸质化管理的话会非常麻烦且耗费时间,同时也不便于应对突发的紧急情况。百数作为一款低代码开发平台,早已搭建的抗疫物资管理系统,并且支持对接钉钉和企业微信等第三方系统进行使用,从而帮助提高防疫工作者的工作效率和应急速度。
百数搭建的“抗疫物资管理”系统只要是分为物资查询、物资填报、基础设置等模板。

物资填报
物资填报顾名思义就是将现有所有的物资填入系统,然后系统可以对其进行分类与统计等。抗疫物资管理系统中的物资填报划分还特详细,分为物资采购、物资领用、物资归还。

物资采购是管理中的一个重要环节,放在企业运营中而言更是必不可少。此处的物资采购主要是对其采购的物资进行全部登记在系统中,便于管理者对物资的分配与整体,提高效率,做到公平公正。

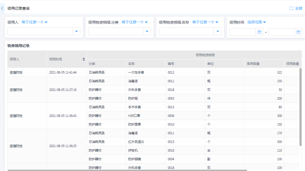
物资领用的传统的方法采用表格记录,人工登记的方式。但是这种模式不能统计员工的综合使用情况、非常容易造成物资的浪费和丢失行为。同时手写效率低下,阻碍了其它部门的工作进展。而这里的物资领用采用云端存储、手机或者电脑提交领用,可以快速的实现物资自动记录管理。方便了物资保管员后期的数据查询和核对工作,特别是库存数量的低预警可以帮助采购实现提醒操作。

物资归还通常是将相关的物资归还后进行登记,以往采取的方式是人工进行表格登记,简单的同时却也暴露了缺点。例如:效率低下、信息储存不方便等。而这里的物资归还采用云端存储、手机或者电脑提交领用,可以快速的实现物资自动记录管理,提高了工作效率。

物资查询
物资查询这一块主要是要将所有录入进去的物资形成了表单化,便于管理者可以一目了然进行物资的分配、管理、清点等工作。物资查询主要是分为:库存查询、物资入库记录、领用记录查询、归还记录查询。
库存查询

物资入库记录

领用记录查询

归还记录

基础设置
基础设置主要是对物资的整体进行基础信息的录入,便于日后的查找。基础设置包括:物资的编号、物资名称、分类、单位、备注等。

为提高防疫物资管理效率,百数推出抗疫物资管理系统,该系统通过信息化手段实现物资的闭环管理,包含物资采购、领用及归还等功能,助力社区防疫工作。

6100

被折叠的 条评论
为什么被折叠?



