上一篇关于Prometheus的文章中说到了Prometheus是如何实现进程监控。在实际的线上环境中,当系统进程出现异常后需要实时通知到值班运维人员,去检查系统是否还正常运转。下面我们就介绍下基于Prometheus如何实现监控报警通知。
Prometheus的报警通知,是利用其组件AlertManager,Alertmanager接收Prometheus等客户端发来的警报,之后通过分组,删除重复等处理,并将它们通过路由发送给正确的接收器。告警方式可以按照不同的规则发送给不同的模块负责人,Alertmanager支持Wechat, Email, Webhook等告警方式, 其中Webhook可以接入钉钉等聊天工具。

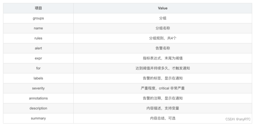
报警流程
- Prometheus配置监控规则
- 监控对象触发阈值
- 阈值超出持续时间
- 推送告警到Alertmanager
- Alertmanager处理告警信息
1)分组(group):类似告警合并为一个通知。
2)静默(silences):不通知,系统升级时使用。
3)抑制(inhibition): 只通知一次,相同内容不再通知。 - Alertmanager发送通知到媒体,邮箱,钉钉,企业微信等接收到通知
安装部署AlertManager
部署alertermanager
下载二进制文件
wget https://github.com/prometheus/alertmanager/releases/download/v0.24.0/alertmanager-0.24.0.linux-amd64.tar.gz
tar zxvf alertmanager-0.24.0.linux-amd64.tar.gz
mv alertmanager-0.24.0.linux-amd64 /apps/alertmanager
创建alertermanager服务
vim /etc/systemd/system/alertmanager.service
[Unit]
Description=alertmanager
Documentation=https://prometheus.io/
After=network.target
[Service]
User=root
Type=simple
#不能有单引号和双引号
ExecStart=/home/prometheus/alertmanager/alertmanager/alertmanager --config.file=/home/prometheus/alertmanager/alertmanager/al

最低0.47元/天 解锁文章
3082

被折叠的 条评论
为什么被折叠?



