唠嗑部分
是这样,前几日完善了定时任务的日志记录,今日切换了服务器,多部署了一个节点,使用nginx负载均衡,但是查看日志却发现了如下情况

那糟糕了,传说中的多实例问题出现了,今天我们就来聊聊项目实战中定时任务如何做,首先我们看如下问题
1、什么是定时任务,能帮我们解决什么实际问题?
见名知意,定时任务就是让程序指定时间去执行某段代码,例如,每日8点给女朋友发早安祝福
那么能给我们开发中解决什么问题呢?
在实际开发中,有许多需要定时任务的场景,如,每日定时去同步数据、缓存的预热、定时清理日志文件、定时统计榜单…
2、项目实战中哪些场景需要使用到定时任务?
需求一:产品经理要求实现系统的3天内热搜榜,每日0点更新数据
需求二:系统需要依赖第三方系统的数据,而且请求并发较大,第三方数据是每日更新的
需求三:系统每天都会有大量操作日志,产品经理要求只保留一个月的数据
需求四:对于系统主页数据,每日9-12点并发最大,需要定时对缓存预热
…
以上需求都可以用定时任务实现
3、推荐使用的定时任务组件有哪些?
Spring整合了Scheduled,轻量级而且很好用,无UI展示
xxl-Job,xxl是xxl-job的开发者大众点评的许雪里名称的拼音开头,主要用于处理分布式的定时任务,其主要由调度中心和执行器组成,有良好的UI界面。
elastic-Job,Elastic-Job是当当网推出的分布式任务调度框架,用于解决分布式任务的协调调度问题,保证任务不重复不遗漏地执行;无UI展示,需要分布式协调工具Zookeeper的支持
…
4、如何实现分布式定时任务,避免多实例问题?
首先我们来说说什么是多实例问题,在我们的项目开发中,我们在部署定时任务时,通常只部署一台机器,如果部署多台机器时,同一个任务会执行多次(每个机器都会执行,互不影响),那如果有一些给用户计算收益定时任务,每天定时给用户计算收益,如果部署了多台,同一个用户将重复计算多次收益,那就芭比Q了,那如果只部署一台,则会有单点故障问题,可用性无法保证
以上所说的xxl-job,elastic-Job均可以解决多实例问题,保证任务不重复不遗漏地执行
那我们使用Spring自带的Scheduled,如何避免多实例问题呢,我们可以使用redis锁来保证,具体逻辑如下
每个实例调用setnx命令插入一条数据,插入成功后返回1的实例执行job,返回0的不执行
言归正传
首先我们看下之前的代码逻辑,我这里是整合的Scheduled,自行封装的定时任务,在执行时,没有解决多实例问题

那我们的逻辑是,在此段代码执行时加入redis锁,保证执行一次
1、redis加锁方法封装
/**
* 加锁
* @param key
* @param timeStamp
* @return
*/
public Boolean lock(String key, String timeStamp){
if (redisTemplate.opsForValue().setIfAbsent(getKey(key), timeStamp)) {
return true;
}
String currentLock = (String) redisTemplate.opsForValue().get(getKey(key));
if (StringUtils.hasLength(currentLock) && Long.parseLong(currentLock) < System.currentTimeMillis()) {
String preLock = (String) redisTemplate.opsForValue().getAndSet(getKey(key), timeStamp);
if (StringUtils.hasLength(preLock) && preLock.equals(currentLock)) {
return true;
}
}
return false;
}
/**
* 解锁
* @param key
* @param timeStamp
*/
public void unLock(String key, String timeStamp){
try {
String currentValue = (String) redisTemplate.opsForValue().get(getKey(key));
if (StringUtils.hasLength(currentValue) && currentValue.equals(timeStamp)) {
redisTemplate.opsForValue().getOperations().delete(getKey(key));
}
} catch (Exception e) {
log.error("解锁异常");
}
}
2、多实例解决实现逻辑
public void run() {
long startTime = System.currentTimeMillis();
Map<String, Scheduled> scheduledMap = scheduledTaskService.getScheduledMap();
ScheduledLog scheduledLog = new ScheduledLog();
Scheduled scheduled = scheduledMap.get(beanName);
Boolean flag = Boolean.TRUE;
String timeStamp = String.valueOf(System.currentTimeMillis() + 300L);
try {
Boolean lock = redisUtil.lock(redisUtil.getCacheKey(CachePrefixContent.LOCK_PREFIX, beanName), timeStamp);
if (lock) {
BaseResult result = BaseResult.ok();
scheduledLog.setTaskId(scheduled.getTaskId());
scheduledLog.setExecuteTime(LocalDateTime.now());
// 执行定时任务处理逻辑
execute(result);
if (result.resOk()) {
scheduledLog.setExecuteStatus(Boolean.TRUE);
} else {
scheduledLog.setExecuteStatus(Boolean.FALSE);
}
scheduledLog.setExecuteDesc(result.getMsg());
redisUtil.unLock(redisUtil.getCacheKey(CachePrefixContent.LOCK_PREFIX, beanName), timeStamp);
} else {
flag = Boolean.FALSE;
}
} catch (Exception e) {
log.error("定时任务:{}执行失败,{}", scheduled.getTaskName(), e);
scheduledLog.setExecuteStatus(Boolean.FALSE);
scheduledLog.setExecuteDesc(e.getMessage());
} finally {
long endTime = System.currentTimeMillis();
log.info("【{}】【】【{}ms】", "定时任务", scheduled.getTaskName(), endTime - startTime);
if (flag) {
completableFutureService.runAsyncTask(() -> {
scheduledLogMapper.insert(scheduledLog);
});
}
}
}
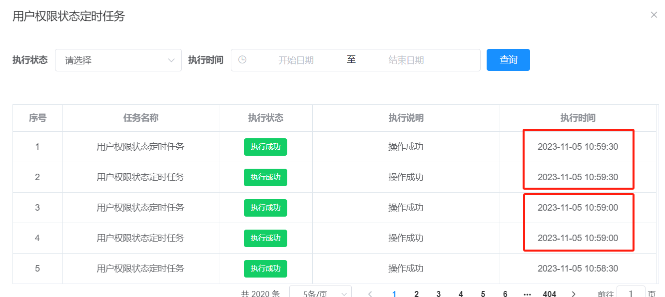
3、效果展示
每30秒两个示例只有单台节点执行成功

结语
1、以上问题就解决了,快去给你的代码加上吧!
2、制作不易,一键三连再走吧,您的支持永远是我最大的动力!

本文介绍了项目实战中定时任务的应用场景,推荐了Spring的Scheduled和xxl-Job、elastic-Job等组件,并详细阐述了如何使用Redis锁解决分布式定时任务的多实例问题,确保任务唯一执行。
2139

被折叠的 条评论
为什么被折叠?



