前言
国产同步整流DCDC,参考价格约0.15元。
特征
高效率:高达 96%
1.5MHz恒定频率操作
1.3A 输出电流
无需肖特基二极管
2.3V至7V输入电压范围
输出电压低至 0.6V
PFM 模式可在轻负载下实现高效率
压差操作中的100%占空比
低静态电流:35μA
斜率补偿电流模式控制,可实现出色的线路和负载瞬态响应
短路保护
热故障保护
浪涌电流限制和软启动
<1μA 关断电流
SOT23-5封装
应用
蜂窝和智能手机
无线和DSL调制解调器
PDA的
便携式仪器
数码相机和摄像机
机顶盒
一般描述
MT3410LB是高效、高频同步降压型DC-DC稳压器IC,能够提供高达1.3A的输出电流。该MT3410LB可在 2.3V 至 7V 的宽输入电压范围内工作,并集成了主开关和同步开关,具有非常低的 RDS(ON),以最大限度地降低传导损耗。
它非常适合为使用单节锂离子 (Li+) 电池供电的便携式设备供电。输出电压可调节至低至0.6V。该MT3410LB还可以以 100% 占空比运行,以实现低压差操作,从而延长便携式系统的电池寿命。该器件提供PWM模式和PFM模式开关控制两种工作模式,可在较宽的负载范围内实现高效率。
该MT3410LB采用扁平的 5 引脚 SOT 封装,并提供可调版本。如下图

典型应用电路图

绝对最大额定值 (注 1)
输入电源电压…-0.3V至7.5V
EN,FB电压…-0.3V至(VIN+0.3V)
SW电压…-0.3V至(VIN+0.3V)
功耗。。。。。。。。0.4瓦
热阻 θJC…130°C/W
热阻 θJA…250°C/W
结温(注2)…150°C
工作温度范围…-40°C 至 85°C
引线温度(焊接,10s…300°摄氏度
储存温度范围…-65°C 至 150°C
ESD HBM(人体模式…2kV
ESD MM(机器模式)…200V
包装/订单信息
| 订单零件编号 | 封装 | 丝印 |
|---|---|---|
| MT3410LB | SOT23-5型 | AS11DB |
管脚说明

管脚说明
| 引脚名称 | 引脚编号 | 描述 |
|---|---|---|
| EN | 1 | 芯片使能引脚。驱动EN高于1.5V以打开器件。驱动 EN 低于 0.3V 将其关闭。不要让 EN 漂浮。 |
| GND | 2 | 模拟接地引脚。 |
| SW | 3 | 电源开关输出。它是与电感器的开关节点连接。该引脚连接到内部P沟道和N沟道MOSFET开关的漏极。 |
| VIN | 4 | 电源输入:必须使用 10μF 或更大的陶瓷电容器紧密去耦到 GND。 |
| FB | 5 | 输出电压反馈引脚。内部电阻分压器将输出电压分压,以便与内部基准电压进行比较。 |
电气特性(注3)
(除非另有说明,否则VIN=VEN=3.6V,VOUT=1.8V,TA = 25°C。
| 参数 | 条件 | 最小值 | 类型 | 麦克斯 | 单位 |
|---|---|---|---|---|---|
| 输入电压范围 | 2.3 | 7 | V | ||
| UVLO阈值 | 1.7 | 1.9 | 2.1 | V | |
| 输入直流电源电流 | (注4) | ||||
| PWM模式 | VOUT = 90%,ILOAD=0mA | 140 | 300 | 微安 | |
| PFM 模式 | VOUT = 105%,ILOAD =0mA | 35 | 70 | 微安 | |
| 关机模式 | VEN = 0V,VIN=4.2V | 0.1 | 1.0 | 微安 | |
| 稳压反馈电压 VFB | TA = 25°C | 0.588 | 0.600 | 0.612 | V |
| TA = 0°C ≤TA ≤85°C | 0.586 | 0.600 | 0.613 | V | |
| TA = -40°C ≤TA ≤85°C | 0.585 | 0.600 | 0.615 | V | |
| 基准电压线性调整率 | VIN =2.5V 至 5.5V | 0.04 | 0.40 | %/V | |
| 输出电压线性调整率 | VIN =2.5V 至 5.5V | 0.04 | 0.40 | % | |
| 输出电压负载调整率 | 0.5 | % | |||
| 振荡频率 | VOUT =100% | 1.5 | 兆赫 | ||
| 输出电压 =0V | 300 | 千 赫 | |||
| 关于PMOS的电阻 | ISW=100毫安 | 300 | 450 | 毫欧 | |
| 关于NMOS的电阻 | ISW=-100mA | 300 | 450 | 毫欧 | |
| 峰值电流限制 | VIN= 3V,VOUT = 90% | 2 | A | ||
| 开启延迟时间 | MT3410LB | 1 | mS | ||
| 过压保护 | MT3410LB | 7.3 | V | ||
| EN 阈值 | 0.30 | 1.0 | 1.50 | V | |
| EN漏电流 | ±0.01 | ±1.0 | 微安 | ||
| SW漏电流 | VEN=0V,VIN=VSW=5V | ±0.01 | ±1.0 | 微安 |
注 1:绝对最大额定值是指超过该值可能会损害设备寿命的值。
注2:TJ由环境温度TA和功耗PD按以下公式计算:TJ=TA+(PD)×(250°C/W)。
注3:在+25°C下进行100%生产测试。 通过设计和特性来保证整个温度范围内的规格。
注4:由于栅极电荷在开关频率下传递,动态电源电流较高。
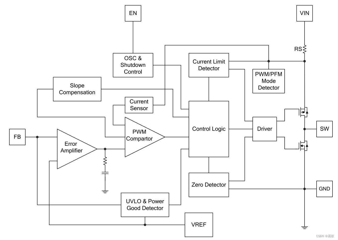
MT3410功能框图

功能描述
MT3410LB 是一款同步降压稳压器 IC,将 PWM/PFM 控制、高侧和低侧 MOSFET 集成在同一芯片上,以最大限度地降低开关转换损耗和导通损耗。凭借超低RDS(ON)电源开关和专有的PWM控制,该稳压器IC可以同时实现最高效率和最高开关频率,以最大限度地减小外部电感和电容尺寸,从而实现最小的解决方案尺寸。该MT3410LB只需要三个外部电源组件(CIN、COUT 和 L)。
可调版本可通过外部反馈对任何电压进行编程,范围从 0.6V 到输入电压。在压差操作时,转换器占空比增加到100%,输出电压跟踪输入电压减去高端MOSFET的RDS(ON)压降。内部误差放大器和补偿提供出色的瞬态响应、负载和线性调整率。软启动功能可防止启动期间的输入浪涌电流和输出过冲。
应用信息
设置输出电压
内部基准电压VREF为0.6V (典型值),输出电压由电阻分压器根据以下公式设定:
外部电阻分压器连接到输出端,允许远程电压检测,如图1所示。
VOUT=0.6×(1+R1R2)V_{OUT}=0.6 \times (1+ \frac{R1}{R2})VOUT=0.6×(1+R2R1)
电感器选型
对于大多数设计,该MT3410LB采用 1μH 至 4.7μH 的电感器工作。 低电感值在物理上较小,但需要更快的开关,这会导致一些效率损失。
电感值可由以下公式推导出:
其中 Δ IL 是电感纹波电流。大值电感器可产生较低的纹波电流,而小值电感器可产生高纹波电流。
为了获得最佳的电压定位负载瞬变,请选择DC串联电阻在50mΩ至150mΩ范围内的电感器。
L=VOUT×(VIN−VOUT)VIN×ΔIL×fOSCL= \frac {V_{OUT} \times (V_{IN}-V_{OUT})}{V_{IN} \times ΔI_L \times f_{OSC}}L=VIN×ΔIL×fOSCVOUT×(VIN−VOUT)
输入电容选择
最大负载电流为1.3A时,通过输入电容的最大纹波电流约为0.6Arms.额定电压为6V、电容大于10μF的典型X7R或更高等级的陶瓷电容器可以很好地处理这种纹波电流。为了最大限度地减少潜在的噪声问题,请将该陶瓷电容器放置在非常靠近 VIN 和 GND 引脚的位置。应注意尽量减少由CIN和VIN/GND引脚形成的环路。
输出电容选型
输出电容需要保持输出电压纹波较小,并确保稳压环路稳定性。输出电容在开关频率下必须具有低阻抗。推荐使用具有 X5R 或 X7R 电介质的陶瓷电容器,因为它们具有低 ESR 和高纹波电流额定值。输出纹波 Δ VOUT 由下式决定:
ΔVOUT≤VOUT×(VIN−VOUT)VIN×fOSC×L×(ESR+18×fOSC×COUT)Δ_{VOUT} \leq \frac {V_{OUT} \times (V_{IN}-V_{OUT})}{V_{IN} \times f_{OSC} \times L} \times(ESR+ \frac{1}{8 \times f_{OSC} \times C_{OUT}})ΔVOUT≤VIN×fOSC×LVOUT×(VIN−VOUT)×(ESR+8×fOSC×COUT1)
10μF陶瓷可以满足大多数应用。
PCB布局建议
在布置印刷电路板时,应进行以下检查以确保MT3410LB正常运行。在布局中检查以下内容:
电源走线,包括 GND 走线、SW 走线和 VIN 走线,应保持短、直、宽
CIN 的 (+) 板是否尽可能紧密地连接到 VIN。该电容器为内部功率MOSFET提供交流电流。
使交换节点 SW 远离敏感的 VOUT 节点。
保持 CIN 和 COUT 的 (-) 板尽可能靠近

8110

被折叠的 条评论
为什么被折叠?



