IT6565/IT6563/IT65631/IT6561 DP转HDMI设计方案|替代IT6565/IT6563/IT65631/IT6561芯片|GSV2201可完全替代兼容IT6565/IT6563/IT65631/IT6561
ITE(新联阳)的IT6565/IT6563/IT65631/IT6561,是一系列DP转HDMI 的视频转换芯片
其中IT6561是 DP4lane转HDMI 4K30
IT65631是DP 2lane转HDMI 4K30
IT6563是DP 4lane转HDMI 4K60
IT6565是DP 2lane 转HDMI 4K60
IT6565/IT6563/IT65631/IT6561
通过将DP1.2/1.4 RX视频信号转换为HDMI4K30/4K60/DVI TX视频信号,可以应用在主板SOC视频信号转接。
也是一款搭配Alt Mode芯片,将雷电3/4或者USB 4的Type-C/DP1.4转接成HDMI芯片。
北京基石酷联的GSV2201 是一款Type-C/DP 转HDMI 2.0 4K60+USB 3.0+PD3.1/3.0高集成度视频转换芯片,且支持双向PD3.0,可以完全替代兼容IT6565/IT6563/IT65631/IT6561
IT6565的规格书参数 Datasheet
-
- DisplayPort RX
符合1.62/2.7/5.4/8.1 Gbps数据速率的DisplayPort规范V1.4a(RBR/HBR/HBR2/HBR3)
支持灵活的1/2 通道配置;
完全支持16.2 Gbps数据速率(2通道,8.1 Gbps)
支持DPCD版本1.4
支持4K60 422/420模式下静态高动态范围(HDR)的元数据传输。
支持内置HDCP密钥的HDCP 1.3/2.3
通过AUX支持MCCS
支持3D显示左/右场/帧
支持高达0.5%向下扩展的扩频时钟,以减少EMI干扰
支持水平下料扩展
具有可编程系数的RGB和YCbCr颜色空间之间的双向颜色空间转换(CSC)。
支持8通道未压缩LPCM I2S音频,采样率为32~192kHz,采样大小为16~24位,以及HBR音频
链路管理的自动信号丢失检测智能、可编程电源管理
嵌入两块EDID RAM以节省BOM成本
符合“仅DP”或“DP++”源设备
-
- HDMI RX
单通道HDMI TX符合HDMI 2.0b、HDCP 1.4/2.3和DVI 1.0规范
支持高达6.0 Gbps的链路速度(600MHz的链路时钟速率)
支持8通道未压缩LPCM I2S音频,采样率为32~192kHz,采样大小为16~24位,HBR
支持4K60 422/420模式的高动态范围(HDR)的Gamut元数据包软件可编程、自动校准TMDS源终端可提供最佳源信号质量
软件可编程HDMI输出电流,使用户能够优化固定电缆系统或具有预定义电缆长度的系统的性能
集成预编程HDCP键纯硬件HDCP引擎提高了HDCP操作的容易性和安全性
通过热插拔检测和接收器终端检测监控检测
嵌入式全功能模式发生器
智能、可编程电源管理
1.3主要特点
最高支持WUXGA(1920x1200@120Hz)、WQXGA(2560x1600 RB@120Hz
支持高达1080P@240Hz, 4Kx2K@60HzCEA显示格式(带H空白扩展)
支持DP输入颜色深度6/8/10/12位
支持HDMI输出颜色深度8/10/12位
数字音频输出接口支持
——一个I2S接口,支持2通道音频,采样率为32~192kHz,采样大小为16~24位
——S/PDIF接口支持高达192kHz帧速率的PCM数字音频
——高达768kHz的HBR音频
嵌入式MCU和Flash
带有软静音功能的自动音频错误检测,防止因音频错误或热插拔而发出令人讨厌的刺耳输出声音
封装
48针QFN(6mm x 6mm)
符合RoHS(100%绿色可用)
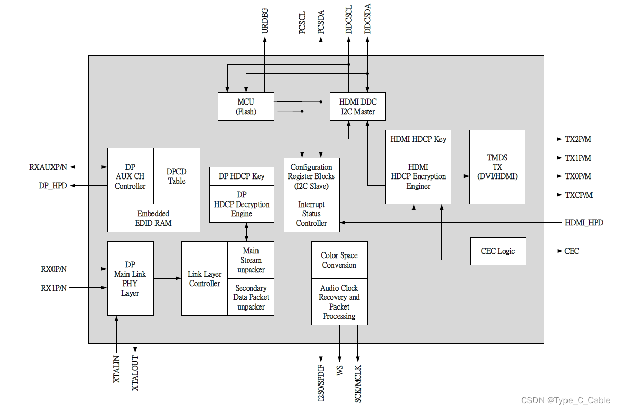
IT6565框架图

IT6565/IT6563/IT65631/IT6561应用示意图

北京基石酷联GScoolink GSV2201也是一款可以将雷电3/4或者USB 4的Type-C/DP1.4转接成HDMI 2.0+USB 3.1+PD3.0的高集成度芯片。支持输出HDMI 4K60(DSC Bypass最高4K120)、USB 3.0/3.1、PD3.0,且支持双向PD3.0协议。
国产RISC-V架构,自有知识产权。
支持USB 2.0 Bill-Board,内置Flahs,同时支持I2S扩展
支持Free/Adaptive Sync,垂直同步,在高刷新的情况下避免画面撕裂。
北京基石酷联是一家高端国产芯片原厂,专注HDMI相关领域,在高带宽视频芯片领域是行业技术领头羊。且起点很高,第一颗推出的HDMI 芯片就是HDMI 2.0 4K60,性价比在切换器和分配器行业广受好评。北京基石酷联技术领先国产同行和台厂,率先推出大中华区(含台湾)第一系列HDMI 8K 切换器分配器和矩阵芯片。
北京基石酷联推出的GSV2201可完全替代兼容T6565/IT6563/IT65631/IT6561,主要功能完全替代,且附带其他更高规格。
GSV2201是一种高性能、低功耗、USB Type-C高集成度芯片
DisplayPort 1.4至HDMI 2.0转换器。通过集成增强型微控制器,
GSV2201创造了一个经济高效的解决方案,提供了上市时间优势。
DisplayPort接收机支持高达32.4Gbps(HBR3,4通道)和HDMI发射机
支持高达18Gbps(TMDS,6G3通道)。集成Power Delivery 3.0控制器
处理USB电源管理和DisplayPort模式输入的Type-C CC接口。
GSV2201的卓越架构提供了经济、占地面积更小的解决方案
使用QFN64,针对C类对接、C类加密狗和DP到HDMI的应用
缆绳
GSV2201支持通过HDMI输出的所有DisplayPort SDP数据包。HDCP 1.4
在GSV2201中为DisplayPort Rx和HDMI Tx实现了HDCP 2.2/2.3。
TMDS模式下HDMI Tx支持颜色空间转换。灵活的
音频插入、音频提取和SPDIF到I2S转换的实现是
GSV2201支持。
内部视频生成器可用于生成任何未压缩视频定时
HDMI 2.0中定义的,例如4K@60Hz, 4K@30Hz, 480i@60Hz.
GSV2201芯片架构

文章介绍了GSV2201芯片,它能完全替代ITE的IT6565/IT6563/IT65631/IT6561,用于DP转HDMI转换,支持HDMI 2.0 4K60和USB 3.0+PD3.0。GSV2201是国产RISC-V架构,具有高性能和低功耗特性,适用于Type-C/DP1.4转接成HDMI的场景。
1542

被折叠的 条评论
为什么被折叠?



