Revision History
| Draft Date | Revision No. | Description |
| 2016/05/23 | V1.1 | 1. 排版修改。 |
| 2014/12/10 | V1.0 | 1. 初始版本。 |
目 录
前言
TL138/1808/6748F-EasyEVM是广州创龙基于SOM-TL138/SOM-TL1808/SOM-TL6748F核心板开发的一款开发板。由于SOM-TL138/SOM-TL1808/SOM-TL6748核心板管脚兼容,所以此三个核心板共用同一个底板。开发板采用核心板+底板的设计方式,尺寸为16.5cm*11cm,它主要帮助开发者快速评估核心板的性能。
核心板采用高密度8层板沉金无铅设计工艺,尺寸为66mm*38.6mm,板载3路转换率很高的DC-DC核心电压转换电源芯片,实现了系统的低功耗指标,精密、原装进口的B2B连接器引出全部接口资源,以便开发者进行快捷的二次开发使用。
TL138/1808/6748F-EasyEVM开发板底板是一个四层无铅沉金电路板,为了方便用户学习开发参考使用,上面引出了常见的各种接口。
OMAP-L138、TMS320C6748、AM1808三款CPU管脚兼容,外设资源也一样。
OMAP-L138
TI公司的达芬奇架构嵌入式应用处理器开始使用DSP与ARM结合的非对称多核结构,OMAP-L138就是其中的一款低功耗双核嵌入式处理器。OMAP-L138双核架构兼具DSP的高数字信号处理性能和精简指令计算机(RISC)技术的优点,双核均是32位处理器。以下是OMAP-L138 CPU的资源框图:

TMS320C6748
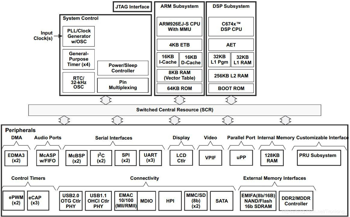
TI TMS320C6748是一款低功耗浮点DSP处理器。支持DSP的高数字信号处理性能和精简指令计算机(RISC)技术,采用一个高性能的456MHz TMS320C674x 32位处理器。以下是TMS320C6748 CPU的资源框图:

AM1808
TI AM1808是一款低功耗嵌入式32位工业处理器。拥有多种工业级接口资源,以下是AM1808 CPU的资源框图:

Xilinx Spartan-6 FPGA
FPGA兼容Xilinx Spartan-6 XC6SLX9/16/25/45,平台升级能力强,以下为Xilinx Spartan-6 FPGA特性参数:

核心板OMAP-L138/AM1808/C6748端采用工业级NAND FLASH,如下图:

核心板FPGA端采用工业级SPI FLASH,如下图:

更多帮助
销售邮箱:sales@tronlong.com
技术邮箱:support@tronlong.com
创龙总机:020-8998-6280
技术热线:020-3893-9734
创龙官网:www.tronlong.com
技术论坛:www.51ele.net
线上商城:https://tronlong.taobao.com
TMS320C6748、OMAPL138交流群:227961486、324023586
TI中文论坛:http://www.deyisupport.com/
TI英文论坛:http://e2e.ti.com/
TI官网:www.ti.com
TI WIKI:http://processors.wiki.ti.com/
创龙TL138/1808/6748F-EasyEVM是一款基于SOM核心板设计的开发板,适用于OMAP-L138、TMS320C6748、AM1808处理器评估。核心板采用高密度8层板设计,搭载多种工业级接口资源,便于二次开发。
466

被折叠的 条评论
为什么被折叠?



