答辩PPT







论文
电影院售票与管理系统的设计与实现
摘 要
信息化社会内需要与之针对性的信息获取途径,但是途径的扩展基本上为人们所努力的方向,由于站在的角度存在偏差,人们经常能够获得不同类型信息,这也是技术最为难以攻克的课题。针对电影院售票等问题,对电影院售票进行研究分析,然后开发设计出电影院售票与管理系统已解决问题。
电影院售票与管理系统主要功能模块包括用户管理、影院信息、影片信息、购票中心、退票记录,采取面对对象的开发模式进行软件的开发和硬体的架设,能很好的满足实际使用的需求,完善了对应的软体架设以及程序编码的工作,采取mysql作为后台数据的主要存储单元,采用Java语言、springboot技术、Ajax技术进行业务系统的编码及其开发,实现了本系统的全部功能。本次报告,首先分析了研究的背景、作用、意义,为研究工作的合理性打下了基础。针对电影院售票与管理系统的各项需求以及技术问题进行分析,证明了系统的必要性和技术可行性,然后对设计系统需要使用的技术软件以及设计思想做了基本的介绍,最后来实现电影院售票与管理系统和部署运行使用它。
关键词:电影院售票;Java语言;mysql数据库
Design and implementation of cinema ticket selling and management system
Abstract
In the information society, there is a need for targeted information access, but the expansion of access is basically the direction of people's efforts. Due to the deviation of the perspective, people can often obtain different types of information, which is also the most difficult subject for technology to overcome. Aiming at the problems of cinema ticket sales, this paper studies and analyzes the cinema ticket sales, and then develops and designs the cinema ticket sales and management system, which has solved the problems.
The main functional modules of the cinema ticketing and management system include user management, cinema information, film information, ticket purchase center and ticket refund record. The object-oriented development mode is adopted for software development and hardware erection, which can well meet the needs of actual use, improve the corresponding software erection and program coding, take MySQL as the main storage unit of background data, and adopt Java language, springboot technology Ajax technology encodes and develops the business system, and realizes all the functions of the system. This report first analyzes the background, function and significance of the research, which lays a foundation for the rationality of the research work. This paper analyzes the various requirements and technical problems of the cinema ticketing and management system, proves the necessity and technical feasibility of the system, and then makes a basic introduction to the technical software and design idea required by the design system. Finally, it realizes the cinema ticketing and management system and deploys it.
Key words:Cinema ticket sales; Java language; Mysql database
目 录
网络发展到今天,是必然的结果。网络使人们的生活发生了深刻的变革,Internet成为很多活动的重要场所。电影院购票管理系统现在虽然还处于发展阶段,但是随着互联网经济的发展,越来越多的人投入到电影院购票管理系统维护这个领域中来。网上维护最大程度的方便了顾客。顾客足不出户,在电影院购票管理系统通过www浏览器实现网上把售票员请到家服务,便可将得到自己喜欢的电影,无需东奔西跑。本次设计的电影院购票管理系统-是一种具有交互功能的商业网站,可以方便服务于每一个客户。
随着科技的发展,时代的进步,互联网已经成为了人们生活中不可缺少的东西,网上购物成为了一种时代的象征,人们生活水平日以提高,压力也越来越大,人们需要放松自己的心情,看电影显然是个不错的选择,但是传统的窗口售票工作效率低,人们往往需要排很长的队伍才能买到票,不仅浪费了宝贵的时间,而且可能还会影响购票人的心情,工作人员的工作量也大,因此拥有一套完整的高效的实用的电影院购票管理系统就显得非常重要了,他可以帮你解决排队问题,还可以足不出户就可以在家网上查询电影票价和购买情况,节约了很多宝贵的时间,故而本次研究的目标就在此。
随着社会经济的快速发展,人们的娱乐活动越来越丰富,其中看电影占了很大的比例。开发此系统的目的是解决喜爱电影的人们买票难的问题。以前要买电影票必须到电影院买,这样既浪费时间,浪费精力,而且最终还不一定买到自己想看要的。有了本系统,可以很方便的让影迷在家上网查看影院的影片以及票务的信息,这样既省时又省力,可以同时了解到不同影片的信息,有更多的选择。本系统充分利用网络资源和人力资源。
面对全球性影院观看热潮,国内外对影院观看的视觉需求,以及其规模的优势,其独有的互动效果和场内气愤赢得了越来越多的人的喜欢。1980 ~ 1984年平均产量达120部,每年观众人次平均在250亿左右。同时中国电影也进入一个蓬勃发展的新时期,中国美术片从形式到内部都极其富有民族色彩。伴随电影的发展,国内外的电子票务系统也告诉的发展,国内有许多的电影院购票管理系统,如格瓦拉以及一些团购网站都有相关的内容。
首先,通过引擎搜索或者查阅相关文献资料,了解了本系统开发的背景以及设计系统的意义所在,收集用户需求信息。其次,在开发工具上,最终确定选用springboot平台来设计开发本系统,mysql作为设计数据库的工具。即利用Java语言实现用户界面,并同数据库连接起来实现完整的通信功能。之后,设计出系统大致的功能模块。主要从方便系统用户和系统管理员的角度进行分析,明确该系统应该具有的功能。最终是测试系统,通过用例测试发现存在的问题并找到解决的方案。利用现有的开发平台,结合自己所学的知识,在老师的指导帮助下来完成该设计,确保系统的可用性、实用性。
我们在利用Java来开发系统时通常采用的软件就是Myeclipse,它是用来设计Java, JavaEE的Eclipse插件的调集,采取了 Myeclipse大部分可以实现对Mysql的数据库和Javaee的研究和开发。用了Myeclipse很大的便利了开发人员,系统开发的进度也会得到一些提高。
2.2 Mysql描述
现在Mysql数据库在网络上它可以支撑许多个用户,而且也可以适应客服机和服务器的部署或者配置等,我们这里的服务器和客户机其实就是一种软件上的概念,并且我们使用的计算机硬件也与他们不存在一一对应的关系。
Mysql是一款非常流行的关系型数据库管理系统,它的出现一直都是佼佼者,它不仅功能非常强大,而且使用起来非常方便,并且Mysql的跨平台能力也很好,软件开发人员非常喜欢它的这些强大的优点。不同于其他关系型数据库,对于数据库的管理它有着自己的一套方案,通过对用户设定相应的权限和角色来达到对数据库的管理。由此可见,Mysql是一个能够适用于吞吐量高,可靠性高,效率高的一款数据库管理软件[4]。
优点一:Mysql中对于不同身份的用户都设定其不同的权限来完成不同的业务逻辑,这使得Mysql在安全和完整性远远超出了其他关系型数据库。
优点二:对于那些动画、图形和声音的数据类型Mysql也可以支持,这说明多数据类型Mysql也是可以支持的。
优点三:Mysql还可以做到多个平台的开发,软件开发的多种编程语言都可以实现对Mysql数据库的操作。
2.3 B/S结构
在系统的开发上采用了B/S结构,在B/S结构中,统一采用浏览器,而不需要去开发任何的用户界面,Web浏览器向处理它的Web服务器发送请求,并一步一步地将处理结果返回给客户端。B/S结构主要采用了各种脚本语言和ActiveX技术,降低了系统的开发难度并简化了系统维护以及使用。
B/S结构有如下特点:B/S结构建立在广域网上,不需要专门为其配置硬件环境,比C/S结构的适应范围更强;由于其基于广域网,所以其对安全的控制能力相对较弱;B/S的多种结构要求构造相对独立的函数,这样才能可以更好地重用;B/S结构组成简单,便于对个别构件进行更换,降低了系统的维护成本B/S信息流向与C/S不同,B/S信息流向可变化。
2.4Tomcat描述
Tomcat是一个不收费的服务器。使用场景比较适合访问量比较少的情况下。意思就是,将Tomcat安装到电脑上的时候,前端HTML页面的访问请求可以通过它进行解析。实际上,Tomcat是对Apache的扩展,但它相对于Apache却是相对独立作业的,由此可以看作它与Apache 是相对独立进程运行的。
Tomcat最开始是sun公司的戴维森进行开发应用的,经过他的努力,不断地将其变为开源的服务器。还由sun公司将其交给了Apache软件基金会。不断发展的tomcat服务器在最近的一个版本中进行了大量的重构和梳理,使其使用起来更加的方便。基于Tomcat负载均衡算法是一种开源的软件,实现方式。不需要增加额外的硬件投入,实现起来也很方便,特别适用于一般的小企业网站服务器在现在和将来一段时间的扩展。从目前的实践来看,可作为需要进行类似应用的一个参考借鉴。
2.5 spring boot框架介绍
Spring框架是Java平台上的一种开源应用框架,提供具有控制反转特性的容器。尽管Spring框架自身对编程模型没有限制,但其在Java应用中的频繁使用让它备受青睐,以至于后来让它作为EJB(EnterpriseJavaBeans)模型的补充,甚至是替补。Spring框架为开发提供了一系列的解决方案,比如利用控制反转的核心特性,并通过依赖注入实现控制反转来实现管理对象生命周期容器化,利用面向切面编程进行声明式的事务管理,整合多种持久化技术管理数据访问,提供大量优秀的Web框架方便开发等等。Spring框架具有控制反转(IOC)特性,IOC旨在方便项目维护和测试,它提供了一种通过Java的反射机制对Java对象进行统一的配置和管理的方法。Spring框架利用容器管理对象的生命周期,容器可以通过扫描XML文件或类上特定Java注解来配置对象,开发者可以通过依赖查找或依赖注入来获得对象。Spring框架具有面向切面编程(AOP)框架,SpringAOP框架基于代理模式,同时运行时可配置;AOP框架主要针对模块之间的交叉关注点进行模块化。Spring框架的AOP框架仅提供基本的AOP特性,虽无法与AspectJ框架相比,但通过与AspectJ的集成,也可以满足基本需求。Spring框架下的事务管理、远程访问等功能均可以通过使用SpringAOP技术实现。Spring的事务管理框架为Java平台带来了一种抽象机制,使本地和全局事务以及嵌套事务能够与保存点一起工作,并且几乎可以在Java平台的任何环境中工作。Spring集成多种事务模板,系统可以通过事务模板、XML或Java注解进行事务配置,并且事务框架集成了消息传递和缓存等功能。Spring的数据访问框架解决了开发人员在应用程序中使用数据库时遇到的常见困难。它不仅对Java:JDBC、iBATS/MyBATIs、Hibernate、Java数据对象(JDO)、ApacheOJB和ApacheCayne等所有流行的数据访问框架中提供支持,同时还可以与Spring的事务管理一起使用,为数据访问提供了灵活的抽象。Spring框架最初是没有打算构建一个自己的WebMVC框架,其开发人员在开发过程中认为现有的StrutsWeb框架的呈现层和请求处理层之间以及请求处理层和模型之间的分离不够,于是创建了SpringMVC。
技术性方面,采用当前主流的是springboot框架进行系统主体框架的搭建,前台使用jquery,ajax,实现前台页面的设计与美观调整,以上技术,均由本人经过系统学习,并且都是在课程设计中实践过的,可以使得开发更加便捷和系统。从技术角度看,这个系统是完全可以实现的。
实用性方面,本次设计的主要任务是在电影院售票与管理系统内¥购票会员卡等,符合当前潮流的发展。从用户角度出发,同时也考虑系统运营成本和人力资源,采用网络上的便捷方式,实现线上业务,使得业务流程更系统,也更方便用户的体验,比较实用。
经济性方面,由于本课题中设计的电影院售票与管理系统的主要目的是为了能够更加方便及快捷的进行信息的查询管理及检索服务,也就是能够可以直接投入使用的信息化软件。系统的主要成本主要是集中在对使用数据后期继续维护及其管理更新这个操作上。但是一旦系统投入到实际的运行及使用之后就能够很好的提高信息查询检索的效率,同时也需要有效的保证查询者的信息方面的安全性,同时这个电影院售票与管理系统所带来的实际应用方面的价值是远远的超过了实际系统进行开发与维护方面的成本,因此,从经济上来说开发这个软件是可行的。
电影院售票与管理系统的功能主要分为前台用户根据自己的需求进行注册登录,浏览电影资讯并对选中的电影进行购票操作。后台系统管理员因职责的不同,分为普通管理员和超级管理员,普通管理员主要对购票单进行处理,处理退票单,而超级管理员主要对注册用户,影院信息、影片信息、购票中心、退票记录进行处理。
管理员用例图如下所示。

图3-1 管理员用例图
用户用例图如下所示。

图3-1 用户用例图
前台用户可分为未注册用户需求和以注册用户需求。
前台用户的功能如下:
登录:根据账号密码进行登录操作。
维护个人信息:用户因个人信息的变更可以随时修改自己注册信息。
浏览影片信息:用户可以根据电影类型浏览影片的信息,并选中某个影片查看详情,例如:影片编号、影片名称、影片类型、影院名称、上映时间、票价等。
浏览影院信息:用户可以根据电影类型浏览影院的信息,并选中某个影院查看详情,例如:影院编号、影院名称、影院地址、影院电话等。
浏览评论信息:选中某间电影可查看其用户的评论。
评论:用户可以根据自己的观点看法对相关电影进行评论。
管理员功能如下:
修改密码:管理员可以随时修改自己进入系统的登录密码,以保证系统的安全性。
对购票单信息进行处理:办理购票单审核等。
管理普通管理员:对普通管理员进行管理。调动相关工作人员时可以添加或删除普通管理员。
影院信息管理:对影院信息进行维护,添加、删除、修改信息。
对退票记录信息进行处理:办理退票审核等。
影片信息管理:对影片信息进行维护,添加、删除、修改信息。
评论信息管理:可以查看用户的评论,及时了解用户发起的建议。
用户管理:可以查看注册用户的信息,并对其进行管理。
首先主要考虑的是系统功能软件,在具体设计的环节上,是不是能够较好的满足各类用户的基本功能需求,如果不能较好的满足用户需求,那么这个系统的存在是没有价值的。软件系统的非功能性求分析,从7个方面展开,一个是性能分析,针对系统;一个是安全分析,针对系统,一个是完整度分析,针对系统,一个是可维护分析,针对系统,一个是可扩展性分析,针对系统,一个是适应业务的性能分析。面对电影院售票与管理系统存在的性能、安全、扩展、完整度等7个方面性能综合比对分析后发现,需要相应的非功能性需求分析。
安全性对每一个系统来说都是非常重要的。安全性很好的系统可以保护企业的信息和用户的信息不被窃取。提高系统的安全性不仅是对用户的负责,更是对企业的负责。尤其针对于电影院售票与管理系统来说,必须要有很好的安全性来保障整个系统。
系统具有对使用者有权限控制,针对角色的不通限制使用者的权限,以此来确保系统的安全性。
数据库中的数据是从外界输入的,当数据的输入时,由于种种原因,输入的数据会无效,或者是脏数据。因此,怎样保证输入的数据符合规定,成为了数据库系统,尤其是多用户的关系数据库系统首要关注的问题。
因此,在写入数据库时,要保证数据完整性、正确性和一致性。
本电影院售票与管理系统的架构设计主要分为可以3层,主要有Web层,业务层,Model层。其中web层还包括View层和Controller层,Model层包括元数据扩展层和数据访问层。
系统架构如下图所示。

图4-1 系统架构
电影院售票与管理系统总体分为前台用户模块和后台管理员模块。
两个模块表现上是分别独立存在,但是访问的数据库是一样的。每一个模块的功能都是根据先前完成的需求分析,并查阅相关资料后整理制作的。
综上所述,系统功能结构图如下图所示。

图4-2 系统功能结构图
登录模块:登录模块是进入系统的入口,所有用户必须登录后才能访问系统。登录需要输入用户名和密码,如果多次尝试登录需要输入验证码。登录时需要选择用户的角色,是一般用户还是管理员登录等。登录成功后,会通过数据库获取用户的权限,并跳转至用户的主页面。
管理员用户管理模块:管理员管理包括:管理员的添加,修改和删除操作。添加管理员时,先判断用户添加的管理员是否是admin(超级管理员),如果不是则添加成功。修改时候,如果是超级管理员,可以修改所有管理员的信息,如果是普通管理员,那么只能修改自己的信息。超级管理员可以删除自己以外的所有其他管理员,普通管理员不能执行删除管理员的操作。
评价模块:评价模块促进用户对电影进行点评,查看某个电影已存在的评价,发表评价可以达到真实描述电影的效果。
影院信息模块:可分为影院信息浏览、影院信息检索、影院信息维护三个模块,管理员对影院信息有维护的权限,发布新的影院信息、更新已有的影院信息等。
影片信息管理模块:影片信息管理分为影片添加、修改和影片票价。影片信息由管理员进行修改、添加、删除操作;影片购票由普通用户来执行。
从前面可以分析到数据库中最重要的是用户注册表,退票记录表,购票中心表,影片信息表,影院信息表,收藏表,评论表。分析可以得到如下数据描述:
用户注册:用于记录用户的各种信息,包括性别、审核状态等数据项。
管理员:记录管理员的登录信息。包括用户名,密码,权限等数据项。
退票记录:存放给退票记录的内容,包括影片编号、影片类型、票价、购买张数、总金额、退款原因、退款时间、退款金额、用户账号、审核状态、审核回复等数据项。
购票中心:存储各种购票中心信息。包括影片编号、影片类型、影片名称、票价、购买张数、总金额、用户账号、支付状态、支付类型、座位号等数据项。
影片信息:存储用户的影片信息。包括影片信息的影片编号、影片类型、影片名称、影片封面、上映时间、票价、影片简介、点击数等数据项。
影院信息。存储用户的影院信息。包括影院编号、影院名称、影院地址、影院封面、点击数等数据项。
根据前面的数据流程图,结合系统的功能模块设计,设计出符合系统的各信息实体。
系统ER图如下图所示。

图4-3 系统ER图
电影院售票与管理系统所拥有的数据表有以下:用户注册表,退票记录表,购票中心表,影片信息表,影院信息表,收藏表,评论表。
由于数据表较多,只展示系统主要数据表,如下表所示。
user_registration表:
| 名称 | 类型 | 长度 | 不是null | 主键 | 注释 |
| user_registration_id | int | 11 | 是 | 是 | 用户注册ID |
| gender | varchar | 64 | 否 | 否 | 性别 |
| examine_state | varchar | 16 | 是 | 否 | 审核状态 |
| recommend | int | 11 | 是 | 否 | 智能推荐 |
| user_id | int | 11 | 是 | 否 | 用户ID |
| create_time | datetime | 0 | 是 | 否 | 创建时间 |
| update_time | timestamp | 0 | 是 | 否 | 更新时间 |
| ticket_refund_record表 | |||||
| 名称 | 类型 | 长度 | 不是null | 主键 | 注释 |
| ticket_refund_record_id | int | 11 | 是 | 是 | 退票记录ID |
| film_number | varchar | 64 | 否 | 否 | 影片编号 |
| film_type | varchar | 64 | 否 | 否 | 影片类型 |
| movie_title | varchar | 64 | 否 | 否 | 影片名称 |
| ticket_price | varchar | 64 | 否 | 否 | 票价 |
| number_of_purchased_sheets | varchar | 64 | 否 | 否 | 购买张数 |
| total_amount | varchar | 64 | 否 | 否 | 总金额 |
| refund_reason | varchar | 64 | 否 | 否 | 退款原因 |
| refund_time | varchar | 64 | 否 | 否 | 退款时间 |
| refund_amount_ | int | 11 | 否 | 否 | 退款金额 |
| user_account | int | 11 | 否 | 否 | 用户账号 |
| examine_state | varchar | 16 | 是 | 否 | 审核状态 |
| examine_reply | varchar | 16 | 否 | 否 | 审核回复 |
| recommend | int | 11 | 是 | 否 | 智能推荐 |
| create_time | datetime | 0 | 是 | 否 | 创建时间 |
| update_time | timestamp | 0 | 是 | 否 | 更新时间 |
| ticket_center表: | |||||
| 名称 | 类型 | 长度 | 不是null | 主键 | 注释 |
| ticket_center_id | int | 11 | 是 | 是 | 购票中心ID |
| film_number | varchar | 64 | 否 | 否 | 影片编号 |
| film_type | varchar | 64 | 否 | 否 | 影片类型 |
| movie_title | varchar | 64 | 否 | 否 | 影片名称 |
| cinema_name | varchar | 64 | 否 | 否 | 影院名称 |
| ticket_price | varchar | 64 | 否 | 否 | 票价 |
| number_of_purchased_sheets | int | 11 | 否 | 否 | 购买张数 |
| total_amount | varchar | 64 | 否 | 否 | 总金额 |
| user_account | int | 11 | 否 | 否 | 用户账号 |
| pay_state | varchar | 16 | 是 | 否 | 支付状态 |
| pay_type | varchar | 16 | 否 | 否 | 支付类型 |
| recommend | int | 11 | 是 | 否 | 智能推荐 |
| seat | varchar | 64 | 是 | 否 | 座位号 |
| create_time | datetime | 0 | 是 | 否 | 创建时间 |
| update_time | timestamp | 0 | 是 | 否 | 更新时间 |
| film_information表: | |||||
| 名称 | 类型 | 长度 | 不是null | 主键 | 注释 |
| film_information_id | int | 11 | 是 | 是 | 影片信息ID |
| film_number | varchar | 64 | 否 | 否 | 影片编号 |
| film_type | varchar | 64 | 否 | 否 | 影片类型 |
| movie_title | varchar | 64 | 否 | 否 | 影片名称 |
| cinema_name | varchar | 64 | 否 | 否 | 影院名称 |
| film_cover | varchar | 255 | 否 | 否 | 影片封面 |
| release_time | date | 0 | 否 | 否 | 上映时间 |
| ticket_price | int | 11 | 否 | 否 | 票价 |
| film_introduction | text | 0 | 否 | 否 | 影片简介 |
| hits | int | 11 | 是 | 否 | 点击数 |
| recommend | int | 11 | 是 | 否 | 智能推荐 |
| create_time | datetime | 0 | 是 | 否 | 创建时间 |
| update_time | timestamp | 0 | 是 | 否 | 更新时间 |
| cinema_information表: | |||||
| 名称 | 类型 | 长度 | 不是null | 主键 | 注释 |
| cinema_information_id | int | 11 | 是 | 是 | 影院信息ID |
| theater_number | varchar | 64 | 否 | 否 | 影院编号 |
| cinema_name | varchar | 64 | 否 | 否 | 影院名称 |
| cinema_address | varchar | 64 | 否 | 否 | 影院地址 |
| cinema_telephone | varchar | 64 | 否 | 否 | 影院电话 |
| cinema_cover | varchar | 255 | 否 | 否 | 影院封面 |
| hits | int | 11 | 是 | 否 | 点击数 |
| recommend | int | 11 | 是 | 否 | 智能推荐 |
| create_time | datetime | 0 | 是 | 否 | 创建时间 |
| update_time | timestamp | 0 | 是 | 否 | 更新时间 |
| comment表: | |||||
| 名称 | 类型 | 长度 | 不是null | 主键 | 注释 |
| comment_id | int | 11 | 是 | 是 | 评论ID |
| user_id | int | 11 | 是 | 否 | 评论人ID |
| reply_to_id | int | 11 | 是 | 否 | 回复评论ID |
| content | longtext | 0 | 否 | 否 | 内容 |
| nickname | varchar | 255 | 否 | 否 | 昵称 |
| avatar | varchar | 255 | 否 | 否 | 头像地址 |
| create_time | timestamp | 0 | 是 | 否 | 创建时间 |
| update_time | timestamp | 0 | 是 | 否 | 更新时间 |
| source_table | varchar | 255 | 否 | 否 | 来源表 |
| source_field | varchar | 255 | 否 | 否 | 来源字段 |
| source_id | int | 10 | 是 | 否 | 来源ID |
| collect表: | |||||
| 名称 | 类型 | 长度 | 不是null | 主键 | 注释 |
| collect_id | int | 10 | 是 | 是 | 收藏ID |
| user_id | int | 10 | 是 | 否 | 收藏人ID |
| source_table | varchar | 255 | 否 | 否 | 来源表 |
| source_field | varchar | 255 | 否 | 否 | 来源字段 |
| source_id | int | 10 | 是 | 否 | 来源ID |
| title | varchar | 255 | 否 | 否 | 标题 |
| img | varchar | 255 | 否 | 否 | 封面 |
| create_time | timestamp | 0 | 是 | 否 | 创建时间 |
| update_time | timestamp | 0 | 是 | 否 | 更新时间 |
该系统是通过jdbc和MySQL达成连接的,新建一个jdbc.properties文件来填写与数据库连接所需要的驱动和参数。
jdbc.driverClass=com.MySQL.jdbc.Driver
jdbc.url=jdbc:MySQL://localhost:3306/tsi
jdbc.username=root
jdbc.password=123
第一个参数代表MySQL数据库的驱动,第二个参数代表要连接的数据库,第三个和第四个参数代表数据库连接名和密码。
后台与数据库访问主要是通过HQL语句来进行查询的,查询语句中的表名是表格的实体类名,在这种查询语句中*是不允许使用的,除非适合聚合函数一起使用才可以。
-
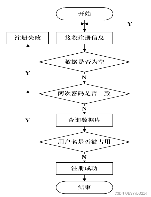
- 注册模块的实现
用户在填写数据的时候必须与注册页面上的验证相匹配否则会注册失败,注册页面的表单验证是通过JavaScript进行验证的,用户名的长度必须在6到18之间,邮箱必须带有@符号,密码和密码确认必须相同,你输入的密码,系统会根据你输入密码的强度给出指定的值,电话号码和身份证号码必须要求输入格式与生活相符合,当你前台验证通过的时候你点击注册,表单会将你输入的值通过name值传递给后台并保存到数据库中。
用户注册流程图如下图所示。

图5-1用户注册流程图
用户注册界面如下图所示。

图5-2用户注册界面
用户注册的关键代码为:
* 注册
* @param user
* @return
*/
@PostMapping("register")
public Map<String, Object> signUp(@RequestBody User user) {
// 查询用户
Map<String, String> query = new HashMap<>();
query.put("username",user.getUsername());
List list = service.select(query, new HashMap<>()).getResultList();
if (list.size()>0){
return error(30000, "用户已存在");
}
user.setUserId(null);
user.setPassword(service.encryption(user.getPassword()));
service.save(user);
return success(1);
}
/**
* 用户ID:[0,8388607]用户获取其他与用户相关的数据
*/
@Id
@GeneratedValue(strategy = GenerationType.IDENTITY)
@Column(name = "user_id")
private Integer userId;
/**
* 账户状态:[0,10](1可用|2异常|3已冻结|4已注销)
*/
@Basic
@Column(name = "state")
private Integer state;
/**
* 所在用户组:[0,32767]决定用户身份和权限
*/
@Basic
@Column(name = "user_group")
private String userGroup;
/**
* 上次登录时间:
*/
@Basic
@Column(name = "login_time")
private Timestamp loginTime;
/**
* 手机号码:[0,11]用户的手机号码,用于找回密码时或登录时
*/
@Basic
@Column(name = "phone")
private String phone;
/**
* 手机认证:[0,1](0未认证|1审核中|2已认证)
*/
@Basic
@Column(name = "phone_state")
private Integer phoneState;
/**
* 用户名:[0,16]用户登录时所用的账户名称
*/
@Basic
@Column(name = "username")
private String username;
/**
* 昵称:[0,16]
*/
@Basic
@Column(name = "nickname")
private String nickname;
/**
* 密码:[0,32]用户登录所需的密码,由6-16位数字或英文组成
*/
@Basic
@Column(name = "password")
private String password;
/**
* 邮箱:[0,64]用户的邮箱,用于找回密码时或登录时
*/
@Basic
@Column(name = "email")
private String email;
/**
* 邮箱认证:[0,1](0未认证|1审核中|2已认证)
*/
@Basic
@Column(name = "email_state")
private Integer emailState;
/**
* 头像地址:[0,255]
*/
@Basic
@Column(name = "avatar")
private String avatar;
/**
* 创建时间:
*/
@Basic
@Column(name = "create_time")
@JsonFormat(pattern = "yyyy-MM-dd HH:mm:ss")
private Timestamp createTime;
@Basic
@Transient
private String code;
}
-
- 登录模块的实现
主要由两部分组成,登录前的登录界面以及登录后的用户功能界面。登录界面,要求用户输入用户名和密码,当用户名和密码其中一个输入为空时,给出提示“用户名,密码不能为空”。获取用户名和密码后到数据库中查找,如果用户名存在,以及对应的密码正确,则登录成功,否则登录失败。登录失败后给出提示,并把焦点停在文本框中。登录成功后将该次会话的全局变量username设置为用户名。登录成功后进入会员的功能模块,主要有会员基本信息修改,已经发布电影信息管理,发布信息,和退出功能。退出功能是清除全局变量username的值,并跳回到首页。
登录流程图如下图所示。

图5-4登录流程图
用户登录界面如下图所示。

图5-5用户登录界面
用户登录的关键代码如下:
* 登录
* @param data
* @param httpServletRequest
* @return
*/
@PostMapping("login")
public Map<String, Object> login(@RequestBody Map<String, String> data, HttpServletRequest httpServletRequest) {
log.info("[执行登录接口]");
String username = data.get("username");
String email = data.get("email");
String phone = data.get("phone");
String password = data.get("password");
List resultList = null;
Map<String, String> map = new HashMap<>();
if(username != null && "".equals(username) == false){
map.put("username", username);
resultList = service.select(map, new HashMap<>()).getResultList();
}
else if(email != null && "".equals(email) == false){
map.put("email", email);
resultList = service.select(map, new HashMap<>()).getResultList();
}
else if(phone != null && "".equals(phone) == false){
map.put("phone", phone);
resultList = service.select(map, new HashMap<>()).getResultList();
}else{
return error(30000, "账号或密码不能为空");
}
if (resultList == null || password == null) {
return error(30000, "账号或密码不能为空");
}
//判断是否有这个用户
if (resultList.size()<=0){
return error(30000,"用户不存在");
}
User byUsername = (User) resultList.get(0);
Map<String, String> groupMap = new HashMap<>();
groupMap.put("name",byUsername.getUserGroup());
List groupList = userGroupService.select(groupMap, new HashMap<>()).getResultList();
if (groupList.size()<1){
return error(30000,"用户组不存在");
}
UserGroup userGroup = (UserGroup) groupList.get(0);
//查询用户审核状态
if (!StringUtils.isEmpty(userGroup.getSourceTable())){
String sql = "select examine_state from "+ userGroup.getSourceTable() +" WHERE user_id = " + byUsername.getUserId();
String res = String.valueOf(service.runCountSql(sql).getSingleResult());
if (res==null){
return error(30000,"用户不存在");
}
if (!res.equals("已通过")){
return error(30000,"该用户审核未通过");
}
}
//查询用户状态
if (byUsername.getState()!=1){
return error(30000,"用户非可用状态,不能登录");
}
String md5password = service.encryption(password);
if (byUsername.getPassword().equals(md5password)) {
// 存储Token到数据库
AccessToken accessToken = new AccessToken();
accessToken.setToken(UUID.randomUUID().toString().replaceAll("-", ""));
accessToken.setUser_id(byUsername.getUserId());
tokenService.save(accessToken);
// 返回用户信息
JSONObject user = JSONObject.parseObject(JSONObject.toJSONString(byUsername));
user.put("token", accessToken.getToken());
JSONObject ret = new JSONObject();
ret.put("obj",user);
return success(ret);
} else {
return error(30000, "账号或密码不正确");
}
}
-
- 用户资料修改模块的实现
用户登录/注册成功之后可以修改自己的基本信息。修改页面的表单中每一个input的name值都要与实体类中的参数相匹配,在用户点击修改页面的时候,如果改后用户名与数据库里面重复了,页面会提示该用户名已经存在了,否则通过Id来查询用户,并将用户的信息修改为表单提交的数据。
用户便可以对电影做出评论。点击按钮之后会跳转至评论填写页面,填写评论提交之后,后台通过PinglunController的publish方法将相关信息保存到数据库系统。
评论添加流程图如下图所示。

图5-10评论添加流程图
评论添加界面如下图所示。

图5-11评论添加界面
评论添加关键代码为:
@RequestMapping(value = "/del")
@Transactional
public Map<String, Object> del(HttpServletRequest request) {
service.delete(service.readQuery(request), service.readConfig(request));
return success(1);
}
@Transactional
public void delete(Map<String,String> query,Map<String,String> config){
StringBuffer sql = new StringBuffer("DELETE FROM ").append("`").append(table).append("`").append(" ");
sql.append(toWhereSql(query, "0".equals(config.get(FindConfig.GROUP_BY))));
log.info("[{}] - 删除操作:{}",table,sql);
Query query1 = runCountSql(sql.toString());
query1.executeUpdate();
}
-
- 购票中心模块的实现
购票功能需要考虑高并发,防止出现电影重复购票、电影状态显示出错等情况,特对电影这一共享数据增加锁机制。在乐观锁、悲观锁以及线程锁中,综合考虑性能效率和错误的可接受性选择了乐观锁机制。乐观锁的实现方式是使用版本标识来确定读到的数据与提交时的数据是否一致,提交后修改版本标识,不一致时可以采取丢弃和再次尝试的策略。在数据库电影表(对应电影实体)设计中增加了version字段,每次数据提交时(更改电影状态)会判断version是否匹配,若不匹配停止本次提交,若匹配则提交成功并增加version的值。
购票功能整体流程:用户浏览电影信息时,同时会显示电影的状态,系统会在其显示详细信息的页面时便会判断电影的状态,若电影状态为可购票,则会显示购票的链接按钮。在用户点击购票按钮时,会先通过拦截器判断用户是否登录,若未登录,会跳转至登录页面,提示用户先登录,若为登录用户就会跳转至填写购票信息的页面,填写好购票信息之后,点击提交按钮,购票成功之后返回提示信息,告知用户购票成功。
购票中心流程图如下图所示。

图5-12购票中心流程图
购票中心界面如下图所示。

图5-13购票中心界面
购票中心管理关键代码为:
@Transactional
public Map<String, Object> add(HttpServletRequest request) throws IOException {
service.insert(service.readBody(request.getReader()));
return success(1);
}
@Transactional
public Map<String, Object> addMap(Map<String,Object> map){
service.insert(map);
return success(1);
}
public Map<String,Object> readBody(BufferedReader reader){
BufferedReader br = null;
StringBuilder sb = new StringBuilder("");
try{
br = reader;
String str;
while ((str = br.readLine()) != null){
sb.append(str);
}
br.close();
String json = sb.toString();
return JSONObject.parseObject(json, Map.class);
}catch (IOException e){
e.printStackTrace();
}finally{
if (null != br){
try{
br.close();
}catch (IOException e){
e.printStackTrace();
}
}
}
return null;
}
public void insert(Map<String,Object> body){
StringBuffer sql = new StringBuffer("INSERT INTO ");
sql.append("`").append(table).append("`").append(" (");
for (Map.Entry<String,Object> entry:body.entrySet()){
sql.append("`"+humpToLine(entry.getKey())+"`").append(",");
}
sql.deleteCharAt(sql.length()-1);
sql.append(") VALUES (");
for (Map.Entry<String,Object> entry:body.entrySet()){
Object value = entry.getValue();
if (value instanceof String){
sql.append("'").append(entry.getValue()).append("'").append(",");
}else {
sql.append(entry.getValue()).append(",");
}
}
sql.deleteCharAt(sql.length() - 1);
sql.append(")");
log.info("[{}] - 插入操作:{}",table,sql);
Query query = runCountSql(sql.toString());
query.executeUpdate();
}
-
- 退票记录模块的实现
退票功能整体流程:用户浏览退票记录时,同时会显示退票记录的状态,系统会在其显示详细信息的页面时便会判断退票记录的状态,若退票记录状态为可退票,则会显示退票的链接按钮。在用户点击退票按钮时,会先通过拦截器判断用户是否登录,若未登录,会跳转至登录页面,提示用户先登录,若为登录用户就会跳转至填写退票信息的页面,填写好退票信息之后,点击提交按钮,退票成功之后返回提示信息,告知用户退票成功。
退票记录流程图如下图所示。

图5-12退票记录流程图
退票记录界面如下图所示。

图5-15退票记录界面
退票添加关键代码为:
public Map<String, Object> upload(@RequestParam("file") MultipartFile file) {
log.info("进入方法");
if (file.isEmpty()) {
return error(30000, "没有选择文件");
}
try {
//判断有没路径,没有则创建
String filePath = System.getProperty("user.dir") + "\\target\\classes\\static\\upload\\";
File targetDir = new File(filePath);
if (!targetDir.exists() && !targetDir.isDirectory()) {
if (targetDir.mkdirs()) {
log.info("创建目录成功");
} else {
log.error("创建目录失败");
}
}
String fileName = file.getOriginalFilename();
File dest = new File(filePath + fileName);
log.info("文件路径:{}", dest.getPath());
log.info("文件名:{}", dest.getName());
file.transferTo(dest);
JSONObject jsonObject = new JSONObject();
jsonObject.put("url", "/api/upload/" + fileName);
return success(jsonObject);
} catch (IOException e) {
log.info("上传失败:{}", e.getMessage());
}
return error(30000, "上传失败");
}
-
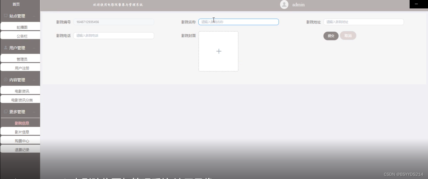
- 影院信息管理模块的实现
此页面的关键是编写影院信息,包括影院编号,名称,详情等。单击提交按钮以完成信息的添加。如果未写入完整的影院信息,例如,如果未写入影院编号,系统将给出相应的错误提示,并且无法成功输入。数据以概念的形式以onsubmit =“return checkForm()”的形式写入以进行检查,checkForm()函数是一种用于写入数据的不同类型的校对方法,是不是为空也是经过form表单中的onsubmit=”return checkForm()来检查。
管理员点击左侧菜单“影院信息管理”,页面跳转到影院信息管理外观,调用后台影院查询所有影院信息。并将信息密封到数据集合List,绑定到请求对象,然后页面跳转到相应的aspx界面,显示出影院信息,单击删除按钮完成影院信息的删除。
影院管理流程图如下图所示。

图5-17影院管理流程图
影院添加界面如下图所示。

图5-18影院添加界面
影院管理界面如下图所示。

图5-19影院管理界面
根据需求,需要对影片进行添加、删除或修改详情信息。删除或修改影片时,系统根据影片的状态判定为可删除状态下,才会给出删除和修改链接,点击删除链接按钮时,请求到达后台,还会先查询影片状态再次做出判定能否删除。点击修改链接按钮时,会跳转到修改信息的页面,重新填写好数据后,数据提交到后台会对数据库中相应的记录做出修改。
添加影片时,会给出数据填写的页面,该页面根据填写好的影片编号同样会事先发送Ajax请求查询编号是否已存在,数据填写好之后提交到后台,会调用相关服务在数据库中插入记录。
影片管理流程图如下图所示。

图5-20影片管理流程图
影片信息管理页面设计效果如下图所示。

图5-21影片信息管理界面
对任何系统而言,测试都是必不可少的环节,测试可以发现系统存在的很多问题,所有的软件上线之前,都应该进行充足的测试之后才能保证上线后不会Bug频发,或者是功能不满足需求等问题的发生。下面分别从单元测试,功能测试和用例测试来对系统进行测试以保证系统的稳定性和可靠性。
下表是系统登录功能测试用例,检测了用户名和密码的不同的输入情况,观察系统的响应情况。得出该功能达到了设计目标。
表6-1 系统登录功能测试用例
| 功能描述 | 用于系统登录 | |
| 测试目的 | 检测登录时的合法性检查 | |
| 测试数据以及操作 | 预期结果 | 实际结果 |
| 输入的用户名和密码带有非法字符 | 提示用户名或者密码错误 | 与预期结果一致 |
| 输入的用户名或者密码为空 | 提示用户名或者密码错误 | 与预期结果一致 |
| 输入的用户名和密码不存在 | 提示用户名或者密码错误 | 与预期结果一致 |
| 输入正确的用户名和密码 | 登录成功 | 与预期结果一致 |
下表是注册功能测试用例,检测了各种数据的输入情况,观察系统的响应情况。得出该功能达到了设计目标。
表6-2 注册功能测试用例
| 功能描述 | 用于用户注册 | |
| 测试目的 | 检测用户注册时的合法性检查 | |
| 测试数据以及操作 | 预期结果 | 实际结果 |
| 输入的手机号不合法 | 提示请输入正确的手机号码 | 与预期结果一致 |
| 输入的字段为空 | 提示必填项不能为空 | 与预期结果一致 |
| 输入的密码少于6位 | 提示密码必须为6-12位 | 与预期结果一致 |
| 输入的密码大于12位 | 提示密码必须为6-12位 | 与预期结果一致 |
下表是影院管理功能的测试用例,检测了影院管理中对影院信息的增加,删除,修改,查询操作是否成功运行。观察系统的响应情况,得出该功能也达到了设计目标,系统运行正确。
前置条件;用户登录系统。
表6-3 影院管理的测试用例
| 功能描述 | 用于影院管理 | |
| 测试目的 | 检测影院管理时的各种操作的运行情况 | |
| 测试数据以及操作 | 预期结果 | 实际结果 |
| 点击添加影院,必填项合法输入,点击保存 | 提示添加成功 | 与预期结果一致 |
| 点击添加影院,必填项输入不合法,点击保存 | 提示必填项不能为空 | 与预期结果一致 |
| 点击修改影院,必填项修改为空,点击保存 | 提示必填项不能为空 | 与预期结果一致 |
| 点击修改影院,必填项输入不合法,点击保存 | 提示必填项不能为空 | 与预期结果一致 |
| 点击删除影院,选择影院删除 | 提示删除成功 | 与预期结果一致 |
| 点击搜索影院,输入存在的影院名 | 查找出影院 | 与预期结果一致 |
| 点击搜索影院,输入不存在的影院名 | 不显示影院 | 与预期结果一致 |
下表是购票中心管理功能的测试用例,检测了购票中心管理中对购票中心信息的增加,删除,修改,查询操作是否成功运行。观察系统的响应情况,得出该功能也达到了设计目标,系统运行正确。
前置条件;用户登录系统。
表6-4 购票中心管理的测试用例
| 功能描述 | 用于购票中心管理 | |
| 测试目的 | 检测购票中心管理时的各种操作的运行情况 | |
| 测试数据以及操作 | 预期结果 | 实际结果 |
| 点击添加购票中心,必填项合法输入,点击保存 | 提示添加成功 | 与预期结果一致 |
| 点击添加购票中心,必填项输入不合法,点击保存 | 提示必填项不能为空 | 与预期结果一致 |
| 点击修改购票中心,必填项修改为空,点击保存 | 提示必填项不能为空 | 与预期结果一致 |
| 点击修改购票中心,必填项输入不合法,点击保存 | 提示必填项不能为空 | 与预期结果一致 |
| 点击删除购票中心,选择购票中心删除 | 提示删除成功 | 与预期结果一致 |
| 点击搜索购票中心,输入存在的购票中心名 | 查找出购票中心 | 与预期结果一致 |
| 点击搜索购票中心,输入不存在的购票中心名 | 不显示购票中心 | 与预期结果一致 |
下表是退票记录管理功能的测试用例,检测了退票记录管理中退票记录单的操作是否成功运行。观察系统的响应情况,得出该功能也达到了设计目标,系统运行正确。
前置条件;用户登录系统。
表6-5 退票记录管理的测试用例
| 功能描述 | 用于退票记录管理 | |
| 测试目的 | 检测退票记录管理时各种操作的情况 | |
| 测试数据以及操作 | 预期结果 | 实际结果 |
| 未选择影院,点击提交 | 提示请选择影院 | 与预期结果一致 |
| 未输入数量,点击提交 | 提示请输入数量 | 与预期结果一致 |
| 未输入场次,点击提交 | 提示请输入场次 | 与预期结果一致 |
使用阿里云PTS(Performance Testing Service)性能测试服务对线上系统进行压力测试。线上服务器环境为:1核心CPU,1G内存,1Mbps公网带宽,Centos7.0操作系统。
压测过程中使用了2台并发机器,每台机器20个用户并发,对系统主页,登录,数据查询和数据维护等模块进行并发访问,测试结果是有40个用户并发时,数据管理相关页面的响应时间甚至达到了7s,通过查看服务器出网流量发现已经达到1381kb/s,可以看出服务器的带宽已经达到峰值,如果系统使用5Mbps的带宽,系统的响应时间和TPS将会大大增加。在整个测试的过程中,CPU的使用率占用仅8%,也提现出带宽瓶颈对系统的影响非常严重。
随着计算机互联网技术的迅猛发展,各行各业都已经实现采用计算机相关技术对日益放大的数据进行管理。该课题是电影院售票与管理系统为核心展开的,主要是为了实现电影院购票信息化管理和用户退票的需求。
电影院售票与管理系统的开发是以Java编程语言作为基础,在VisualStudio平台上完成编码工作,系统整体为B/S架构,数据库系统使用mysql。文中详细分析了电影院售票与管理系统的研究背景、研究目的和意义、开发工具和相关技术以及系统需求、系统详细设计和系统测试等等一系列内容。系统实现了电影院售票与管理系统所需的一些基本功能,并通过测试对这些实现的功能进行了完善,进而提高了系统整体的实用性。整个系统的开发过程中大量使用了Java相关的知识以及前端开发使用的html和javascript等,同时涉及到了很多开源框架和组件,例如后台系统中运用的MVC架构、Freemarker模板引擎等,前端运用的UI框架等。
系统投入运行时,各功能均运行正常。系统的每个界面的操作符合常规逻辑,对使用者来说操作简单,界面友好。整个系统的各个功能设计合理,体现了人性化。
但是由于自己在系统开发过程中对一些用到的相关知识和技术掌握不够牢固,再加上自身开发经验欠缺,因此系统在有些方面的功能还不够完善,考虑的不够全面,因此整个系统还有待日后逐步完善。
参考文献
[1]王曼维,杨荻,李岩,及松洁.基于SpringBoot框架的智慧医疗问诊系统设计与实现[J].中国医学装备,2022,19(03):133-136.
[2]常兵,薛桢一,陈德徐,孙诚彬,阮莹莹. 一种基于JAVA技术实现数据结构化导入导出的方法[P]. 江苏省:CN114063989A,2022-02-18.
[3]刘在英,杨磊. 一种基于SpringBoot框架的企业进存销系统的设计方法[P]. 山东省:CN114003204A,2022-02-01.
[4]熊柏祥.基于Springboot和Vue框架的考试资源服务平台的设计与实现[J].信息与电脑(理论版),2022,34(01):97-99+103.
[5]熊柏祥.基于Springboot和Vue框架的考试资源服务平台的设计与实现[J].信息与电脑(理论版),2022,34(01):97-99+103.
[6]汪杰,万振华,王颉,董燕,李华,吴钟良,洪二稳. JAVA开源组件的漏洞检测方法、装置及存储介质[P]. 广东省:CN112868008B,2021-12-24.
[7]林飞,胡凤娇,杨小担,易永波,古元,毛华阳. 一种基于Java反射技术实现数据校验的方法[P]. 北京市:CN113805863A,2021-12-17.
[8]曹明昊. 基于SpringBoot和Vue框架的邯郸市现代农业园区信息管理系统的研发[D].河北工程大学,2021.
[9]单树倩,任佳勋.基于SpringBoot和Vue框架的数据库原理网站设计与实现[J].电脑知识与技术,2021,17(30):40-41+50.
[10]喻佳,吴丹新.基于SpringBoot的Web快速开发框架[J].电脑编程技巧与维护,2021(09):31-33.
[11]向福川,方玉,刘浪,唐振云,练瑶.基于SpringBoot+Vue框架的协同育才系统设计与开发[J].现代信息科技,2021,5(14):5-7+12.DOI:10.19850/j.cnki.2096-4706.2021.14.002.
[12]刘欣,李亮亮,牛聪. 基于Vue和SpringBoot框架的流域监管平台的研究和应用[A]. 《中国防汛抗旱》杂志社、中国水利学会减灾专业委员会、水利部防洪抗旱减灾工程技术研究中心(中国水利水电科学研究院防洪抗旱减灾研究中心).第十一届防汛抗旱信息化论坛论文集[C].《中国防汛抗旱》杂志社、中国水利学会减灾专业委员会、水利部防洪抗旱减灾工程技术研究中心(中国水利水电科学研究院防洪抗旱减灾研究中心):中国水利学会减灾专业委员会,2021:5.
[13]Qu Xiaona. Application of Java Technology in Dynamic Web Database Technology[J]. Journal of Physics: Conference Series,2021,1744(4).
[14]Tian Ming Huang. Design and Implementation of App System for Legal Consulting Based on JAVA Technology[J]. Procedia Computer Science,2020,166(C).
[15]Xuchun Chen. Design and Implementation of University Art Education Management System Based on JAVA Technology[J]. International Journal of Emerging Technologies in Learning (iJET),2018,13(10).
[16]朱祥东,杨保华.在线售票系统的设计与搭建[J].价值工程,2018,37(27):244-245.
致谢
本次设计历时3个月。在这个毕业设计中,它离不开指导教师的指导,使事情基本顺利。指导老师无论是在毕业设计历经中,还是在论文做完中都给了了我特别大的助益。另1个方面,教师认真负责的工作姿态,谨慎的教学精神厚重的理论水准都使我获益匪浅。他勤恳谨慎的教学育人学习姿态也给我留下了特别特别深的感觉。我从老师那里学到了很多东西。在理论和实践中,我的技能得到了特别大的提高。在此,特向教师表示由衷的感激。
经过对该毕业设计的全部研究和开发,我的系统研发经历了从需求分析到实现详细功能,再到最终测试和维护的特殊进展。让我对系统研发有了更深层次的认识。如今我的动手本领单独处理疑惑的本领也获取到了特别大的演练学习增多,这是这次毕业设计最好的收获。
最后,在整个系统开发过程中,我周围的同学和朋友给了我很多意见,所以我很快就确认了系统的商业思想。在次,我由衷的向他们表示感激。
基于Spring Boot的电影院售票管理系统设计与实现
本文档详细介绍了使用Spring Boot框架开发的电影院售票与管理系统,包括系统背景、开发现状、技术选型(如Myeclipse、MySQL、Java、Spring Boot等)以及系统设计与实现。系统主要功能包括用户管理、影院信息、影片信息、购票中心和退票记录。通过B/S结构,利用Ajax技术实现用户交互,后台采用Spring Boot和MySQL数据库进行数据管理。系统还包含了安全性、功能性和经济性的可行性分析,以及详细的模块功能测试,展示了系统稳定性和实用性。
16万+

被折叠的 条评论
为什么被折叠?



