¥开放平台基础API必须用户授权
需要商家或以上权限才可调用此接口,可重复调用本接口更新交易备注,本接口同时具有添加备注的功能
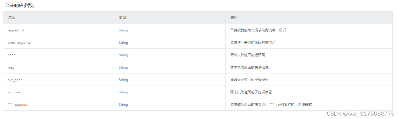
公共参数




点击获取
请求示例
TaobaoClient client = new DefaultTaobaoClient(url, appkey, secret);
TradeMemoUpdateRequest req = new TradeMemoUpdateRequest();
req.setTid(123456789L);
req.setMemo(“交易备注”);
req.setFlag(1L);
req.setReset(true);
TradeMemoUpdateResponse rsp = client.execute(req, sessionKey);
System.out.println(rsp.getBody());
响应示例
.<trade_memo_update_response>
2231958349
2000-01-01 00:00:00
</trade_memo_update_response>
taobao.trade.memo.update( 修改交易备注 )
最新推荐文章于 2023-05-24 15:14:34 发布
开放平台的基础API要求用户授权且需商家或以上权限才能调用。该接口允许重复调用来更新交易备注,兼具添加备注功能。示例展示了如何使用TaobaoClient执行更新请求并获取响应。

893

被折叠的 条评论
为什么被折叠?



