概述
在多核系统中,为了更好的利用多 CPU 并行能力,进程调度器可以将进程负载尽可能的平均到各个 CPU 上。再具体实现中,如何选择将进程迁移到的目标 CPU,除了考虑各个 CPU 的负载平衡,还需要将 Cache 利用纳入权衡因素。同时,对于进程 A 唤醒进程 B 这个模型,还做了特殊的处理。本文分析以 Centos kernel 3.10.0-975 源码为蓝本。
SMP 负载均衡模型
问题
如果只是将 CPU 负载平均的分布在各个 CPU 上,那么就无所谓需要调度域。但是由于 Cache 以及内存 Numa 的存在,使得进程最好能迁移到与之前运行所在 CPU 更'近'的 CPU 上。
以我们常用的 Intel X86 为例。Cache 基本视图如下图:

从 Cache 和内存访问的视角,如果进程负载均衡需要把进程 A 迁移到另一个 CPU 上,
如果目标 CPU 和进程 A 之前所在 CPU 正好是同一个物理 CPU 同一个核心上(超线程),那么 Cache 利用率最好,毕竟 L1,L2 和 L3 中还是'热'的。
如果目标 CPU 和进程 A 之前所在 CPU 正好是同一个物理 CPU 但不同核心上(多核),那么 Cache 利用率次之,L3 中还有'热'数据。
如果目标 CPU 和进程 A 之前所在 CPU 正好是同一个 NUMA 但是不同物理 CPU 上(多 NUMA 结构),虽然 Cache 已经是'冷'了,但至少内存访问还是在本 NUMA 中。
如果目标 CPU 和进程 A 之前所在 CPU 在不同 NUMA 中,不但 Cache 是'冷'的,跨 NUMA 内存还有惩罚,此时内存访问速度最差。
SMP 组织
为了更好地利用 Cache,内核将 CPU(如果开启了超线程,那么以逻辑 CPU 为单位,否则以物理 CPU 核心为单位)组织成了调度域。
逻辑视角
假设某机器为 2 路 4 核 8 核心 CPU,它的 CPU 调度域逻辑上如下图:

2 路 NUMA 最为简单,如果是 4 路 NUMA,那么这个视图在 NUMA 层级将会复杂很多,因为跨 NUMA 访问根据访问距离导致访问延时还不相同,这部分最后讨论。
分层视角
所有 CPU 一共分为三个层次:SMT,MC,NUMA,每层都包含了所有 CPU,但是划分粒度不同。根据 Cache 和内存的相关性划分调度域,调度域内的 CPU 又划分一次调度组。越往下层调度域越小,越往上层调度域越大。进程负载均衡会尽可能的在底层调度域内部解决,这样 Cache 利用率最优。
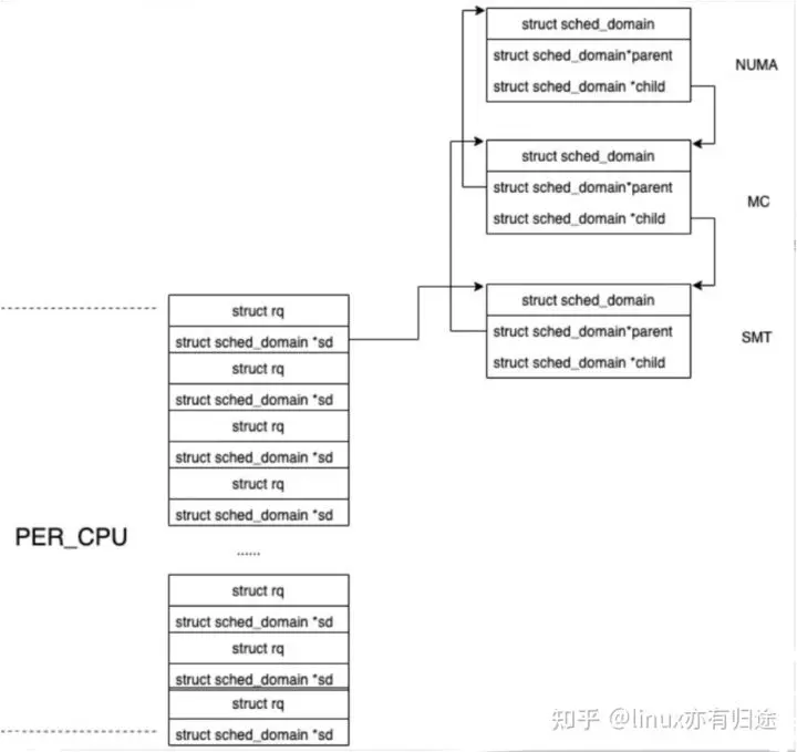
从分层的视角分析,下图是调度域实际组织方式,每层都有 per-cpu 数组保存每个 CPU 对应的调度域和调度组,它们是在初始化时已经提前分配的内存。值得注意的是
-
每个 CPU 对应的调度域数据结构都包含了有效的内容,比如说 SMT 层中,CPU0 和 CPU1 对应的不同调度域数据结构,内容是一模一样的。
-
每个 CPU 对应的调度组数据结构不一定包含了有效内容,比如说 MC 层中,CPU0 和 CPU1 指向不同的 struct sched_domain,但是 sched_domain->groups 指向的调度组确是同样的数据结构,这些调度组组成了环。

单 CPU 视角
从单个 CPU 的视角分析,下图是调度域实际组织方式。

每个 CPU 的进程运行队列有一个成员指向其所在调度域。从最低层到最高层。
我们可以在/proc/sys/kernel/sched_domain/cpuX/ 中看到 CPU 实际使用的调度域个数以及每个调度域的名字和配置参数。
负载均衡时机
周期性调用进程调度程序 scheduler_tick()->trigger_load_balance()中,通过软中断触发负载均衡。
某个 CPU 上无可运行进程,__schedule()准备调度 idle 进程前,会尝试从其它 CPU 上 pull 一批进程过来。
周期性负载均衡
CPU 对应的运行队列数据结构中记录了下一次周期性负载均衡的时间,当超过这个时间点后,将触发 SCHED_SOFTIRQ 软中断来进行负载均衡。
void trigger_load_balance(struct rq *rq, int cpu){/* Don't need to rebalance while attached to NULL domain */if (time_after_eq(jiffies, rq->next_balance) &&likely(!on_null_domain(cpu)))raise_softirq(SCHED_SOFTIRQ);#ifdef CONFIG_NO_HZ_COMMONif (nohz_kick_needed(rq) && likely(!on_null_domain(cpu)))nohz_balancer_kick(cpu);#endif}
复制代码
以下是 rebalance_domains()函数核心流程,值得注意的是,每个层级的调度间隔不是固定的,而是临时计算出来,他在一个可通过 proc 接口配置的最小值和最大值之间。

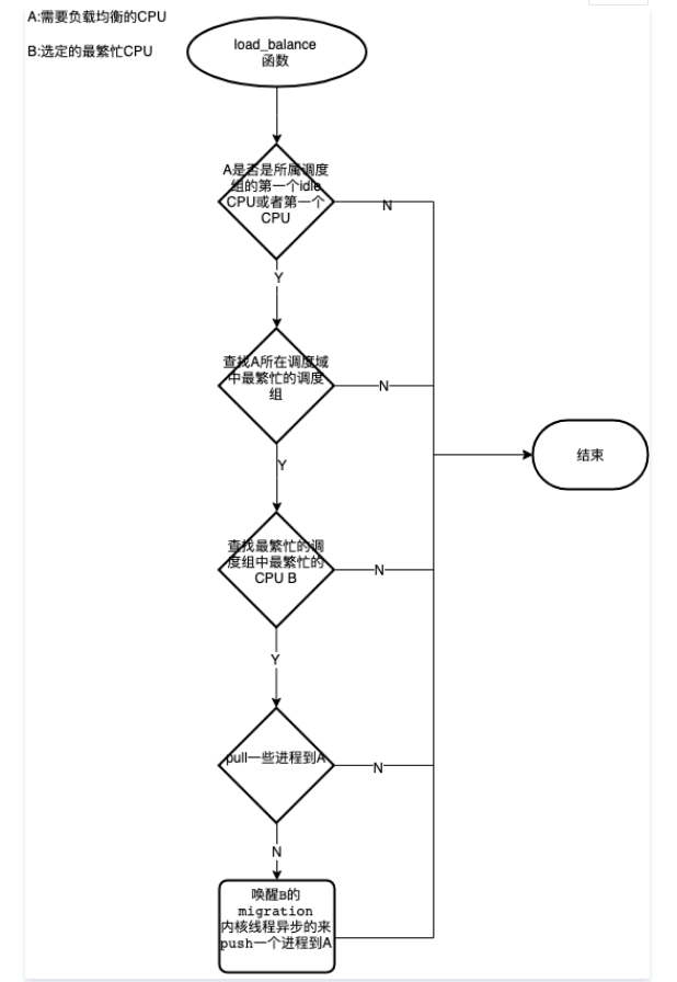
以下是对 CPU 的每个层级调度域调用 load_balance()函数核心流程,目的是把一些进程迁移到指定的 CPU(该场景就是当前 CPU)。

以我的服务器为例,观察不同层级调度域的调度间隔范围,时间单位为 jiffies。

可见,SMT 负载均衡频率最高,越往上层越低。这也符合体系结构特点,在越低层次迁移进程代价越小(Cache 利用率高),所以可以更加频繁一点。
CPU 进入 idle 前负载均衡
当进程调度函数__schedule()把即将切换到 idle 进程前,会发生一次负载均衡来避免当前 CPU 空闲。
static void __sched __schedule(void){...if (unlikely(!rq->nr_running))idle_balance(cpu, rq);...}
复制代码
核心函数 idle_balance()。基本上也是尽可能在低层调度域中负载均衡。
/** idle_balance is called by schedule() if this_cpu is about to become* idle. Attempts to pull tasks from other CPUs.*/void idle_balance(int this_cpu, struct rq *this_rq){unsigned long next_balance = jiffies + HZ;struct sched_domain *sd;int pulled_task = 0;u64 curr_cost = 0;this_rq->idle_stamp = rq_clock(this_rq);/* 如果该CPU平均空闲时间小于/proc中的配置值或者该cpu调度域中所有cpu都是idle状态,那么不需要负载均衡了*/if (this_rq->avg_idle < sysctl_sched_migration_cost ||!this_rq->rd->overload) {rcu_read_lock();sd = rcu_dereference_check_sched_domain(this_rq->sd);if (sd)update_next_balance(sd, 0, &next_balance);rcu_read_unlock();goto out;}/** Drop the rq->lock, but keep IRQ/preempt disabled.*/raw_spin_unlock(&this_rq->lock);update_blocked_averages(this_cpu);rcu_read_lock();/* 从底向上遍历调度域,只要迁移成功一个进程就跳出循环*/for_each_domain(this_cpu, sd) {int should_balance;u64 t0, domain_cost;if (!(sd->flags & SD_LOAD_BALANCE))continue;/** 如果(当前累积的负载均衡开销时间 + 历史上该层级负载均衡开销最大值)已经大于CPU平均空闲时间了,* 那么就没有必要负载均衡了。注意,sd->max_newidle_lb_cost会在load_balance()函数中缓慢减少。*/if (this_rq->avg_idle < curr_cost + sd->max_newidle_lb_cost) {update_next_balance(sd, 0, &next_balance);break;}/* 我的机器上该标记总是设置了SD_BALANCE_NEWIDLE */if (sd->flags & SD_BALANCE_NEWIDLE) {t0 = sched_clock_cpu(this_cpu);pulled_task = load_balance(this_cpu, this_rq,sd, CPU_NEWLY_IDLE,&should_balance);domain_cost = sched_clock_cpu(this_cpu) - t0;if (domain_cost > sd->max_newidle_lb_cost)sd->max_newidle_lb_cost = domain_cost;/* 记录了当前负载均衡开销累计值 */curr_cost += domain_cost;}update_next_balance(sd, 0, &next_balance);/** Stop searching for tasks to pull if there are* now runnable tasks on this rq.*/if (pulled_task || this_rq->nr_running > 0) {this_rq->idle_stamp = 0;break;}}rcu_read_unlock();raw_spin_lock(&this_rq->lock);out:/* Move the next balance forward */if (time_after(this_rq->next_balance, next_balance))this_rq->next_balance = next_balance;if (curr_cost > this_rq->max_idle_balance_cost)this_rq->max_idle_balance_cost = curr_cost;}
复制代码
其它需要用到 SMP 负载均衡模型的时机
内核运行中,还有部分情况中需要用掉 SMP 负载均衡模型来确定最佳运行 CPU:
-
进程 A 唤醒进程 B 时,try_to_wake_up()中会考虑进程 B 将在哪个 CPU 上运行。
-
进程调用 execve()系统调用时。
-
fork 出子进程,子进程第一次被调度运
唤醒进程
时当 A 进程唤醒 B 进程时,假设都是普通进程,那么将会调用 try_to_wake_up()->select_task_rq()->select_task_rq_fair()
/** sched_balance_self: balance the current task (running on cpu) in domains* that have the 'flag' flag set. In practice, this is SD_BALANCE_FORK and* SD_BALANCE_EXEC.** Balance, ie. select the least loaded group.** Returns the target CPU number, or the same CPU if no balancing is needed.** preempt must be disabled.*//* A进程给自己或者B进程选择一个CPU运行,* 1: A唤醒B* 2: A fork()出B后让B运行* 3: A execute()后重新选择自己将要运行的CPU*/static intselect_task_rq_fair(struct task_struct *p, int prev_cpu, int sd_flag, int wake_flags){struct sched_domain *tmp, *affine_sd = NULL, *sd = NULL;int cpu = smp_processor_id();int new_cpu = cpu;int want_affine = 0;int sync = wake_flags & WF_SYNC;/* 当A进程唤醒B进程时,从try_to_wake_up()进入本函数,这里会置位SD_BALANCE_WAKE。 */if (sd_flag & SD_BALANCE_WAKE) {/* B进程被唤醒时希望运行的CPU尽可能离A进程所在CPU近一点 */if (cpumask_test_cpu(cpu, tsk_cpus_allowed(p)))want_affine = 1;new_cpu = prev_cpu;record_wakee(p);}rcu_read_lock();/** 如果是A唤醒B模式,则查找同时包含A所在cpu和B睡眠前所在prev_cpu的最低级别的调度域。因为A进程* 和B进程大概率会有某种数据交换关系,唤醒B时让它们所在的CPU离的近一点会性能最优。* 否则,查找包含了sd_flag的最高调度域。*/for_each_domain(cpu, tmp) {if (!(tmp->flags & SD_LOAD_BALANCE))continue;/** If both cpu and prev_cpu are part of this domain,* cpu is a valid SD_WAKE_AFFINE target.*/if (want_affine && (tmp->flags & SD_WAKE_AFFINE) &&cpumask_test_cpu(prev_cpu, sched_domain_span(tmp))) {affine_sd = tmp;break;}if (tmp->flags & sd_flag)sd = tmp;}/* 如果是A唤醒B模式,则在同时包含A所在cpu和B睡眠前所在prev_cpu的最低级别的调度域中寻找合适的CPU */if (affine_sd) {/** wake_affine()计算A所在CPU和B睡眠前所在CPU的负载值,判断出B进程唤醒时是否* 需要离A近一点。*/if (cpu != prev_cpu && wake_affine(affine_sd, p, sync))prev_cpu = cpu;/* 在与prev_cpu共享LLC的CPU中寻找空闲CPU,如果没有找到,则返回prev_cpu。这里将确定* B进程唤醒后在哪个CPU运行。*/new_cpu = select_idle_sibling(p, prev_cpu);goto unlock;}/* 到这里,A进程和B进程基本是没有啥亲缘关系的。不用考虑两个进程的Cache亲缘性 */while (sd) {int load_idx = sd->forkexec_idx;struct sched_group *group;int weight;if (!(sd->flags & sd_flag)) {sd = sd->child;continue;}if (sd_flag & SD_BALANCE_WAKE)load_idx = sd->wake_idx;group = find_idlest_group(sd, p, cpu, load_idx);if (!group) {sd = sd->child;continue;}new_cpu = find_idlest_cpu(group, p, cpu);if (new_cpu == -1 || new_cpu == cpu) {/* Now try balancing at a lower domain level of cpu */sd = sd->child;continue;}/* Now try balancing at a lower domain level of new_cpu */cpu = new_cpu;weight = sd->span_weight;sd = NULL;for_each_domain(cpu, tmp) {if (weight <= tmp->span_weight)break;if (tmp->flags & sd_flag)sd = tmp;}/* while loop will break here if sd == NULL */}unlock:rcu_read_unlock();return new_cpu;}
复制代码
/** Try and locate an idle CPU in the sched_domain.*//* 寻找离target CPU最近的空闲CPU(Cache或者内存距离最近)*/static int select_idle_sibling(struct task_struct *p, int target){struct sched_domain *sd;struct sched_group *sg;int i = task_cpu(p);/* target CPU正好空闲,自己跟自己当然最近*/if (idle_cpu(target))return target;/** If the prevous cpu is cache affine and idle, don't be stupid.*//** p进程所在的CPU跟target CPU有Cache共享关系(SMT,或者MC层才有这个关系),并且是空闲的,那就用它了。* Cache共享说明距离很近了*/if (i != target && cpus_share_cache(i, target) && idle_cpu(i))return i;/** Otherwise, iterate the domains and find an elegible idle cpu.*//** 在与target CPU有LLC Cache共享关系的调度域中寻找空闲CPU。注意,在X86体系中只有SMT和MC层的调度域才有Cache共享。*/sd = rcu_dereference(per_cpu(sd_llc, target));/* 在我的机器上是按MC,SMT调度域顺序遍历 */for_each_lower_domain(sd) {sg = sd->groups;do {if (!cpumask_intersects(sched_group_cpus(sg),tsk_cpus_allowed(p)))goto next;/* 调度组内所有CPU都是空闲状态,才能选定 */for_each_cpu(i, sched_group_cpus(sg)) {if (i == target || !idle_cpu(i))goto next;}/* 选择全部CPU都空闲的调度组中第一个CPU*/target = cpumask_first_and(sched_group_cpus(sg),tsk_cpus_allowed(p));goto done;next:sg = sg->next;} while (sg != sd->groups);}done:return target;}
复制代码
调用 execve()系统调用时
/** sched_exec - execve() is a valuable balancing opportunity, because at* this point the task has the smallest effective memory and cache footprint.*/void sched_exec(void){struct task_struct *p = current;unsigned long flags;int dest_cpu;raw_spin_lock_irqsave(&p->pi_lock, flags);/* 选择最合适的CPU,这里由于进程execve()后,之前的Cache就无意义了,因此选择目标CPU不用考虑Cache距离 */dest_cpu = p->sched_class->select_task_rq(p, task_cpu(p), SD_BALANCE_EXEC, 0);if (dest_cpu == smp_processor_id())goto unlock;if (likely(cpu_active(dest_cpu))) {struct migration_arg arg = { p, dest_cpu };raw_spin_unlock_irqrestore(&p->pi_lock, flags);stop_one_cpu(task_cpu(p), migration_cpu_stop, &arg);return;}unlock:raw_spin_unlock_irqrestore(&p->pi_lock, flags);}
复制代码
fork 的子进程第一次被调度运行时
do_fork()->wake_up_new_task()
/** wake_up_new_task - wake up a newly created task for the first time.** This function will do some initial scheduler statistics housekeeping* that must be done for every newly created context, then puts the task* on the runqueue and wakes it.*/void wake_up_new_task(struct task_struct *p){unsigned long flags;struct rq *rq;raw_spin_lock_irqsave(&p->pi_lock, flags);#ifdef CONFIG_SMP/** Fork balancing, do it here and not earlier because:* - cpus_allowed can change in the fork path* - any previously selected cpu might disappear through hotplug*//* 选择最合适的CPU,这里由于进程execve()后,之前的Cache就无意义了,因此选择目标CPU不用考虑Cache距离 */set_task_cpu(p, select_task_rq(p, task_cpu(p), SD_BALANCE_FORK, 0));#endif/* Initialize new task's runnable average */init_task_runnable_average(p);rq = __task_rq_lock(p);activate_task(rq, p, 0);p->on_rq = TASK_ON_RQ_QUEUED;trace_sched_wakeup_new(p, true);check_preempt_curr(rq, p, WF_FORK);#ifdef CONFIG_SMPif (p->sched_class->task_woken)p->sched_class->task_woken(rq, p);#endiftask_rq_unlock(rq, p, &flags);}
复制代码
SMP 负载均衡模型的配置
可以在/proc/sys/kernel/sched_domain/cpuX/中可以对指定 CPU 所在不同层的调度域进行设置
主要分两类:
-
调度层名字:name
-
调度域支持的特性:设置 flags 文件值,比如 SD_LOAD_BALANCE,SD_BALANCE_NEWIDLE,SD_BALANCE_EXEC 等,它将决定上文函数遍历调度域时是否忽略本域。
本文深入分析了Linux内核3.10.0-975版本中的SMP负载均衡模型,探讨了如何在多核系统中优化进程分布以充分利用Cache和内存访问效率。内容包括SMP负载均衡模型的组织结构、分层调度域、负载均衡时机以及在进程唤醒、execve()和fork后的调度策略。此外,还介绍了如何通过/proc/sys/kernel/sched_domain/cpuX/进行配置以调整负载均衡行为。
1227

被折叠的 条评论
为什么被折叠?



