1、日志简介
nginx日志主要有两种:访问日志和错误日志。访问日志主要记录客户端访问nginx的每一个请求,格式可以自定义;错误日志主要记录客户端访问nginx出错时的日志,格式不支持自定义。两种日志都可以选择性关闭。
通过访问日志,你可以得到用户地域来源、跳转来源、使用终端、某个URL访问量等相关信息;通过错误日志,你可以得到系统某个服务或server的性能瓶颈等。因此,将日志好好利用,你可以得到很多有价值的信息。
2、访问日志
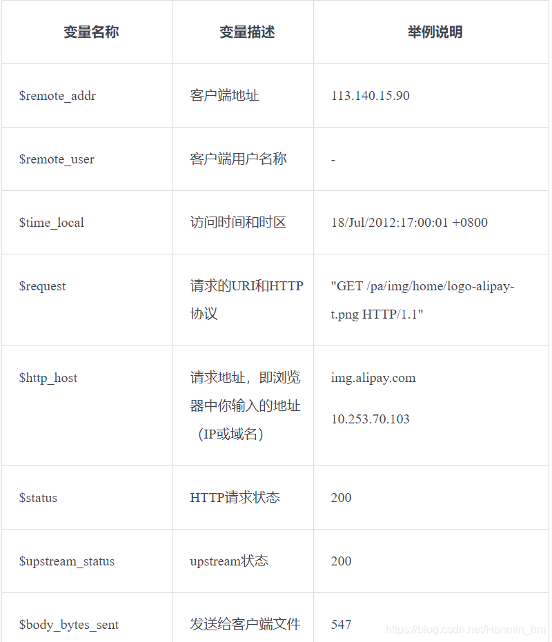
[Access.log]
log_format main '$remote_addr remoteuser[remote_user [remoteuser[time_local] “$request” $http_host ’
'$status $upstream_status bodybytessent"body_bytes_sent "bodybytessent"http_referer" ’
'"$http_user_agent" $ssl_protocol $ssl_cipher $upstream_addr ’
‘$request_time $upstream_response_time’;


线上实例:
116.9.137.90 - [02/Aug/2012:14:47:12 +0800] "GET /images/XX/20100324752729.png HTTP/1.1"img.alipay.com 200 200 2038 https://cashier.alipay.com/XX/PaymentResult.htm?payNo=XX&outBizNo=2012XX “Mozilla/4.0 (compatible; MSIE 8.0; Windows NT 6.1; Trident/4.0; SLCC2; .NET CLR 2.0.50727; .NET CLR 3.5.30729; .NET CLR 3.0.30729; Media Center PC 6.0; Tablet PC 2.0; 360SE)” TLSv1 AES128-SHA 10.228.21.237:80 0.198 0.001
线下测试($http_referer):
10.14.21.197 - - [14/Aug/2012:17:28:22 +0800] “GET /spanner/watch/v1?–db=ztg-1&–mode=compare&–index=status&–option=&–cluster=whole&-F=2012%2F8%2F12-00%3A00%3A00&-T=%2B2880&-i=1&-n=0&_=1344936501292 HTTP/1.1” 200 94193 “http://spanner.alipay.net/optionFrame/history.html” “Mozilla/5.0 (Windows NT 6.1) AppleWebKit/537.1 (KHTML, like Gecko) Chrome/21.0.1180.60 Safari/537.1”

备注:$http_referer和重定向有关。
线下测试($http_host):

备注:$http_host的值和你在浏览器里输入的值有关。
3、错误日志





本文介绍了nginx的访问日志和错误日志,包括它们的用途和格式。访问日志用于记录客户端请求信息,帮助分析用户行为;错误日志则用于定位系统和服务性能问题。示例展示了访问日志的格式和部分字段解释,如HTTP状态码、引用页面和用户代理。
1531

被折叠的 条评论
为什么被折叠?



