前言
看了很多关于索引的博客,讲的大同小异。但是始终没有让我明白关于索引的一些概念,如B-Tree索引,Hash索引,唯一索引….或许有很多人和我一样,没搞清楚概念就开始研究B-Tree,B+Tree等结构,导致在面试的时候答非所问!
索引是什么?
索引是帮助MySQL高效获取数据的数据结构。
索引能干什么?
提高数据查询的效率。
索引:排好序的快速查找数据结构!索引会影响where后面的查找,和order by 后面的排序。
一、索引的分类
1.从存储结构上来划分:BTree索引(B-Tree或B+Tree索引),Hash索引,full-index全文索引,R-Tree索引。
2.从应用层次来分:普通索引,唯一索引,复合索引。
3.根据中数据的物理顺序与键值的逻辑(索引)顺序关系:聚集索引,非聚集索引。
1)中所描述的是索引存储时保存的形式,
2)是索引使用过程中进行的分类,两者是不同层次上的划分。不过平时讲的索引类型一般是指在应用层次的划分。
就像手机分类,安卓手机,IOS手机 与 华为手机,苹果手机,OPPO手机一样。
-
普通索引:即一个索引只包含单个列,一个表可以有多个单列索引
-
唯一索引:索引列的值必须唯一,但允许有空值
-
复合索引:即一个索引包含多个列
-
聚簇索引(聚集索引):并不是一种单独的索引类型,而是一种数据存储方式。具体细节取决于不同的实现,InnoDB的聚簇索引其实就是在同一个结构中保存了B-Tree索引(技术上来说是B+Tree)和数据行。
-
非聚簇索引:不是聚簇索引,就是非聚簇索引(认真脸)。
欢迎大家关注我的公种浩【程序员追风】,文章都会在里面更新,整理的资料也会放在里面。
二、索引的底层实现
mysql默认存储引擎innodb只显式支持B-Tree( 从技术上来说是B+Tree)索引,对于频繁访问的表,innodb会透明建立自适应hash索引,即在B树索引基础上建立hash索引,可以显著提高查找效率,对于客户端是透明的,不可控制的,隐式的。
不谈存储引擎,只讨论实现(抽象)
Hash索引
基于哈希表实现,只有精确匹配索引所有列的查询才有效,对于每一行数据,存储引擎都会对所有的索引列计算一个哈希码(hash code),并且Hash索引将所有的哈希码存储在索引中,同时在索引表中保存指向每个数据行的指针。

B-Tree能加快数据的访问速度,因为存储引擎不再需要进行全表扫描来获取数据,数据分布在各个节点之中。

是B-Tree的改进版本,同时也是数据库索引索引所采用的存储结构。数据都在叶子节点上,并且增加了顺序访问指针,每个叶子节点都指向相邻的叶子节点的地址。相比B-Tree来说,进行范围查找时只需要查找两个节点,进行遍历即可。而B-Tree需要获取所有节点,相比之下B+Tree效率更高。

案例:假设有一张学生表,id为主键

在MyISAM引擎中的实现(二级索引也是这样实现的)

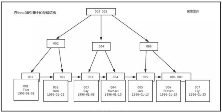
在InnoDB中的实现


三、问题
问:为什么索引结构默认使用B-Tree,而不是hash,二叉树,红黑树?
hash:虽然可以快速定位,但是没有顺序,IO复杂度高。
二叉树:树的高度不均匀,不能自平衡,查找效率跟数据有关(树的高度),并且IO代价高。
红黑树:树的高度随着数据量增加而增加,IO代价高。
问:为什么官方建议使用自增长主键作为索引。
结合B+Tree的特点,自增主键是连续的,在插入过程中尽量减少页分裂,即使要进行页分裂,也只会分裂很少一部分。并且能减少数据的移动,每次插入都是插入到最后。总之就是减少分裂和移动的频率。
插入连续的数据:

插入非连续的数据

最后 欢迎大家一起交流,喜欢文章记得点个赞哟,感谢支持!
本文详细解析了数据库索引的概念,包括索引的分类、底层实现及为何B-Tree成为默认选择。通过对比Hash、二叉树、红黑树等结构,阐述B-Tree在数据查询效率上的优势。
2441

被折叠的 条评论
为什么被折叠?



