摘 要
在当今信息化、数字化的时代,图书销售行业正面临着前所未有的机遇与挑战。传统的图书销售管理方式往往依赖于人工操作,效率低下且容易出错。为了应对这些问题,我们提出了图书销售管理系统。该系统旨在通过技术手段提升图书销售管理的效率与准确性,为图书销售行业注入新的活力。
Spring Boot作为一种轻量级、快速构建应用的Java框架,具有高度的灵活性和可扩展性,非常适合用于构建图书销售管理系统的后端服务。Vue.js则是一款构建用户界面的渐进式框架,它的响应式数据绑定和组件化系统可以帮助我们快速构建出美观、易用的前端界面。而MySQL作为一种成熟、稳定的关系型数据库管理系统,则负责存储和管理系统中的图书、订单等核心数据。
通过整合Spring Boot、Vue和MySQL这三种技术,我们可以构建出一个功能强大、性能稳定、易于维护的图书销售管理系统。该系统不仅可以实现图书的展示、查询、购买等基本功能,还可以提供库存管理、销售统计、用户管理等高级功能,帮助图书销售企业全面提升管理水平和市场竞争力。
综上所述,图书销售管理系统具有重要的现实意义和应用价值。通过该系统的应用,我们可以为图书销售行业带来更加高效、准确、便捷的管理方式,推动行业的持续发展与创新。
关键词:JAVA;SpringBoot;图书销售管理系统;Vue
Abstract
In today's era of informatization and digitization, the book sales industry is facing unprecedented opportunities and challenges. Traditional book sales management methods often rely on manual operations, which are inefficient and prone to errors. To address these issues, we have proposed a book sales management system. The system aims to improve the efficiency and accuracy of book sales management through technological means, injecting new vitality into the book sales industry.
Spring Boot, as a lightweight and fast Java framework for building applications, has high flexibility and scalability, making it very suitable for building backend services for book sales management systems. Vue.js is a progressive framework for building user interfaces, and its responsive data binding and componentization system can help us quickly build beautiful and easy-to-use front-end interfaces. As a mature and stable relational database management system, MySQL is responsible for storing and managing core data such as books and orders in the system.
By integrating Spring Boot, Vue, and MySQL technologies, we can build a powerful, stable, and easy to maintain book sales management system. This system can not only achieve basic functions such as displaying, querying, and purchasing books, but also provide advanced functions such as inventory management, sales statistics, and user management, helping book sales enterprises comprehensively improve their management level and market competitiveness.
In summary, the book sales management system has important practical significance and application value. Through the application of this system, we can bring more efficient, accurate, and convenient management methods to the book sales industry, promoting the sustainable development and innovation of the industry.
Keywords:JAVA; SpringBoot; Book sales management system; Vue
目 录
在数字化和信息化的浪潮下,图书销售行业正经历着从传统模式向现代化、智能化管理方式的转变。图书销售管理系统作为这一转变的重要支撑,其研究背景与意义显得尤为突出。
研究背景方面,随着网络技术的飞速发展和电子商务的兴起,传统的图书销售模式已经难以满足现代消费者的多元化需求。消费者对于购书的便捷性、个性化推荐、库存查询等要求日益提高,而图书销售企业也面临着库存管理、销售统计、用户关系维护等多重挑战。因此,开发一套高效、智能的图书销售管理系统成为了行业的迫切需求。
该系统的意义在于,它可以极大地提高图书销售企业的运营效率。通过自动化、智能化的管理方式,系统可以实时处理大量的销售数据,减少人工操作的错误和繁琐,从而提升企业的整体运营水平。同时,该系统能够提升消费者的购物体验。通过个性化的推荐、便捷的购书流程、实时的库存查询等功能,消费者可以享受到更加贴心、高效的服务。此外,该系统还有助于图书销售企业实现精准的市场分析和决策支持。通过对销售数据的深入挖掘和分析,企业可以了解市场需求、消费者行为等信息,为未来的营销策略提供有力支持。
综上所述,图书销售管理系统的研究背景与意义在于应对行业变革和消费者需求的变化,通过技术手段提升企业的运营效率和消费者的购物体验,推动图书销售行业的持续发展和创新。
在国内,随着信息技术的快速发展和图书市场的不断扩大,图书销售管理系统得到了广泛的应用和深入的研究。国内的研究主要集中在系统功能设计与开发、技术应用与创新以及评估与改进等方面。在功能设计与开发上,国内研究者积极探索如何优化馆藏管理、读者服务、文献检索与利用等功能模块,以提高图书馆的效率和服务质量。同时,国内研究者还利用云计算、大数据等新兴技术,为图书管理系统注入了新的活力和功能,提升了系统的综合能力和用户体验。在评估与改进方面,国内研究者通过用户反馈和评价,对已有的图书管理系统进行评估和改进,以提高其性能和稳定性,并进一步推动系统的发展。
在国外,图书管理系统同样也在不断发展和升级。他们注重提高管理效率和用户体验,并不断地拓展应用范围,例如在博物馆、档案馆、文献馆等领域也开始应用。同时,国外的图书管理系统也注重技术应用和创新,不断探索新的技术手段和方法,以提高系统的性能和稳定性。
总的来说,图书销售管理系统在国内外的研究和开发已经比较成熟,未来的发展趋势将更加注重用户体验、智能化和拓展应用范围。
第一章是绪论,本文章的开头部分,对本题目的研究背景和研究意义等一些做文字性的描述。
第二章研究了图书销售管理系统的所采用的开发技术和开发工具。
第三章是系统分析部分,包括系统总体需求描述、功能性角度分析系统需求、非功能性等各个方面分析系统是否可以实现。
第四章是系统设计部分,本文章的重要部分,提供了系统架构的详细设计和一些主要功能模块的设计说明。
第五章是系统的具体实现,介绍系统的各个模块的具体实现。
第六章在前几章的基础上对系统进行测试和运行。
最后对系统进行了认真的总结,以此对未来有一个新的展望。
本系统前端部分基于MVVM模式进行开发,采用B/S模式,后端部分基于Java的springboot框架进行开发。
前端部分:前端框架采用了比较流行的渐进式JavaScript框架Vue.js。使用Vue-Router和Vuex实现动态路由和全局状态管理,Ajax实现前后端通信,Element UI组件库使页面快速成型,项目前端通过栅格布局实现响应式,可适应PC端、平板端、手机端等不同屏幕大小尺寸的完美布局展示。
后端部分:采用springboot作为开发框架,同时集成MyBatis、Redis等相关技术。
MVVM是Model-View-ViewModel的简写。它本质上就是MVC 的改进版。MVVM 就是将其中的View 的状态和行为抽象化,让我们将视图 UI 和业务逻辑分开。当然这些事 ViewModel 已经帮我们做了,它可以取出 Model 的数据同时帮忙处理 View 中由于需要展示内容而涉及的业务逻辑。微软的WPF带来了新的技术体验,如Silverlight、音频、视频、3D、动画……,这导致了软件UI层更加细节化、可定制化。同时,在技术层面,WPF也带来了 诸如Binding、Dependency Property、Routed Events、Command、DataTemplate、ControlTemplate等新特性。MVVM(Model-View-ViewModel)框架的由来便是MVP(Model-View-Presenter)模式与WPF结合的应用方式时发展演变过来的一种新型架构框架。它立足于原有MVP框架并且把WPF的新特性糅合进去,以应对客户日益复杂的需求变化。
科技的进步,给日常带来许多便利:教室的投影器用到了虚拟成像技术,数码相机用到了光电检测技术,比如超市货物进出库的记录需要一个信息仓库。这个信息仓库就是数据库,而这次的图书销售管理系统也需要这项技术的支持。
用MySQL这个软件,是因为它能接受多个使用者访问,而且里面存在Archive等。它会先把数据进行分类,然后分别保存在表里,这样的特别操作就会提高数据管理系统自身的速度,让数据库能被灵活运用。MySQL的代码是公开的,而且允许别人二次编译升级。这个特点能够降低使用者的成本,再搭配合适的软件后形成一个良好的网站系统。虽然它有缺点,但是综合各方面来说,它是使用者的主流运用的对象[8]。
B/S(Browser/Server)比前身架构更为省事的架构。它借助Web server完成数据的传递交流。只需要下载浏览器作为客户端,那么工作就达到“瘦身”效果, 不需要考虑不停装软件的问题。
Spring框架是Java平台上的一种开源应用框架,提供具有控制反转特性的容器。尽管Spring框架自身对编程模型没有限制,但其在Java应用中的频繁使用让它备受青睐,以至于后来让它作为EJB(EnterpriseJavaBeans)模型的补充,甚至是替补。Spring框架为开发提供了一系列的解决方案,比如利用控制反转的核心特性,并通过依赖注入实现控制反转来实现管理对象生命周期容器化,利用面向切面编程进行声明式的事务管理,整合多种持久化技术管理数据访问,提供大量优秀的Web框架方便开发等等。Spring框架具有控制反转(IOC)特性,IOC旨在方便项目维护和测试,它提供了一种通过Java的反射机制对Java对象进行统一的配置和管理的方法。Spring框架利用容器管理对象的生命周期,容器可以通过扫描XML文件或类上特定Java注解来配置对象,开发者可以通过依赖查找或依赖注入来获得对象。Spring框架具有面向切面编程(AOP)框架,SpringAOP框架基于代理模式,同时运行时可配置;AOP框架主要针对模块之间的交叉关注点进行模块化。Spring框架的AOP框架仅提供基本的AOP特性,虽无法与AspectJ框架相比,但通过与AspectJ的集成,也可以满足基本需求。Spring框架下的事务管理、远程访问等功能均可以通过使用SpringAOP技术实现。Spring的事务管理框架为Java平台带来了一种抽象机制,使本地和全局事务以及嵌套事务能够与保存点一起工作,并且几乎可以在Java平台的任何环境中工作。Spring集成多种事务模板,系统可以通过事务模板、XML或Java注解进行事务配置,并且事务框架集成了消息传递和缓存等功能。Spring的数据访问框架解决了开发人员在应用程序中使用数据库时遇到的常见困难。它不仅对Java:JDBC、iBATS/MyBATIs、Hibernate、Java数据对象(JDO)、ApacheOJB和ApacheCayne等所有流行的数据访问框架中提供支持,同时还可以与Spring的事务管理一起使用,为数据访问提供了灵活的抽象。
本次设计基于B/S 模式下,运用Java技术采用的是MySQL数据库和Eclipse实现,总体的可行性共分为以下三个方面。
技术可行性分析是评估采用特定技术栈实现图书销售管理系统的可能性和优势。基于Spring Boot、Vue和MySQL的组合,技术可行性非常高。Spring Boot提供了强大的后端支持,其快速开发、易于部署和高度可扩展的特性使得后端服务的构建变得高效且稳定。Vue作为前端框架,其轻量级、组件化以及响应式数据绑定的特性,使得前端界面的开发变得灵活且易于维护。MySQL作为关系型数据库,其稳定、可靠的性能以及丰富的数据管理功能,为系统提供了坚实的数据支撑。此外,这三种技术都有丰富的社区支持和成熟的生态体系,便于问题解决和后期维护。因此,从技术角度来看,采用Spring Boot、Vue和MySQL的组合来开发图书销售管理系统是完全可行的,并且能够保证系统的稳定性、可扩展性和可维护性。
经济可行性分析是评估图书销售管理系统在投资与回报、运营成本、资源利用等方面的经济效益。基于Spring Boot、Vue和MySQL构建的图书销售管理系统,在经济可行性上具有显著优势。这些技术均为开源,能够大幅减少许可费用和购买成本。同时Spring Boot和Vue的成熟生态以及MySQL的广泛应用,意味着有丰富的社区支持和资源,可以降低学习和维护成本。再者,系统的模块化设计和可扩展性使得未来可以根据业务需求进行灵活调整,避免资源浪费。最后,通过提高图书销售效率、优化库存管理、增强用户体验等方式,该系统有望为图书销售企业带来更高的收益和回报。综上所述,从经济角度来看,采用Spring Boot、Vue和MySQL的图书销售管理系统具有较高的经济可行性,能够为企业带来长远的经济效益。
-
-
- 法律可行性分析
-
法律可行性分析是评估图书销售管理系统在法律法规、隐私保护、知识产权等方面的合规性和安全性。在考虑采用Spring Boot、Vue和MySQL构建图书销售管理系统时,法律可行性同样是一个重要的考量因素。首先,该系统必须遵守相关的法律法规,包括数据保护法、电子商务法等,确保用户数据的合法收集、存储和使用。系统需要实施适当的安全措施,如数据加密、访问控制等,以保护用户信息和交易数据的安全。此外,对于图书内容的版权保护也是至关重要的,系统必须确保销售的图书不侵犯任何知识产权。最后,系统还应提供用户隐私政策,明确告知用户信息的收集、使用和处理方式,并获得用户的明确同意。综上所述,只有在确保遵守法律法规、保障用户隐私和知识产权的前提下,图书销售管理系统在法律上才是可行的。
图书销售管理系统分为两大部分:管理员模块、普通用户模块。
- 管理员管理模块:
登录:提供管理员登录功能,确保只有授权的管理员可以访问系统后台,保障系统安全。
后台首页:展示系统的概览信息和常用功能入口,方便管理员快速导航到所需功能。
系统用户:允许管理员管理系统用户,包括添加新用户、编辑用户信息、重置密码等操作,以确保系统的权限管理和安全性。
图书商城列表: 允许管理员查看和管理图书商城中的图书列表。
图书商城添加: 提供添加新图书到图书商城的功能。
图书分类管理:允许管理员管理图书的分类,包括添加新分类、编辑分类信息、删除分类等操作,以便用户按照分类浏览图书。
订单信息管理:允许管理员查看订单列表,包括订单状态、订单详情等信息,并提供订单状态的更新和管理功能。
入库信息管理:提供对图书入库信息的管理功能,包括记录入库图书的数量、更新库存信息等操作。
系统管理:轮播图管理: 允许管理员管理系统首页的轮播图,包括添加新轮播图、编辑轮播图信息、删除轮播图等操作。
公告信息管理:允许管理员发布、编辑、删除系统公告,以及设置公告显示时间和优先级,确保用户及时了解系统相关信息。
新闻列表: 允许管理员管理系统的新闻资讯,包括添加新闻、编辑新闻内容、删除新闻等操作。
分类列表: 允许管理员管理新闻资讯的分类,方便用户按照分类浏览相关资讯内容。
- 普通用户管理模块:
首页:展示系统的入口,让用户快速导航到所需功能,如公告消息、新闻资讯、图书商城等。
公告消息:提供最新的系统公告和消息,让用户了解系统的更新和重要通知。
新闻资讯:展示最新的新闻资讯,包括图书推荐、行业动态等内容,为用户提供丰富的阅读资源。
图书商城:允许用户浏览和购买图书,包括图书分类、图书详情、下单购买等功能。
我的账户:提供用户个人信息管理功能,包括查看和编辑个人信息、修改密码等操作。
个人首页:查看和修改个人基本信息。
订单信息: 允许用户查看订单状态、订单详情等信息。
收藏: 用户可以收藏感兴趣的图书,方便以后查看或购买。
图书销售管理系统的安全性、可靠性、性能和可扩展性是其重要的考量因素,它们不仅满足了用户对于功能性的要求,还为用户提供了更多的便利。根据表格3-1,我们可以清楚地看到这一点:
表3-1 图书销售管理系统非功能需求表
| 安全性 | 主要指图书销售管理系统数据库的安装,数据库的使用和密码的设定必须合乎规范。 |
| 可靠性 | 可靠性是指图书销售管理系统能够安装用户的指示进行操作,经过测试,可靠性90%以上。 |
| 性能 | 性能是影响图书销售管理系统占据市场的必要条件,所以性能最好要佳才好。 |
| 可扩展性 | 比如数据库预留多个属性,比如接口的使用等确保了系统的非功能性需求。 |
| 易用性 | 用户只要跟着图书销售管理系统的页面展示内容进行操作,就可以了。 |
| 可维护性 | 图书销售管理系统开发的可维护性是非常重要的,经过测试,可维护性没有问题 |
普通用户用例图如下所示。

图3-1普通用户用例图
管理员用例图如下所示。

图3-2 管理员用例图
系统业务流程图,如图所示:

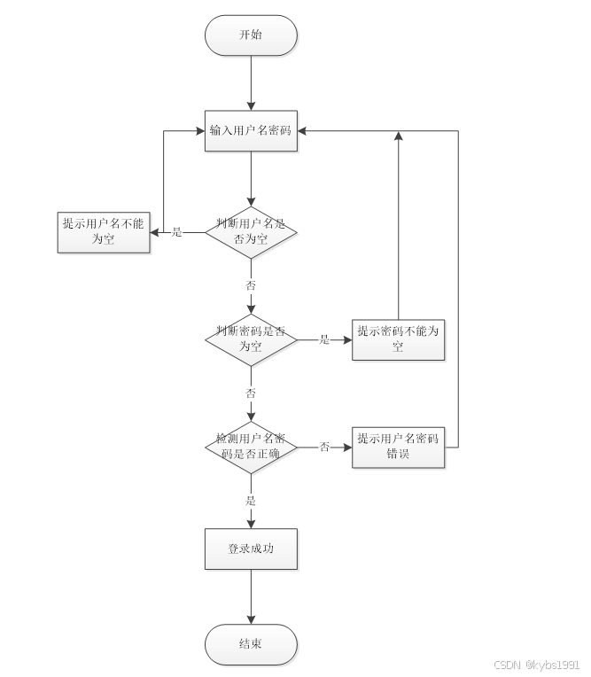
图3-3登录流程图

图3-4添加信息流程图

图3-5注册信息流程图
目前B/S体系的系统主要的数据访问方式是:通过浏览器页面用户可以进入系统,系统可以自动对用户向服务器发送的请求进行处理,处理请求是在系统后台中进行的,用户在浏览器页面上进行相应操作,就能够看到服务端传递的处理结果。图书销售管理系统主要分为视图-模型-控制三层架构设计。在视图层中,主要是操作在服务器端向客户端反馈并显示的数据,在模型层中,主要处理相关的业务逻辑、数据整合等,最后的控制层它介于视图和模型之间,主要是调整两层之间的关系,最终落实数据的传递。
系统架构图如下图所示。
图4-1系统架构图
系统设计的目的是分析系统包括的所有功能结构,为开发人员设计开发和实现系统做好准备工作。经过前期的需求调查、分析和整理之后,确定的总体需求主要包括多个模块,分别是:后台首页、系统用户、图书商城管理、图书分类管理、订单信息管理、入库信息管理、系统管理、公告信息管理、资源管理。系统整体角色分为两个部分,一是普通用户、二是管理员。权限分布也是很明显,管理员可以实现对用户的增加以及删除,是最高权限拥有者。
系统功能结构图如下图所示。
图4-2系统功能结构图
根据前面的数据流程图,结合系统的功能模块设计,设计出符合系统的各信息实体。
系统总体ER图如下图所示。
图4-3系统总体ER图
数据库逻辑结构就是将E-R图在数据库中用具体的字段进行描述。用字段和数据类型描述来使对象特征实体化,最后形成具有一定逻辑关系的数据库表结构。图书销售管理系统所需要的部分数据结构表如下表所示。
| 编号 | 名称 | 数据类型 | 长度 | 小数位 | 允许空值 | 主键 | 默认值 | 说明 |
| 1 | token_id | int | 10 | 0 | N | Y | 临时访问牌ID | |
| 2 | token | varchar | 64 | 0 | Y | N | 临时访问牌 | |
| 3 | info | text | 65535 | 0 | Y | N | ||
| 4 | maxage | int | 10 | 0 | N | N | 2 | 最大寿命:默认2小时 |
| 5 | create_time | timestamp | 19 | 0 | N | N | CURRENT_TIMESTAMP | 创建时间: |
| 6 | update_time | timestamp | 19 | 0 | N | N | CURRENT_TIMESTAMP | 更新时间: |
| 7 | user_id | int | 10 | 0 | N | N | 0 | 用户编号: |
| 编号 | 名称 | 数据类型 | 长度 | 小数位 | 允许空值 | 主键 | 默认值 | 说明 |
| 1 | article_id | mediumint | 8 | 0 | N | Y | 文章id:[0,8388607] | |
| 2 | title | varchar | 125 | 0 | N | Y | 标题:[0,125]用于文章和html的title标签中 | |
| 3 | type | varchar | 64 | 0 | N | N | 0 | 文章分类:[0,1000]用来搜索指定类型的文章 |
| 4 | hits | int | 10 | 0 | N | N | 0 | 点击数:[0,1000000000]访问这篇文章的人次 |
| 5 | praise_len | int | 10 | 0 | N | N | 0 | 点赞数 |
| 6 | create_time | timestamp | 19 | 0 | N | N | CURRENT_TIMESTAMP | 创建时间: |
| 7 | update_time | timestamp | 19 | 0 | N | N | CURRENT_TIMESTAMP | 更新时间: |
| 8 | source | varchar | 255 | 0 | Y | N | 来源:[0,255]文章的出处 | |
| 9 | url | varchar | 255 | 0 | Y | N | 来源地址:[0,255]用于跳转到发布该文章的网站 | |
| 10 | tag | varchar | 255 | 0 | Y | N | 标签:[0,255]用于标注文章所属相关内容,多个标签用空格隔开 | |
| 11 | content | longtext | 2147483647 | 0 | Y | N | 正文:文章的主体内容 | |
| 12 | img | varchar | 255 | 0 | Y | N | 封面图 | |
| 13 | description | text | 65535 | 0 | Y | N | 文章描述 |
| 编号 | 名称 | 数据类型 | 长度 | 小数位 | 允许空值 | 主键 | 默认值 | 说明 |
| 1 | type_id | smallint | 5 | 0 | N | Y | 分类ID:[0,10000] | |
| 2 | display | smallint | 5 | 0 | N | N | 100 | 显示顺序:[0,1000]决定分类显示的先后顺序 |
| 3 | name | varchar | 16 | 0 | N | N | 分类名称:[2,16] | |
| 4 | father_id | smallint | 5 | 0 | N | N | 0 | 上级分类ID:[0,32767] |
| 5 | description | varchar | 255 | 0 | Y | N | 描述:[0,255]描述该分类的作用 | |
| 6 | icon | text | 65535 | 0 | Y | N | 分类图标: | |
| 7 | url | varchar | 255 | 0 | Y | N | 外链地址:[0,255]如果该分类是跳转到其他网站的情况下,就在该URL上设置 | |
| 8 | create_time | timestamp | 19 | 0 | N | N | CURRENT_TIMESTAMP | 创建时间: |
| 9 | update_time | timestamp | 19 | 0 | N | N | CURRENT_TIMESTAMP | 更新时间: |
| 编号 | 名称 | 数据类型 | 长度 | 小数位 | 允许空值 | 主键 | 默认值 | 说明 |
| 1 | auth_id | int | 10 | 0 | N | Y | 授权ID: | |
| 2 | user_group | varchar | 64 | 0 | Y | N | 用户组: | |
| 3 | mod_name | varchar | 64 | 0 | Y | N | 模块名: | |
| 4 | table_name | varchar | 64 | 0 | Y | N | 表名: | |
| 5 | page_title | varchar | 255 | 0 | Y | N | 页面标题: | |
| 6 | path | varchar | 255 | 0 | Y | N | 路由路径: | |
| 7 | position | varchar | 32 | 0 | Y | N | 位置: | |
| 8 | mode | varchar | 32 | 0 | N | N | _blank | 跳转方式: |
| 9 | add | tinyint | 3 | 0 | N | N | 1 | 是否可增加: |
| 10 | del | tinyint | 3 | 0 | N | N | 1 | 是否可删除: |
| 11 | set | tinyint | 3 | 0 | N | N | 1 | 是否可修改: |
| 12 | get | tinyint | 3 | 0 | N | N | 1 | 是否可查看: |
| 13 | field_add | text | 65535 | 0 | Y | N | 添加字段: | |
| 14 | field_set | text | 65535 | 0 | Y | N | 修改字段: | |
| 15 | field_get | text | 65535 | 0 | Y | N | 查询字段: | |
| 16 | table_nav_name | varchar | 500 | 0 | Y | N | 跨表导航名称: | |
| 17 | table_nav | varchar | 500 | 0 | Y | N | 跨表导航: | |
| 18 | option | text | 65535 | 0 | Y | N | 配置: | |
| 19 | create_time | timestamp | 19 | 0 | N | N | CURRENT_TIMESTAMP | 创建时间: |
| 20 | update_time | timestamp | 19 | 0 | N | N | CURRENT_TIMESTAMP | 更新时间: |
| 编号 | 名称 | 数据类型 | 长度 | 小数位 | 允许空值 | 主键 | 默认值 | 说明 |
| 1 | book_classification_id | int | 10 | 0 | N | Y | 图书分类ID | |
| 2 | book_types | varchar | 64 | 0 | Y | N | 图书类型 | |
| 3 | create_time | datetime | 19 | 0 | N | N | CURRENT_TIMESTAMP | 创建时间 |
| 4 | update_time | timestamp | 19 | 0 | N | N | CURRENT_TIMESTAMP | 更新时间 |
| 编号 | 名称 | 数据类型 | 长度 | 小数位 | 允许空值 | 主键 | 默认值 | 说明 |
| 1 | book_mall_id | int | 10 | 0 | N | Y | 图书商城ID | |
| 2 | book_number | varchar | 64 | 0 | Y | N | 图书编号 | |
| 3 | book_name | varchar | 64 | 0 | Y | N | 图书名称 | |
| 4 | book_types | varchar | 64 | 0 | Y | N | 图书类型 | |
| 5 | cover_photo | varchar | 255 | 0 | Y | N | 封面图片 | |
| 6 | number_of_books | int | 10 | 0 | Y | N | 0 | 图书数量 |
| 7 | book_specifications | varchar | 64 | 0 | Y | N | 图书规格 | |
| 8 | book_prices | int | 10 | 0 | Y | N | 0 | 图书价格 |
| 9 | book_introduction | longtext | 2147483647 | 0 | Y | N | 图书简介 | |
| 10 | hits | int | 10 | 0 | N | N | 0 | 点击数 |
| 11 | praise_len | int | 10 | 0 | N | N | 0 | 点赞数 |
| 12 | create_time | datetime | 19 | 0 | N | N | CURRENT_TIMESTAMP | 创建时间 |
| 13 | update_time | timestamp | 19 | 0 | N | N | CURRENT_TIMESTAMP | 更新时间 |
| 编号 | 名称 | 数据类型 | 长度 | 小数位 | 允许空值 | 主键 | 默认值 | 说明 |
| 1 | collect_id | int | 10 | 0 | N | Y | 收藏ID: | |
| 2 | user_id | int | 10 | 0 | N | N | 0 | 收藏人ID: |
| 3 | source_table | varchar | 255 | 0 | Y | N | 来源表: | |
| 4 | source_field | varchar | 255 | 0 | Y | N | 来源字段: | |
| 5 | source_id | int | 10 | 0 | N | N | 0 | 来源ID: |
| 6 | title | varchar | 255 | 0 | Y | N | 标题: | |
| 7 | img | varchar | 255 | 0 | Y | N | 封面: | |
| 8 | create_time | timestamp | 19 | 0 | N | N | CURRENT_TIMESTAMP | 创建时间: |
| 9 | update_time | timestamp | 19 | 0 | N | N | CURRENT_TIMESTAMP | 更新时间: |
| 编号 | 名称 | 数据类型 | 长度 | 小数位 | 允许空值 | 主键 | 默认值 | 说明 |
| 1 | comment_id | int | 10 | 0 | N | Y | 评论ID: | |
| 2 | user_id | int | 10 | 0 | N | N | 0 | 评论人ID: |
| 3 | reply_to_id | int | 10 | 0 | N | N | 0 | 回复评论ID:空为0 |
| 4 | content | longtext | 2147483647 | 0 | Y | N | 内容: | |
| 5 | nickname | varchar | 255 | 0 | Y | N | 昵称: | |
| 6 | avatar | varchar | 255 | 0 | Y | N | 头像地址:[0,255] | |
| 7 | create_time | timestamp | 19 | 0 | N | N | CURRENT_TIMESTAMP | 创建时间: |
| 8 | update_time | timestamp | 19 | 0 | N | N | CURRENT_TIMESTAMP | 更新时间: |
| 9 | source_table | varchar | 255 | 0 | Y | N | 来源表: | |
| 10 | source_field | varchar | 255 | 0 | Y | N | 来源字段: | |
| 11 | source_id | int | 10 | 0 | N | N | 0 | 来源ID: |
| 编号 | 名称 | 数据类型 | 长度 | 小数位 | 允许空值 | 主键 | 默认值 | 说明 |
| 1 | hits_id | int | 10 | 0 | N | Y | 点赞ID: | |
| 2 | user_id | int | 10 | 0 | N | N | 0 | 点赞人: |
| 3 | create_time | timestamp | 19 | 0 | N | N | CURRENT_TIMESTAMP | 创建时间: |
| 4 | update_time | timestamp | 19 | 0 | N | N | CURRENT_TIMESTAMP | 更新时间: |
| 5 | source_table | varchar | 255 | 0 | Y | N | 来源表: | |
| 6 | source_field | varchar | 255 | 0 | Y | N | 来源字段: | |
| 7 | source_id | int | 10 | 0 | N | N | 0 | 来源ID: |
| 编号 | 名称 | 数据类型 | 长度 | 小数位 | 允许空值 | 主键 | 默认值 | 说明 |
| 1 | notice_id | mediumint | 8 | 0 | N | Y | 公告id: | |
| 2 | title | varchar | 125 | 0 | N | N | 标题: | |
| 3 | content | longtext | 2147483647 | 0 | Y | N | 正文: | |
| 4 | create_time | timestamp | 19 | 0 | N | N | CURRENT_TIMESTAMP | 创建时间: |
| 5 | update_time | timestamp | 19 | 0 | N | N | CURRENT_TIMESTAMP | 更新时间: |
| 编号 | 名称 | 数据类型 | 长度 | 小数位 | 允许空值 | 主键 | 默认值 | 说明 |
| 1 | order_information_id | int | 10 | 0 | N | Y | 订单信息ID | |
| 2 | book_number | varchar | 64 | 0 | Y | N | 图书编号 | |
| 3 | book_name | varchar | 64 | 0 | Y | N | 图书名称 | |
| 4 | book_types | varchar | 64 | 0 | Y | N | 图书类型 | |
| 5 | book_prices | varchar | 64 | 0 | Y | N | 图书价格 | |
| 6 | regular_users | int | 10 | 0 | Y | N | 0 | 普通用户 |
| 7 | user_name | varchar | 64 | 0 | Y | N | 用户姓名 | |
| 8 | contact_information | varchar | 64 | 0 | Y | N | 联系方式 | |
| 9 | receiving_address | varchar | 64 | 0 | Y | N | 收货地址 | |
| 10 | purchase_quantity | int | 10 | 0 | Y | N | 0 | 购买数量 |
| 11 | total_amount | varchar | 64 | 0 | Y | N | 合计金额 | |
| 12 | purchase_notes | text | 65535 | 0 | Y | N | 购买备注 | |
| 13 | order_status | varchar | 64 | 0 | Y | N | 订单状态 | |
| 14 | pay_state | varchar | 16 | 0 | N | N | 未支付 | 支付状态 |
| 15 | pay_type | varchar | 16 | 0 | Y | N | 支付类型: 微信、支付宝、网银 | |
| 16 | create_time | datetime | 19 | 0 | N | N | CURRENT_TIMESTAMP | 创建时间 |
| 17 | update_time | timestamp | 19 | 0 | N | N | CURRENT_TIMESTAMP | 更新时间 |
| 编号 | 名称 | 数据类型 | 长度 | 小数位 | 允许空值 | 主键 | 默认值 | 说明 |
| 1 | praise_id | int | 10 | 0 | N | Y | 点赞ID: | |
| 2 | user_id | int | 10 | 0 | N | N | 0 | 点赞人: |
| 3 | create_time | timestamp | 19 | 0 | N | N | CURRENT_TIMESTAMP | 创建时间: |
| 4 | update_time | timestamp | 19 | 0 | N | N | CURRENT_TIMESTAMP | 更新时间: |
| 5 | source_table | varchar | 255 | 0 | Y | N | 来源表: | |
| 6 | source_field | varchar | 255 | 0 | Y | N | 来源字段: | |
| 7 | source_id | int | 10 | 0 | N | N | 0 | 来源ID: |
| 8 | status | bit | 1 | 0 | N | N | 1 | 点赞状态:1为点赞,0已取消 |
| 编号 | 名称 | 数据类型 | 长度 | 小数位 | 允许空值 | 主键 | 默认值 | 说明 |
| 1 | regular_users_id | int | 10 | 0 | N | Y | 普通用户ID | |
| 2 | user_name | varchar | 64 | 0 | Y | N | 用户姓名 | |
| 3 | user_age | varchar | 64 | 0 | Y | N | 用户年龄 | |
| 4 | user_gender | varchar | 64 | 0 | Y | N | 用户性别 | |
| 5 | examine_state | varchar | 16 | 0 | N | N | 已通过 | 审核状态 |
| 6 | user_id | int | 10 | 0 | N | N | 0 | 用户ID |
| 7 | create_time | datetime | 19 | 0 | N | N | CURRENT_TIMESTAMP | 创建时间 |
| 8 | update_time | timestamp | 19 | 0 | N | N | CURRENT_TIMESTAMP | 更新时间 |
| 编号 | 名称 | 数据类型 | 长度 | 小数位 | 允许空值 | 主键 | 默认值 | 说明 |
| 1 | slides_id | int | 10 | 0 | N | Y | 轮播图ID: | |
| 2 | title | varchar | 64 | 0 | Y | N | 标题: | |
| 3 | content | varchar | 255 | 0 | Y | N | 内容: | |
| 4 | url | varchar | 255 | 0 | Y | N | 链接: | |
| 5 | img | varchar | 255 | 0 | Y | N | 轮播图: | |
| 6 | hits | int | 10 | 0 | N | N | 0 | 点击量: |
| 7 | create_time | timestamp | 19 | 0 | N | N | CURRENT_TIMESTAMP | 创建时间: |
| 8 | update_time | timestamp | 19 | 0 | N | N | CURRENT_TIMESTAMP | 更新时间: |
| 编号 | 名称 | 数据类型 | 长度 | 小数位 | 允许空值 | 主键 | 默认值 | 说明 |
| 1 | storage_information_id | int | 10 | 0 | N | Y | 入库信息ID | |
| 2 | book_number | varchar | 64 | 0 | Y | N | 图书编号 | |
| 3 | book_name | varchar | 64 | 0 | Y | N | 图书名称 | |
| 4 | inventory_quantity | int | 10 | 0 | Y | N | 0 | 入库数量 |
| 5 | storage_date | date | 10 | 0 | Y | N | 入库日期 | |
| 6 | storage_remarks | text | 65535 | 0 | Y | N | 入库备注 | |
| 7 | create_time | datetime | 19 | 0 | N | N | CURRENT_TIMESTAMP | 创建时间 |
| 8 | update_time | timestamp | 19 | 0 | N | N | CURRENT_TIMESTAMP | 更新时间 |
| 编号 | 名称 | 数据类型 | 长度 | 小数位 | 允许空值 | 主键 | 默认值 | 说明 |
| 1 | upload_id | int | 10 | 0 | N | Y | 上传ID | |
| 2 | name | varchar | 64 | 0 | Y | N | 文件名 | |
| 3 | path | varchar | 255 | 0 | Y | N | 访问路径 | |
| 4 | file | varchar | 255 | 0 | Y | N | 文件路径 | |
| 5 | display | varchar | 255 | 0 | Y | N | 显示顺序 | |
| 6 | father_id | int | 10 | 0 | Y | N | 0 | 父级ID |
| 7 | dir | varchar | 255 | 0 | Y | N | 文件夹 | |
| 8 | type | varchar | 32 | 0 | Y | N | 文件类型 |
| 编号 | 名称 | 数据类型 | 长度 | 小数位 | 允许空值 | 主键 | 默认值 | 说明 |
| 1 | user_id | mediumint | 8 | 0 | N | Y | 用户ID:[0,8388607]用户获取其他与用户相关的数据 | |
| 2 | state | smallint | 5 | 0 | N | N | 1 | 账户状态:[0,10](1可用|2异常|3已冻结|4已注销) |
| 3 | user_group | varchar | 32 | 0 | Y | N | 所在用户组:[0,32767]决定用户身份和权限 | |
| 4 | login_time | timestamp | 19 | 0 | N | N | CURRENT_TIMESTAMP | 上次登录时间: |
| 5 | phone | varchar | 11 | 0 | Y | N | 手机号码:[0,11]用户的手机号码,用于找回密码时或登录时 | |
| 6 | phone_state | smallint | 5 | 0 | N | N | 0 | 手机认证:[0,1](0未认证|1审核中|2已认证) |
| 7 | username | varchar | 16 | 0 | N | N | 用户名:[0,16]用户登录时所用的账户名称 | |
| 8 | nickname | varchar | 16 | 0 | Y | N | 昵称:[0,16] | |
| 9 | password | varchar | 64 | 0 | N | N | 密码:[0,32]用户登录所需的密码,由6-16位数字或英文组成 | |
| 10 | | varchar | 64 | 0 | Y | N | 邮箱:[0,64]用户的邮箱,用于找回密码时或登录时 | |
| 11 | email_state | smallint | 5 | 0 | N | N | 0 | 邮箱认证:[0,1](0未认证|1审核中|2已认证) |
| 12 | avatar | varchar | 255 | 0 | Y | N | 头像地址:[0,255] | |
| 13 | open_id | varchar | 255 | 0 | Y | N | 针对获取用户信息字段 | |
| 14 | create_time | timestamp | 19 | 0 | N | N | CURRENT_TIMESTAMP | 创建时间: |
| 15 | vip_level | varchar | 255 | 0 | Y | N | 会员等级 | |
| 16 | vip_discount | double | 11 | 2 | Y | N | 0.00 | 会员折扣 |
| 编号 | 名称 | 数据类型 | 长度 | 小数位 | 允许空值 | 主键 | 默认值 | 说明 |
| 1 | group_id | mediumint | 8 | 0 | N | Y | 用户组ID:[0,8388607] | |
| 2 | display | smallint | 5 | 0 | N | N | 100 | 显示顺序:[0,1000] |
| 3 | name | varchar | 16 | 0 | N | N | 名称:[0,16] | |
| 4 | description | varchar | 255 | 0 | Y | N | 描述:[0,255]描述该用户组的特点或权限范围 | |
| 5 | source_table | varchar | 255 | 0 | Y | N | 来源表: | |
| 6 | source_field | varchar | 255 | 0 | Y | N | 来源字段: | |
| 7 | source_id | int | 10 | 0 | N | N | 0 | 来源ID: |
| 8 | register | smallint | 5 | 0 | Y | N | 0 | 注册位置: |
| 9 | create_time | timestamp | 19 | 0 | N | N | CURRENT_TIMESTAMP | 创建时间: |
| 10 | update_time | timestamp | 19 | 0 | N | N | CURRENT_TIMESTAMP | 更新时间: |
5.1.1 前台首页界面
进入系统首页,系统以上中下的布局进行展示,首先映入眼帘的是系统的导航栏,下面是轮播图,最下面是公告消息,其主界面展示如下图5-1所示。
图5-1 前台首页界面图
用户注册:当会员用户想要进入系统中对信息进行查看的时候,就必须要登录到系统当中,要是新的用户没有系统的账号的话,点击“注册”按钮,就会进入到新用户注册这个界面上,用户输入对应的账号(必须填写)+密码(必须填写)+确认密码(必须填写,而且要与密码一直)+昵称+邮箱+性别+联系电话+选择用户身份等,然后点击“注册”,系统在用户这一数据库中会查询账号是不是存在,两次密码是不是一样,都填写正确就会注册成功,然后再进行登录,如果是之前已经注册过的用户很长时间没有使用,忘记密码,也可以点击“忘记密码”进行找回。用户注册界面如下图5-2所示。
图5-2 用户注册界面图
注册代码如下:
public String encryption(String plainText) {
String re_md5 = new String();
try {
MessageDigest md = MessageDigest.getInstance("MD5");
md.update(plainText.getBytes());
byte b[] = md.digest();
int i;
StringBuffer buf = new StringBuffer("");
for (int offset = 0; offset < b.length; offset++) {
i = b[offset];
if (i < 0)
i += 256;
if (i < 16)
buf.append("0");
buf.append(Integer.toHexString(i));
}
re_md5 = buf.toString();
} catch (Exception e) {
e.printStackTrace();
}
return re_md5;
}
5.1.3 用户登录界面
系统中的前台上注册后的用户是可以通过自己的账户名和密码进行登录的,当用户输入完整的自己的账户名、密码和验证码等信息并点击“登录”按钮后,将会首先验证输入的有没有空数据,再次验证输入的账户名+密码和数据库中当前保存的用户信息是否一致,只有在一致后将会登录成功并自动跳转到系统的首页中;否则将会提示相应错误信息。用户登录界面如下图5-3所示。
图5-3普通用户登录界面图
登录代码如下:
/**
* 登录
* @param data
* @param httpServletRequest
* @return
*/
@PostMapping("login")
public Map<String, Object> login(@RequestBody Map<String, String> data, HttpServletRequest httpServletRequest) {
log.info("[执行登录接口]");
String username = data.get("username");
String email = data.get("email");
String phone = data.get("phone");
String password = data.get("password");
List resultList = null;
Map<String, String> map = new HashMap<>();
if(username != null && "".equals(username) == false){
map.put("username", username);
resultList = service.selectBaseList(service.select(map, new HashMap<>()));
}
else if(email != null && "".equals(email) == false){
map.put("email", email);
resultList = service.selectBaseList(service.select(map, new HashMap<>()));
}
else if(phone != null && "".equals(phone) == false){
map.put("phone", phone);
resultList = service.selectBaseList(service.select(map, new HashMap<>()));
}else{
return error(30000, "账号或密码不能为空");
}
if (resultList == null || password == null) {
return error(30000, "账号或密码不能为空");
}
//判断是否有这个用户
if (resultList.size()<=0){
return error(30000,"用户不存在");
}
User byUsername = (User) resultList.get(0);
Map<String, String> groupMap = new HashMap<>();
groupMap.put("name",byUsername.getUserGroup());
List groupList = userGroupService.selectBaseList(userGroupService.select(groupMap, new HashMap<>()));
if (groupList.size()<1){
return error(30000,"用户组不存在");
}
UserGroup userGroup = (UserGroup) groupList.get(0);
//查询用户审核状态
if (!StringUtils.isEmpty(userGroup.getSourceTable())){
String res = service.selectExamineState(userGroup.getSourceTable(),byUsername.getUserId());
if (res==null){
return error(30000,"用户不存在");
}
if (!res.equals("已通过")){
return error(30000,"该用户审核未通过");
}
}
//查询用户状态
if (byUsername.getState()!=1){
return error(30000,"用户非可用状态,不能登录");
}
String md5password = service.encryption(password);
if (byUsername.getPassword().equals(md5password)) {
// 存储Token到数据库
AccessToken accessToken = new AccessToken();
accessToken.setToken(UUID.randomUUID().toString().replaceAll("-", ""));
accessToken.setUser_id(byUsername.getUserId());
Duration duration = Duration.ofSeconds(7200L);
redisTemplate.opsForValue().set(accessToken.getToken(), accessToken,duration);
// 返回用户信息
JSONObject user = JSONObject.parseObject(JSONObject.toJSONString(byUsername));
user.put("token", accessToken.getToken());
JSONObject ret = new JSONObject();
ret.put("obj",user);
return success(ret);
} else {
return error(30000, "账号或密码不正确");
}
}
5.1.4密码修改界面
用户使用该系统注册完成后,用户对登录密码有修改需求时,系统也可以提供用户修改密码权限。系统中所有的操作者能够变更自己的密码信息,执行该功能首先必须要登入系统,然后选择密码变更选项以后在给定的文本框中填写初始密码和新密码来完成修改密码的操作。在填写的时候,假如两次密码填写存在差异,那么此次密码变更操作失败。密码修改界面如下图5-4所示。
图5-4密码修改界面图
修改密码关键代码如下:
/**
* 修改密码
* @param data
* @param request
* @return
*/
@PostMapping("change_password")
public Map<String, Object> change_password(@RequestBody Map<String, String> data, HttpServletRequest request){
// 根据Token获取UserId
String token = request.getHeader("x-auth-token");
Integer userId = tokenGetUserId(token);
// 根据UserId和旧密码获取用户
Map<String, String> query = new HashMap<>();
String o_password = data.get("o_password");
query.put("user_id" ,String.valueOf(userId));
query.put("password" ,service.encryption(o_password));
int count = service.selectBaseCount(service.count(query, service.readConfig(request)));
if(count > 0){
// 修改密码
Map<String,Object> form = new HashMap<>();
form.put("password",service.encryption(data.get("password")));
service.update(query,service.readConfig(request),form);
return success(1);
}
return error(10000,"密码修改失败!");
}
5.1.5 新闻资讯界面
当用户点击“新闻资讯”这一菜单按钮,会显示管理员在后台发布的所有的新闻信息,支持通过关键词对新闻资讯进行搜索,选择需要的资讯信息点击可以进入到资讯信息详细的介绍界面,同时可以进行点赞、收藏和评论等操作,新闻资讯界面如下图5-5所示。
图5-5新闻资讯界面图
用户可以浏览和购买图书,包括图书名称、图书类型、图书价格、图书详情等、可以下单购买、点赞和收藏。图书商城界面如下图5-6所示。
图5-6图书商城界面图
-
- 管理员功能模块的实现
5.2.1 管理员登录界面
管理员进入到系统登录界面,需要填写正确的登录名、密码、验证码等信息输入准确无误后登录进入到系统操作界面。管理员的账号是在数据表表中直接设置生成的,不需要进行注册;修改密码:管理员可以随时修改自己进入系统的登录密码,以保证系统的安全性。管理员登录界面如下图5-7所示。
图5-7管理员登录界面图
管理员可以查看后台首页、系统用户、图书商城管理(图书商城列表、图书商城添加)、图书分类管理、订单信息管理、入库信息管理、系统管理、公告信息管理、资源管理等,并且可以根据需要进行相应的操作,管理员功能界面如下图5-8所示。
图5-8管理员功能界面图
管理员可以对系统中所有的用户角色进行管控,包含了管理员、普通用户这两种角色,如果需要添加新的用户,点击页面中的“添加”按钮根据提示输入上用户信息,点击“提交”以后在对应的用户界面就可以查看到了,可以点击用户后面的“删除”按钮直接删除某一用户。系统用户管理界面如下图5-9所示。
图5-9系统用户管理界面图
5.2.4图书分类管理界面
允许管理员管理图书的分类,包括添加新分类、编辑分类信息、删除分类等操作,以便用户按照分类浏览图书。图书分类管理界面如下图5-10所示。
图5-10图书分类界面图
允许管理员查看订单列表,包括订单状态、购买数量、支付情况、合计金额、订单详情等信息,并提供订单状态的更新和管理功能。订单信息界面如下图5-11所示。
图5-11订单信息管理界面图
管理员可以对系统前台展示的轮播图进行增删改查,方便用户进行查看。轮播图管理界面如下图5-12所示。
图5-12轮播图管理界面图
轮播图添加代码:
@PostMapping("/add")
@Transactional
public Map<String, Object> add(HttpServletRequest request) throws IOException {
service.insert(service.readBody(request.getReader()));
return success(1);
}
public Map<String, Object> addMap(Map<String,Object> map){
service.insert(map);
return success(1);
}
点击“公告消息管理”这个菜单,可以查看到系统中所有添加的系统公告,支持通过标题对系统公告进行查询,添加、删除等操作。公告消息界面如下图5-10所示。
图5-13公告消息管理界面图
测试存在于软件开发进程中的最后一个阶段,它可以保证一个软件的开发质量是否符合设计者的初衷,也为程序的正式上线做了最后一道质量检测的工序。软件测试主要是控制各种条件、包括软件输出方式,使用模式和运行环境等,来评估一个系统或应用是否符合设计标准。在软件测试过程中,我们一般刻意的去制造错误和极端条件,不能仅依照正常模式允许,而是多去尝试那些意外的情况。
系统测试包括:用户登录功能测试、新闻资讯查看测试、发布公告消息、新闻资讯搜索、密码修改功能测试,如表6-1、6-2、6-3、6-4、6-5所示:
表6-1 用户登录功能测试表
| 用例名称 | 用户登录系统 |
| 目的 | 测试用户通过正确的用户名和密码可否登录功能 |
| 前提 | 未登录的情况下 |
| 测试流程 | 1) 进入登录页面 2) 输入正确的用户名和密码 |
| 预期结果 | 用户名和密码正确的时候,跳转到登录成功界面,反之则显示错误信息,提示重新输入 |
| 实际结果 | 实际结果与预期结果一致 |
新闻资讯查看功能测试:
表6-2 新闻资讯查看功能测试表
| 用例名称 | 新闻资讯查看 |
| 目的 | 测试新闻资讯查看功能 |
| 前提 | 用户登录 |
| 测试流程 | 点击新闻资讯列表 |
| 预期结果 | 可以查看到所有新闻资讯 |
| 实际结果 | 实际结果与预期结果一致 |
管理员发布公告消息界面测试:
表6-3 管理员发布公告消息界面测试表
| 用例名称 | 公告消息发布测试用例 |
| 目的 | 测试公告消息发布功能 |
| 前提 | 用户正常登录情况下 |
| 测试流程 | 1)点击公告管理,然后点击发布添加后并填写信息。 2)点击进行提交。 |
| 预期结果 | 提交以后,页面首页会显示新的公告消息 |
| 实际结果 | 实际结果与预期结果一致 |
新闻资讯搜索功能测试:
表6-4新闻资讯搜索功能测试表
| 用例名称 | 新闻资讯搜索测试 |
| 目的 | 测试新闻资讯搜索功能 |
| 前提 | 无 |
| 测试流程 | 1)在搜索框填入搜索关键字。 2)点击搜索按钮。 |
| 预期结果 | 页面显示包含有搜索关键字的新闻资讯 |
| 实际结果 | 实际结果与预期结果一致 |
密码修改功能测试:
表6-5 密码修改功能测试表
| 用例名称 | 密码修改测试用例 |
| 目的 | 测试管理员密码修改功能 |
| 前提 | 管理员用户正常登录情况下 |
| 测试流程 | 1)管理员密码修改并完成填写。 2)点击进行提交。 |
| 预期结果 | 使用新的密码可以登录 |
| 实际结果 | 实际结果与预期结果一致 |
经过对图书销售管理系统的测试,我们已经完成了5大模块的检测,包括用户登录功能测试、新闻资讯查看测试、发布公告消息、新闻资讯搜索、密码修改功能测试,这些功能为后续的推广运营提供了强有力的技术支持。
通过图书销售管理系统的开发,本人巩固了之前学过的知识,如今将平时所学到的知识融合在设计中,在设计过程中,做了很多的准备,首先,在数据库系统的设计过程中,尤其是在数据库的工作原理、工作特点,对其深刻的讨论,与此同时,对于小型站点来说,最好服务器的选择,其次,利用所学的知识点分析所做的系统,并在此基础上设计。
目前本系统已经上线,正在试运行阶段,用户反馈良好,基本完成用户所需,试运行过程中没有出现阻断性问题,有一些不足和小问题也及时予以修正,系统上线后,为了保证数据的安全性,对系统进行了备份操作,系统备份是每两个月备份一次,数据库备份为每周备份一次,系统部署在租赁的云平台服务器中。
本次系统上线成功后,得到了用户的高度认可,但是在功能上和性能上还需做进一步的研究处理,使其有更高的性能和更好的用户体验。
系统在以后的升级过程中,需要解决一系列用户所提出的问题,例如打印过程中如何避免浏览器的兼容性问题,大量用户访问时,如何保持较高的响应速度,在系统今后的升级过程中将着重解决这些安全性问题。
参考文献
[1]雷欣,马宏琳,郑霖,等.基于SpringBoot的域名信息系统设计与实现[J].电脑知识与技术,2024,20(05):44-47.DOI:10.14004/j.cnki.ckt.2024.0188.
[2]Hakim S M ,Gunadi,Rahayu A , et al.Sequence analysis of the Spike, RNA-dependent RNA polymerase, and protease genes reveals a distinct evolutionary pattern of SARS-CoV-2 variants circulating in Yogyakarta and Central Java provinces, Indonesia.[J].Virus genes,2024,
[3]Rudi K ,Aji W ,Ary W , et al.Out of the woods: social capital and smallholder dairy farmers' access to state-owned agroforestry lands in West Java, Indonesia[J].Agroforestry Systems,2024,98(3):637-652.
[4]Juwana I ,Sodri A ,Muttil N , et al.Potential Pollution Loads of the Cikembar Sub-Watershed to the Cicatih River, West Java, Indonesia[J].Water,2024,16(2):
[5]白茹鑫.基于SpringBoot+SSM框架的企业安全培训管理系统设计与实现[J].现代信息科技,2024,8(01):44-49.DOI:10.19850/j.cnki.2096-4706.2024.01.009.
[6]石雨昕,关家兴,邹博华,等.基于SpringBoot微服务架构设计与实现实验室开放课题管理系统[J].实验室检测,2024,2(01):101-106.
[7]Astuti Y ,Paek C S ,Meemon N , et al.Analysis of traditional feeding practices and stunting among children aged 6 to 59 months in Karanganyar District, Central Java Province, Indonesia.[J].BMC pediatrics,2024,24(1):29-29.
[8]Discover A New Minecraft Experience: Join Incremental Prisons Java 1.20 Server[J].M2 Presswire,2024,
[9]张雷雨,单田清,梁霄.基于SpringBoot的水利地理信息系统设计与实现[J].连云港职业技术学院学报,2023,36(04):1-7.DOI:10.19858/j.cnki.1009-4318.2023.04.003.
[10]吴伶琳.基于SpringBoot的客户关系管理系统设计与实现[J].无线互联科技,2023,20(24):60-62.
[11]崔臣,宋甲旭.基于SpringBoot的校园二手交易系统研究[J].无线互联科技,2023,20(18):31-34.
[12]林圣峰,姚锦江,林涛,等.基于SpringBoot的高校实验室管理系统设计[J].无线互联科技,2023,20(18):80-82.
[13]杨志俊,侯江华.基于SpringBoot的智慧养老系统设计[J].无线互联科技,2023,20(17):87-89.
[14]司德泉.新媒体时代图书的引流与销售[J].全媒体探索,2022,(08):121-122.
[15]陈超.基于SSM的网上书城销售管理系统的设计与实现[D].北京邮电大学,2022.DOI:10.26969/d.cnki.gbydu.2022.001459.
[16]赵龙,王风硕.基于Vue的图书销售系统设计与实现[J].电脑知识与技术,2021,17(36):81-82+85.DOI:10.14004/j.cnki.ckt.2021.3570.
[17]余任杰,王风硕.基于Node.js的网上图书销售系统设计[J].电脑知识与技术,2021,17(34):83-84+92.DOI:10.14004/j.cnki.ckt.2021.3680.
[18]倪楚乔.基于ASP.NET的网上图书销售系统[J].信息与电脑(理论版),2021,33(12):99-102.
[19]彭承辉,郑光勇.基于SSM框架的图书在线销售系统的研究和设计[J].教育现代化,2019,6(71):177-181.DOI:10.16541/j.cnki.2095-8420.2019.71.059.
[20]余兵兵.关联规则挖掘在图书销售系统设计中的使用[J].科学技术创新,2019,(01):86-87.
致 谢
至此论文结束,感谢您的阅读。首先,我要感谢我的父母对我的支持与理解,在两年的本科学习生活中,倾其所能的爱护我,使我能够心无旁骛,全心全意的投入到学习中;不断鼓励我,让我能够拥有不断前进的动力。其次还要感谢我的导师,感谢在这段时间给予我有效的建议,以至于我的毕设有了整体的设计思路,尽管我在实习期间很忙,论文撰写总是停停改改,但是导师依然十分负责,时不时的询问我的任务进展情况,跟进我的论文进度。在老师的帮助下,我逐步完成了自己的论文和程序,从导师身上也学习到很多知识,和经验,这些知识和经验令我受益匪浅。
此外,还要感谢我的同学,热心的解答了我在程序上遇到的问题,是他们在我编写程序过程中给了我很多的启发和感想,也帮助了我对于程序的调试和检测,让我受益良多。在这两年的时间里,我学会了许多专业的知识,还有老师们的谆谆教诲和同学们的帮助使我不断进步,能够做得更好;我也会不断给自己充电,不断突破,成为更好的自己。
最后向所有关心我、帮助我的老师及同学们表示衷心的感谢!
请关注点赞+私信博主,免费领取项目源码

被折叠的 条评论
为什么被折叠?



