基于springboot网上书店管理系统
摘 要
网上书店管理系统采用B/S结构、java开发语言、以及Mysql数据库等技术。系统主要分为管理员和用户两部分,管理员管理主要功能包括:首页、站点管理(轮播图)用户管理(管理员、注册用户)内容管理(好书推荐、推荐分类)更多管理(图书分类、图书信息、图书购买、采购入库、商品售后)等。用户个人后台管理主要包括:首页、图书购买、商品售后等功能,基本上实现了整个网上书店管理系统信息管理的过程。本系统在一般网上书店管理系统的基础上增加了首页推送最新信息的功能方便用户快速浏览,是一个高效的、动态的、交互友好的网上书店管理系统。
关键词 :网上书店管理系统;java技术;Mysql数据库;B/S结构
Online bookstore management system based on spring boot
The online bookstore management system adopts B/S structure, java development language, MySQL database and other technologies. The system is mainly divided into two parts: administrator and user. The main functions of administrator management include: home page, site management (carousel map), user management (administrator, registered user), content management (good book recommendation, recommended classification), more management (book classification, book information, book purchase, purchase warehousing, commodity after-sales), etc. The user's personal background management mainly includes: home page, book purchase, commodity after-sales and other functions, basically realizing the process of information management of the entire online bookstore management system. Based on the general online bookstore management system, this system adds the function of home page pushing the latest information to facilitate users' quick browsing. It is an efficient, dynamic and interactive online bookstore management system.
Key words: online bookstore management system; Java technology; MySQL database; B/S structure
Key words: bookstore website; Java technology; MySQL database; B/S structure
目 录
1 绪论
1.1研究背景
以往的网上书店管理系统相关信息管理,都是工作人员手工统计。这种方式不但时效性低,而且需要查找和变更的时候很不方便。随着科学的进步,技术的成熟,计算机信息化也日新月异的发展,如今计算机已经进入了人类社会发展的各个领域,并且发挥着十分重要的作用。本系统充分利用网络的便捷,在工作效率上,得到极大地提高,延伸至服务水平也会有好的收获,有了网络,网上书店管理系统的各方面的管理更加科学和系统,更加规范和简便。
1.2研究现状
在国内,网上书店管理系统是国内知名的大型网站,该公司向超过千万的用户提供全方位的书籍服务,其售后服务也非常有保障,使用户可以安心舒适的享受各种图片,但由于其价格单一没有竞争力以及现在各个其他网上书店管理系统的兴起和普及,使其流失了部分客户。
网上书店管理系统是国内主要致力于书籍信息的攻略。首先,网上书店管理系统为用户提供一站式目的书籍资讯。另外,网上书店管理系统会把当地最代表的书籍信息以及产品一同提供给用户,提高了用户的查看质量,使用户不再盲目找书。
中国网上书店管理系统坚持“以人为本”的原则对网站的内容进行分类,同时该网站全面整理了广大驴友喜爱的专业书籍资讯,是目前中国具有一定影响力的网上书店管理系统。
如今,互联网已经深入人们的生活,智能手机、笔记本电脑等已经是人们获取信息的主要工具,因此,利用网络来进行网上书店管理系统的管理也成为大势所趋,所以,开发一个网上书店管理系统是必须的。
1.3 研究意义
过去人们去往各地买书时,由于信息的局限性往往不知道怎样选择最适合自己的书籍方案,往往耗费大量的时间和精力。而如今,21世纪是信息化的世界,互联网行业发展迅猛带动了生活中方方面面,信息管理的规范化、高效化的重要性日益凸显。
网上书店管理系统利用信息的合理管理,动态的、高效的、安全的实现了客户的各种需求,改变了传统的买书方式,使用户可以足不出户的在线购买最适合自己兴趣爱好的书籍方案。
1.4研究目的
当今各式各样的网上书店管理系统相继兴起,为了使大众可以快速获得大量信息,节省精力和财力。在本系统中,实现了查看书籍详细内容,在线购买等功能。该系统具有首页、个人中心、站点管理(轮播图)用户管理(管理员、注册用户)内容管理(好书推荐、推荐分类)更多管理(图书分类、图书信息、图书购买、采购入库、商品售后)等功能。首先在该系统中用户可以通过本网站的书籍信息功能进行查看,进行全方位了解,可以毫无顾虑的进行线上自主订书,或者通过用户模块来规划自己的订书计划。其次用户注册登陆本网站后,用户可以进入个人后台来管理个人中心、留言板管理、我的收藏管理、订单管理等功能。最后在主页页面,增加了推送功能,使用户可以直接快速接触到最丰富的内容,提高了用户体验感,增加了销售量。
此网站基本上实现了整个网上书店管理系统信息管理的过程,向大众提供了一个安全、动态、高效的网上书店管理系统系统。
2 系统开发环境
为了能够使本系统较好、较为完善的被设计实现出来,在功能上,我对新系统进行了细致的分析。通过详细的分析,前端部分基于MVVM模式进行开发,采用B/S模式,后端部分基于Java的springboot框架进行开发。
前端部分:前端框架采用了比较流行的渐进式JavaScript框架Vue.js。使用Vue-Router和Vuex实现动态路由和全局状态管理,Ajax实现前后端通信,Element UI组件库使页面快速成型,项目前端通过栅格布局实现响应式,可适应PC端、平板端、手机端等不同屏幕大小尺寸的完美布局展示。
后端部分:采用springboot作为开发框架,同时集成MyBatis、Redis等相关技术。
2.1 系统开发平台
在该网上书店管理系统中,java技术可以给用户带来极大方便,其主要特点就是可以使用户学习起来方便、快捷,另一方面就是信息储存量也是非常大的,该功能主要被应用为数据库中进行查询和编程。并且该功能的数据应用比较灵活,通过我们现在的发展可以得知,只要利用一小部分代码就可以来实现非常强大的功能。
2.2 平台开发相关技术
2.2.1 B/S架构
B/S结构的特点也非常多,例如在很多浏览器中都可以做出信号请求。并且可以适当的减轻用户的工作量,通过对客户端安装或者是配置少量的运行软件就能够逐步减少用户的工作量,这些功能的操作主要是由服务器来进行控制的,由于该软件的技术不断成熟,最主要的特点就是与浏览器相互配合为软件开发带来了极大的便利,不仅能够减少开发成本,还能够不断加强系统的软件功能,层层相互独立和展现层是该B/S结构完成相互连接的主要特性。
2.2.2 Java技术介绍
Java语言擅长开发互联网类应用和企业级应用,现在已经相当的成熟,而且也是目前使用最多的编程语言之一。Java语言具有很好的面向对象性,可以符合人的思维模式进行设计,封装是将对象的属性和方法尽可能地隐藏起来,使得外界并不知道是如何实现的,外界能通过接口进行访问,继承是指每个类都会有一个父类,所有的子类都有父类的方法,可以进行继承,但是只有final修饰的类不能被继承,通过继承可以使得代码得到重新利用,能够提高软件的开发效率,也是多态的前提。
Java就像C语言、C#语言等,也是一种程序开发语言,而它的特点就是面向对象。作为一种程序开发与设计的语言,它有很多特性,主要特性就是面向对象、夸平台以及可以分布式运行。Java语言项目不但安全性高、稳定性强,而且可以并发运行。
为了提高开发的速度及效率,必须做到代码的重复使用和简化程序的复杂度,要达到上述的要求java语言通过封装、继承与多态等方式实现,这样可以很大程度上达到信息的封装,提高代码复用率,减少冗余度,提高效率。在Java中难能可贵的一点就是它的垃圾回收机制,它使得以往程序中大量存在的内存泄漏的问题得到了较好的缓解。所谓的内存泄漏就是程序向操作系统申请了一块存储空间,比如定义了一个变量,但是由于某种原因,这个变量一直没有使用,但是仍然占用着系统的内存空间,可能一两个这样的变量对程序和操作系统造不成什么大的影响,但是试想如果这样的变量定义的多了系统的内存空间就会一步步减少,从而造成机器的性能降低甚至宕机。但是在Java中有垃圾回收机制的存在,这种机制极大地避免了内存泄漏的出现,在Java虚拟机中,垃圾回收机制会对长时间没有引用变量指向的对象实施垃圾回收,简单的说就是将这个对象销毁,以避免内存泄漏的情况出现。
2.2.3 mysql数据库介绍
MySQL是一款Relational Database Management System,直译过来的意思就是关系型数据库管理系统,MySQL有着它独特的特点,这些特点使他成为目前最流行的RDBMS之一,MySQL想比与其他数据库如ORACLE、DB2等,它属于一款体积小、速度快的数据库,重点是它符合本次毕业设计的真实音乐环境,拥有成本低,开发源码这些特点,这也是选择它的主要原因。
本系统使用了MySQL数据库,建立了多张数据库表来存储音乐以及音乐网站相关数据。系统中主要应用查询(select),修改(update),删除(delete)以及增加(insert)等语句来实现系统功能。
2.2.4 spring boot框架介绍
Spring框架是Java平台上的一种开源应用框架,提供具有控制反转特性的容器。尽管Spring框架自身对编程模型没有限制,但其在Java应用中的频繁使用让它备受青睐,以至于后来让它作为EJB(EnterpriseJavaBeans)模型的补充,甚至是替补。Spring框架为开发提供了一系列的解决方案,比如利用控制反转的核心特性,并通过依赖注入实现控制反转来实现管理对象生命周期容器化,利用面向切面编程进行声明式的事务管理,整合多种持久化技术管理数据访问,提供大量优秀的Web框架方便开发等等。Spring框架具有控制反转(IOC)特性,IOC旨在方便项目维护和测试,它提供了一种通过Java的反射机制对Java对象进行统一的配置和管理的方法。Spring框架利用容器管理对象的生命周期,容器可以通过扫描XML文件或类上特定Java注解来配置对象,开发者可以通过依赖查找或依赖注入来获得对象。Spring框架具有面向切面编程(AOP)框架,SpringAOP框架基于代理模式,同时运行时可配置;AOP框架主要针对模块之间的交叉关注点进行模块化。Spring框架的AOP框架仅提供基本的AOP特性,虽无法与AspectJ框架相比,但通过与AspectJ的集成,也可以满足基本需求。Spring框架下的事务管理、远程访问等功能均可以通过使用SpringAOP技术实现。Spring的事务管理框架为Java平台带来了一种抽象机制,使本地和全局事务以及嵌套事务能够与保存点一起工作,并且几乎可以在Java平台的任何环境中工作。Spring集成多种事务模板,系统可以通过事务模板、XML或Java注解进行事务配置,并且事务框架集成了消息传递和缓存等功能。Spring的数据访问框架解决了开发人员在应用程序中使用数据库时遇到的常见困难。它不仅对Java:JDBC、iBATS/MyBATIs、Hibernate、Java数据对象(JDO)、ApacheOJB和ApacheCayne等所有流行的数据访问框架中提供支持,同时还可以与Spring的事务管理一起使用,为数据访问提供了灵活的抽象。Spring框架最初是没有打算构建一个自己的WebMVC框架,其开发人员在开发过程中认为现有的StrutsWeb框架的呈现层和请求处理层之间以及请求处理层和模型之间的分离不够,于是创建了SpringMVC。
所以结合网上书店管理系统系统的需求及功能模块的实现,使用springboot技术是最合适的,而且springboot的拓展性比较好,对于网上书店管理系统系统在后期使用过程中可以不断对系统功能进行拓展,使系统更完善,更方便的满足用户需求。
3 需求分析
所谓需求分析就是,需求人员通过与客户的沟通,所获取的信息,然后把这些信息通过需求说明书的方式展示给用户和开发人员。
3.1系统目标
本系统设计的是一个网上书店管理系统的网站,此网站使用户实现了不需出门就可以在电脑前进行网上查看个人中心、留言板管理、我的收藏管理、订单管理等。不需亲临现场就可以在网站的图片上领略书籍信息。
用户在首页上会看到各类模块的推送内容,可以以最直接的方式获取信息,注册登陆后,可以对应心仪的书籍进行预订购买,并且在后台可以管理自己的个人中心、留言板管理、我的收藏管理、订单管理等。而管理员则可以在后台直接管理和处理用户订单等信息。本网站模块设计的独立性强,用户体验良好、后期维护修改管理十分方便。
3.2系统功能
此系统的功能分为用户和管理员模块:
用户功能模块用户模块包括:个人中心、留言板管理、我的收藏管理、订单管理、商品售后等模块。
管理员功能模块包括:首页、站点管理(轮播图)用户管理(管理员、注册用户)内容管理(好书推荐、推荐分类)更多管理(图书分类、图书信息、图书购买、采购入库、商品售后)等模块。
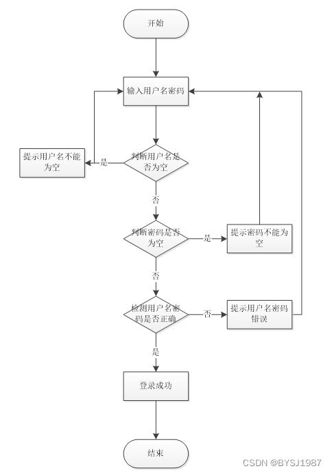
3.3系统流程和逻辑
系统业务流程图,如图所示:

图3-1登录流程图

图3-2添加信息流程图

图3-3注册信息流程图
4系统概要设计
4.1 概述
网上书店管理系统基于Web服务模式,是一个适用于Internet环境下的模型结构。只要用户能连上Internet,便可以在不受时间、地点的限制来使用这个系统。网上书店管理系统工作原理图,如图4-1所示:

图4-1 系统工作原理图
4.2 系统结构
本系统架构网站系统,本系统的具体功能如下:

图4-2系统功能结构图
管理员功能结构图,如图4-3所示:

图4-3 管理员功能结构图
用户后台功能结构图,如图4-4所示:

图4-4 用户后台功能结构图
4.3. 数据库设计
4.3.1 数据库实体
管理员信息结构图,如图4-5所示:

图4-5 管理员信息实体结构图
管理员功能实体属性图,如图4-6所示:

图4-6管理员功能实体属性图
用户个人资料实体属性图,如图4-7所示:

图4-7用户个人资料实体属性图
4.3.2 数据库设计表
此系统需要后台数据库,下面介绍数据库中的各个表的详细信息。
| after_sales_of_goods | |||||
| 字段名称 | 类型 | 长度 | 不是null | 主键 | 字段说明 |
| after_sales_of_goods_id | int | 11 | 是 | 主键 | 商品售后ID |
| order_number | varchar | 64 | 否 | 订单号 | |
| book_number | varchar | 64 | 否 | 图书编号 | |
| book_name | varchar | 64 | 否 | 图书名称 | |
| author | varchar | 64 | 否 | 作者 | |
| user | int | 11 | 否 | 用户 | |
| after_sales_type | varchar | 64 | 否 | 售后类型 | |
| after_sales_content | text | 0 | 否 | 售后内容 | |
| related_pictures | varchar | 255 | 否 | 相关图片 | |
| examine_state | varchar | 16 | 是 | 审核状态 | |
| examine_reply | varchar | 16 | 否 | 审核回复 | |
| recommend | int | 11 | 是 | 智能推荐 | |
| create_time | datetime | 0 | 是 | 创建时间 | |
| update_time | timestamp | 0 | 是 | 更新时间 | |
| book_classification | |||||
| 字段名称 | 类型 | 长度 | 不是null | 主键 | 字段说明 |
| book_classification_id | int | 11 | 是 | 主键 | 图书分类ID |
| book_category | varchar | 64 | 否 | 图书类别 | |
| recommend | int | 11 | 是 | 智能推荐 | |
| create_time | datetime | 0 | 是 | 创建时间 | |
| update_time | timestamp | 0 | 是 | 更新时间 | |
| book_information | |||||
| 字段名称 | 类型 | 长度 | 不是null | 主键 | 字段说明 |
| book_information_id | int | 11 | 是 | 主键 | 图书信息ID |
| book_number | varchar | 64 | 否 | 图书编号 | |
| book_name | varchar | 64 | 否 | 图书名称 | |
| book_category | varchar | 64 | 否 | 图书类别 | |
| cover | varchar | 255 | 否 | 封面 | |
| author | varchar | 64 | 否 | 作者 | |
| press | varchar | 64 | 否 | 出版社 | |
| stock | int | 11 | 否 | 库存 | |
| price | int | 11 | 否 | 价格 | |
| content_validity | text | 0 | 否 | 内容简介 | |
| book_introduction | longtext | 0 | 否 | 图书介绍 | |
| hits | int | 11 | 是 | 点击数 | |
| praise_len | int | 11 | 是 | 点赞数 | |
| recommend | int | 11 | 是 | 智能推荐 | |
| create_time | datetime | 0 | 是 | 创建时间 | |
| update_time | timestamp | 0 | 是 | 更新时间 | |
| book_purchase | |||||
| 字段名称 | 类型 | 长度 | 不是null | 主键 | 字段说明 |
| book_purchase_id | int | 11 | 是 | 主键 | 图书购买ID |
| order_number | varchar | 64 | 否 | 订单号 | |
| book_number | varchar | 64 | 否 | 图书编号 | |
| book_name | varchar | 64 | 否 | 图书名称 | |
| author | varchar | 64 | 否 | 作者 | |
| price | varchar | 64 | 否 | 价格 | |
| purchase_quantity | int | 11 | 否 | 购买数量 | |
| total_price | varchar | 64 | 否 | 总价格 | |
| user | int | 11 | 否 | 用户 | |
| consignee | varchar | 64 | 否 | 收货人 | |
| ship_to_address | varchar | 64 | 否 | 收货地址 | |
| contact_number | varchar | 64 | 否 | 联系电话 | |
| order_remarks | text | 0 | 否 | 订单备注 | |
| pay_state | varchar | 16 | 是 | 支付状态 | |
| pay_type | varchar | 16 | 否 | 支付类型 微信、支付宝、网银 | |
| recommend | int | 11 | 是 | 智能推荐 | |
| create_time | datetime | 0 | 是 | 创建时间 | |
| update_time | timestamp | 0 | 是 | 更新时间 | |
| chart | |||||
| 字段名称 | 类型 | 长度 | 不是null | 主键 | 字段说明 |
| chart_id | int | 10 | 是 | 主键 | 聊天ID |
| user_id | int | 11 | 是 | 用户ID | |
| title | varchar | 64 | 否 | 标题 | |
| content | longtext | 0 | 是 | 内容 | |
| nickname | varchar | 32 | 是 | 昵称 | |
| avatar | varchar | 255 | 否 | 头像 | |
| create_time | timestamp | 0 | 是 | 创建时间 | |
| update_time | timestamp | 0 | 是 | 更新时间 | |
| reply_id | int | 11 | 是 | 回复ID | |
| purchase_receipt | |||||
| 字段名称 | 类型 | 长度 | 不是null | 主键 | 字段说明 |
| purchase_receipt_id | int | 11 | 是 | 主键 | 采购入库ID |
| book_number | varchar | 64 | 否 | 图书编号 | |
| book_name | varchar | 64 | 否 | 图书名称 | |
| author | varchar | 64 | 否 | 作者 | |
| press | varchar | 64 | 否 | 出版社 | |
| purchase_price | varchar | 64 | 否 | 采购价格 | |
| purchase_quantity | int | 11 | 否 | 采购数量 | |
| supplier_name | varchar | 64 | 否 | 供应商名称 | |
| contact_number | varchar | 64 | 否 | 联系电话 | |
| remarks | text | 0 | 否 | 备注 | |
| recommend | int | 11 | 是 | 智能推荐 | |
| create_time | datetime | 0 | 是 | 创建时间 | |
| update_time | timestamp | 0 | 是 | 更新时间 | |
| registered_user | |||||
| 字段名称 | 类型 | 长度 | 不是null | 主键 | 字段说明 |
| registered_user_id | int | 11 | 是 | 主键 | 注册用户ID |
| user_no | varchar | 64 | 是 | 用户编号 | |
| full_name | varchar | 64 | 否 | 姓名 | |
| gender | varchar | 64 | 否 | 性别 | |
| examine_state | varchar | 16 | 是 | 审核状态 | |
| recommend | int | 11 | 是 | 智能推荐 | |
| user_id | int | 11 | 是 | 用户ID | |
| create_time | datetime | 0 | 是 | 创建时间 | |
| update_time | timestamp | 0 | 是 | 更新时间 | |
5 系统详细设计
5.1 系统功能模块
网上书店管理系统设计,在网上书店管理系统首页可以查看首页、书籍信息、论坛信息、新闻资讯、留言反馈、我的、跳转到后台、购物车等内容,如图5-1所示。

图5-1网站首页界面图
首页代码如下:
@RequestMapping("/get_obj")
public Map<String, Object> obj(HttpServletRequest request) {
Query select = service.select(service.readQuery(request), service.readConfig(request));
List resultList = select.getResultList();
if (resultList.size() > 0) {
JSONObject jsonObject = new JSONObject();
jsonObject.put("obj",resultList.get(0));
return success(jsonObject);
} else {
return success(null);
}
}
public Query select(Map<String,String> query,Map<String,String> config){
StringBuffer sql = new StringBuffer("select ");
sql.append(config.get(FindConfig.FIELD) == null || "".equals(config.get(FindConfig.FIELD)) ? "*" : config.get(FindConfig.FIELD)).append(" ");
sql.append("from ").append("`").append(table).append("`").append(toWhereSql(query, "0".equals(config.get(FindConfig.LIKE))));
if (config.get(FindConfig.GROUP_BY) != null && !"".equals(config.get(FindConfig.GROUP_BY))){
sql.append("group by ").append(config.get(FindConfig.GROUP_BY)).append(" ");
}
if (config.get(FindConfig.ORDER_BY) != null && !"".equals(config.get(FindConfig.ORDER_BY))){
sql.append("order by ").append(config.get(FindConfig.ORDER_BY)).append(" ");
}
if (config.get(FindConfig.PAGE) != null && !"".equals(config.get(FindConfig.PAGE))){
int page = config.get(FindConfig.PAGE) != null && !"".equals(config.get(FindConfig.PAGE)) ? Integer.parseInt(config.get(FindConfig.PAGE)) : 1;
int limit = config.get(FindConfig.SIZE) != null && !"".equals(config.get(FindConfig.SIZE)) ? Integer.parseInt(config.get(FindConfig.SIZE)) : 10;
sql.append(" limit ").append( (page-1)*limit ).append(" , ").append(limit);
}
log.info("[{}] - 查询操作,sql: {}",table,sql);
return runEntitySql(sql.toString());
}
图书信息,在图书信息页面可以查看名称、价格、库存、书籍编号、书籍类型、图片、简述、作者、出版社、详情等详细信息,根据需要进行添加到购物车、立即购买、评价或收藏,如图5-2所示。

图5-2图书信息界面图
用户注册,在用户注册页面可以填写用户名、密码、姓名、身份证、手机等信息进行注册,如图5-3所示。在个人中心页面可以填写用户名、密码、姓名、性别、图片、身份证、手机等信息进行更新操作,还可以根据需要我的发布,我的订单,我的地址,我的收藏进行相应操作;如图5-4所示。

图5-3用户注册界面图
注册代码如下:
/**
* 注册
* @param user
* @return
*/
@PostMapping("register")
public Map<String, Object> signUp(@RequestBody User user) {
// 查询用户
Map<String, String> query = new HashMap<>();
query.put("username",user.getUsername());
List list = service.select(query, new HashMap<>()).getResultList();
if (list.size()>0){
return error(30000, "用户已存在");
}
user.setUserId(null);
user.setPassword(service.encryption(user.getPassword()));
service.save(user);
return success(1);
}
/**
* 用户ID:[0,8388607]用户获取其他与用户相关的数据
*/
@Id
@GeneratedValue(strategy = GenerationType.IDENTITY)
@Column(name = "user_id")
private Integer userId;
/**
* 账户状态:[0,10](1可用|2异常|3已冻结|4已注销)
*/
@Basic
@Column(name = "state")
private Integer state;
/**
* 所在用户组:[0,32767]决定用户身份和权限
*/
@Basic
@Column(name = "user_group")
private String userGroup;
/**
* 上次登录时间:
*/
@Basic
@Column(name = "login_time")
private Timestamp loginTime;
/**
* 手机号码:[0,11]用户的手机号码,用于找回密码时或登录时
*/
@Basic
@Column(name = "phone")
private String phone;
/**
* 手机认证:[0,1](0未认证|1审核中|2已认证)
*/
@Basic
@Column(name = "phone_state")
private Integer phoneState;
/**
* 用户名:[0,16]用户登录时所用的账户名称
*/
@Basic
@Column(name = "username")
private String username;
/**
* 昵称:[0,16]
*/
@Basic
@Column(name = "nickname")
private String nickname;
/**
* 密码:[0,32]用户登录所需的密码,由6-16位数字或英文组成
*/
@Basic
@Column(name = "password")
private String password;
/**
* 邮箱:[0,64]用户的邮箱,用于找回密码时或登录时
*/
@Basic
@Column(name = "email")
private String email;
/**
* 邮箱认证:[0,1](0未认证|1审核中|2已认证)
*/
@Basic
@Column(name = "email_state")
private Integer emailState;
/**
* 头像地址:[0,255]
*/
@Basic
@Column(name = "avatar")
private String avatar;
/**
* 创建时间:
*/
@Basic
@Column(name = "create_time")
@JsonFormat(pattern = "yyyy-MM-dd HH:mm:ss")
private Timestamp createTime;
@Basic
@Transient
private String code;
}

图5-4个人中心界面图
我的收藏,在我的收藏页面可以查看收藏书籍名称、等详细信息,根据需要进行购买或删除,如图5-5所示。

图5-5我的收藏界面图
用户登录进入网站后台可以查看个人中心、首页、图书购买、商品售后等内容,在我的收藏管理等信息进行查看或删除等操作,如图5-6所示。

图5-6用户后台功能界面图
图书购买管理,在图书购买页面可以对订单编号、图书编号、图书名称、商品图片、购买数量、作者、总价格、支付类型、状态、地址等信息进行查看、确认收货等操作,还可以根据需要对已支付订单、商品售后、已完成订单、未支付订单、已取消订单进行相应操作;如图5-7所示。

图5-7订单管理界面图
5.2管理员功能模块
管理员登录,管理员通过输入账号,密码,权限等信息即可进行系统登录,如图5-8所示。

图5-8管理员登录界面图
登录代码如下:
/**
* 登录
* @param data
* @param httpServletRequest
* @return
*/
@PostMapping("login")
public Map<String, Object> login(@RequestBody Map<String, String> data, HttpServletRequest httpServletRequest) {
log.info("[执行登录接口]");
String username = data.get("username");
String email = data.get("email");
String phone = data.get("phone");
String password = data.get("password");
List resultList = null;
Map<String, String> map = new HashMap<>();
if(username != null && "".equals(username) == false){
map.put("username", username);
resultList = service.select(map, new HashMap<>()).getResultList();
}
else if(email != null && "".equals(email) == false){
map.put("email", email);
resultList = service.select(map, new HashMap<>()).getResultList();
}
else if(phone != null && "".equals(phone) == false){
map.put("phone", phone);
resultList = service.select(map, new HashMap<>()).getResultList();
}else{
return error(30000, "账号或密码不能为空");
}
if (resultList == null || password == null) {
return error(30000, "账号或密码不能为空");
}
//判断是否有这个用户
if (resultList.size()<=0){
return error(30000,"用户不存在");
}
User byUsername = (User) resultList.get(0);
Map<String, String> groupMap = new HashMap<>();
groupMap.put("name",byUsername.getUserGroup());
List groupList = userGroupService.select(groupMap, new HashMap<>()).getResultList();
if (groupList.size()<1){
return error(30000,"用户组不存在");
}
UserGroup userGroup = (UserGroup) groupList.get(0);
//查询用户审核状态
if (!StringUtils.isEmpty(userGroup.getSourceTable())){
String sql = "select examine_state from "+ userGroup.getSourceTable() +" WHERE user_id = " + byUsername.getUserId();
String res = String.valueOf(service.runCountSql(sql).getSingleResult());
if (res==null){
return error(30000,"用户不存在");
}
if (!res.equals("已通过")){
return error(30000,"该用户审核未通过");
}
}
//查询用户状态
if (byUsername.getState()!=1){
return error(30000,"用户非可用状态,不能登录");
}
String md5password = service.encryption(password);
if (byUsername.getPassword().equals(md5password)) {
// 存储Token到数据库
AccessToken accessToken = new AccessToken();
accessToken.setToken(UUID.randomUUID().toString().replaceAll("-", ""));
accessToken.setUser_id(byUsername.getUserId());
tokenService.save(accessToken);
// 返回用户信息
JSONObject user = JSONObject.parseObject(JSONObject.toJSONString(byUsername));
user.put("token", accessToken.getToken());
JSONObject ret = new JSONObject();
ret.put("obj",user);
return success(ret);
} else {
return error(30000, "账号或密码不正确");
}
}
管理员登录进入网上书店管理系统设计可以查看首页、站点管理(轮播图)用户管理(管理员、注册用户)内容管理(好书推荐、推荐分类)更多管理(图书分类、图书信息、图书购买、采购入库、商品售后)等内容进行操作,如图5-9所示。

图5-9管理员功能界面图
用户管理,在用户管理页面可以对用户名、密码、姓名、性别、头像、身份证、手机等信息进行删除,修改等操作,如图5-10所示。

图5-10用户管理界面图
图书分类管理,在图书分类管理页面可以对图书类型信息进行删除,修改等操作,如图5-11所示。

图5-11图书分类管理界面图
图书信息管理,在图书信息管理页面可以对图书编号、书籍名称、书籍类型、图片、简述、作者、出版社、详情、价格、单限、库存等信息进行查看、修改或删除等操作,如图5-12所示。

图5-12图书信息管理界面图
商品售后管理,在商品售后管理页面可以对用户名、售后类型、售后内容、相关图片、审核状态等信息进行查看或详情等操作,还可以根据需要对商品售后管理进行回复相应操作;如图5-13所示。

图5-13商品售后管理界面图
图书购买管理,在图书购买页面可以对订单编号、图书编号、图书名称、图书图片、购买数量、价格、用户名、支付类型、状态、地址等信息进行查看、详情、购买、采购入库、查看评论等操作,还可以根据需要对商品售后进行相应操作;如图5-14所示。

图5-14图书购买界面图
6 系统测试
6.1系统测试的目的
程序设计不能保证没有错误,这是一个开发过程,在错误或错误的过程中都是难以避免的。虽然这是不可避免的,但我们不能使这些错误始终存在于系统中,错误可能会造成无法估量的后果,如系统崩溃,安全信息泄露,系统无法正常启动等,为了避免这些问题,我们需要测试程序,再测试过程中发现问题,并纠正它们,从而使系统更长时间稳定成熟。
本章的作用是发现这些问题,并对其进行修改,虽然耗时费力,但对于长期使用而言是非常重要和必要系统的开发。
软件在设计后必须进行测试,调试过程中使用的方法是软件测试方法。在开发新软件时,系统测试是检查软件是否合格的关键步骤,以及是否符合设计目标的参考。测试主要是查看软件中数据的准确性,正确的操作与否,以及操作的结果,还有哪些方面需要改进。
网上书店管理系统的实现,对于系统中功能模块的实现及操作都必须通过测试进行来评判系统是否可以准确的实现。在系统正式上传使用之前必须做的一步就是系统测试,对于测试发现的错误及时修改处理,保证系统准确无误的供给用户使用。
6.2测试策略
测试系统主要针对以下三个方面进行测试:
1、基于springboot的系统代码的单元测试,集成测试,系统测试和验收测试结果;
2、测试对象中列出的可测试或不可接受的特征和功能;
3、分析并记录测试要求:日期的书面文件不影响测试的设计、开发和执行。
6.3测试特性及分析
(1)挑剔性:测试是为了找出系统的错误,在系统测试时我们要严格苛刻,十分挑剔。
(2)复杂性:测试是一个非常复杂的过程。
(3)不彻底性:虽然系统经过测试,但测试仍然会存在不够彻底的问题,测试不能保证系统后期运行完整无误,所以要在后期不断的检查、修改。
(4)经济性:通场这种测试称为“选择测试(Selective Testing)”。在测试时要遵守经济性的原则。
经过测试,产品的稳定性和成熟度可以大大提高,产品质量也可以得到保证。
6.4功能测试
系统测试方面,我们通常运用的是白盒测试以及黑盒测试这两种方法。白盒测试是指在了解系统内部工作流程的前提下,可以根据需求规范验证系统内部操作是否能够正常运行的测试;而黑盒测试指的是,倘若知道了这个系统的全部功能,可以进行测试检测系统中的每一个功能是否满足正常使用。
功能测试,主要是对系统的用户登录进行详细的测试,但是登录不可以是任何人都可以登录成功的,所以对登录进行详细测试。
| 模块名称 | 测试用例 | 预期结果 | 实际结果 | 是否通过 |
| 登录模块 | 用户名:admin 密码:123 | 弹出错误提示,提示密码错误 | 弹出错误提示,提示密码错误 | 通过 |
| 登录模块 | 用户名:123 密码:admin | 弹出错误提示,提示用户名错误 | 弹出错误提示,提示用户名错误 | 通过 |
| 登录模块 | 用户名:admin 密码:admin | 管理员登录成功 | 管理员登录成功 | 通过 |
删除分类测试:
| 模块名称 | 测试用例 | 预期结果 | 实际结果 | 是否通过 |
| 删除分类模块 | 分类名:最新通知 | 删除成功、页面自动跳转 | 删除成功、页面自动跳转 | 通过 |
修改密码测试:
| 模块名称 | 测试用例 | 预期结果 | 实际结果 | 是否通过 |
| 修改密码模块 | 原密码:666 新密码:123 确认密码:123 | 弹出错误提示,提示原密码错误 | 弹出错误提示,提示原密码错误 | 通过 |
| 修改密码模块 | 原密码:admin 新密码:123 确认密码:333 | 弹出错误提示,提示确认密码不一致 | 弹出错误提示,提示确认密码不一致 | 通过 |
| 修改密码模块 | 原密码:admin 新密码:123 确认密码:123 | 密码修改成功 | 密码修改成功 | 通过 |
通过对功能的测试,网上书店管理系统的基本功能都是可行的,不管是系统里面的功能,还是界面的设计都是可值得推广宣传的。
6.5测试结果
经过对一系列测试结果的有效分析,本平台开发系统符合用户的要求和需求。所有的基本功能相对齐全,操作起来简单方便,测试系统性能良好,作为大众化系统使用是比较值得推广宣传的。
此时项目已经完成,即使实施的时间不是很长,但是在这个过程中需要准备很长的一段时间去对系统设计开发所实际用到的技术进行学习和巩固。在学习的过程中,我逐渐认识到了我自身存在的一些不足。对于一些控制是必要的应用技能,能够理解,整个过程中仅仅是掌握了常用的性能和控制方法,我觉得还是相对来说挺容易的。从该系统中,系统的分析和设计的调查数据,已经经历了几个月,并且努力了几个月,该系统现在已经完成。很显然,该系统仍有很多不成熟的地方,在系统设计过程中有许多技术缺陷存在。在设计的过程中也涉及到了很多自己无法解决的问题,主要通过找专业的网站和论坛来解决这些问题,对于圆满完成我的毕业设计,他们也贡献了很大一部分力量。
系统的开发环境和配置都是可以自行安装的,系统使用采用springboot作为开发框架,使用比较成熟的Mysql数据库进行对系统前台及后台的数据交互,根据技术语言结合需求对数据库进行修改维护,可以使得系统运行更具有稳定性和安全性,从而完成实现系统的开发。
在设计网上书店管理系统的过程中还遇到了一个棘手的问题,那就是自己的英语水平还有待提高,很多关于网站技术开发的资料文献都是英文版的,关键词语以及技术性词汇不能很好的理解。只有在借助翻译软件的实时性翻译功能的辅助下才勉强看懂。显然英语水平的高低直接影响到系统的开发过程。
回顾毕业设计的整个过程,既付出了努力与汗水也收获了很多难以忘怀的美好经历。虽然在系统开发过程中经历了各种各样的困难,自己也在不断研究与探索,可是系统的实现仍有许多不足之处。但是经过系统编程工作的学习让我有了更多的信心,我相信在未来的路上,我会走的更好。
毕业设计结束的同时也意味着四年的大学生活就要结束了。网上书店管理系统的完成以及如何在系统运行过程中实现的更好,这其中付出了很大的努力,这段时光将会终身难忘。
在毕业设计的这一段时间里,离不开导师的细心指导,还有同学们的热情帮助,有时候几个同学在一起讨论系统中的某个功能模块如何实现,如何实现的更好,或是问题没得到有效的解决,就会没有心思做其他的事情,让我们对学习充满了动力。
在毕业设计即将结束之时,首先要感谢我的指导老师,谢谢您在毕业设计和毕业论文中对我的指导。在您的细心指导下我才能快速的掌握系统的相关功能,在您的大力帮助下我才能将课本上的知识与自己的项目结合,真正的做到学以致用。感谢您经常牺牲自己的休息时间,利用其丰富的教学和项目经验对我进行指导。 课堂上,您教会我们如何学习、教会我们新的知识,在课下,您又像朋友一样亲切,教会了我很多道理,让我意识到先做人、后做事。感谢所有教过我的老师,为我倾注了大量的心血,正是你们的谆谆教诲、严谨教学才使我能顺利的完成学业,再此向你们表示深深的感谢。感谢大学里教过我的每一位老师,真心祝福您们。
在这里还得感谢我的战友们,也就是同学们对我的大力支持及帮助。正是因为有你们的不断帮助、鼓励,熬夜通宵,不停的调试、测试程序,给我带来了极大的动力,才能最终完成网站的运行。我们在一起交流、谈论的时光,都将是我们在通往未来道路上的宝贵财富。我要深深地感谢你们!
毕业在即,在今后的工作和生活中,我会铭记师长们的教诲、同学们的帮助,继续不懈努力和追求,来报答所有支持和帮助过我的人!
最后,我要向牺牲了休息时间来对本文进行审阅,评议和参与论文答辩的各位老师表示深深的感谢。在此,衷心的谢谢您们!
[1]王屯屯.融合时序模型和W&D模型的在线商城商品推荐[J].信息技术与信息化,2021(08):78-80.
[2]刘庆. 威海:建价格监测机制 网上商城节支15%[N]. 政府采购信息报,2021-08-09(008).DOI:10.38293/n.cnki.nzfcg.2021.000771.
[3]沈家驹. 认知指示语的使用与消费者购买意愿的关系研究[D].四川外国语大学,2021.
[4]董莹. 吉林:为政采在线支付资金提速[N]. 政府采购信息报,2021-06-21(003).DOI:10.38293/n.cnki.nzfcg.2021.000511.
[5]Sriramulu Bojjagani,V. N. Sastry,Chien-Ming Chen,Saru Kumari,Muhammad Khurram Khan. Systematic survey of mobile payments, protocols, and security infrastructure[J]. Journal of Ambient Intelligence and Humanized Computing,2021(prepublish):
[6]印杏. 基于负面在线评论的国内外网购消费者行为差异性研究[D].浙江工商大学,2021.DOI:10.27462/d.cnki.ghzhc.2021.000274.
[7]宋苏娟,李赛凤,季振义,曾余洋,彭卫.在线评论有用性的影响因素探究——基于京东商城的实证研究[J].科技创业月刊,2021,34(02):72-79.
[8]牛希镭.基于JavaWeb的在线图书商城设计与实现[J].电子测试,2021(01):73-75.DOI:10.16520/j.cnki.1000-8519.2021.01.025.
[9]Jiao Ruohuang,Przepiorka Wojtek,Buskens Vincent. Reputation effects in peer-to-peer online markets: A meta-analysis[J]. Social Science Research,2021(prepublish):
[10]杨 丰嘉,黄 媛媛. 基于 Vue.js 的在线商城网站设计与实现[J]. 工程技术研究,2020,2(8):
[11]Cheng Hsing Kenneth,Fan Weiguo,Guo Peipei,Huang Hailiang,Qiu Liangfei. Can “Gold Medal” Online Sellers Earn Gold? The Impact of Reputation Badges on Sales[J]. Journal of Management Information Systems,2020,37(4):
[12]邹瑞,段华琼.基于前后端分离技术的在线商城的设计与实现[J].电脑知识与技术,2020,16(26):231-232+239.DOI:10.14004/j.cnki.ckt.2020.2844.
[13]贾行行. 企业自营在线商城及第三方在线平台的竞争策略及消费者偏好研究[D].北京邮电大学,2020.DOI:10.26969/d.cnki.gbydu.2020.000544.
[14]刘丽媛.基于HTML5技术的微商城设计与实现[J].电脑编程技巧与维护,2020(05):53-55.DOI:10.16184/j.cnki.comprg.2020.05.019.
[15]苏杰.基于UML的在线商城的分析与设计[J].电脑知识与技术,2020,16(11):276-277+286.DOI:10.14004/j.cnki.ckt.2020.1467.
[16]孟祥云. 基于用户体验优化在线导购APP界面设计研究[D].华东理工大学,2019.DOI:10.27148/d.cnki.ghagu.2019.000167.
[17]王学文. 面向在线商城的客服问答系统的设计与实现[D].哈尔滨工业大学,2019.DOI:10.27061/d.cnki.ghgdu.2019.001214.
[18]朱重佳. 基于SSM框架的网购商城的设计与实现[D].北京交通大学,2018.
[19]周娟. 基于顾客需求的B2C电子商务网站满意度评价研究[D].南昌大学,2018.
[20]周星宇. 跨境电商在线商城订单子系统的设计与实现[D].南京大学,2018.
请关注点赞+私信博主,免费领取项目源码
本文围绕基于Spring Boot的网上书店管理系统展开,介绍了系统采用B/S结构、Java开发语言和MySQL数据库等技术。阐述了系统开发环境、需求分析、概要设计、详细设计等内容,还进行了系统测试,结果表明该系统符合用户需求,功能齐全、操作简便。
844

被折叠的 条评论
为什么被折叠?



