String str = "123"
参考方法一:
static String format(String format, Object… args)
format:待格式化的String
args:需要格式字符串中格式说明符引用的参数。
String.format("显示的数字为%s" , str );
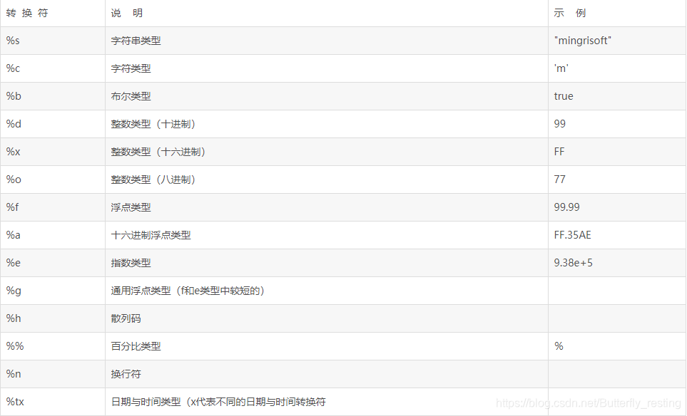
常用的格式转换,如图所示:

本文介绍如何使用Java的String.format()方法进行字符串格式化。通过实例演示了基本用法,包括如何将字符串变量插入到格式化字符串中。这对于需要在程序中动态生成带参数的字符串非常有用。
String str = "123"
参考方法一:
static String format(String format, Object… args)
format:待格式化的String
args:需要格式字符串中格式说明符引用的参数。
String.format("显示的数字为%s" , str );
常用的格式转换,如图所示:


被折叠的 条评论
为什么被折叠?