家乡特色饮食体验系统的设计与实现
摘 要
信息化社会内需要与之针对性的信息获取途径,但是途径的扩展基本上为人们所努力的方向,由于站在的角度存在偏差,人们经常能够获得不同类型信息,这也是技术最为难以攻克的课题。针对家乡特色饮食体验等问题,对家乡特色饮食体验进行研究分析,然后开发设计出家乡特色饮食体验系统以解决问题。
家乡特色饮食体验系统主要功能模块包括个人资料、公共管理(轮播图、公告信息)用户管理(管理员、系统用户)信息管理(交流平台、交流分类、热点资讯、资讯分类、美食信息、美食类型、饮食方案、留言反馈),采取面对对象的开发模式进行软件的开发和硬体的架设,能很好的满足实际使用的需求,完善了对应的软体架设以及程序编码的工作,采取MySQL作为后台数据的主要存储单元,采用SSM框架、java技术、Ajax技术进行业务系统的编码及其开发,实现了本系统的全部功能。本次报告,首先分析了研究的背景、作用、意义,为研究工作的合理性打下了基础。针对家乡特色饮食体验系统的各项需求以及技术问题进行分析,证明了系统的必要性和技术可行性,然后对设计系统需要使用的技术软件以及设计思想做了基本的介绍,最后来实现家乡特色饮食体验系统和部署运行使用它。
关键词:家乡特色饮食体验;SSM框架;MySQL数据库
Design and implementation of home characteristic food experience system
Abstract
In the information society, there is a need for targeted access to information, but the expansion of the access is basically the direction of people's efforts. Because of the deviation in the perspective, people can often obtain different types of information, which is also the most difficult subject for technology to overcome. Aiming at the problems of home characteristic food experience, this paper studies and analyzes the home characteristic food experience, and then develops and designs the home characteristic food experience system to solve the problems.
The main functional modules of the home characteristic food experience system include personal data, public management (broadcast map, announcement information), user management (administrator, system user), information management (communication platform, communication classification, hot information, information classification, food information, food type, food plan, message feedback), and the object-oriented development model is adopted for software development and hardware installation, It can well meet the needs of actual use, improve the corresponding software installation and program coding work, take MySQL as the main storage unit of background data, use SSM framework, java technology, Ajax technology to code and develop business systems, and realize all functions of the system. This report first analyzes the background, role and significance of the research, laying a foundation for the rationality of the research work. Based on the analysis of various requirements and technical problems of the home characteristic food experience system, the necessity and technical feasibility of the system are proved, and then the technical software and design ideas needed to be used in the design of the system are introduced. Finally, the home characteristic food experience system is implemented and deployed to use it.
Key words: home characteristic food experience; SSM framework; MySQL database
目 录
当前我国经济在快速发展。中国消费者迈进了数字化时代,但家乡特色饮食体验却慢了一拍。对中国大多数行业来说,互联网可以显著提高劳动生产率,但大多数具体的好处家乡特色饮食体验却尚未实现,更多地反映在与消费相关的层面。无论是美食的丰富度,还是价格的竞争力,还是相对的便利性,消费者大量转移到点餐平台已经大势所趋。
餐饮业的信息化改造内容,主要有:由传统的笔和纸点餐,改用电子点餐;由传统的人工计算、统计、管理,改用电脑进行计算、统计和管理;将现代的电子技术、无线技术、计算机技术和网络技术引入到餐饮行业中来,替代部分人工操作,加快餐饮企业的运转效率,提升餐饮企业的管理水平,使餐饮企业运作更规范、更科学、更高效。
目前我国饮食体验的发展还是处于初级阶段,饮食体验发展滞后,缺乏一个统一的管理体系,因此应该加强对饮食体验进行统一的建设和管理。根据我国现有的国情和现状借鉴欧美国家先进的饮食体验连锁经营经验,以求进一步的发展,以饮食体验的应用信息为平台,实施电子商务,对改善我国的饮食体验服务水平和提高竞争力都有很大的帮助,电子商务作为一条经济发展的新时速干线,能够帮助国内餐饮行业赶上国外同行。所以说建立一个完善的餐饮管理系统是尤为重要,统一管理饮食体验的事务从而得到蓬勃发展。
首先,通过引擎搜索或者查阅相关文献资料,了解了本系统开发的背景以及设计系统的意义所在,收集用户需求信息。其次,在开发工具上,最终确定选用SSM平台来设计开发本系统,Mysql作为设计数据库的工具。即利用java语言实现用户界面,并同数据库连接起来实现完整的通信功能。之后,设计出系统大致的功能模块。主要从方便系统用户和系统管理员的角度进行分析,明确该系统应该具有的功能。最终是测试系统,通过用例测试发现存在的问题并找到解决的方案。利用现有的开发平台,结合自己所学的知识,在老师的指导帮助下来完成该设计,确保系统的可用性、实用性。
超文本传输协议(HTTP)作为协作式与分布式的通信协议,其以万维网交换信息作为前提条件。HTTP为IEIF的国际化标准指标,在制定相关标准与实现内,W3C积极参与其中,同时发挥着不可替代的作用。其能够借助超文本标记语言,将文档在服务器与浏览器之间相互传输。HTML作为构架文档的标记语言,这些文档内将包括有关信息的链接,用户仅需要点击其中一个链接就能够访问多媒体对象与图像,同时获得该链接项所具有的附加信息[1][2]。
Java是美国sun公司所推出的一款程序设计语言,其能够在多个平台内应用,具有良好兼容性,进而其凭借自身优势在数据中心、个人PC与科技超级计算机等平台内广泛应用,具有目前最为庞大的开发者专业社群[3]。
JDK为美国sun公司为java开发员所推出的一款全新产品,要是没有JDK的情况下,所安装的java程序也就无法运行[4]。
HTML是一种制作网页的常用语言,它一般是用于制作静态页面。它的命令是可以体现文字信息、链接信息、图形信息和表格信息等等。现在它被大众普遍接受广泛应用在网络上[5]。
JSP可以放在在html里使用,也可以独自使用,它同时也具备有很多种优点,可以讲,Web脚本技术的先驱是JSP。现代编程语言(像C,Java和Perl等)的一些最好的特点都融合在JSP里,Web服务器里的一些配置标准是由JSP、Tomcat和数据库等的组合在一起的[6]。
MySQL经过多次的更新,功能层面已经非常的丰富和完善了,从MySQL4版本到5版本进行了比较大的更新,在商业的实际使用中取得了很好的实际应用效果。最新版本的MySQL支持对信息的压缩,同时还能进行加密能更好的满足对信息安全性的需求。同时经过系统的多次更新,数据库自身的镜像功能也得到了很大的增强,运行的流畅度和易用性方面有了不小的进步,驱动的使用和创建也更加的高效快捷。最大的变动还是进行了空间信息的显示优化,能更加方便的在应用地图上进行坐标的标注和运算。强大的备份功能也保证了用户使用的过程会更加安心,同时支持的Office特性还支持用户的自行安装和使用。在信息的显示形式上也进行了不小的更新,增加了两个非常使用的显示区,一个是信息区,对表格和文字进行了分类处理,界面的显示更加清爽和具体。第二是仪表的信息控件,能在仪表信息区进行信息的显示,同时还能进行多个信息的比对,为用户的实际使用带来了很大的便捷[7][8]。
针对本文中设计的家乡特色饮食体验系统在实际的实现过程中,最终选择MySQL数据库的主要原因在于在企业的应用系统应用及开发的过程中会存在大量的数据库比较频繁的操作,而且数据的安全性要求也是非常的高。综合这些因素,最终选择安全性系数比较高的MySQL来对家乡特色饮食体验系统后台数据进行存储操作[9][10]。
SpringMVC属于MVC架构,它将SSM当做前提,借助JSP及Servlet技术达成。且其渐趋呈现的良好性能,获得研发者的青睐及重视,其运用相当简易,且回应迅速灵敏。因为其把JSP、message resource、Servlet还有自界定标签加以有机结合起来,让编程者用不着再编制代码就能够达到MVC形式,提升了编写程序实效[11]。
Spring却属于SSM框架里相当强大的某一架构。它既对监管项目主体措施加以规范化整体化,且借助其本身的设计指引编程者侧重编订接口流程,而并非对类加以编程。其运用的核心是靠着JavaBean里的Inversion of Control容器。它供应了元件框架层的整体预案,且它达到对信息拜访的唯一抽象,供应了合理的JDBC架构,这一形式有效地缩减了出现失误的概率,提升了实效。另外其还交融了Hibernate等许多信息访问框架[12]。
Mybatis属于某一放开源代码的主体关系映射架构,其达到了基于JDBC的超轻量级封装目的,如此能够便于程序员依照本身的想法借助针对主体的措施对资料库加以运作。它能够跟任一JDBC融合,另外能够在用户端运用,也能够在Web端运用,它可以实现信息的长久化[13]。
技术性方面,采用当前主流的SSM框架进行系统主体框架的搭建,前台使用jquery,ajax,实现前台页面的设计与美观调整,以上技术,均由本人经过系统学习,并且都是在课程设计中实践过的,可以使得开发更加便捷和系统。从技术角度看,这个系统是完全可以实现的。
实用性方面,本次设计的主要任务是在家乡特色饮食体验系统内餐厅交流平台、交流分类、热点资讯、资讯分类、美食信息、美食类型、饮食方案、留言反馈等,符合当前潮流的发展。从用户角度出发,同时也考虑系统运营成本和人力资源,采用网络上的便捷方式,实现线上业务,使得业务流程更系统,也更方便用户的体验,比较实用。
经济性方面,由于本课题中设计的家乡特色饮食体验系统的主要目的是为了能够更加方便及快捷的进行信息的查询管理及检索服务,也就是能够可以直接投入使用的信息化软件。系统的主要成本主要是集中在对使用数据后期继续维护及其管理更新这个操作上。但是一旦系统投入到实际的运行及使用之后就能够很好的提高信息查询检索的效率,同时也需要有效的保证查询者的信息方面的安全性,同时这个家乡特色饮食体验系统所带来的实际应用方面的价值是远远的超过了实际系统进行开发与维护方面的成本,因此,从经济上来说开发这个软件是可行的。
家乡特色饮食体验系统的功能主要分为前台用户根据自己的需求进行注册登录,美食信息、美食类型并对选中的美食信息进行点赞、收藏操作。
用户用例图如下所示。

图3-1 用户用例图
管理员用例图如下所示。

图3-2 管理员用例图
首先主要考虑的是系统功能软件,在具体设计的环节上,是不是能够较好的满足各类用户的基本功能需求,如果不能较好的满足用户需求,那么这个系统的存在是没有价值的。软件系统的非功能性求分析,从7个方面展开,一个是性能分析,针对系统;一个是安全分析,针对系统,一个是完整度分析,针对系统,一个是可维护分析,针对系统,一个是可扩展性分析,针对系统,一个是适应业务的性能分析。面对家乡特色饮食体验系统存在的性能、安全、扩展、完整度等7个方面性能综合比对分析后发现,需要相应的非功能性需求分析。
安全性对每一个系统来说都是非常重要的。安全性很好的系统可以保护企业的信息和用户的信息不被窃取。提高系统的安全性不仅是对用户的负责,更是对企业的负责。尤其针对于家乡特色饮食体验系统来说,必须要有很好的安全性来保障整个系统。
系统具有对使用者有权限控制,针对角色的不通限制使用者的权限,以此来确保系统的安全性。
数据库中的数据是从外界输入的,当数据的输入时,由于种种原因,输入的数据会无效,或者是脏数据。因此,怎样保证输入的数据符合规定,成为了数据库系统,尤其是多用户的关系数据库系统首要关注的问题。
因此,在写入数据库时,要保证数据完整性、正确性和一致性。
对系统的数据流进行分析,系统的使用者分为二类,一般用户,管理员。系统主要对界面信息传送,登录信息的验证,注册信息的接收,用户各种操作的响应做处理。
系统顶层数据流图如下图所示。

图3-2 顶层数据流图
要判断用户是是什么身份,是根据登录的数据来判断后,跳转到对应的功能界面。在系统的内部用户就可以对数据进行操作,数据库中心就可以接收到系统传输的有效数据流来对数据sql语句进行对应操作。
系统底层数据流图如下图所示。

图3-3 底层数据流图
系统可以分为前台和后台两部分,每一种操作后系统都返回操作结果。前台和后台的数据连接主要通过数据库,既分别对数据库做不同的操作。
本家乡特色饮食体验系统的架构设计主要分为可以3层,主要有Web层,业务层,Model层。其中web层还包括View层和Controller层,Model层包括元数据扩展层和数据访问层。
系统架构如下图所示。

图4-1 系统架构
家乡特色饮食体验系统总体分为前台用户模块和后台管理员模块。
两个模块表现上是分别独立存在,但是访问的数据库是一样的。每一个模块的功能都是根据先前完成的需求分析,并查阅相关资料后整理制作的。
综上所述,系统功能结构图如下图所示。

图4-2 系统功能结构图
根据前面的数据流程图,结合系统的功能模块设计,设计出符合系统的各信息实体。
系统ER图如下图所示。

图4-3 系统ER图
家乡特色饮食体验系统所拥有的数据表有以下:用户信息表,美食信息表,订单表,配送员信息表,配送员配送表,餐位表、营业额表。
由于数据表较多,只展示系统主要数据表,如下表所示。
| diet_program | |||||
| 字段名称 | 类型 | 长度 | 不是null | 主键 | 字段说明 |
| diet_program_id | int | 11 | 是 | 主键 | 饮食方案ID |
| formulate_users | int | 11 | 否 | 制定用户 | |
| user_name | varchar | 64 | 否 | 用户姓名 | |
| programme_documents | varchar | 255 | 否 | 方案文件 | |
| implementation_steps | text | 0 | 否 | 实施步骤 | |
| examine_state | varchar | 16 | 是 | 审核状态 | |
| examine_reply | varchar | 16 | 否 | 审核回复 | |
| recommend | int | 11 | 是 | 智能推荐 | |
| create_time | datetime | 0 | 是 | 创建时间 | |
| update_time | timestamp | 0 | 是 | 更新时间 | |
| food_information | |||||
| 字段名称 | 类型 | 长度 | 不是null | 主键 | 字段说明 |
| food_information_id | int | 11 | 是 | 主键 | 美食信息ID |
| food_name | varchar | 64 | 否 | 美食名称 | |
| cover | varchar | 255 | 否 | 封面 | |
| region | varchar | 64 | 否 | 所属地区 | |
| flavor | varchar | 64 | 否 | 口味 | |
| food_type | varchar | 64 | 否 | 美食类型 | |
| food_materials | varchar | 64 | 否 | 美食材料 | |
| make_video | varchar | 255 | 否 | 制作视频 | |
| publish_user | int | 11 | 否 | 发布用户 | |
| food_details | longtext | 0 | 否 | 美食详情 | |
| hits | int | 11 | 是 | 点击数 | |
| praise_len | int | 11 | 是 | 点赞数 | |
| examine_state | varchar | 16 | 是 | 审核状态 | |
| recommend | int | 11 | 是 | 智能推荐 | |
| create_time | datetime | 0 | 是 | 创建时间 | |
| update_time | timestamp | 0 | 是 | 更新时间 | |
| food_type | |||||
| 字段名称 | 类型 | 长度 | 不是null | 主键 | 字段说明 |
| food_type_id | int | 11 | 是 | 主键 | 美食类型ID |
| food_type | varchar | 64 | 否 | 美食类型 | |
| recommend | int | 11 | 是 | 智能推荐 | |
| create_time | datetime | 0 | 是 | 创建时间 | |
| update_time | timestamp | 0 | 是 | 更新时间 | |
| message_feedback | |||||
| 字段名称 | 类型 | 长度 | 不是null | 主键 | 字段说明 |
| message_feedback_id | int | 11 | 是 | 主键 | 留言反馈ID |
| message_user | int | 11 | 否 | 留言用户 | |
| user_name | varchar | 64 | 否 | 用户姓名 | |
| message_content | text | 0 | 否 | 留言内容 | |
| message_date | date | 0 | 否 | 留言日期 | |
| examine_state | varchar | 16 | 是 | 审核状态 | |
| examine_reply | varchar | 16 | 否 | 审核回复 | |
| recommend | int | 11 | 是 | 智能推荐 | |
| create_time | datetime | 0 | 是 | 创建时间 | |
| update_time | timestamp | 0 | 是 | 更新时间 | |
| system_user | |||||
| 字段名称 | 类型 | 长度 | 不是null | 主键 | 字段说明 |
| system_user_id | int | 11 | 是 | 主键 | 系统用户ID |
| user_name | varchar | 64 | 否 | 用户姓名 | |
| gender | varchar | 64 | 否 | 性别 | |
| examine_state | varchar | 16 | 是 | 审核状态 | |
| recommend | int | 11 | 是 | 智能推荐 | |
| user_id | int | 11 | 是 | 用户ID | |
| create_time | datetime | 0 | 是 | 创建时间 | |
| update_time | timestamp | 0 | 是 | 更新时间 | |
该系统是通过jdbc和MySQL达成连接的,新建一个jdbc.properties文件来填写与数据库连接所需要的驱动和参数。
jdbc.driverClass=com.MySQL.jdbc.Driver
jdbc.url=jdbc:MySQL://localhost:3306/tsi
jdbc.username=root
jdbc.password=123
第一个参数代表MySQL数据库的驱动,第二个参数代表要连接的数据库,第三个和第四个参数代表数据库连接名和密码。
后台与数据库访问主要是通过HQL语句来进行查询的,查询语句中的表名是表格的实体类名,在这种查询语句中*是不允许使用的,除非适合聚合函数一起使用才可以。
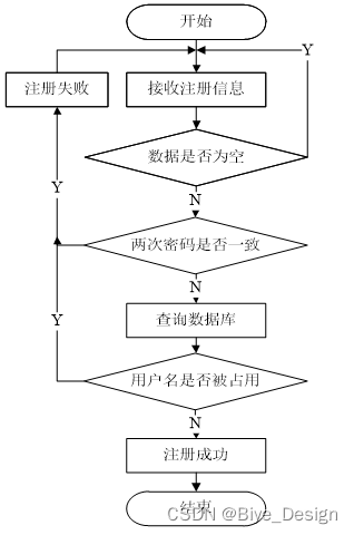
用户在填写数据的时候必须与注册页面上的验证相匹配否则会注册失败,注册页面的表单验证是通过JavaScript进行验证的,用户名的长度必须在6到18之间,邮箱必须带有@符号,密码和密码确认必须相同,你输入的密码,系统会根据你输入密码的强度给出指定的值,电话号码和身份证号码必须要求输入格式与生活相符合,当你前台验证通过的时候你点击注册,表单会将你输入的值通过name值传递给后台并保存到数据库中。
用户注册流程图如下图所示。

图5-1用户注册流程图
用户注册界面如下图所示。

图5-2用户注册界面
用户注册的关键代码如下。
* 注册
* @return
*/
@PostMapping("register")
public Map<String, Object> signUp(HttpServletRequest request) throws IOException {
// 查询用户
Map<String, String> query = new HashMap<>();
Map<String,Object> map = service.readBody(request.getReader());
query.put("username",String.valueOf(map.get("username")));
List list = service.selectBaseList(service.select(query, new HashMap<>()));
if (list.size()>0){
return error(30000, "用户已存在");
}
map.put("password",service.encryption(String.valueOf(map.get("password"))));
service.insert(map);
return success(1);
}
public Map<String,Object> readBody(BufferedReader reader){
BufferedReader br = null;
StringBuilder sb = new StringBuilder("");
try{
br = reader;
String str;
while ((str = br.readLine()) != null){
sb.append(str);
}
br.close();
String json = sb.toString();
return JSONObject.parseObject(json, Map.class);
}catch (IOException e){
e.printStackTrace();
}finally{
if (null != br){
try{
br.close();
}catch (IOException e){
e.printStackTrace();
}
}
}
return null;
}
public void insert(Map<String,Object> body){
E entity = JSON.parseObject(JSON.toJSONString(body),eClass);
baseMapper.insert(entity);
log.info("[{}] - 插入操作:{}",entity);
}
主要由两部分组成,登录前的登录界面以及登录后的用户功能界面。登录界面,要求用户输入用户名和密码,当用户名和密码其中一个输入为空时,给出提示“用户名,密码不能为空”。获取用户名和密码后到数据库中查找,如果用户名存在,以及对应的密码正确,则登录成功,否则登录失败。登录失败后给出提示,并把焦点停在文本框中。登录成功后将该次会话的全局变量username设置为用户名。登录成功后进入会员的功能模块,主要有会员基本信息修改,已经发布美食信息管理,发布信息,和退出功能。退出功能是清除全局变量username的值,并跳回到首页。
登录流程图如下图所示。

图5-3登录流程图
用户登录界面如下图所示。

图5-4用户登录界面
用户登录的关键代码如下。
* 登录
* @param data
* @param httpServletRequest
* @return
*/
@PostMapping("login")
public Map<String, Object> login(@RequestBody Map<String, String> data, HttpServletRequest httpServletRequest) {
log.info("[执行登录接口]");
String username = data.get("username");
String email = data.get("email");
String phone = data.get("phone");
String password = data.get("password");
List resultList = null;
QueryWrapper wrapper = new QueryWrapper<User>();
Map<String, String> map = new HashMap<>();
if(username != null && "".equals(username) == false){
map.put("username", username);
resultList = service.selectBaseList(service.select(map, new HashMap<>()));
}
else if(email != null && "".equals(email) == false){
map.put("email", email);
resultList = service.selectBaseList(service.select(map, new HashMap<>()));
}
else if(phone != null && "".equals(phone) == false){
map.put("phone", phone);
resultList = service.selectBaseList(service.select(map, new HashMap<>()));
}else{
return error(30000, "账号或密码不能为空");
}
if (resultList == null || password == null) {
return error(30000, "账号或密码不能为空");
}
//判断是否有这个用户
if (resultList.size()<=0){
return error(30000,"用户不存在");
}
User byUsername = (User) resultList.get(0);
Map<String, String> groupMap = new HashMap<>();
groupMap.put("name",byUsername.getUserGroup());
List groupList = userGroupService.selectBaseList(userGroupService.select(groupMap, new HashMap<>()));
if (groupList.size()<1){
return error(30000,"用户组不存在");
}
UserGroup userGroup = (UserGroup) groupList.get(0);
//查询用户审核状态
if (!StringUtils.isEmpty(userGroup.getSourceTable())){
String res = service.selectExamineState(userGroup.getSourceTable(),byUsername.getUserId());
if (res==null){
return error(30000,"用户不存在");
}
if (!res.equals("已通过")){
return error(30000,"该用户审核未通过");
}
}
//查询用户状态
if (byUsername.getState()!=1){
return error(30000,"用户非可用状态,不能登录");
}
String md5password = service.encryption(password);
if (byUsername.getPassword().equals(md5password)) {
// 存储Token到数据库
AccessToken accessToken = new AccessToken();
accessToken.setToken(UUID.randomUUID().toString().replaceAll("-", ""));
accessToken.setUser_id(byUsername.getUserId());
tokenService.save(accessToken);
// 返回用户信息
JSONObject user = JSONObject.parseObject(JSONObject.toJSONString(byUsername));
user.put("token", accessToken.getToken());
JSONObject ret = new JSONObject();
ret.put("obj",user);
return success(ret);
} else {
return error(30000, "账号或密码不正确");
}
}
public String select(Map<String,String> query,Map<String,String> config){
StringBuffer sql = new StringBuffer("select ");
sql.append(config.get(FindConfig.FIELD) == null || "".equals(config.get(FindConfig.FIELD)) ? "*" : config.get(FindConfig.FIELD)).append(" ");
sql.append("from ").append("`").append(table).append("`").append(toWhereSql(query, "0".equals(config.get(FindConfig.LIKE))));
if (config.get(FindConfig.GROUP_BY) != null && !"".equals(config.get(FindConfig.GROUP_BY))){
sql.append("group by ").append(config.get(FindConfig.GROUP_BY)).append(" ");
}
if (config.get(FindConfig.ORDER_BY) != null && !"".equals(config.get(FindConfig.ORDER_BY))){
sql.append("order by ").append(config.get(FindConfig.ORDER_BY)).append(" ");
}
if (config.get(FindConfig.PAGE) != null && !"".equals(config.get(FindConfig.PAGE))){
int page = config.get(FindConfig.PAGE) != null && !"".equals(config.get(FindConfig.PAGE)) ? Integer.parseInt(config.get(FindConfig.PAGE)) : 1;
int limit = config.get(FindConfig.SIZE) != null && !"".equals(config.get(FindConfig.SIZE)) ? Integer.parseInt(config.get(FindConfig.SIZE)) : 10;
sql.append(" limit ").append( (page-1)*limit ).append(" , ").append(limit);
}
log.info("[{}] - 查询操作,sql: {}",table,sql);
return sql.toString();
}
public List selectBaseList(String select) {
List<Map<String,Object>> mapList = baseMapper.selectBaseList(select);
List<E> list = new ArrayList<>();
for (Map<String,Object> map:mapList) {
list.add(JSON.parseObject(JSON.toJSONString(map),eClass));
}
return list;
}
用户登录/注册成功之后可以修改自己的基本信息。修改页面的表单中每一个input的name值都要与实体类中的参数相匹配,在用户点击修改页面的时候,如果改后用户名与数据库里面重复了,页面会提示该用户名已经存在了,否则通过Id来查询用户,并将用户的信息修改为表单提交的数据。
-
- 饮食方案管理模块的实现
如果饮食方案的信息需要修改,管理员可以通过查询饮食方案的基本信息来查询饮食方案,查询饮食方案是通过ajax技术来进行查询的,需要传递饮食方案的标题、编号等参数然后在返回到该页面中,可以选中要修改或删除的那条信息,如果选中了超过一条数据,页面会挑一个窗口提醒只能选择一条数,如果没有选中数据会挑一个窗口题型必须选择一条数据。当选择确认修改的时候,后台会根据传过来的id到数据库查询,并将结果返回到修改页面中,可以在修改页面中修改刚刚选中的信息当点击确认的时候from表单会将修改的数据提交到后台并保存到数据库中,就是说如果提交的数据数据库中存在就修改,否则就保存。
饮食方案展示界面如下图所示。

图5-5饮食方案展示界面
饮食方案管理界面如下图所示。

图5-6饮食方案管理界面
饮食方案发布的关键代码如下。
Map<String, Object> map = new HashMap<>();
if (o == null) {
map.put("result", null);
return map;
}
if (o instanceof List) {
if (((List) o).size() == 1) {
o = ((List) o).get(0);
map.put("result", o);
}else {
String jsonString = JSONObject.toJSONString(o);
JSONArray objects = service.covertArray(JSONObject.parseArray(jsonString));
map.put("result", objects);
}
} else if (o instanceof Integer || o instanceof String) {
map.put("result", o);
} else {
String jsonString = JSONObject.toJSONString(o);
JSONObject jsonObject = JSONObject.parseObject(jsonString);
JSONObject j = service.covertObject(jsonObject);
map.put("result", j);
}
return map;
}
用户可以发表自己的留言。将页面session中的用户账号userId和发表留言文字框内容传入控制层LiuyanAction,调用addLiuyan方法,通过LiuyanDAOImp向数据库留言表插入,将结果返回lyb.jsp界面。
留言添加流程图如下图所示。

图5-1留言添加流程图
留言发表界面如下所示。

图5-1留言发表界面
用户便可以对美食做出评论。点击按钮之后会跳转至评论填写页面,填写评论提交之后,后台通过PinglunController的publish方法将相关信息保存到数据库系统。
评论添加流程图如下图所示。

图5-1评论添加流程图
评论添加界面如下图所示。

图5-1评论添加界面
评论添加关键代码如下。
@Transactional
public Map<String, Object> add(HttpServletRequest request) throws IOException {
service.insert(service.readBody(request.getReader()));
return success(1);
}
@Transactional
public Map<String, Object> addMap(Map<String,Object> map){
service.insert(map);
return success(1);
}
-
- 美食信息模块的实现
此页面的关键是编写美食信息,包括美食编号,名称,详情等。单击提交按钮以完成信息的添加。如果未写入完整的美食信息,例如,如果未写入美食名称编号,系统将给出相应的错误提示,并且无法成功输入。数据以概念的形式以onsubmit =“return checkForm()”的形式写入以进行检查,checkForm()函数是一种用于写入数据的不同类型的校对方法,是不是为空也是经过form表单中的onsubmit=”return checkForm()来检查。
管理员点击左侧菜单“美食信息管理”,页面跳转到美食信息管理外观,调用后台美食查询所有美食信息。并将信息密封到数据集合List,绑定到请求对象,然后页面跳转到相应的jsp,显示出美食信息,单击删除按钮完成美食信息的删除。
美食信息流程图如下图所示。

图5-1美食信息流程图
美食信息界面如下图所示。

图5-1美食信息界面
美食信息界面如下图所示。

图5-1美食信息界面
美食信息的关键代码如下。
<filter>
<filter-name>CharacterEncodingFilter</filter-name>
<filter-class>org.springframework.web.filter.CharacterEncodingFilter</filter-class>
<init-param>
<param-name>encoding</param-name>
<param-value>UTF-8</param-value>
</init-param>
</filter>
<filter-mapping>
<filter-name>CharacterEncodingFilter</filter-name>
<url-pattern>/*</url-pattern>
</filter-mapping>
程序设计不能保证没有错误,这是一个开发过程,在错误或错误的过程中都是难以避免的。虽然这是不可避免的,但我们不能使这些错误始终存在于系统中,错误可能会造成无法估量的后果,如系统崩溃,安全信息泄露,系统无法正常启动等,为了避免这些问题我们需要测试程序,在测试过程中发现问题并纠正它们,从而使系统更长时间稳定成熟。
本章的作用是发现这些问题,并对其进行修改,虽然耗时费力,但对于长期使用而言是非常重要和必要系统的开发。
软件在设计后必须进行测试,调试过程中使用的方法是软件测试方法。在开发新软件时,系统测试是检查软件是否合格的关键步骤,以及是否符合设计目标的参考。测试主要是查看软件中数据的准确性,正确的操作与否,以及操作的结果,还有哪些方面需要改进。
家乡特色饮食体验系统的实现,对于系统中功能模块的实现及操作都必须通过测试进行来评判系统是否可以准确的实现。在家乡特色饮食体验系统正式上传使用之前必须做的一步就是系统测试,对于测试发现的错误及时修改处理,保证系统准确无误的供给用户使用。
在对家乡特色饮食体验系统进行测试的时候在找到问题的情况下必须在第一时间找到解决问题的办法,不要存在侥幸的心理,这样才能让疫情防控信息管理开发的质量可以过关,并且开发的周期会大大缩短,还有就是在测试时,不要出现重复性的错误,遇到一个错误问题,要将整个家乡特色饮食体验系统开发所牵扯的该问题都必须一一解决,提高疫情防控信息管理平台的安全性、稳定性。
白盒测试与黑盒测试是测试中比较常用的两种方法。
①结构测试俗称白盒测试:这种测试是在对程序的处理过程与结构都有详尽谅解的前提下,顺从程序内部的逻辑而完成的系统测试,以确定系统中所有的通路都能够遵照设计要求正常工作,不出现任何偏差。
②功能测试又成黑盒测试:主要是针对程序功能能够按照设计正常实现的一种检测,在程序接口处进行,检测程序手法数据是否正常,与外部信息的交换是否完整。
在软件的测试过程中,通常测试人员需要针对不同的功能模块设计多种测试用例。通过测试用例能够及时发现代码业务逻辑上是否与真实的业务逻辑相对应,及时发现代码上或逻辑上的缺陷,以此来来完善系统,提高软件产品的质量,使软件具有良好的用户体验。
注册测试用例表如下所示。
表6-1注册测试用例
| 测试性能 | 新用户注册 | ||
| 用例目的 | 测试系统新用户个人信息注册功能的功能和安全性 | ||
| 前提条件 | 进入注册页面填写个人信息 | ||
| 输入条件 | 预期输出 | 实际情况 | |
| 各项基本信息输入不完整 | 不允许注册,无法点击注册按钮 | 一致 | |
| 填写已存在的用户名 | 系统显示出提示信息,要求重新填写 | 一致 | |
| 两次密码输入不一致 | 系统显示出提示信息,要求重新填写 | 一致 | |
| 填写的各项信息没有符合提示的长度和字符要求 | 系统显示出提示信息,要求重新填写 | 一致 | |
| 胡乱填写电话号码 | 收不到验证码 | 一致 | |
| 填写验证码与收到的不一致 | 系统显示提示信息告知用户验证码错误,不予注册 | 一致 | |
登录测试用例表如下所示。
表6-2登录测试用例
| 测试性能 | 用户或操作员登录系统 | ||
| 用例目的 | 测试用户或操作员登录系统时功能是否正常 | ||
| 前提条件 | 进入用户登录页面或操作员登录页面 | ||
| 输入条件 | 预期输出 | 实际情况 | |
| 各项信息不予填写,直接点击登陆按钮 | 不允许登录,提示填写账号相关信息 | 一致 | |
| 填写错误的登录名或密码后点击登录系统 | 提示用户名或密码错误,要求重新填写进行登录 | 一致 | |
| 填写与验证码信息不一致的信息 | 系统显示出提示信息,表明验证码错误,要求重新填写 | 一致 | |
使用阿里云PTS(Performance Testing Service)性能测试服务对线上系统进行压力测试。线上服务器环境为:1核心CPU,1G内存,1Mbps公网带宽,Centos7.0操作系统。
压测过程中使用了2台并发机器,每台机器20个用户并发,对系统主页,登录,数据查询和数据维护等模块进行并发访问,测试结果是有40个用户并发时,数据管理相关页面的响应时间甚至达到了7s,通过查看服务器出网流量发现已经达到1381kb/s,可以看出服务器的带宽已经达到峰值,如果系统使用5Mbps的带宽,系统的响应时间和TPS将会大大增加。在整个测试的过程中,CPU的使用率占用仅8%,也提现出带宽瓶颈对系统的影响非常严重。
经过对一系列测试结果的有效分析,本平台开发系统符合用户的要求和需求。所有的基本功能相对齐全,操作起来简单方便,测试系统性能良好,作为大众化系统使用是比较值得推广宣传的。
随着计算机互联网技术的迅猛发展,各行各业都已经实现采用计算机相关技术对日益放大的数据进行管理。该课题是家乡特色饮食体验系统为核心展开的,主要是为了实现餐厅信息化管理的需求。
家乡特色饮食体验系统的开发是以Java编程语言作为基础,在Eclipse平台上完成编码工作,系统整体为B/S架构,数据库系统使用MySQL。文中详细分析了家乡特色饮食体验系统的研究背景、研究目的和意义、开发工具和相关技术以及系统需求、系统详细设计和系统测试等等一系列内容。系统实现了家乡特色饮食体验系统所需的一些基本功能,并通过测试对这些实现的功能进行了完善,进而提高了系统整体的实用性。整个系统的开发过程中大量使用了Java相关的知识以及前端开发使用的Html和Javascript等,同时涉及到了很多开源框架和组件,例如后台系统中运用的MVC架构、Freemarker模板引擎等,前端运用的UI框架等。
系统投入运行时,各功能均运行正常。系统的每个界面的操作符合常规逻辑,对使用者来说操作简单,界面友好。整个系统的各个功能设计合理,体现了人性化。
但是由于自己在系统开发过程中对一些用到的相关知识和技术掌握不够牢固,再加上自身开发经验欠缺,因此系统在有些方面的功能还不够完善,考虑的不够全面,因此整个系统还有待日后逐步完善。
参考文献
[1]刘新宇,易蕾香,肖斌斌,赵军霞.期末在线测评系统的设计与实现[J].现代信息科技,2020,4(02):1-3.
[2]张丽.学生德育分数管理系统的创意[J].电脑编程技巧与维护,2020(01):92-94.
[3]陈旭创,潘远文,王肖文,程捷.基于MVC模式的Web医疗设备租赁系统应用[J].医疗装备,2020,33(01):24-27.
[4]谢松清,张桂花.基于MVC的校园闲置物品置换系统设计[J].信息与电脑(理论版),2020,32(01):98-99.
[5]耿学.关于JavaWeb中中文乱码问题的探讨[J].现代信息科技,2020,4(01):74-75+78.
[6]周灵辉,范国婷,任乐琦,韦斯羽,王妮,侯大有.企业知识库管理系统的设计与实现[J].电脑知识与技术,2020,16(01):77-78+85.
[7]徐刚,翟梦娇.基于SSM的美容资讯商务网站的设计与实现[J].商丘职业技术学院学报,2019,18(06):65-71.
[8]陈舒祥.基于JSP技术的德育分数管理系统设计与实现[J].电脑编程技巧与维护,2019(12):118-120.
[9]毋世晓.基于MVC的BBS论坛创建与实现[J].电脑编程技巧与维护,2019(12):21-23.
[10]陈学明.基于SpringBoot+ExtJS的企业应用系统通用平台的设计与实现[J].电脑知识与技术,2019,15(35):63-66+69.
[11]吴峰,范文宇,谢宏博,赵丽.基于JSP+Servlet的企业族谱分析[J].计算机时代,2019(12):30-32+37.
[12]孟悦,赵诗奎.融合路径重连的混合算法求解作业车间调度问题[J].机械工程师,2019(12):32-36+39.
[13]王晓芳,刘鹍,荆山,赵燕.基于工程教育专业认证的JSP应用程序设计课程改革[J].计算机教育,2019(12):46-50.
[14]赵国文,夏平平.基于SSM的人事管理系统的设计与实现[J].现代工业经济和信息化,2019,9(11):88-89.
[15]王萍.智能设备下的应用软件开发关键技术分析[J].科学技术创新,2019(34):74-75.
[16]MuhamadBahri.Analysisofthewater,energy,foodandlandnexususingthesystemarchetypes:AcasestudyintheJatiluhurreservoir,WestJava,Indonesia[J].ScienceoftheTotalEnvironment,2020,716.
[17]BahriMuhamad.Analysisofthewater,energy,foodandlandnexususingthesystemarchetypes:AcasestudyintheJatiluhurreservoir,WestJava,Indonesia.[J].TheScienceofthetotalenvironment,2020,716.
[18].TreeGeneticsandGenomics;StudiesfromUniversityofTsukubaYieldNewInformationaboutTreeGeneticsandGenomics(GeneticDiversityandtheOriginofCommercialPlantationofIndonesianTeakOnJavaIsland)[J].AgricultureWeek,2020.
[19]FajarYulianto,Suwarsono,UdhiCaturNugroho,NunungPujiNugroho,WismuSunarmodo,MuhammadRokhisKhomarudin.Spatial-TemporalDynamicsLandUse/LandCoverChangeandFloodHazardMappingintheUpstreamCitarumWatershed,WestJava,Indonesia[J].QuaestionesGeographicae,2020,39(1).
[20]RudiartoIwan,HidayaniRizqa,FisherMicah.Thebilocalmigrant:Economicdriversofmobilityacrosstherural-urbaninterfaceinCentralJava,Indonesia[J].JournalofRuralStudies,2020,74(C).
致谢
本次设计历时3个月。在这个毕业设计中,它离不开指导教师的指导,使事情基本顺利。指导老师无论是在毕业设计历经中,还是在论文做完中都给了了我特别大的助益。另1个方面,教师认真负责的工作姿态,谨慎的教学精神厚重的理论水准都使我获益匪浅。他勤恳谨慎的教学育人学习姿态也给我留下了特别特别深的感觉。我从老师那里学到了很多东西。在理论和实践中,我的技能得到了特别大的提高。在此,特向教师表示由衷的感激。
经过对该毕业设计的全部研究和开发,我的系统研发经历了从需求分析到实现详细功能,再到最终测试和维护的特殊进展。让我对系统研发有了更深层次的认识。如今我的动手本领单独处理疑惑的本领也获取到了特别大的演练学习增多,这是这次毕业设计最好的收获。
最后,在整个系统开发过程中,我周围的同学和朋友给了我很多意见,所以我很快就确认了系统的商业思想。在次,我由衷的向他们表示感激。
免费领取项目源码,请关注❥点赞收藏并私信博主,谢谢~
本文围绕家乡特色饮食体验系统展开,分析了研究背景、现状与方法,介绍了HTTP、Java等相关技术。系统采用面向对象开发模式,以MySQL为数据库,用SSM框架、Java和Ajax技术开发。经测试,系统符合需求,但因开发者经验不足,部分功能待完善。

被折叠的 条评论
为什么被折叠?



