摘 要
在目前的形势下,科技力量已成为我国的主要竞争力。而在科学技术领域,计算机的使用逐渐达到成熟,无论是从国家到企业再到家庭,计算机都发挥着其不可替代的作用,可以说计算机的可用领域遍及生活、工作的各个方面。而对于软件系统的管理便是计算机更为重要的一环,其进行软件系统管理有它独特的优势,可以发挥出更加高效、便捷、减小成本、大储量、延长使用期限的作用。
本次系统设计中,以用户的实际操作感作为整体开发的出发点,结合Java开发语言对软件开发原理,本次软件的开发以实际运用作为出发点,以改善家教服务管理效率为目的,使用SpingBoot框架技术整体开发源程序,最终实现一个家教服务管理管理系统。在整体的开发过程中,首先了解用户的需要,分析现状及问题点,参考成熟的类似系统,不断改进,最终实现系统的设计开发。
本系统使用Java技术开发,SpringBoot框架,采用的数据库是Mysql。在设计过程中,充分保证了系统代码的良好可读性、实用性、易扩展性、通用性、便于后期维护、操作方便以及页面简洁等特点。
关键词:家教服务管理系统,Java,SpringBoot,Mysql
SpringBoot tutoring service management system
ABSTRACT
In the current situation, technological strength has become China's main competitiveness. In the field of science and technology, the use of computers has gradually reached maturity. Whether it is from the country, enterprises, or households, computers play an irreplaceable role. It can be said that the available fields of computers cover all aspects of life and work. The management of software systems is a more important part of computers, and its management of software systems has its unique advantages, which can play a more efficient, convenient, cost reducing, large storage, and extended service life role.
In this system design, the user's practical sense of operation is taken as the starting point for overall development, combined with the principles of Java development language for software development. The software development is based on practical application, with the aim of improving the efficiency of tutoring service management. The SpringBoot framework technology is used to develop the source program as a whole, and ultimately a tutoring service management system is implemented. In the overall development process, first understand the needs of users, analyze the current situation and problem points, refer to mature similar systems, continuously improve, and ultimately achieve the design and development of the system.
This system is developed using Java technology and the SpringBoot framework, using MySQL as the database. During the design process, the system code was fully guaranteed to have good readability, practicality, scalability, universality, ease of later maintenance, easy operation, and concise pages.
Key words: tutoring service management system, Java, SpringBoot, MySQL
目 录
第1章 绪论
1.1研究背景
近年来我国网络技术被广泛的应用到了各个领域当中,我国的企业信息化的进程也在不断加快,通过计算机来实现各种信息的管理已经成为了各个行业发展的趋势。对于家教这个行业来说,家教现在已经成为了当今社会教学中最广泛的一种形式,家教的市场范围十分广阔,不但学生需要家教,很多成人在学习中同样需要家教的支持,尤其是在一二线城市当中,随着人们生活水平的提高以及对教育的重视,对家教的需求也不断的增加,导致了家教行业的竞争不断加大。
伴随着我国教育体制的不断改革,培训机构面对市场对家教的高需求,各种培训机构也逐渐发展壮大,目前市面上有很多在线家教网站,用户通过上网搜索可以找到很多的机构以及选择教师,可以在线预约老师实现线上辅导,但是线上辅导这种方式对很多家长来说是不能接受的,一方面是孩子小,通过线上学习达不到线下授课的效果,另一方面是线上教学需要长时间面对电脑这种电子产品,非常不方便。如果到培训机构找专职的一对一上门家教价格非常昂贵,这就使得很多用户开始找家教进行辅导,其中比较受欢迎的是大学生家教,不但能给家长节省了培训方面的费用,而且为大学生提供了一个勤工俭学、参加社会实践的机会,实现了双赢的局面,因此结合这种现状以及家教服务管理的实际情况,设计开发了本家教服务管理系统。
1.2 研究意义
二十一世纪是一个知识改变命运的世纪,从我们还在胎儿的时候就开始有胎教,然后到学前教育,再到幼儿园、九年义务教育、高中、大学,可以说处于当今社会的我们,大学生随处可见,使得大学生就业压力越来越大,就业的形式也不断严峻,因此现在的大学生为了提前适应社会,更好的融入到社会当中,很多在校的学生都会在课余时间进行兼职,这种方式不仅能够减轻家里的经济负担,给自己赚点零花钱,更为重要的是能够通过兼职这种就业方式获得更多的工作经验,提高自己的素质(包括了沟通、实践以及学识等方面)。
在校期间通过对大学生兼职人数方面的调研发现,目前有80%的大学生都或多或少的做过兼职,很多学生都是通过招聘网或者熟人介绍选择职业,也有的同学通过学校的招聘广告以及宣传单进行兼职,很少是通过专门的平台来进行就业的,而家教服务管理系统为广大学生提供了一个便捷的、专业的求职就业平台,这个平台主要是建立在使用者(学生和家教)和管理员之间的,通过这个平台,能够让平台的两端用户(学生和家教)进行及时有效的沟通,让学生能够自由的查看家教的信息,从而实现在线咨询、预约,从而节约学生以及家教的时间,这种线上的方式与传统的家教服务相比,线上方式更加便捷,更加有利于家教工作顺利有效的开展。
1.3 研究的内容
目前许多人仍将传统的单机设备作为信息管理的主要工具,而网络技术的应用只是起到辅助作用。在对网络工具的认知程度上,较为传统的office软件等仍是人们使用的主要工具,而面向各个专门行业的管理系统的信息管理软件仍然缺乏群众基础。本选题则旨在通过标签分类管理等方式,实现个人资料,公告管理(轮播图,平台公告),用户管理(管理员,注册用户,家教),信息管理(行业资讯,资讯分类,在线测试),家教分类,家教信息,家教预约,错题收纳,星级评级,不良反馈,反馈处罚等功能。
第2章 相关技术
2.1开发技术
本系统前端框架采用了比较流行的渐进式JavaScript框架Vue.js。使用Vue-Router和Vuex实现动态路由和全局状态管理,Ajax实现前后端通信,Element UI组件库使页面快速成型。后端部分:采用SpringBoot作为开发框架,同时集成MyBatis、Redis等相关技术。
2.2 Java简介
Java主要采用CORBA技术和安全模型,可以在互联网应用的数据保护。它还提供了对EJB(Enterprise JavaBeans)的全面支持,Java servlet API,JSP(Java server pages),和XML技术。Java语言是一种面向对象的语言,它通过提供最基本的方法来完成指定的任务,开发者只需要知道一些概念就能够编写出一些应用程序。Java程序相对较小,其代码能够在小机器上运行。Java是一种计算机编程语言,具有封装、继承和多态性三个主要特性,广泛应用于企业Web应用程序开发和移动应用程序开发。
Java语言和一般编译器以及直译的区别在于,Java首先将源代码转换为字节码,然后将其转换为JVM的可执行文件,JVM可以在各种不同的JVM上运行。因此,实现了它的跨平台特性。虽然这使得Java在早期非常缓慢,但是随着Java的开发,它已经得到了改进。
2.3 MVVM模式
MVVM是Model-View-ViewModel的简写。它本质上就是MVC 的改进版。MVVM 就是将其中的View 的状态和行为抽象化,让我们将视图 UI 和业务逻辑分开。当然这些事 ViewModel 已经帮我们做了,它可以取出 Model 的数据同时帮忙处理 View 中由于需要展示内容而涉及的业务逻辑。微软的WPF带来了新的技术体验,如Silverlight、音频、视频、3D、动画……,这导致了软件UI层更加细节化、可定制化。同时,在技术层面,WPF也带来了 诸如Binding、Dependency Property、Routed Events、Command、DataTemplate、ControlTemplate等新特性。MVVM(Model-View-ViewModel)框架的由来便是MVP(Model-View-Presenter)模式与WPF结合的应用方式时发展演变过来的一种新型架构框架。它立足于原有MVP框架并且把WPF的新特性糅合进去,以应对客户日益复杂的需求变化。
2.4 B/S结构
B/S(Browser/Server)比前身架构更为省事的架构。它借助Web server完成数据的传递交流。只需要下载浏览器作为客户端,那么工作就达到“瘦身”效果, 不需要考虑不停装软件的问题。
2.5 MySQL数据库
Mysql的语言是非结构化的,用户可以在数据上进行工作。MySQL因为其速度、可靠性和适应性而备受关注。大多数人都认为在不需要事务化处理的情况下,MySQL是管理内容最好的选择。并且因为Mysql的语言和结构比较简单,但是功能和存储信息量很强大,所以得到了普遍的应用。
Mysql数据库在编程过程中的作用是很广泛的,为用户进行数据查询带来了方便。Mysql数据库的应用因其灵活性强,功能强大,所以在实现某功能时只需要一小段代码,而不像其他程序需要编写大段代码。总体来说,Mysql数据库的语言相对要简洁很多。
数据流程分析主要就是数据存储的储藏室,它是在计算机上进行的,而不是现实中的储藏室。数据的存放是按固定格式,而不是无序的,其定义就是:长期有固定格式,可以共享的存储在计算机存储器上。数据库管理主要是数据存储、修改和增加以及数据表的建立。为了保证系统数据的正常运行,一些有能力的处理者可以进行管理而不需要专业的人来处理。数据表的建立,可以对数据表中的数据进行调整,数据的重新组合及重新构造,保证数据的安全性。介于数据库的功能强大等特点,本系统的开发主要应用了Mysql进行对数据的管理。
2.6 SpringBoot框架
Spring框架是Java平台上的一种开源应用框架,提供具有控制反转特性的容器。尽管Spring框架自身对编程模型没有限制,但其在Java应用中的频繁使用让它备受青睐,以至于后来让它作为EJB(EnterpriseJavaBeans)模型的补充,甚至是替补。Spring框架为开发提供了一系列的解决方案,比如利用控制反转的核心特性,并通过依赖注入实现控制反转来实现管理对象生命周期容器化,利用面向切面编程进行声明式的事务管理,整合多种持久化技术管理数据访问,提供大量优秀的Web框架方便开发等等。Spring框架具有控制反转(IOC)特性,IOC旨在方便项目维护和测试,它提供了一种通过Java的反射机制对Java对象进行统一的配置和管理的方法。Spring框架利用容器管理对象的生命周期,容器可以通过扫描XML文件或类上特定Java注解来配置对象,开发者可以通过依赖查找或依赖注入来获得对象。Spring框架具有面向切面编程(AOP)框架,SpringAOP框架基于代理模式,同时运行时可配置;AOP框架主要针对模块之间的交叉关注点进行模块化。Spring框架的AOP框架仅提供基本的AOP特性,虽无法与AspectJ框架相比,但通过与AspectJ的集成,也可以满足基本需求。Spring框架下的事务管理、远程访问等功能均可以通过使用SpringAOP技术实现。Spring的事务管理框架为Java平台带来了一种抽象机制,使本地和全局事务以及嵌套事务能够与保存点一起工作,并且几乎可以在Java平台的任何环境中工作。Spring集成多种事务模板,系统可以通过事务模板、XML或Java注解进行事务配置,并且事务框架集成了消息传递和缓存等功能。Spring的数据访问框架解决了开发人员在应用程序中使用数据库时遇到的常见困难。它不仅对Java:JDBC、iBATS/MyBATIs、Hibernate、Java数据对象(JDO)、ApacheOJB和ApacheCayne等所有流行的数据访问框架中提供支持,同时还可以与Spring的事务管理一起使用,为数据访问提供了灵活的抽象。Spring框架最初是没有打算构建一个自己的WebMVC框架,其开发人员在开发过程中认为现有的StrutsWeb框架的呈现层和请求处理层之间以及请求处理层和模型之间的分离不够,于是创建了SpringMVC。
第3章 系统分析
3.1 需求分析
家教服务管理系统主要是借助信息管理系统,方便管理人员对家教信息,资讯等内容实现信息化管理,提高管理效率。更好存储所有数据信息及快速方便的检索功能。对系统的各个模块是通过许多今天的发达系统做出合理的分析来确定考虑用户的可操作性,遵循开发的系统优化的原则,经过全面的调查和研究。
系统所要实现的功能分析,对于现在网络方便的管理,系统要实现用户可以直接在平台上进行查看所有数据信息,根据需求可以进行在线添加,删除或修改信息,这样既能节省时间,不用再像传统的方式耽误时间,真的很难去满足用户的各种需求。所以家教服务管理系统的开发不仅仅是能满足用户的需求,还能提高管理员的工作效率,减少原有不必要的工作量。
3.2 系统可行性分析
3.2.1技术可行性
该系统在Windows操作系统中进行开发,并且目前PC机的性能已经可以胜任普通网站的web服务器。系统开发所使用的技术也都是自身所具有的,也是当下广泛应用的技术之一。
系统的开发环境和配置都是可以自行安装的,系统使用JavaScript框架Vue.js,使用比较成熟的Mysql数据库进行对系统前台及后台的数据交互,根据技术语言对数据库,结合需求进行修改维护,可以使得网站运行更具有稳定性和安全性,从而完成实现网站的开发。
(1)硬件可行性分析
家教服务管理系统及信息分析的设计对于所使用的计算机没有什么硬性的要求,计算机只要可以正常的使用进行代码的编写及页面设计就可行,主要是对于服务器有些要求,对于平台搭建完成要上传的服务器是有一定的要求的,服务器必须选择安全性比较高的,然后就是在打开网站必须顺畅,不能停顿太长时间;性价比高;安全性高。
(2)软件可行性分析
开发整个系统使用的是云计算,流量的可扩展性和基于流量的智能调整云计算的优点就是流量的可扩展性和基于流量的智能调整,保障系统的安全及数据信息的及时备份。
因此,我们从两个方面进行了可行性研究,可以看出系统的开发没有问题。
3.2.2经济可行性
在家教服务管理系统开发之前所做的市场调研及相关的管理系统,都是没有任何费用的,都是通过开发者自己的努力,所有的工作的都是自己亲力亲为,在碰到自己比较难以解决的问题,大多是通过同学和指导老师的帮助进行相关信息的解决,所以对于家教服务管理系统的开发在经济上是完全可行的,没有任何费用支出的。
3.2.3操作可行性
可操作性主要是对家教服务管理系统设计完成后,用户的使用体验度,以及管理员可以通过系统随时管理相关的数据信息,并且对于管理员、注册用户,家教三个用户角色,都可以简单明了的进入到自己的系统界面,通过界面导航菜单可以简单明了地操作功能模块,方便用户信息的操作需求和管理员管理数据信息,对于系统的操作,不需要专业人员都可以直接进行功能模块的操作管理,所以在系统的可操作性是完全可以的。本系统的操作使用的也是界面窗口进行登录,所以操作人员只要会简单的电脑操作就完全可以的。
3.3 项目设计目标与原则
1、关于家教服务管理系统的基本要求
(1)功能要求:主页,个人资料,公告管理(轮播图,平台公告),用户管理(管理员,注册用户,家教),信息管理(行业资讯,资讯分类,在线测试),家教分类,家教信息,家教预约,错题收纳,星级评级,不良反馈,反馈处罚等功能模块。
(2)性能:在不同操作系统上均能无差错实现在不同类型的用户登入相应界面后能不出差错、方便地进行预期操作。
(3)安全与保密要求:用户都必须通过身份验证才能进入系统,并且用户的权限也需要根据用户的类型进行限定。
(4)环境要求:支持多种平台,可在Windows系列、Vista系统等多种操作系统下使用。
2、开发目标
家教服务管理系统的主要开发目标如下:
(1)实现管理系统信息关系的系统化、规范化和自动化;
(2)减少维护人员的工作量以及实现用户对信息的控制和管理。
(3)方便查询信息及管理信息等;
(4)通过网络操作,改善处理问题的效率,提高操作人员利用率;
(5)考虑到用户多样性特点,要求界面简单,操作简便。
3、设计原则
本系统采用Java技术,Mysql数据库开发,充分保证了系统稳定性、完整性。
家教服务管理系统的设计与实现的设计思想如下:
- 操作简单方便、系统界面安全良、简单明了的页面布局、方便查询相关信息。
2、即时可见:对家教服务管理系统信息的处理将可以实时查询到,从而实现“即时发布、即时见效”的系统功能。
3、功能的完善性:拥有主页,个人资料,公告管理(轮播图,平台公告),用户管理(管理员,注册用户,家教),信息管理(行业资讯,资讯分类,在线测试),家教分类,家教信息,家教预约,错题收纳,星级评级,不良反馈,反馈处罚等模块的修改维护操作。
3.4系统流程分析
3.4.1操作流程

图3-1登录流程图
3.4.2添加信息流程
添加信息流程图,如图所示:

图3-2添加信息流程图
3.4.3删除信息流程
删除信息流程图,如图所示:

图3-3删除信息流程图
第4章 系统设计
4.1 系统体系结构
本系统选择B/S结构(Browser/Server,浏览器/服务器结构)和基于Web服务两种模式。适合在互联网上进行操作,只要用户能连网,任何时间、任何地点都可以进行系统的操作使用。系统工作原理图如图4-1所示:

图4-1 系统工作原理图
4.2系统结构设计
整个系统是由多个功能模块组合而成的,要将所有的功能模块都一一列举出来,然后进行逐个的功能设计,使得每一个模块都有相对应的功能设计,然后进行系统整体的设计。
本系统结构图如图4-2所示。

图4-2 系统功能结构图
4.3开发流程设计
系统流程的分析是通过调查系统所涉及问题的识别、可行性、可操作性、系统分析处理能力等具体环节来调节、整理系统的设计方案以确保系统能达到理想的状态。这些操作都要从注册、登录处着眼进行一系列的流程测试保证数据库的完整,从而把控系统所涉及信息管理的安全、保证信息输入、输出正常转换。然后,通过实际操作完成流程图的绘制工作。
家教服务管理系统的开发对管理模块和系统使用的数据库进行分析,编写代码,系统测试,如图4-4所示。

图4-4开发系统流程图
4.4 数据库设计原则
学习编程,我们都知道数据库设计是基于需要设计的系统功能,我们需要建立一个数据库关系模型,用于存储数据信息,这样当我们在程序中时,就没有必要为程序页面添加数据,从而提高系统的效率。数据库存储了很多信息,可以说是信息管理系统的核心和基础,数据库还提供了添加、删除、修改和检查,使系统能够快速找到自己想要的信息,而不是在程序代码中找到。数据库中信息表的每个部分根据一定的关系精确地组合,排列和组合成数据表。
通过家教服务管理系统的功能进行规划分成几个实体信息,实体信息将通过ER图进行说明,本系统的主要实体图如下:
管理员信息属性图如图4-5所示。

图4-5 管理员信息实体属性图
系统的E-R图如下图所示:

图4-6系统E-R图
4.5 数据表
将数据库概念设计的E-R图转换为关系数据库。在关系数据库中,数据关系由数据表组成,但是表的结构表现在表的字段上。
表access_token (登陆访问时长)
| 编号 | 名称 | 数据类型 | 长度 | 小数位 | 允许空值 | 主键 | 默认值 | 说明 |
| 1 | token_id | int | 10 | 0 | N | Y | 临时访问牌ID | |
| 2 | token | varchar | 64 | 0 | Y | N | 临时访问牌 | |
| 3 | info | text | 65535 | 0 | Y | N | ||
| 4 | maxage | int | 10 | 0 | N | N | 2 | 最大寿命:默认2小时 |
| 5 | create_time | timestamp | 19 | 0 | N | N | CURRENT_TIMESTAMP | 创建时间: |
| 6 | update_time | timestamp | 19 | 0 | N | N | CURRENT_TIMESTAMP | 更新时间: |
| 7 | user_id | int | 10 | 0 | N | N | 0 | 用户编号: |
| 编号 | 名称 | 数据类型 | 长度 | 小数位 | 允许空值 | 主键 | 默认值 | 说明 |
| 1 | appointment_of_tutor_id | int | 10 | 0 | N | Y | 家教预约ID | |
| 2 | tutor_no | int | 10 | 0 | Y | N | 0 | 家教编号 |
| 3 | name_of_tutor | varchar | 64 | 0 | Y | N | 家教姓名 | |
| 4 | education | varchar | 64 | 0 | Y | N | 学历 | |
| 5 | teaching_subjects | varchar | 64 | 0 | Y | N | 教学科目 | |
| 6 | tutor_fee | varchar | 64 | 0 | Y | N | 家教费 | |
| 7 | user_no | int | 10 | 0 | Y | N | 0 | 用户编号 |
| 8 | full_name | varchar | 64 | 0 | Y | N | 姓名 | |
| 9 | booking_time | datetime | 19 | 0 | Y | N | 预约上课时间 | |
| 10 | class_requirements | text | 65535 | 0 | Y | N | 上课要求 | |
| 11 | examine_state | varchar | 16 | 0 | N | N | 未审核 | 审核状态 |
| 12 | examine_reply | varchar | 16 | 0 | Y | N | 审核回复 | |
| 13 | pay_state | varchar | 16 | 0 | N | N | 未支付 | 支付状态 |
| 14 | pay_type | varchar | 16 | 0 | Y | N | 支付类型: 微信、支付宝、网银 | |
| 15 | recommend | int | 10 | 0 | N | N | 0 | 智能推荐 |
| 16 | create_time | datetime | 19 | 0 | N | N | CURRENT_TIMESTAMP | 创建时间 |
| 17 | update_time | timestamp | 19 | 0 | N | N | CURRENT_TIMESTAMP | 更新时间 |
| 编号 | 名称 | 数据类型 | 长度 | 小数位 | 允许空值 | 主键 | 默认值 | 说明 |
| 1 | article_id | mediumint | 8 | 0 | N | Y | 文章id:[0,8388607] | |
| 2 | title | varchar | 125 | 0 | N | Y | 标题:[0,125]用于文章和html的title标签中 | |
| 3 | type | varchar | 64 | 0 | N | N | 0 | 文章分类:[0,1000]用来搜索指定类型的文章 |
| 4 | hits | int | 10 | 0 | N | N | 0 | 点击数:[0,1000000000]访问这篇文章的人次 |
| 5 | praise_len | int | 10 | 0 | N | N | 0 | 点赞数 |
| 6 | create_time | timestamp | 19 | 0 | N | N | CURRENT_TIMESTAMP | 创建时间: |
| 7 | update_time | timestamp | 19 | 0 | N | N | CURRENT_TIMESTAMP | 更新时间: |
| 8 | source | varchar | 255 | 0 | Y | N | 来源:[0,255]文章的出处 | |
| 9 | url | varchar | 255 | 0 | Y | N | 来源地址:[0,255]用于跳转到发布该文章的网站 | |
| 10 | tag | varchar | 255 | 0 | Y | N | 标签:[0,255]用于标注文章所属相关内容,多个标签用空格隔开 | |
| 11 | content | longtext | 2147483647 | 0 | Y | N | 正文:文章的主体内容 | |
| 12 | img | varchar | 255 | 0 | Y | N | 封面图 | |
| 13 | description | text | 65535 | 0 | Y | N | 文章描述 |
| 编号 | 名称 | 数据类型 | 长度 | 小数位 | 允许空值 | 主键 | 默认值 | 说明 |
| 1 | type_id | smallint | 5 | 0 | N | Y | 分类ID:[0,10000] | |
| 2 | display | smallint | 5 | 0 | N | N | 100 | 显示顺序:[0,1000]决定分类显示的先后顺序 |
| 3 | name | varchar | 16 | 0 | N | N | 分类名称:[2,16] | |
| 4 | father_id | smallint | 5 | 0 | N | N | 0 | 上级分类ID:[0,32767] |
| 5 | description | varchar | 255 | 0 | Y | N | 描述:[0,255]描述该分类的作用 | |
| 6 | icon | text | 65535 | 0 | Y | N | 分类图标: | |
| 7 | url | varchar | 255 | 0 | Y | N | 外链地址:[0,255]如果该分类是跳转到其他网站的情况下,就在该URL上设置 | |
| 8 | create_time | timestamp | 19 | 0 | N | N | CURRENT_TIMESTAMP | 创建时间: |
| 9 | update_time | timestamp | 19 | 0 | N | N | CURRENT_TIMESTAMP | 更新时间: |
| 编号 | 名称 | 数据类型 | 长度 | 小数位 | 允许空值 | 主键 | 默认值 | 说明 |
| 1 | auth_id | int | 10 | 0 | N | Y | 授权ID: | |
| 2 | user_group | varchar | 64 | 0 | Y | N | 用户组: | |
| 3 | mod_name | varchar | 64 | 0 | Y | N | 模块名: | |
| 4 | table_name | varchar | 64 | 0 | Y | N | 表名: | |
| 5 | page_title | varchar | 255 | 0 | Y | N | 页面标题: | |
| 6 | path | varchar | 255 | 0 | Y | N | 路由路径: | |
| 7 | position | varchar | 32 | 0 | Y | N | 位置: | |
| 8 | mode | varchar | 32 | 0 | N | N | _blank | 跳转方式: |
| 9 | add | tinyint | 3 | 0 | N | N | 1 | 是否可增加: |
| 10 | del | tinyint | 3 | 0 | N | N | 1 | 是否可删除: |
| 11 | set | tinyint | 3 | 0 | N | N | 1 | 是否可修改: |
| 12 | get | tinyint | 3 | 0 | N | N | 1 | 是否可查看: |
| 13 | field_add | text | 65535 | 0 | Y | N | 添加字段: | |
| 14 | field_set | text | 65535 | 0 | Y | N | 修改字段: | |
| 15 | field_get | text | 65535 | 0 | Y | N | 查询字段: | |
| 16 | table_nav_name | varchar | 500 | 0 | Y | N | 跨表导航名称: | |
| 17 | table_nav | varchar | 500 | 0 | Y | N | 跨表导航: | |
| 18 | option | text | 65535 | 0 | Y | N | 配置: | |
| 19 | create_time | timestamp | 19 | 0 | N | N | CURRENT_TIMESTAMP | 创建时间: |
| 20 | update_time | timestamp | 19 | 0 | N | N | CURRENT_TIMESTAMP | 更新时间: |
| 编号 | 名称 | 数据类型 | 长度 | 小数位 | 允许空值 | 主键 | 默认值 | 说明 |
| 1 | bad_feedback_id | int | 10 | 0 | N | Y | 不良反馈ID | |
| 2 | title | varchar | 64 | 0 | Y | N | 标题 | |
| 3 | tutor_no | int | 10 | 0 | Y | N | 0 | 家教编号 |
| 4 | user_no | int | 10 | 0 | Y | N | 0 | 用户编号 |
| 5 | full_name | varchar | 64 | 0 | Y | N | 姓名 | |
| 6 | contact_number | varchar | 64 | 0 | Y | N | 联系电话 | |
| 7 | feedback_content | text | 65535 | 0 | Y | N | 反馈内容 | |
| 8 | proposal | text | 65535 | 0 | Y | N | 建议 | |
| 9 | examine_state | varchar | 16 | 0 | N | N | 未审核 | 审核状态 |
| 10 | examine_reply | varchar | 16 | 0 | Y | N | 审核回复 | |
| 11 | recommend | int | 10 | 0 | N | N | 0 | 智能推荐 |
| 12 | create_time | datetime | 19 | 0 | N | N | CURRENT_TIMESTAMP | 创建时间 |
| 13 | update_time | timestamp | 19 | 0 | N | N | CURRENT_TIMESTAMP | 更新时间 |
表classification_of_tutors (家教分类)
| 编号 | 名称 | 数据类型 | 长度 | 小数位 | 允许空值 | 主键 | 默认值 | 说明 |
| 1 | classification_of_tutors_id | int | 10 | 0 | N | Y | 家教分类ID | |
| 2 | family_education_category | varchar | 64 | 0 | Y | N | 家教类别 | |
| 3 | recommend | int | 10 | 0 | N | N | 0 | 智能推荐 |
| 4 | create_time | datetime | 19 | 0 | N | N | CURRENT_TIMESTAMP | 创建时间 |
| 5 | update_time | timestamp | 19 | 0 | N | N | CURRENT_TIMESTAMP | 更新时间 |
| 编号 | 名称 | 数据类型 | 长度 | 小数位 | 允许空值 | 主键 | 默认值 | 说明 |
| 1 | collect_id | int | 10 | 0 | N | Y | 收藏ID: | |
| 2 | user_id | int | 10 | 0 | N | N | 0 | 收藏人ID: |
| 3 | source_table | varchar | 255 | 0 | Y | N | 来源表: | |
| 4 | source_field | varchar | 255 | 0 | Y | N | 来源字段: | |
| 5 | source_id | int | 10 | 0 | N | N | 0 | 来源ID: |
| 6 | title | varchar | 255 | 0 | Y | N | 标题: | |
| 7 | img | varchar | 255 | 0 | Y | N | 封面: | |
| 8 | create_time | timestamp | 19 | 0 | N | N | CURRENT_TIMESTAMP | 创建时间: |
| 9 | update_time | timestamp | 19 | 0 | N | N | CURRENT_TIMESTAMP | 更新时间: |
表collection_of_wrong_questions (错题收纳)
| 编号 | 名称 | 数据类型 | 长度 | 小数位 | 允许空值 | 主键 | 默认值 | 说明 |
| 1 | collection_of_wrong_questions_id | int | 10 | 0 | N | Y | 错题收纳ID | |
| 2 | title | varchar | 64 | 0 | Y | N | 题目名称 | |
| 3 | topic_type | varchar | 64 | 0 | Y | N | 题目类型 | |
| 4 | account | varchar | 64 | 0 | Y | N | 所属科目 | |
| 5 | topic_content | text | 65535 | 0 | Y | N | 题目内容 | |
| 6 | problem_analysis | text | 65535 | 0 | Y | N | 题目解析 | |
| 7 | fallible_point | text | 65535 | 0 | Y | N | 易错点 | |
| 8 | hits | int | 10 | 0 | N | N | 0 | 点击数 |
| 9 | praise_len | int | 10 | 0 | N | N | 0 | 点赞数 |
| 10 | recommend | int | 10 | 0 | N | N | 0 | 智能推荐 |
| 11 | create_time | datetime | 19 | 0 | N | N | CURRENT_TIMESTAMP | 创建时间 |
| 12 | update_time | timestamp | 19 | 0 | N | N | CURRENT_TIMESTAMP | 更新时间 |
| 编号 | 名称 | 数据类型 | 长度 | 小数位 | 允许空值 | 主键 | 默认值 | 说明 |
| 1 | comment_id | int | 10 | 0 | N | Y | 评论ID: | |
| 2 | user_id | int | 10 | 0 | N | N | 0 | 评论人ID: |
| 3 | reply_to_id | int | 10 | 0 | N | N | 0 | 回复评论ID:空为0 |
| 4 | content | longtext | 2147483647 | 0 | Y | N | 内容: | |
| 5 | nickname | varchar | 255 | 0 | Y | N | 昵称: | |
| 6 | avatar | varchar | 255 | 0 | Y | N | 头像地址:[0,255] | |
| 7 | create_time | timestamp | 19 | 0 | N | N | CURRENT_TIMESTAMP | 创建时间: |
| 8 | update_time | timestamp | 19 | 0 | N | N | CURRENT_TIMESTAMP | 更新时间: |
| 9 | source_table | varchar | 255 | 0 | Y | N | 来源表: | |
| 10 | source_field | varchar | 255 | 0 | Y | N | 来源字段: | |
| 11 | source_id | int | 10 | 0 | N | N | 0 | 来源ID: |
| 编号 | 名称 | 数据类型 | 长度 | 小数位 | 允许空值 | 主键 | 默认值 | 说明 |
| 1 | exam_id | mediumint | 8 | 0 | N | Y | 考试id | |
| 2 | name | varchar | 32 | 0 | N | N | 考试名称:[2,32] | |
| 3 | duration | int | 10 | 0 | Y | N | 答题时长 | |
| 4 | score | double | 9 | 2 | Y | N | 总分 | |
| 5 | status | varchar | 10 | 0 | Y | N | 状态:启用、禁用 | |
| 6 | create_time | timestamp | 19 | 0 | N | N | CURRENT_TIMESTAMP | 创建时间: |
| 7 | update_time | timestamp | 19 | 0 | N | N | CURRENT_TIMESTAMP | 更新时间: |
| 编号 | 名称 | 数据类型 | 长度 | 小数位 | 允许空值 | 主键 | 默认值 | 说明 |
| 1 | exam_question_id | mediumint | 8 | 0 | N | Y | ||
| 2 | type | varchar | 20 | 0 | Y | N | 类型 | |
| 3 | title | varchar | 255 | 0 | Y | N | 题目 | |
| 4 | question_item | varchar | 500 | 0 | Y | N | 选项 | |
| 5 | answer | varchar | 500 | 0 | Y | N | 参考答案 | |
| 6 | score | double | 9 | 2 | Y | N | 总分 | |
| 7 | question_order | int | 10 | 0 | Y | N | 排序 | |
| 8 | exam_id | mediumint | 7 | 0 | Y | N | 所属试卷 | |
| 9 | create_time | timestamp | 19 | 0 | N | N | CURRENT_TIMESTAMP | 创建时间: |
| 10 | update_time | timestamp | 19 | 0 | N | N | CURRENT_TIMESTAMP | 更新时间: |
表family_education_information (家教信息)
| 编号 | 名称 | 数据类型 | 长度 | 小数位 | 允许空值 | 主键 | 默认值 | 说明 |
| 1 | family_education_information_id | int | 10 | 0 | N | Y | 家教信息ID | |
| 2 | tutor_no | int | 10 | 0 | Y | N | 0 | 家教编号 |
| 3 | name_of_tutor | varchar | 64 | 0 | Y | N | 家教姓名 | |
| 4 | family_education_category | varchar | 64 | 0 | Y | N | 家教类别 | |
| 5 | photo | varchar | 255 | 0 | Y | N | 照片 | |
| 6 | education | varchar | 64 | 0 | Y | N | 学历 | |
| 7 | teaching_subjects | varchar | 64 | 0 | Y | N | 教学科目 | |
| 8 | tutor_fee | int | 10 | 0 | Y | N | 0 | 家教费 |
| 9 | class_time | text | 65535 | 0 | Y | N | 上课时间 | |
| 10 | content_of_courses | text | 65535 | 0 | Y | N | 教学内容 | |
| 11 | working_experience | text | 65535 | 0 | Y | N | 从业资历 | |
| 12 | areas_of_expertise | text | 65535 | 0 | Y | N | 擅长领域 | |
| 13 | personal_profile | longtext | 2147483647 | 0 | Y | N | 个人简介 | |
| 14 | hits | int | 10 | 0 | N | N | 0 | 点击数 |
| 15 | praise_len | int | 10 | 0 | N | N | 0 | 点赞数 |
| 16 | recommend | int | 10 | 0 | N | N | 0 | 智能推荐 |
| 17 | create_time | datetime | 19 | 0 | N | N | CURRENT_TIMESTAMP | 创建时间 |
| 18 | update_time | timestamp | 19 | 0 | N | N | CURRENT_TIMESTAMP | 更新时间 |
| 编号 | 名称 | 数据类型 | 长度 | 小数位 | 允许空值 | 主键 | 默认值 | 说明 |
| 1 | feedback_punishment_id | int | 10 | 0 | N | Y | 反馈处罚ID | |
| 2 | title | varchar | 64 | 0 | Y | N | 标题 | |
| 3 | tutor_no | int | 10 | 0 | Y | N | 0 | 家教编号 |
| 4 | name_of_tutor | varchar | 64 | 0 | Y | N | 家教姓名 | |
| 5 | punishment_content | text | 65535 | 0 | Y | N | 处罚内容 | |
| 6 | recommend | int | 10 | 0 | N | N | 0 | 智能推荐 |
| 7 | create_time | datetime | 19 | 0 | N | N | CURRENT_TIMESTAMP | 创建时间 |
| 8 | update_time | timestamp | 19 | 0 | N | N | CURRENT_TIMESTAMP | 更新时间 |
| 编号 | 名称 | 数据类型 | 长度 | 小数位 | 允许空值 | 主键 | 默认值 | 说明 |
| 1 | hits_id | int | 10 | 0 | N | Y | 点赞ID: | |
| 2 | user_id | int | 10 | 0 | N | N | 0 | 点赞人: |
| 3 | create_time | timestamp | 19 | 0 | N | N | CURRENT_TIMESTAMP | 创建时间: |
| 4 | update_time | timestamp | 19 | 0 | N | N | CURRENT_TIMESTAMP | 更新时间: |
| 5 | source_table | varchar | 255 | 0 | Y | N | 来源表: | |
| 6 | source_field | varchar | 255 | 0 | Y | N | 来源字段: | |
| 7 | source_id | int | 10 | 0 | N | N | 0 | 来源ID: |
| 编号 | 名称 | 数据类型 | 长度 | 小数位 | 允许空值 | 主键 | 默认值 | 说明 |
| 1 | notice_id | mediumint | 8 | 0 | N | Y | 公告id: | |
| 2 | title | varchar | 125 | 0 | N | N | 标题: | |
| 3 | content | longtext | 2147483647 | 0 | Y | N | 正文: | |
| 4 | create_time | timestamp | 19 | 0 | N | N | CURRENT_TIMESTAMP | 创建时间: |
| 5 | update_time | timestamp | 19 | 0 | N | N | CURRENT_TIMESTAMP | 更新时间: |
| 编号 | 名称 | 数据类型 | 长度 | 小数位 | 允许空值 | 主键 | 默认值 | 说明 |
| 1 | praise_id | int | 10 | 0 | N | Y | 点赞ID: | |
| 2 | user_id | int | 10 | 0 | N | N | 0 | 点赞人: |
| 3 | create_time | timestamp | 19 | 0 | N | N | CURRENT_TIMESTAMP | 创建时间: |
| 4 | update_time | timestamp | 19 | 0 | N | N | CURRENT_TIMESTAMP | 更新时间: |
| 5 | source_table | varchar | 255 | 0 | Y | N | 来源表: | |
| 6 | source_field | varchar | 255 | 0 | Y | N | 来源字段: | |
| 7 | source_id | int | 10 | 0 | N | N | 0 | 来源ID: |
| 8 | status | bit | 1 | 0 | N | N | 1 | 点赞状态:1为点赞,0已取消 |
| 编号 | 名称 | 数据类型 | 长度 | 小数位 | 允许空值 | 主键 | 默认值 | 说明 |
| 1 | registered_user_id | int | 10 | 0 | N | Y | 注册用户ID | |
| 2 | user_no | varchar | 64 | 0 | N | N | 用户编号 | |
| 3 | full_name | varchar | 64 | 0 | Y | N | 姓名 | |
| 4 | examine_state | varchar | 16 | 0 | N | N | 已通过 | 审核状态 |
| 5 | recommend | int | 10 | 0 | N | N | 0 | 智能推荐 |
| 6 | user_id | int | 10 | 0 | N | N | 0 | 用户ID |
| 7 | create_time | datetime | 19 | 0 | N | N | CURRENT_TIMESTAMP | 创建时间 |
| 8 | update_time | timestamp | 19 | 0 | N | N | CURRENT_TIMESTAMP | 更新时间 |
| 编号 | 名称 | 数据类型 | 长度 | 小数位 | 允许空值 | 主键 | 默认值 | 说明 |
| 1 | slides_id | int | 10 | 0 | N | Y | 轮播图ID: | |
| 2 | title | varchar | 64 | 0 | Y | N | 标题: | |
| 3 | content | varchar | 255 | 0 | Y | N | 内容: | |
| 4 | url | varchar | 255 | 0 | Y | N | 链接: | |
| 5 | img | varchar | 255 | 0 | Y | N | 轮播图: | |
| 6 | hits | int | 10 | 0 | N | N | 0 | 点击量: |
| 7 | create_time | timestamp | 19 | 0 | N | N | CURRENT_TIMESTAMP | 创建时间: |
| 8 | update_time | timestamp | 19 | 0 | N | N | CURRENT_TIMESTAMP | 更新时间: |
| 编号 | 名称 | 数据类型 | 长度 | 小数位 | 允许空值 | 主键 | 默认值 | 说明 |
| 1 | star_rating_id | int | 10 | 0 | N | Y | 星级评价ID | |
| 2 | tutor_no | int | 10 | 0 | Y | N | 0 | 家教编号 |
| 3 | name_of_tutor | varchar | 64 | 0 | Y | N | 家教姓名 | |
| 4 | teaching_subjects | varchar | 64 | 0 | Y | N | 教学科目 | |
| 5 | user_no | int | 10 | 0 | Y | N | 0 | 用户编号 |
| 6 | full_name | varchar | 64 | 0 | Y | N | 姓名 | |
| 7 | evaluation_score | varchar | 64 | 0 | Y | N | 评价分数 | |
| 8 | evaluation_content | text | 65535 | 0 | Y | N | 评价内容 | |
| 9 | recommend | int | 10 | 0 | N | N | 0 | 智能推荐 |
| 10 | create_time | datetime | 19 | 0 | N | N | CURRENT_TIMESTAMP | 创建时间 |
| 11 | update_time | timestamp | 19 | 0 | N | N | CURRENT_TIMESTAMP | 更新时间 |
| 编号 | 名称 | 数据类型 | 长度 | 小数位 | 允许空值 | 主键 | 默认值 | 说明 |
| 1 | tutor_id | int | 10 | 0 | N | Y | 家教ID | |
| 2 | tutor_no | varchar | 64 | 0 | N | N | 家教编号 | |
| 3 | name_of_tutor | varchar | 64 | 0 | Y | N | 家教姓名 | |
| 4 | examine_state | varchar | 16 | 0 | N | N | 未审核 | 审核状态 |
| 5 | recommend | int | 10 | 0 | N | N | 0 | 智能推荐 |
| 6 | user_id | int | 10 | 0 | N | N | 0 | 用户ID |
| 7 | create_time | datetime | 19 | 0 | N | N | CURRENT_TIMESTAMP | 创建时间 |
| 8 | update_time | timestamp | 19 | 0 | N | N | CURRENT_TIMESTAMP | 更新时间 |
| 编号 | 名称 | 数据类型 | 长度 | 小数位 | 允许空值 | 主键 | 默认值 | 说明 |
| 1 | upload_id | int | 10 | 0 | N | Y | 上传ID | |
| 2 | name | varchar | 64 | 0 | Y | N | 文件名 | |
| 3 | path | varchar | 255 | 0 | Y | N | 访问路径 | |
| 4 | file | varchar | 255 | 0 | Y | N | 文件路径 | |
| 5 | display | varchar | 255 | 0 | Y | N | 显示顺序 | |
| 6 | father_id | int | 10 | 0 | Y | N | 0 | 父级ID |
| 7 | dir | varchar | 255 | 0 | Y | N | 文件夹 | |
| 8 | type | varchar | 32 | 0 | Y | N | 文件类型 |
| 编号 | 名称 | 数据类型 | 长度 | 小数位 | 允许空值 | 主键 | 默认值 | 说明 |
| 1 | user_id | mediumint | 8 | 0 | N | Y | 用户ID:[0,8388607]用户获取其他与用户相关的数据 | |
| 2 | state | smallint | 5 | 0 | N | N | 1 | 账户状态:[0,10](1可用|2异常|3已冻结|4已注销) |
| 3 | user_group | varchar | 32 | 0 | Y | N | 所在用户组:[0,32767]决定用户身份和权限 | |
| 4 | login_time | timestamp | 19 | 0 | N | N | CURRENT_TIMESTAMP | 上次登录时间: |
| 5 | phone | varchar | 11 | 0 | Y | N | 手机号码:[0,11]用户的手机号码,用于找回密码时或登录时 | |
| 6 | phone_state | smallint | 5 | 0 | N | N | 0 | 手机认证:[0,1](0未认证|1审核中|2已认证) |
| 7 | username | varchar | 16 | 0 | N | N | 用户名:[0,16]用户登录时所用的账户名称 | |
| 8 | nickname | varchar | 16 | 0 | Y | N | 昵称:[0,16] | |
| 9 | password | varchar | 64 | 0 | N | N | 密码:[0,32]用户登录所需的密码,由6-16位数字或英文组成 | |
| 10 | | varchar | 64 | 0 | Y | N | 邮箱:[0,64]用户的邮箱,用于找回密码时或登录时 | |
| 11 | email_state | smallint | 5 | 0 | N | N | 0 | 邮箱认证:[0,1](0未认证|1审核中|2已认证) |
| 12 | avatar | varchar | 255 | 0 | Y | N | 头像地址:[0,255] | |
| 13 | create_time | timestamp | 19 | 0 | N | N | CURRENT_TIMESTAMP | 创建时间: |
| 编号 | 名称 | 数据类型 | 长度 | 小数位 | 允许空值 | 主键 | 默认值 | 说明 |
| 1 | user_answer_id | mediumint | 8 | 0 | N | Y | ||
| 2 | user_id | mediumint | 7 | 0 | N | N | 用户ID:[0,8388607]用户获取其他与用户相关的数据 | |
| 3 | exam_id | mediumint | 7 | 0 | N | N | 0 | 考试id |
| 4 | score | double | 9 | 2 | Y | N | 0.00 | 分数 |
| 5 | answers | text | 65535 | 0 | Y | N | 答案 | |
| 6 | score_detail | text | 65535 | 0 | Y | N | 评分详情 | |
| 7 | objective_score | double | 9 | 2 | Y | N | 0.00 | 客观题得分 |
| 8 | subjective_score | double | 9 | 2 | Y | N | 0.00 | 主观题得分 |
| 9 | score_state | tinyint | 4 | 0 | Y | N | 0 | 评分状态 |
| 10 | nickname | varchar | 255 | 0 | Y | N | 提交人 | |
| 11 | create_time | timestamp | 19 | 0 | N | N | CURRENT_TIMESTAMP | 创建时间: |
| 12 | update_time | timestamp | 19 | 0 | N | N | CURRENT_TIMESTAMP | 更新时间: |
| 编号 | 名称 | 数据类型 | 长度 | 小数位 | 允许空值 | 主键 | 默认值 | 说明 |
| 1 | group_id | mediumint | 8 | 0 | N | Y | 用户组ID:[0,8388607] | |
| 2 | display | smallint | 5 | 0 | N | N | 100 | 显示顺序:[0,1000] |
| 3 | name | varchar | 16 | 0 | N | N | 名称:[0,16] | |
| 4 | description | varchar | 255 | 0 | Y | N | 描述:[0,255]描述该用户组的特点或权限范围 | |
| 5 | source_table | varchar | 255 | 0 | Y | N | 来源表: | |
| 6 | source_field | varchar | 255 | 0 | Y | N | 来源字段: | |
| 7 | source_id | int | 10 | 0 | N | N | 0 | 来源ID: |
| 8 | register | smallint | 5 | 0 | Y | N | 0 | 注册位置: |
| 9 | create_time | timestamp | 19 | 0 | N | N | CURRENT_TIMESTAMP | 创建时间: |
| 10 | update_time | timestamp | 19 | 0 | N | N | CURRENT_TIMESTAMP | 更新时间: |
第5章 系统实现
5.1基本任务
本章节详细介绍了系统各大功能模块的实现过程和实现方法,对每个功能进行实现,设计详细的根本目标是确定应该具体实现所要求的系统,每个模块都对应着相应的界面和显示的配图。主要从主页面的实现、登录模块的实现、教师模块的实现、注册用户模块的实现、家教信息管理模块的实现、家教预约模块的实现、错题收纳模块的实现等方面来描述。
系统呈现出一种简洁大方的后台:界面简约、鳞次栉比,用户能轻车熟路的使用。出于对系统使用群体广泛的顾虑,应有良好性能的后台。
5.2登录模块的实现
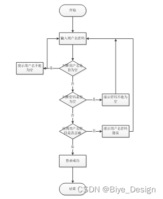
系统的登录窗口是用户的入口,用户只有在登录成功后才可以进入访问。通过在登录提交表单,后台处理判断是否为合法用户,进行页面跳转,进入系统中去。
登录合法性判断过程:用户输入账号和密码后,系统首先确定输入输入数据合法性,调用src下的mainctrl类的dopost方法来验证。
用户登录模块的IPO如下所示:
输入:用户名和密码。
处理:
1)检测用户输入的账号、密码是否正确及在数据库已对应存在。
2)从数据库中提取记录,并储存在本地的session中(timeout默认=30min)。
3)根据用户名,将其显示在系统首页上。
输出:是否成功的信息。
登录流程图如下所示。

图5-1登录流程图
系统登录界面如下所示。

图5-2系统登录界面
登录代码如下:
/**
* 登录
* @param data
* @param httpServletRequest
* @return
*/
@PostMapping("login")
public Map<String, Object> login(@RequestBody Map<String, String> data, HttpServletRequest httpServletRequest) {
log.info("[执行登录接口]");
String username = data.get("username");
String email = data.get("email");
String phone = data.get("phone");
String password = data.get("password");
List resultList = null;
Map<String, String> map = new HashMap<>();
if(username != null && "".equals(username) == false){
map.put("username", username);
resultList = service.select(map, new HashMap<>()).getResultList();
}
else if(email != null && "".equals(email) == false){
map.put("email", email);
resultList = service.select(map, new HashMap<>()).getResultList();
}
else if(phone != null && "".equals(phone) == false){
map.put("phone", phone);
resultList = service.select(map, new HashMap<>()).getResultList();
}else{
return error(30000, "账号或密码不能为空");
}
if (resultList == null || password == null) {
return error(30000, "账号或密码不能为空");
}
//判断是否有这个用户
if (resultList.size()<=0){
return error(30000,"用户不存在");
}
User byUsername = (User) resultList.get(0);
Map<String, String> groupMap = new HashMap<>();
groupMap.put("name",byUsername.getUserGroup());
List groupList = userGroupService.select(groupMap, new HashMap<>()).getResultList();
if (groupList.size()<1){
return error(30000,"用户组不存在");
}
UserGroup userGroup = (UserGroup) groupList.get(0);
//查询用户审核状态
if (!StringUtils.isEmpty(userGroup.getSourceTable())){
String sql = "select examine_state from "+ userGroup.getSourceTable() +" WHERE user_id = " + byUsername.getUserId();
String res = String.valueOf(service.runCountSql(sql).getSingleResult());
if (res==null){
return error(30000,"用户不存在");
}
if (!res.equals("已通过")){
return error(30000,"该用户审核未通过");
}
}
//查询用户状态
if (byUsername.getState()!=1){
return error(30000,"用户非可用状态,不能登录");
}
String md5password = service.encryption(password);
if (byUsername.getPassword().equals(md5password)) {
// 存储Token到数据库
AccessToken accessToken = new AccessToken();
accessToken.setToken(UUID.randomUUID().toString().replaceAll("-", ""));
accessToken.setUser_id(byUsername.getUserId());
tokenService.save(accessToken);
// 返回用户信息
JSONObject user = JSONObject.parseObject(JSONObject.toJSONString(byUsername));
user.put("token", accessToken.getToken());
JSONObject ret = new JSONObject();
ret.put("obj",user);
return success(ret);
} else {
return error(30000, "账号或密码不正确");
}
}
5.3管理员功能模块
管理员登录家教服务管理系统,管理员后台功能为:主页,个人资料,公告管理(轮播图,平台公告),用户管理(管理员,注册用户,家教),信息管理(行业资讯,资讯分类,在线测试),家教分类,家教信息,家教预约,错题收纳,星级评级,不良反馈,反馈处罚等功能,如下图所示:

图 5-3 管理员后台功能界面图
用户管理,在此界面可查看用户的昵称,用户名,姓名,性别,创建时间等信息,还可在此页面对进行重置,删除,添加,审核等操作,如图5-4。

图5-4用户管理界面图

图5-5家教用户审核界面图
行业资讯,在此界面可查看行业资讯的标题,封面,文章分类,标签等信息,还可在此页面对进行重置,删除,添加等操作,如下图所示:

图5-6 行业资讯管理界面图

图5-7 资讯添加界面图
在线测试,在此界面可维护管理在线测试考卷,还可在此页面对进行重置,删除,添加,设计题库,评分等操作,如下图所示:

图5-8 在线测试管理界面图

图5-9 题库添加界面图
5.4注册用户功能模块
注册用户登录家教服务管理系统,功能为:首页,在线测试,平台公告,行业资讯,个人账户,个人收藏,家教信息,错题收纳,星级评价,不良反馈等功能,如下图所示:

图5-10 注册用户前台功能界面图
家教信息, 在此界面可查看家教信息,包括家教姓名,教学科目,家教费用等信息,还可在此页面对进行点赞,收藏,评论,预约家教等操作,如下图所示。

图5-11家教信息一览界面图

图5-12家教预约界面图
错题收纳, 在此界面可通过输入题目名称,排序等方式搜索错题,还可在此页面对进行点赞,收藏,评论等操作,如下图所示。

图5-13错题收纳一览界面图
在线测试, 在此界面可查看可答题的在线测试,包括测试名称,答题时长,总分等信息,可以选择并进行答题,如下图所示。

图5-14在线测试一览界面图

图5-15在线测试答题界面图
不良反馈, 在此界面可提交不良反馈,管理员审核后将对家教进行处罚,如下图所示。

图5-16不良反馈提交界面图
5.5家教功能模块
家教用户登录家教服务管理系统,功能为:主页,个人资料,信息管理(在线测试),家教信息,家教预约,错题收纳,星级评级,不良反馈,反馈处罚等功能,如下图所示:

图5-17家教功能界面图
家教信息, 在此界面可上传自我介绍,可以进行查询,重置,添加,删除等操作。如下图所示。

图5-18家教信息添加界面图
家教预约, 在此界面可查看用户提交的预约信息,可以进行查询,重置,审核等操作。如下图所示。

图5-19家教预约管理界面图

图5-20预约处理界面图
第6章 系统测试
6.1系统测试的目的
程序设计不能保证没有错误,这是一个开发过程,在错误或错误的过程中都是难以避免的。虽然这是不可避免的,但我们不能使这些错误始终存在于系统中,错误可能会造成无法估量的后果,如系统崩溃,安全信息泄露,系统无法正常启动等,为了避免这些问题,我们需要测试程序,再测试过程中发现问题,并纠正它们,从而使系统更长时间稳定成熟。本章的作用是发现这些问题,并对其进行修改,虽然耗时费力,但对于长期使用而言是非常重要和必要系统的开发。
软件在设计后必须进行测试,调试过程中使用的方法是软件测试方法。在开发新软件时,系统测试是检查软件是否合格的关键步骤,以及是否符合设计目标的参考。测试主要是查看软件中数据的准确性,正确的操作与否,以及操作的结果,还有哪些方面需要改进。
家教服务管理系统的实现,对于系统中功能模块的实现及操作都必须通过测试进行来评判系统是否可以准确的实现。在家教服务管理系统正式上传使用之前必须做的一步就是系统测试,对于测试发现的错误及时修改处理,保证系统准确无误的供给用户使用。
6.2系统测试方法
在对家教服务管理系统进行测试的时候在找到问题的情况下必须在第一时间找到解决问题的办法,不要存在侥幸的心理,这样才能让家教服务管理系统开发的质量可以过关,并且开发的周期会大大缩短,还有就是在测试时,不要出现重复性的错误,遇到一个错误问题,要将整个家教服务管理系统开发所牵扯的该问题都必须一一解决,提高家教服务管理系统平台的安全性、稳定性。
白盒测试与黑盒测试是测试中比较常用的两种方法。
①结构测试俗称白盒测试:这种测试是在对程序的处理过程与结构都有详尽谅解的前提下,顺从程序内部的逻辑而完成的系统测试,以确定系统中所有的通路都能够遵照设计要求正常工作,不出现任何偏差。
②功能测试又成黑盒测试:主要是针对程序功能能够按照设计正常实现的一种检测,在程序接口处进行,检测程序手法数据是否正常,与外部信息的交换是否完整。
6.3功能测试
用户登录测试:
| 模块名称 | 测试用例 | 预期结果 | 实际结果 | 是否通过 |
| 登录模块 | 用户名:admin 密码:123 | 弹出错误提示,提示密码错误 | 弹出错误提示,提示密码错误 | 通过 |
| 登录模块 | 用户名:123 密码:admin | 弹出错误提示,提示用户名错误 | 弹出错误提示,提示用户名错误 | 通过 |
| 登录模块 | 用户名:admin 密码:admin | 管理员登录成功 | 管理员登录成功 | 通过 |
修改密码测试:
| 模块名称 | 测试用例 | 预期结果 | 实际结果 | 是否通过 |
| 修改密码模块 | 原密码:666 新密码:123 确认密码:123 | 弹出错误提示,提示原密码错误 | 弹出错误提示,提示原密码错误 | 通过 |
| 修改密码模块 | 原密码:admin 新密码:123 确认密码:333 | 弹出错误提示,提示确认密码不一致 | 弹出错误提示,提示确认密码不一致 | 通过 |
| 修改密码模块 | 原密码:admin 新密码:123 确认密码:123 | 密码修改成功 | 密码修改成功 | 通过 |
通过对功能的测试,家教服务管理系统的基本功能都是可行的,不管是系统里面的功能,还是界面的设计都是可值得推广宣传的。
此时项目已经完成,即使实施的时间不是很长,但是这个过程中需要准备很长的一段时间去对系统设计开发所相关技术进行学习。在学习的过程中,我逐渐认识得到了我自身存在的一些不足。对于一些控制是必要的应用技能,能够理解,整个过程中仅仅是一个掌握了常用的性能和控制方法,我觉得挺容易的。从该系统中,系统的分析和设计的调查数据,并且已经经历了几个月,并努力几个月,该系统已经完成。很显然,该系统仍有很多不成熟的地方,在系统设计过程中有许多技术缺陷存在。在设计的过程中也涉及到了很多自己无法解决的问题,主要通过咨询老师解决这些问题,对于毕业设计的圆满完成,需要感谢老师们的指导。系统的开发环境和配置都是可以自行安装的,系统使用Java开发工具,使用比较成熟的Mysql数据库进行对系统前台及后台的数据交互,根据技术语言对数据库,结合需求进行修改维护,可以使得系统运行更具有稳定性和安全性,从而完成实现系统的开发。
回顾毕业设计的整个过程,既付出汗水也收获了很多。虽然经历了各种各样的困难,自己的不断研究探索,系统的实现仍有不足之处。
在以后的学习及工作中,我仍然继续学习计算机方面的技术,让我在后期的平台开发中可以更好更快的实现需求功能。我相信我可以让更多的好工作,做出更大的贡献。
家教服务管理系统的完成,如何实现的更好,其中付出的努力是很大的,这段时光将会终身难忘。
首先要感谢我的指导老师,谢谢您在设计和论文中给我的指导。在您的细心指导下我才能快速的掌握系统的相关功能,在您的大力帮助下我才能将课本上的知识与自己的项目结合,真正的做到学以致用。感谢您经常牺牲自己的休息时间,利用其丰富的教学和项目经验对我进行指导。
感谢所有教过我的老师,为我倾注了大量的心血,正是你们的谆谆教诲、严谨教学才使我能顺利的完成学业,再此向你们表示深深的感谢。
感谢我的同学们,对我的大力支持及帮助,正是你们不断的帮助、鼓励,给我带来了极大的动力,最终系统可以顺利的运行。我们在交流、谈论的这段时间,将是我未来的财富,我要深深地感谢你们!
毕业在即,在今后的工作和生活中,我会铭记师长们的教诲、同学们的帮助,继续不懈努力和追求,来报答所有支持和帮助过我的人!
参考文献
[1]王以伍,舒晖.基于SpringBoot+Vue前后端分离的高校实验室预约管理系统的设计与实现[J].现代计算机,2023,29(01):114-117.
[2]Yu Yang. Design and Implementation of Student Information Management System Based on Springboot[J]. Advances in Computer, Signals and Systems,2022,6(6).
[3]陈颖灵,朱映辉,江玉珍,黄栾雅.基于SpringBoot学生实训管理系统的设计与实现[J].电脑知识与技术,2022,18(19):49-51.DOI:10.14004/j.cnki.ckt.2022.1319.
[4]向兵,董晓红.基于SpringBoot的高校教材管理系统的设计与实现[J].电脑知识与技术,2022,18(14):12-15.DOI:10.14004/j.cnki.ckt.2022.0827.
[5]张帆. 基于微服务的大学生家教预约平台的设计与实现[D].华东师范大学,2022.DOI:10.27149/d.cnki.ghdsu.2022.001441.
[6]Gu Mengdie,Sun Rui,Yang Shulin,Gu Huijie,Yuan Ming. Research on copyright appointment registration microplatform system based on vue[J]. MATEC Web of Conferences,2022,355.
[7]王楠,汪思佳,段雅琪,何忠旭,叶龙生.大学生家教平台创建及发展策略研究——以巢湖学院为例[J].科技风,2021(31):196-198.DOI:10.19392/j.cnki.1671-7341.202131065.
[8]Fuyuan Cheng. Talent Recruitment Management System for Small and Micro Enterprises Based on Springboot Framework[J]. Advances in Educational Technology and Psychology,2021,5(2).
[9]李竹林,郭跃,车雯雯.基于轻量级框架SpringBoot的家教APP设计与实现[J].河南科技,2021,40(03):22-24.
[10]Guanhong Chen,Jiangming Xu. Design and implementation of efficient Learning platform based on SpringBoot Framework[J]. Journal of Electronics and Information Science,2020,6(1).
[11]Jian Chen,Chen Jian,Pan Hailan. Design of Man Hour Management Information System on SpringBoot Framework[J]. Journal of Physics: Conference Series,2020,1646(1).
[12]齐子萱,范文鹏,孟令率,郭楠,宋丹.基于新时代教育评价改革背景下的大学生家教服务平台设计[J].东西南北,2020(16):92-93.
[13]陈嘉乐.“互联网+”校园家教兼职平台的设计[J].现代信息科技,2020,4(04):119-121.DOI:10.19850/j.cnki.2096-4706.2020.04.034.
[14]王建,杨瑞.基于java的大学生家教管理系统设计[J].信息通信,2019(10):89-90.
[15]舒婷,朱守业,王运武.基于互联网+教育的大学生家教平台的研究与设计[J].信息与电脑(理论版),2019(14):87-92.
[16]谢辅雯,陈如.师范生家教管理系统的研究与设计[J].电脑知识与技术,2019,15(21):100-101.DOI:10.14004/j.cnki.ckt.2019.2342.
[17]单子豪,余柳柳,殷小乔,皋子纯,周云.基于数据分析的多功能家教平台的研究与设计[J].中国多媒体与网络教学学报(上旬刊),2019(04):55-56.
[18]陈柯宇. 基于Android和JavaEE的家教平台设计与实现[D].电子科技大学,2018.
[19]谢敏,程适.基于ThinkPHP框架的家教信息管理系统设计与实现[J].软件导刊,2018,17(07):128-131.
[20]戴晓虎,杜静.基于Web的家教服务平台设计[J].现代信息科技,2018,2(04):11-13.
免费领取项目源码,请关注❥点赞收藏并私信博主,谢谢~
3528

被折叠的 条评论
为什么被折叠?



