摘 要
信息化社会内需要与之针对性的信息获取途径,但是途径的扩展基本上为人们所努力的方向,由于站在的角度存在偏差,人们经常能够获得不同类型信息,这也是技术最为难以攻克的课题。针对糖尿病友之家系统等问题,对糖尿病友之家系统进行研究分析,然后开发设计出糖尿病友之家系统以解决问题。
糖尿病友之家系统主要功能模块包括医生信息、咨询信息、健康日记、健康评价、饮食管理、寻医问药,采取面对对象的开发模式进行软件的开发和硬体的架设,能很好的满足实际使用的需求,完善了对应的软体架设以及程序编码的工作,采取MySQL作为后台数据的主要存储单元,采用springboot框架、ava技术、Ajax技术进行业务系统的编码及其开发,实现了本系统的全部功能。本次报告,首先分析了研究的背景、作用、意义,为研究工作的合理性打下了基础。针对糖尿病友之家系统的各项需求以及技术问题进行分析,证明了系统的必要性和技术可行性,然后对设计系统需要使用的技术软件以及设计思想做了基本的介绍,最后来实现糖尿病友之家系统和部署运行使用它。
关键词:Java开发语言;springboot框架技术;糖尿病友之家系统;
Design and Implementation of diabetes Friends Home System
Abstract
In the information society, there is a need for targeted information acquisition channels, but the expansion of channels is basically the direction of people's efforts. Due to the deviation in perspective, people often can obtain different types of information, which is also the most difficult topic for technology to overcome. In view of the problems such as diabetes friend home system, the diabetes friend home system is researched and analyzed, and then the diabetes friend home system is developed to solve the problems.
The main functional modules of the diabetes Friends Home system include doctor information, consultation information, health diary, health evaluation, diet management, and seeking medical advice. The object-oriented development mode is adopted for software development and hardware erection, which can well meet the needs of actual use. The corresponding software erection and program coding work are improved. MySQL is used as the main storage unit for background data, and the springboot framework is used The coding and development of business systems using ava and Ajax technologies have achieved all the functions of this system. This report first analyzes the background, role, and significance of the research, laying the foundation for the rationality of the research work. This paper analyzes the requirements and technical problems of diabetes Friend's Home system, proves the necessity and technical feasibility of the system, and then makes a basic introduction to the technical software and design ideas that need to be used in the design of the system. Finally, we will implement the diabetes Friend's Home system and deploy and run it.
Key words:Java development language; Spring Boot framework technology; Diabetes Friends Home System;
目 录
- 绪论
- 概述
随着医学模式的转变,护理工作由原来单纯的疾病护理逐渐转向以“人”为中心的整体护理。而整体护理工作质量达标,在很大程度上取决于护理人员与病人之间的理解、信赖和尊重。为此,我院护理部于1998年11月在全院范围内开展了“病友之家”活动。要求护士把每位病人当作自己的亲友,使病人在一个温馨优美的病房环境中接受治疗与护理.并将整体护理从院内扩展到院外。把病人的康复过程也纳入服务范围,真正体现“一切以病人为中心”的服务宗旨,受到了病人的普遍欢迎,获得了满意的预期效果。
-
- 研究内容
糖尿病友之家系统的开发及实现,所需要的工作内容:
(1)首先是确定选题,确定好所要做的系统,并对系统的背景及现在面临的一些问题等进行系统的初步确认。
(2)系统确认完成后,结合系统开发的需求进行确认系统开发所使用的技术,糖尿病友之家系统的开发使用springboot框架,数据库进行平台的搭建开发,确认好使用的技术进行技术分析,所使用的技术是否可以完成系统的实现。
(3)确定好系统使用的技术,进行在线确认系统所划分的用户触,并且根据用户触划分确定所要设计的功能模块,对糖尿病友之家系统的设计主要划分别为管理员和用户触,并所使用的功能模块也相应不同,但系统的数据库实现的内容是交互的,驴可以随时根据自己的需求进行医生信息搜索,对于系统工作人员可以根据自己的分管内容进行在线信息的处理及操作,管理员获取到所有用户的详细数据信息,并根据需求进行第一时间处理解决。
(4)系统的功能模块确认完成后进行程序及界面的设计,设计完成后,组通过测试来判断程序是否完善,对于系统测试,要不同的用户进行不同的内容编辑及提交,及使用不同的测试方式找出程序中存在的漏洞,并对程序出现的漏洞问题进行在线解决处理,如果测试系统没有任何问题时,可以将系统上传进行正式操作使用。
B/S架构(浏览器/服务器)是当前应用最为广泛的一种架构,能够使系统的开发变得容易、易操作、易于维护。当你在你的电脑上安装一个数据库和几个非常常见的浏览器时,你就可以使用这个结构。B/S结构可以直接用于 B/S系统,并且 B/S架构可以在实际应用中大大降低了系统的运行维护。在 B/S平台上,各数据库彼此独立,具有很高的安全性。由于 B/S架构可以清晰地观察到系统所处理的业务,使管理者可以及时做出决定,从而避免了企业的亏损。B/S架构的本质特征是集中式管理,用户通过系统产生的数据,将其存入数据库,便于以后的应用,从而达到了各种需要。
B/S模型由一个浏览器、一个网络服务器、一个数据库服务器三个层级构成。数据管理采用了当前大部分现有B/S系统的表现层、应用层和数据层,Web浏览器是为了满足用户的要求而设计的,在数据处理和逻辑过程中使用的中间应用层,从而形成分布式的运行模式。B/S体系结构的逻辑是:在前端完成的处理,将主要的业务逻辑交给后台,而前端只负责少量的请求、渲染等。由于因特网技术的迅速发展,B/S体系结构使得任何时间、任何地点都能访问到该系统。
图2-1 B/S模式三层结构图
-
- springboot框架介绍
Spring框架是Java平台上的一种开源应用框架,提供具有控制反转特性的容器。尽管Spring框架自身对编程模型没有限制,但其在Java应用中的频繁使用让它备受青睐,以至于后来让它作为EJB(EnterpriseJavaBeans)模型的补充,甚至是替补。Spring框架为开发提供了一系列的解决方案,比如利用控制反转的核心特性,并通过依赖注入实现控制反转来实现管理对象生命周期容器化,利用面向切面编程进行声明式的事务管理,整合多种持久化技术管理数据访问,提供大量优秀的Web框架方便开发等等。Spring框架具有控制反转(IOC)特性,IOC旨在方便项目维护和测试,它提供了一种通过Java的反射机制对Java对象进行统一的配置和管理的方法。Spring框架利用容器管理对象的生命周期,容器可以通过扫描XML文件或类上特定Java注解来配置对象,开发者可以通过依赖查找或依赖注入来获得对象。Spring框架具有面向切面编程(AOP)框架,SpringAOP框架基于代理模式,同时运行时可配置;AOP框架主要针对模块之间的交叉关注点进行模块化。Spring框架的AOP框架仅提供基本的AOP特性,虽无法与AspectJ框架相比,但通过与AspectJ的集成,也可以满足基本需求。Spring框架下的事务管理、远程访问等功能均可以通过使用SpringAOP技术实现。Spring的事务管理框架为Java平台带来了一种抽象机制,使本地和全局事务以及嵌套事务能够与保存点一起工作,并且几乎可以在Java平台的任何环境中工作。Spring集成多种事务模板,系统可以通过事务模板、XML或Java注解进行事务配置,并且事务框架集成了消息传递和缓存等功能。Spring的数据访问框架解决了开发人员在应用程序中使用数据库时遇到的常见困难。它不仅对Java:JDBC、iBATS/MyBATIs、Hibernate、Java数据对象(JDO)、ApacheOJB和ApacheCayne等所有流行的数据访问框架中提供支持,同时还可以与Spring的事务管理一起使用,为数据访问提供了灵活的抽象。Spring框架最初是没有打算构建一个自己的WebMVC框架,其开发人员在开发过程中认为现有的StrutsWeb框架的呈现层和请求处理层之间以及请求处理层和模型之间的分离不够,于是创建了SpringMVC。
-
- MySQL数据库
数据库作为数据的存储地方是项目必须的,MySQL是一款非常优秀的关系型数据库,早期的MySQL并不是甲骨文公司的,后来才被他收购的。MySQL非常的小巧,安装包才几兆,sql语言的书写也比较容易学习,最重要的是MySQL同时也是一款开源的软件,所以不需要额外进行付费,本系统本身也是以学习总结所学知识为主,在系统的开发上最好尽量使用免费的软件,所以选用MySQL进行数据库管理。MySQL的容量也是非常大的,同时支持分库分表的操作,支持分布式,所以越来越多的中小企业选择该款数据库管理工具。另外值得一提的是,开源也有一个不好的地方,就是容易遭到破解和黑客攻击,所以MySQL在使用上还是更多的使用在中小项目中。
MySQL不会对平台有需求,所以任何一个程序员都可以通过 MySQL数据库来完成自己的系统开发,并且还可以节约大量的资源。因为它具有强大功能,所以可以用来储存这个系统的数据。
MySQL适合于各种应用,我们在运行数据库的时候,也很容易上手,我们只要编写一段代码,就可以完成相应的功能,并且可以在任何的平台上使用,而不需要再进行第二次的编译。MySQL数据库还具备在本地存储数据和允许结构化查询以方便管理的优势;MySQL是一个完全网络化的系统,它的数据库可以在互联网的任何位置被访问,它可以在任何地点与任何人分享;此外,MySQL也提供了存取控制的能力,可以阻止数据被非法使用,MySQL服务稳定,开发成本低,所以在开发过程中,MySQL数据库是最受欢迎的。
可行性分析也是为了分析项目的开发系统是否对开发有价值,以及是否真的需要改进管理系统在信息听写方面的不足。以本项目糖尿病友之家系统的设计目标和实施过程为例,如果开发该系统,希望能很好地解决用户的管理信息问题,并且如果这使糖尿病友之家系统可以发展出最大价值学说,并且还可以变相的解决了用户在一定程度上的问题,那么这个项目的研发系统也就是最有价值有意义的系统。但研发目标又是不是达到了所期望的结果,以及科研任务在实现后的最大效用和价值,它是否等于所有总成本。因此,研发阶段本质上就是研发体系能否真正设计的阶段。
技术可行性是指所确定的科学技术或决策方法中的科学技术均未突破组织掌握或相关人员熟悉的科学技术资源的界限。在技术研究过程中,应注意全面调查系统研发过程中包含的各种关键技术问题,尽可能选择成熟技术,认真引用先进技术,关注特定的研究平台和开发人员,评估关键技术的有效性。
Java技术对于该糖尿病友之家系统的设计和实施很是关键,基于、B/S架构的和MySQL数据库管理,对于前台的应用和后台的数据库管理都是至关重要的,要想有效应用该程序,就需要保持功能全面、易懂易简单使用的特性。构建数据库管理时,需要确保数据分析信息完全、数据分析信息稳定性好、数据分析信息稳定性较高的库。在早期,人们对Java的基本重要知识点就有理解和熟悉,对MySQL数据库发生过简要的掌握、熟悉,在早期对软件工程测试,以及UML语言等基础课程发生过大致的掌握和练习,经过对上述课程练习,就能够对上述课程有相应的信息系统开发、检验和判断。
Java可以和MySQL结合起来研发一个糖尿病友之家系统,一定是合理而且有效的。
在糖尿病友之家系统开发之前所做的市场调研及与其相关的其他管理系统,都是没有任何费用的。所有的调查研究都是通过开发者自己的努力,所有的工作也都是自己亲力亲为的。在碰到自己比较难以解决的问题时,大多数是通过指导老师和同学的帮助进行相关问题的解决。所以对于糖尿病友之家系统的开发在经济上是完全可行的,没有任何费用支出的。
使用比较成熟的技术,系统是基于java的开发,采用Mysql数据库。所以系统在开发人力、财力方面的要求不高,具有经济可行性。
-
-
- 操作可行性
-
糖尿病友之家系统的注册与登陆页面设计简洁容易应用,可以通过最常见的页面窗口来登陆页面,并利用过计算机实现登陆功能,因此使用者只要平时利用过计算机都可以实现登陆应用。此操作系统的研发工作环境运用了Java技术,并运用了B/S结构,这些研发工作环境都使得此系统功能更为完整,使整个设计更为个性化,使用者功能也更为简洁方便。本管理系统具备了易于运行、容易管理、交互性较好的优点,在实际操作上也是非常简单的。因此,本管理系统也可进行商业设计。
综上所述,该设备的研发符合技术、工艺和技术要求,因此其研发具有可操作性。
患者用户用例图如下所示。
图3-1患者用户用例图
管理员用例图如下所示。
图3-2 管理员用例图
| 描述项 | 说明 |
| 用例名称 | 公告查询 |
| 用例描述 | 用户可以查看公告的详情 |
| 参与者 | 用户 |
| 前置条件 | 使用者是患者用户类型并成功进入该系统 |
| 后置条件 | 浏览成功 |
| 主事件流 | (1)用户可以浏览公告的模块、公告的内容 (2)用户点击公告可以对公告进行详情阅读 |
| 异常事件流 | e1.报500错误 e2.数据库连接异常 |
表3-1 个人信息管理用例描述
| 用例名称 | 管理和修改个人信息 |
| 参与者 | 用户 |
| 描述 | 用户查看、修改个人信息 |
| 前置条件 | 用户已登录到系统中 |
| 后置条件 | 无 |
| 事件流 | (1)用户查看个人信息 (2)用户修改个人信息 |
| 补充说明 | (a)用户可修改密码 (b)用户可修改个人资料,例如姓名,头像等 |
表3-1患者论坛用例描述
| 描述项 | 说明 |
| 用例名称 | 患者论坛 |
| 用例描述 | 用户可以将自己想说的话发表在交流板,其他的用户可以查看,已注册的用户可以回复 |
| 参与者 | 用户 |
| 前置条件 | 用户是注册用户并成功进入该系统 |
| 后置条件 | 交流添加成功且显示在交流板 |
| 主事件流 | 系统检查是否是普通用户 未注册的用户可以查看交流板的内容 已注册的用户的交流表单显示出来可以进行交流和回复他人的交流 |
| 异常事件流 | e1.报500错误 e2.数据库连接异常 e3.交流内容不显示 |
表3-1 发帖用例描述
| 描述项 | 说明 |
| 用例名称 | 发帖 |
| 用例描述 | 在登录成功的条件下,用户可以发布帖子 |
| 参与者 | 用户 |
| 前置条件 | 用户登录成功并进入该系统 |
| 后置条件 | 发布成功 |
| 主事件流 | (1)系统检查是否是普通用户类型 用户输入标题、描述、类型、图片url和内容,开始执行发布用例 (3)发布成功,进入系统的主页 |
| 异常事件流 | e1.报500错误 e2.数据库连接异常 e3.数据内容太长 |
表3-1 评论用例描述
| 用例名称 | 评论 |
| 参与者 | 用户 |
| 描述 | 用户发表评论 |
| 前置条件 | 用户已登录 |
| 后置条件 | 评论内容不违规 |
| 事件流 | (1)在评论页输入评论数据,提交评论 (2)更新并显示评论板 |
| 补充说明 | (a)评论内容不能为空 |
表3-1 收藏用例描述
| 用例名称 | 收藏 |
| 参与者 | 用户 |
| 描述 | 用户将内容加入收藏夹 |
| 前置条件 | 用户已登录 |
| 后置条件 | 无 |
| 事件流 | (1)在收藏页加入收藏 (2)更新并显示收藏夹 |
| 补充说明 | 无 |
表3-1 用户管理用例描述
| 描述项 | 说明 |
| 用例名称 | 用户操作 |
| 用例描述 | 管理员正确登录后台管理的条件下,对用户进行管理 |
| 参与者 | 管理员 |
| 前置条件 | 管理员登录成功并跳转到后台主界面 |
| 后置条件 | 操作成功 |
| 主事件流 | 管理员跳转用户管理页面,查询用户详情的信息 管理员可以删除用户信息 |
| 异常事件流 | e1.报500错误 e2.数据库连接异常 |
表3-1 医生信息管理用例描述
| 描述项 | 说明 |
| 用例名称 | 医生信息操作 |
| 用例描述 | 管理员正确登录后台管理的条件下,对医生信息模块进行管理 |
| 参与者 | 管理员 |
| 前置条件 | 管理员成功登录 |
| 后置条件 | 操作成功 |
| 主事件流 | (1)管理员进入医生信息管理页面,查询医生的信息 (2)管理员可以对医生信息进行增删除和编辑医生信息操作 (3)管理员新增医生信息,添加成功跳转到查询页面 |
| 异常事件流 | e1.报500错误 e2.数据库连接异常 |
表3-1 健康评价管理用例描述
| 描述项 | 说明 |
| 用例名称 | 健康评价操作 |
| 用例描述 | 管理员正确登录后台管理的条件下,对健康评价模块进行管理 |
| 参与者 | 管理员 |
| 前置条件 | 管理员成功登录 |
| 后置条件 | 操作成功 |
| 主事件流 | (1)管理员进入健康评价管理页面,查询健康评价的信息 (2)管理员可以对健康评价进行增删除和编辑健康评价操作 (3)管理员新增健康评价,添加成功跳转到查询页面 |
| 异常事件流 | e1.报500错误 e2.数据库连接异常 |
表3-1 咨询信息管理用例描述
| 描述项 | 说明 |
| 用例名称 | 咨询信息操作 |
| 用例描述 | 管理员正确登录后台管理的条件下,对咨询信息模块进行管理 |
| 参与者 | 管理员 |
| 前置条件 | 管理员成功登录 |
| 后置条件 | 操作成功 |
| 主事件流 | (1)管理员进入咨询信息管理页面,查询咨询的信息 (2)管理员可以对咨询信息进行增删除和编辑咨询信息操作 (3)管理员新增咨询信息,添加成功跳转到查询页面 |
| 异常事件流 | e1.报500错误 e2.数据库连接异常 |
表3-1 饮食管理用例描述
| 描述项 | 说明 |
| 用例名称 | 饮食操作 |
| 用例描述 | 管理员正确登录后台管理的条件下,对饮食模块进行管理 |
| 参与者 | 管理员 |
| 前置条件 | 管理员成功登录 |
| 后置条件 | 操作成功 |
| 主事件流 | (1)管理员进入饮食管理页面,查询饮食的信息 (2)管理员可以对饮食进行增删除和编辑饮食操作 (3)管理员新增饮食,添加成功跳转到查询页面 |
| 异常事件流 | e1.报500错误 e2.数据库连接异常 |
表3-1 资讯管理用例描述
| 描述项 | 说明 |
| 用例名称 | 资讯操作 |
| 用例描述 | 管理员正确登录后台管理的条件下,资讯模块进行管理 |
| 参与者 | 管理员 |
| 前置条件 | 管理员成功登录 |
| 后置条件 | 操作成功 |
| 主事件流 | (1)管理员进入资讯管理页面,查询资讯内容的信息 (2)管理员可以对资讯进行删除操作 |
| 异常事件流 | e1.报500错误 e2.数据库连接异常 |
表3-1 公告管理用例描述
| 用例名称 | 公告管理 |
| 参与者 | 管理者 |
| 描述 | 管理者提供新增、修改、删除、查阅等功能 |
| 前置条件 |
|
| 后置条件 | 无 |
| 事件流 | (1)管理者查看修改公告 (2)管理者添加公告 (3)管理者删除公告 |
| 补充说明 | (a)新添加的公告不符合要求时会添加失败 (b)修改的公告不符合要求时会修改失败 |
表3-1 交流管理用例描述
| 描述项 | 说明 |
| 用例名称 | 交流操作 |
| 用例描述 | 管理员正确登录后台管理的条件下,交流模块进行管理 |
| 参与者 | 管理员 |
| 前置条件 | 管理员成功登录 |
| 后置条件 | 操作成功 |
| 主事件流 | (1)管理员进入交流界面,查询交流内容信息 (2)管理员可以删除交流 |
| 异常事件流 | e1.报500错误 e2.数据库连接异常 |
表3-1 回复管理用例描述
| 描述项 | 说明 |
| 用例名称 | 回复操作 |
| 用例描述 | 管理员正确登录后台管理的条件下,回复模块进行管理 |
| 参与者 | 管理员 |
| 前置条件 | 管理员成功登录 |
| 后置条件 | 操作成功 |
| 主事件流 | (1)管理员进入回复管理页面,查询回复内容的信息 (2)管理员可以删除回复 |
| 异常事件流 | e1.报500错误 e2.数据库连接异常 |
表3-1 评论管理用例描述
| 描述项 | 说明 |
| 用例名称 | 评论操作 |
| 用例描述 | 管理员正确登录后台管理的条件下,评论模块进行管理 |
| 参与者 | 管理员 |
| 前置条件 | 管理员成功登录 |
| 后置条件 | 操作成功 |
| 主事件流 | (1)管理员进入评论管理页面,查询评论内容的信息 (2)管理员可以从用户评论中删除数据 |
| 异常事件流 | e1.报500错误 e2.数据库连接异常 |
表3-1 帖子管理用例描述
| 描述项 | 说明 |
| 用例名称 | 帖子操作 |
| 用例描述 | 管理员正确登录后台管理的条件下,对帖子进行管理 |
| 参与者 | 管理员 |
| 前置条件 | 管理员成功登录 |
| 后置条件 | 操作成功 |
| 主事件流 | (1)管理员进入帖子管理页面,查询帖子的信息 (2)管理员可以对进行增删除和编辑帖子操作 管理员新增帖子,添加成功跳转到查询页面 |
| 异常事件流 | e1.报500错误 e2.数据库连接异常 |
-
- 系统性能需求
第一,友好界面。糖尿病友之家系统开发设计,界面的友好性比较重要,满足这一要求才能体现出人性化设计特征,和用户应用系统便捷性相适应,动态的人机交互设计,用户应用系统的时候能感受到操作的便利,提高用户的体验良好感受,才能有助于将系统开采设计的作用价值充分发挥出来。
第二,稳定性要求。开发设计的糖尿病友之家系统,需要保持其稳定,系统应用稳定才能有助于各项管理工作高效率完成,提升系统使用体验度。系统运行保障因外部异常造成系统崩溃,系统发生问题后数据能及时备份,第一时间恢复数据信息,保障系统良好运行。
第三,可扩展性。糖尿病友之家系统的开发设计,需要满足可扩展性的要求,系统的设计需要考虑未来系统业务扩展问题,在测试不断应用下,功能需求会不断扩展,通过良好扩展性作用发挥,满足多样化的需要。
层次框图是一系列由多层矩形框架组成的树,其顶部为矩形框架,表示整个数据结构,下方的长方形立方体表示独立的数据,下方的长方形表示该数据的实际数据(不能进行分割)。由于这个架构的精炼,层级方块图描述的资料结构也愈加详尽,这个模型很好地满足了需求分析的要求。首先对最上层的信息进行分类,然后在图表中的每个路径上重复地进行优化,直至完整的数据结构被确定。
这个系统由三个模块组成,一个是管理员,二个是患者用户,最后是医生用户是这三个部分看起来是独立的,实际上却是连接着数据库,每个模块都有自己的权限,唯一不同的,就是访问的方式不同。在调研资料的基础上,完成了各个模块的功能。在对上述功能进行分析的基础上,本系统提出了三个主要的模块,每个单元可划分为若干小单元。
系统的功能结构图如下图所示。
图4-2 系统功能结构图
1.登录模块:
本糖尿病友之家系统的用户登录涉及到三类信息的判断:第一类是用户名和密码是否为空;第二类是验证码是否录入和正确;第三类就是用户登录信息、验证码和权限是否匹配通过。在该用户登录流程对会对用户名和密码是否为空进行判断,以及验证码是否正确进行判断,只有以上的几类信息中的一种存在问题的情况下都是无法登录成功的。
2.公告管理模块:
本糖尿病友之家系统中的公告管理,管理方式都是对信息的三种基本操作:一种是完成公告信息的添加,在这里会对公告信息的录入情况来判断;一种是对公告信息的修改,另一种就是对公告信息的删除。其后两种操作都是要建立在第一种操作而生成的公告列表的基础上完成的。
3.医生信息管理模块:
本糖尿病友之家系统中的医生信息管理,管理方式都是对信息的三种基本操作:一种是完成医生信息的添加,在这里会对医生信息的录入情况来判断;一种是对医生信息的修改,另一种就是对医生信息的删除。其后两种操作都是要建立在第一种操作而生成的医生信息列表的基础上完成的。
4.健康评价管理模块:
本糖尿病友之家系统中的健康评价管理,管理方式都是对信息的三种基本操作:一种是完成健康评价的添加,在这里会对健康评价的录入情况来判断;一种是对健康评价的修改,另一种就是对健康评价的删除。其后两种操作都是要建立在第一种操作而生成的健康评价列表的基础上完成的。
5.患者论坛模块:
患者论坛模块包括话题板块模块、发帖、回帖、帖子管理等字模块,分享模块里存在各种各样的话题板块,用户在相应的板块讨论相应的话题,用户在线发帖、回帖,管理人员管理所有患者论坛的帖子,对违规的在线删帖。
下面是整个糖尿病友之家系统中主要的数据库表总E-R实体关系图。
图4-3 总体ER图
所有系统的应用数据相互区分。一旦在相应的系统中实现,它们将与自己相应的网络和服务器通信。所以这个系统可以连接这些数据。当我们选择桥梁截面时,以下将简要介绍如何建立系统。在单击上一个按键的时候,就会自动在对话框中弹出数据源的名字,之后再单击下一个按键时,就在填写相对应的身份验证和登录信息。按照系统功能设计的特点与职能模块的分类,糖尿病友之家系统的总体设计和实施过程一共涉及到了几个资料表格。
以下就介绍了一些根据各类别主要数据库表的设计结构以及基本功能建立数据库表:
表consultation_information (咨询信息)
| 编号 | 名称 | 数据类型 | 长度 | 小数位 | 允许空值 | 主键 | 默认值 | 说明 |
| 1 | consultation_information_id | int | 10 | 0 | N | Y | 咨询信息ID | |
| 2 | doctors_name | varchar | 64 | 0 | Y | N | 医生姓名 | |
| 3 | doctor_user | int | 10 | 0 | Y | N | 0 | 医生用户 |
| 4 | professional_title_of_doctor | varchar | 64 | 0 | Y | N | 医生职称 | |
| 5 | consult_users | int | 10 | 0 | Y | N | 0 | 咨询用户 |
| 6 | user_name | varchar | 64 | 0 | Y | N | 用户姓名 | |
| 7 | consultation_time | date | 10 | 0 | Y | N | 咨询时间 | |
| 8 | consultation_questions | text | 65535 | 0 | Y | N | 咨询问题 | |
| 9 | reply_to_a_question | text | 65535 | 0 | Y | N | 回复问题 | |
| 10 | recommend | int | 10 | 0 | N | N | 0 | 智能推荐 |
| 11 | create_time | datetime | 19 | 0 | N | N | CURRENT_TIMESTAMP | 创建时间 |
| 12 | update_time | timestamp | 19 | 0 | N | N | CURRENT_TIMESTAMP | 更新时间 |
表dietary_management (饮食管理)
| 编号 | 名称 | 数据类型 | 长度 | 小数位 | 允许空值 | 主键 | 默认值 | 说明 |
| 1 | dietary_management_id | int | 10 | 0 | N | Y | 饮食管理ID | |
| 2 | patient_users | int | 10 | 0 | Y | N | 0 | 患者用户 |
| 3 | user_name | varchar | 64 | 0 | Y | N | 用户姓名 | |
| 4 | blood_glucose_concentration | varchar | 64 | 0 | Y | N | 血糖浓度 | |
| 5 | doctor_user | int | 10 | 0 | Y | N | 0 | 医生用户 |
| 6 | doctors_name | varchar | 64 | 0 | Y | N | 医生姓名 | |
| 7 | planning_time | date | 10 | 0 | Y | N | 规划时间 | |
| 8 | dietary_planning | text | 65535 | 0 | Y | N | 饮食规划 | |
| 9 | recommend | int | 10 | 0 | N | N | 0 | 智能推荐 |
| 10 | create_time | datetime | 19 | 0 | N | N | CURRENT_TIMESTAMP | 创建时间 |
| 11 | update_time | timestamp | 19 | 0 | N | N | CURRENT_TIMESTAMP | 更新时间 |
表doctor_information (医生信息)
| 编号 | 名称 | 数据类型 | 长度 | 小数位 | 允许空值 | 主键 | 默认值 | 说明 |
| 1 | doctor_information_id | int | 10 | 0 | N | Y | 医生信息ID | |
| 2 | doctors_name | varchar | 64 | 0 | Y | N | 医生姓名 | |
| 3 | doctors_gender | varchar | 64 | 0 | Y | N | 医生性别 | |
| 4 | doctor_user | int | 10 | 0 | Y | N | 0 | 医生用户 |
| 5 | professional_title_of_doctor | varchar | 64 | 0 | Y | N | 医生职称 | |
| 6 | contact_information | varchar | 64 | 0 | Y | N | 联系方式 | |
| 7 | doctors_head | varchar | 255 | 0 | Y | N | 医生头像 | |
| 8 | doctor_profile | text | 65535 | 0 | Y | N | 医生简介 | |
| 9 | hits | int | 10 | 0 | N | N | 0 | 点击数 |
| 10 | praise_len | int | 10 | 0 | N | N | 0 | 点赞数 |
| 11 | recommend | int | 10 | 0 | N | N | 0 | 智能推荐 |
| 12 | create_time | datetime | 19 | 0 | N | N | CURRENT_TIMESTAMP | 创建时间 |
| 13 | update_time | timestamp | 19 | 0 | N | N | CURRENT_TIMESTAMP | 更新时间 |
表doctor_user (医生用户)
| 编号 | 名称 | 数据类型 | 长度 | 小数位 | 允许空值 | 主键 | 默认值 | 说明 |
| 1 | doctor_user_id | int | 10 | 0 | N | Y | 医生用户ID | |
| 2 | doctors_name | varchar | 64 | 0 | Y | N | 医生姓名 | |
| 3 | doctors_gender | varchar | 64 | 0 | Y | N | 医生性别 | |
| 4 | professional_title_of_doctor | varchar | 64 | 0 | Y | N | 医生职称 | |
| 5 | examine_state | varchar | 16 | 0 | N | N | 已通过 | 审核状态 |
| 6 | recommend | int | 10 | 0 | N | N | 0 | 智能推荐 |
| 7 | user_id | int | 10 | 0 | N | N | 0 | 用户ID |
| 8 | create_time | datetime | 19 | 0 | N | N | CURRENT_TIMESTAMP | 创建时间 |
| 9 | update_time | timestamp | 19 | 0 | N | N | CURRENT_TIMESTAMP | 更新时间 |
表forum (论坛)
| 编号 | 名称 | 数据类型 | 长度 | 小数位 | 允许空值 | 主键 | 默认值 | 说明 |
| 1 | forum_id | mediumint | 8 | 0 | N | Y | 论坛id | |
| 2 | display | smallint | 5 | 0 | N | N | 100 | 排序 |
| 3 | user_id | mediumint | 8 | 0 | N | N | 0 | 用户ID |
| 4 | nickname | varchar | 16 | 0 | Y | N | 昵称:[0,16] | |
| 5 | praise_len | int | 10 | 0 | Y | N | 0 | 点赞数 |
| 6 | hits | int | 10 | 0 | N | N | 0 | 访问数 |
| 7 | title | varchar | 125 | 0 | N | N | 标题 | |
| 8 | keywords | varchar | 125 | 0 | Y | N | 关键词 | |
| 9 | description | varchar | 255 | 0 | Y | N | 描述 | |
| 10 | url | varchar | 255 | 0 | Y | N | 来源地址 | |
| 11 | tag | varchar | 255 | 0 | Y | N | 标签 | |
| 12 | img | text | 65535 | 0 | Y | N | 封面图 | |
| 13 | content | longtext | 2147483647 | 0 | Y | N | 正文 | |
| 14 | create_time | timestamp | 19 | 0 | N | N | CURRENT_TIMESTAMP | 创建时间: |
| 15 | update_time | timestamp | 19 | 0 | N | N | CURRENT_TIMESTAMP | 更新时间: |
| 16 | avatar | varchar | 255 | 0 | Y | N | 发帖人头像: | |
| 17 | type | varchar | 64 | 0 | N | N | 0 | 论坛分类:[0,1000]用来搜索指定类型的论坛帖 |
表forum_type (论坛分类)
| 编号 | 名称 | 数据类型 | 长度 | 小数位 | 允许空值 | 主键 | 默认值 | 说明 |
| 1 | type_id | smallint | 5 | 0 | N | Y | 分类ID:[0,10000] | |
| 2 | name | varchar | 16 | 0 | N | N | 分类名称:[2,16] | |
| 3 | description | varchar | 255 | 0 | Y | N | 描述:[0,255]描述该分类的作用 | |
| 4 | url | varchar | 255 | 0 | Y | N | 外链地址:[0,255]如果该分类是跳转到其他网站的情况下,就在该URL上设置 | |
| 5 | father_id | smallint | 5 | 0 | N | N | 0 | 上级分类ID:[0,32767] |
| 6 | icon | varchar | 255 | 0 | Y | N | 分类图标: | |
| 7 | create_time | timestamp | 19 | 0 | N | N | CURRENT_TIMESTAMP | 创建时间: |
| 8 | update_time | timestamp | 19 | 0 | N | N | CURRENT_TIMESTAMP | 更新时间: |
表health_diary (健康日记)
| 编号 | 名称 | 数据类型 | 长度 | 小数位 | 允许空值 | 主键 | 默认值 | 说明 |
| 1 | health_diary_id | int | 10 | 0 | N | Y | 健康日记ID | |
| 2 | patient_users | int | 10 | 0 | Y | N | 0 | 患者用户 |
| 3 | user_name | varchar | 64 | 0 | Y | N | 用户姓名 | |
| 4 | recording_time | date | 10 | 0 | Y | N | 记录时间 | |
| 5 | blood_glucose_concentration | varchar | 64 | 0 | Y | N | 血糖浓度 | |
| 6 | notes_details | text | 65535 | 0 | Y | N | 备注详情 | |
| 7 | recommend | int | 10 | 0 | N | N | 0 | 智能推荐 |
| 8 | create_time | datetime | 19 | 0 | N | N | CURRENT_TIMESTAMP | 创建时间 |
| 9 | update_time | timestamp | 19 | 0 | N | N | CURRENT_TIMESTAMP | 更新时间 |
表health_evaluation (健康评价)
| 编号 | 名称 | 数据类型 | 长度 | 小数位 | 允许空值 | 主键 | 默认值 | 说明 |
| 1 | health_evaluation_id | int | 10 | 0 | N | Y | 健康评价ID | |
| 2 | patient_users | int | 10 | 0 | Y | N | 0 | 患者用户 |
| 3 | user_name | varchar | 64 | 0 | Y | N | 用户姓名 | |
| 4 | blood_glucose_concentration | varchar | 64 | 0 | Y | N | 血糖浓度 | |
| 5 | form_filling | varchar | 255 | 0 | Y | N | 表格填写 | |
| 6 | doctor_user | int | 10 | 0 | Y | N | 0 | 医生用户 |
| 7 | doctors_name | varchar | 64 | 0 | Y | N | 医生姓名 | |
| 8 | health_rating | int | 10 | 0 | Y | N | 0 | 健康打分 |
| 9 | evaluation_content | text | 65535 | 0 | Y | N | 评价内容 | |
| 10 | recommend | int | 10 | 0 | N | N | 0 | 智能推荐 |
| 11 | create_time | datetime | 19 | 0 | N | N | CURRENT_TIMESTAMP | 创建时间 |
| 12 | update_time | timestamp | 19 | 0 | N | N | CURRENT_TIMESTAMP | 更新时间 |
表hits (用户点击)
| 编号 | 名称 | 数据类型 | 长度 | 小数位 | 允许空值 | 主键 | 默认值 | 说明 |
| 1 | hits_id | int | 10 | 0 | N | Y | 点赞ID: | |
| 2 | user_id | int | 10 | 0 | N | N | 0 | 点赞人: |
| 3 | create_time | timestamp | 19 | 0 | N | N | CURRENT_TIMESTAMP | 创建时间: |
| 4 | update_time | timestamp | 19 | 0 | N | N | CURRENT_TIMESTAMP | 更新时间: |
| 5 | source_table | varchar | 255 | 0 | Y | N | 来源表: | |
| 6 | source_field | varchar | 255 | 0 | Y | N | 来源字段: | |
| 7 | source_id | int | 10 | 0 | N | N | 0 | 来源ID: |
表notice (公告)
| 编号 | 名称 | 数据类型 | 长度 | 小数位 | 允许空值 | 主键 | 默认值 | 说明 |
| 1 | notice_id | mediumint | 8 | 0 | N | Y | 公告id: | |
| 2 | title | varchar | 125 | 0 | N | N | 标题: | |
| 3 | content | longtext | 2147483647 | 0 | Y | N | 正文: | |
| 4 | create_time | timestamp | 19 | 0 | N | N | CURRENT_TIMESTAMP | 创建时间: |
| 5 | update_time | timestamp | 19 | 0 | N | N | CURRENT_TIMESTAMP | 更新时间: |
表patient_users (患者用户)
| 编号 | 名称 | 数据类型 | 长度 | 小数位 | 允许空值 | 主键 | 默认值 | 说明 |
| 1 | patient_users_id | int | 10 | 0 | N | Y | 患者用户ID | |
| 2 | user_name | varchar | 64 | 0 | Y | N | 用户姓名 | |
| 3 | user_gender | varchar | 64 | 0 | Y | N | 用户性别 | |
| 4 | user_age | int | 10 | 0 | Y | N | 0 | 用户年龄 |
| 5 | examine_state | varchar | 16 | 0 | N | N | 已通过 | 审核状态 |
| 6 | recommend | int | 10 | 0 | N | N | 0 | 智能推荐 |
| 7 | user_id | int | 10 | 0 | N | N | 0 | 用户ID |
| 8 | create_time | datetime | 19 | 0 | N | N | CURRENT_TIMESTAMP | 创建时间 |
| 9 | update_time | timestamp | 19 | 0 | N | N | CURRENT_TIMESTAMP | 更新时间 |
表praise (点赞)
| 编号 | 名称 | 数据类型 | 长度 | 小数位 | 允许空值 | 主键 | 默认值 | 说明 |
| 1 | praise_id | int | 10 | 0 | N | Y | 点赞ID: | |
| 2 | user_id | int | 10 | 0 | N | N | 0 | 点赞人: |
| 3 | create_time | timestamp | 19 | 0 | N | N | CURRENT_TIMESTAMP | 创建时间: |
| 4 | update_time | timestamp | 19 | 0 | N | N | CURRENT_TIMESTAMP | 更新时间: |
| 5 | source_table | varchar | 255 | 0 | Y | N | 来源表: | |
| 6 | source_field | varchar | 255 | 0 | Y | N | 来源字段: | |
| 7 | source_id | int | 10 | 0 | N | N | 0 | 来源ID: |
| 8 | status | bit | 1 | 0 | N | N | 1 | 点赞状态:1为点赞,0已取消 |
表seek_medical_advice (寻医问药)
| 编号 | 名称 | 数据类型 | 长度 | 小数位 | 允许空值 | 主键 | 默认值 | 说明 |
| 1 | seek_medical_advice_id | int | 10 | 0 | N | Y | 寻医问药ID | |
| 2 | patient_users | int | 10 | 0 | Y | N | 0 | 患者用户 |
| 3 | user_name | varchar | 64 | 0 | Y | N | 用户姓名 | |
| 4 | release_time | date | 10 | 0 | Y | N | 发布时间 | |
| 5 | query_title | varchar | 64 | 0 | Y | N | 询问标题 | |
| 6 | symptom_description | text | 65535 | 0 | Y | N | 症状描述 | |
| 7 | reply_content | text | 65535 | 0 | Y | N | 回复内容 | |
| 8 | recommend | int | 10 | 0 | N | N | 0 | 智能推荐 |
| 9 | create_time | datetime | 19 | 0 | N | N | CURRENT_TIMESTAMP | 创建时间 |
| 10 | update_time | timestamp | 19 | 0 | N | N | CURRENT_TIMESTAMP | 更新时间 |
表slides (轮播图)
| 编号 | 名称 | 数据类型 | 长度 | 小数位 | 允许空值 | 主键 | 默认值 | 说明 |
| 1 | slides_id | int | 10 | 0 | N | Y | 轮播图ID: | |
| 2 | title | varchar | 64 | 0 | Y | N | 标题: | |
| 3 | content | varchar | 255 | 0 | Y | N | 内容: | |
| 4 | url | varchar | 255 | 0 | Y | N | 链接: | |
| 5 | img | varchar | 255 | 0 | Y | N | 轮播图: | |
| 6 | hits | int | 10 | 0 | N | N | 0 | 点击量: |
| 7 | create_time | timestamp | 19 | 0 | N | N | CURRENT_TIMESTAMP | 创建时间: |
| 8 | update_time | timestamp | 19 | 0 | N | N | CURRENT_TIMESTAMP | 更新时间: |
系统实现
用户登录的验证将不再局限于登录信息和权限的匹配验证,而是另外增加了一个验证码,只有界面上所有的编辑框数据都准确的情况下才能实现登录成功。管理员的登录和前台用户登录是一样的过程,其主要就是利用权限字段来完成对用户或管理员的角色识别。
用户登录流程图如下所示。
图5-1 用户登录流程图
登录界面如下图所示。
图5-1 登录界面
登录关键代码如下所示。
* 登录
* @param data
* @param httpServletRequest
* @return
*/
@PostMapping("login")
public Map<String, Object> login(@RequestBody Map<String, String> data, HttpServletRequest httpServletRequest) {
log.info("[执行登录接口]");
String username = data.get("username");
String email = data.get("email");
String phone = data.get("phone");
String password = data.get("password");
List resultList = null;
Map<String, String> map = new HashMap<>();
if(username != null && "".equals(username) == false){
map.put("username", username);
resultList = service.select(map, new HashMap<>()).getResultList();
}
else if(email != null && "".equals(email) == false){
map.put("email", email);
resultList = service.select(map, new HashMap<>()).getResultList();
}
else if(phone != null && "".equals(phone) == false){
map.put("phone", phone);
resultList = service.select(map, new HashMap<>()).getResultList();
}else{
return error(30000, "账号或密码不能为空");
}
if (resultList == null || password == null) {
return error(30000, "账号或密码不能为空");
}
//判断是否有这个用户
if (resultList.size()<=0){
return error(30000,"用户不存在");
}
User byUsername = (User) resultList.get(0);
Map<String, String> groupMap = new HashMap<>();
groupMap.put("name",byUsername.getUserGroup());
List groupList = userGroupService.select(groupMap, new HashMap<>()).getResultList();
if (groupList.size()<1){
return error(30000,"用户组不存在");
}
UserGroup userGroup = (UserGroup) groupList.get(0);
//查询用户审核状态
if (!StringUtils.isEmpty(userGroup.getSourceTable())){
String sql = "select examine_state from "+ userGroup.getSourceTable() +" WHERE user_id = " + byUsername.getUserId();
String res = String.valueOf(service.runCountSql(sql).getSingleResult());
if (res==null){
return error(30000,"用户不存在");
}
if (!res.equals("已通过")){
return error(30000,"该用户审核未通过");
}
}
//查询用户状态
if (byUsername.getState()!=1){
return error(30000,"用户非可用状态,不能登录");
}
String md5password = service.encryption(password);
if (byUsername.getPassword().equals(md5password)) {
// 存储Token到数据库
AccessToken accessToken = new AccessToken();
accessToken.setToken(UUID.randomUUID().toString().replaceAll("-", ""));
accessToken.setUser_id(byUsername.getUserId());
tokenService.save(accessToken);
// 返回用户信息
JSONObject user = JSONObject.parseObject(JSONObject.toJSONString(byUsername));
user.put("token", accessToken.getToken());
JSONObject ret = new JSONObject();
ret.put("obj",user);
return success(ret);
} else {
return error(30000, "账号或密码不正确");
}
}
-
- 用户模块的实现
- 首页模块的实现
- 用户模块的实现
首页主要分别展示各个模块的最新动态,浏览者可以很清楚地看到不同模块的最新更新内容。并且系统首页每个部分可以跳转到相对应的模块,方便浏览者选择感兴趣的地方。
首页载入流程图如下所示。
图5-3 首页载入流程
首页如下图所示。
图5-1 首页界面
-
-
- 注册模块的实现
-
系统的用户通过自行注册生成,在系统首页点击用户注册菜单,系统跳转到对应的注册页面。点击重置按钮,清空所填数据,点击注册按钮完成注册。
用户注册流程图如下所示。
图5-1 用户注册流程图
用户注册界面如下图所示。
图5-1 注册界面
注册逻辑代码如下:
/**
* 注册
* @param user
* @return
*/
@PostMapping("register")
public Map<String, Object> signUp(@RequestBody User user) {
// 查询用户
Map<String, String> query = new HashMap<>();
query.put("username",user.getUsername());
List list = service.select(query, new HashMap<>()).getResultList();
if (list.size()>0){
return error(30000, "用户已存在");
}
user.setUserId(null);
user.setPassword(service.encryption(user.getPassword()));
service.save(user);
return success(1);
}
/**
* 用户ID:[0,8388607]用户获取其他与用户相关的数据
*/
@Id
@GeneratedValue(strategy = GenerationType.IDENTITY)
@Column(name = "user_id")
private Integer userId;
/**
* 账户状态:[0,10](1可用|2异常|3已冻结|4已注销)
*/
@Basic
@Column(name = "state")
private Integer state;
/**
* 所在用户组:[0,32767]决定用户身份和权限
*/
@Basic
@Column(name = "user_group")
private String userGroup;
/**
* 上次登录时间:
*/
@Basic
@Column(name = "login_time")
private Timestamp loginTime;
/**
* 手机号码:[0,11]用户的手机号码,用于找回密码时或登录时
*/
@Basic
@Column(name = "phone")
private String phone;
/**
* 手机认证:[0,1](0未认证|1审核中|2已认证)
*/
@Basic
@Column(name = "phone_state")
private Integer phoneState;
/**
* 用户名:[0,16]用户登录时所用的账户名称
*/
@Basic
@Column(name = "username")
private String username;
/**
* 昵称:[0,16]
*/
@Basic
@Column(name = "nickname")
private String nickname;
/**
* 密码:[0,32]用户登录所需的密码,由6-16位数字或英文组成
*/
@Basic
@Column(name = "password")
private String password;
/**
* 邮箱:[0,64]用户的邮箱,用于找回密码时或登录时
*/
@Basic
@Column(name = "email")
private String email;
/**
* 邮箱认证:[0,1](0未认证|1审核中|2已认证)
*/
@Basic
@Column(name = "email_state")
private Integer emailState;
/**
* 头像地址:[0,255]
*/
@Basic
@Column(name = "avatar")
private String avatar;
/**
* 创建时间:
*/
@Basic
@Column(name = "create_time")
@JsonFormat(pattern = "yyyy-MM-dd HH:mm:ss")
private Timestamp createTime;
@Basic
@Transient
private String code;
}
-
-
- 评论模块的实现
-
用户点击某个医生信息进入医生信息详细页,点击评论按钮进入评论页,提交评论信息,成功发布评论,管理员管理用户的评论信息。
发布评论流程图如下所示。
图5-1 发布评论流程图
发布评论界面如图所示。
图5-1发布评论界面
-
-
- 医生信息收藏模块的实现
-
用户选择相应的医生信息收藏,通过id传参,找到id为此传参的医生信息,在收藏页提交收藏记录表单,生成收藏记录,用户在个人中心管理个人的收藏夹。
医生信息收藏界面如下图所示。
图5-1场地信息收藏界面
用户执行寻医问药,并可以操作相关内容,例如查看,编辑。寻医问药的添加操作是建立在寻医信息的列表基础上,单击查寻医信息下的寻医问药链接;然后单击“寻医问药”进行添加,添加成功后的信息会载入到寻医问药查询列表中。
寻医问药流程图如下所示。
图5-1 寻医问药流程图
寻医问药界面如图所示。
图5-1寻医问药界面
用户通过注册了方可获得登录使用权限,此时选择患者用户选项,系统就会自动转到用户注册工作面,在注册该部分信息时系统会自动调用add函数,然后在给定的文本框中填写有关该用户的基础信息后选择确认即可完成注册。检索用户信息,在新增用户信息以后,在检索工具栏中填写对应的用户信息,系统就会将该用户有关的所有信息展示出来。
用户管理流程图如下所示。
图5-1 用户管理流程图
用户管理界面如下图所示。
图5-1 用户管理界面
用户管理的逻辑代码如下:
@PostMapping("/add")
@Transactional
public Map<String, Object> add(HttpServletRequest request) throws IOException {
service.insert(service.readBody(request.getReader()));
return success(1);
}
@Transactional
public Map<String, Object> addMap(Map<String,Object> map){
service.insert(map);
return success(1);
}
public Map<String,Object> readBody(BufferedReader reader){
BufferedReader br = null;
StringBuilder sb = new StringBuilder("");
try{
br = reader;
String str;
while ((str = br.readLine()) != null){
sb.append(str);
}
br.close();
String json = sb.toString();
return JSONObject.parseObject(json, Map.class);
}catch (IOException e){
e.printStackTrace();
}finally{
if (null != br){
try{
br.close();
}catch (IOException e){
e.printStackTrace();
}
}
}
return null;
}
public void insert(Map<String,Object> body){
StringBuffer sql = new StringBuffer("INSERT INTO ");
sql.append("`").append(table).append("`").append(" (");
for (Map.Entry<String,Object> entry:body.entrySet()){
sql.append("`"+humpToLine(entry.getKey())+"`").append(",");
}
sql.deleteCharAt(sql.length()-1);
sql.append(") VALUES (");
for (Map.Entry<String,Object> entry:body.entrySet()){
Object value = entry.getValue();
if (value instanceof String){
sql.append("'").append(entry.getValue()).append("'").append(",");
}else {
sql.append(entry.getValue()).append(",");
}
}
sql.deleteCharAt(sql.length() - 1);
sql.append(")");
log.info("[{}] - 插入操作:{}",table,sql);
Query query = runCountSql(sql.toString());
query.executeUpdate();
}
-
-
- 公告管理模块的实现
-
在主页左侧菜单栏中点击“公告管理”按钮,再从二级目录中点击“新增公告”按钮,进入到新增公告界面。在此处公告可以添加公告的标题、正文。
在主页左侧菜单栏中点击“公告管理”按钮,再从二级目录中点击“查询公告”按钮,进入到查询公告界面。在此处公告可以查询当前所有公告记录。
公告展示界面如下图所示。
图5-1 公告展示界面
公告管理界面如下图所示。
图5-1 公告管理界面
公告管理逻辑代码如下所示。
@RequestMapping(value = "/del")
@Transactional
public Map<String, Object> del(HttpServletRequest request) {
service.delete(service.readQuery(request), service.readConfig(request));
return success(1);
}
@Transactional
public void delete(Map<String,String> query,Map<String,String> config){
StringBuffer sql = new StringBuffer("DELETE FROM ").append("`").append(table).append("`").append(" ");
sql.append(toWhereSql(query, "0".equals(config.get(FindConfig.GROUP_BY))));
log.info("[{}] - 删除操作:{}",table,sql);
Query query1 = runCountSql(sql.toString());
query1.executeUpdate();
}
-
-
- 咨询信息管理模块的实现
-
管理员执行咨询信息管理,并可以操作相关内容,例如添加,查看,编辑和删除。通过单击“添加咨询信息”,可以通过咨询信息添加界面添加详细信息。单击查看字段级别链接以查看有关所选字段级别的信息。然后单击“提交”跳转重返到添加页面。添加成功后的信息会载入到咨询信息查询列表中,管理员可进行编辑以及修改。
咨询信息管理流程图如下所示。
图5-1 咨询信息管理流程图
咨询信息管理界面如下所示。
图5-1 咨询信息管理界面
咨询信息管理逻辑代码如下所示。
@PostMapping("/set")
@Transactional
public Map<String, Object> set(HttpServletRequest request) throws IOException {
service.update(service.readQuery(request), service.readConfig(request), service.readBody(request.getReader()));
return success(1);
}
public Map<String,String> readConfig(HttpServletRequest request){
Map<String,String> map = new HashMap<>();
map.put(FindConfig.PAGE,request.getParameter(FindConfig.PAGE));
map.put(FindConfig.SIZE,request.getParameter(FindConfig.SIZE));
map.put(FindConfig.LIKE,request.getParameter(FindConfig.LIKE));
map.put(FindConfig.ORDER_BY,request.getParameter(FindConfig.ORDER_BY));
map.put(FindConfig.FIELD,request.getParameter(FindConfig.FIELD));
map.put(FindConfig.GROUP_BY,request.getParameter(FindConfig.GROUP_BY));
map.put(FindConfig.MAX_,request.getParameter(FindConfig.MAX_));
map.put(FindConfig.MIN_,request.getParameter(FindConfig.MIN_));
return map;
}
public Map<String,String> readQuery(HttpServletRequest request){
String queryString = request.getQueryString();
if (queryString != null && !"".equals(queryString)) {
String[] querys = queryString.split("&");
Map<String, String> map = new HashMap<>();
for (String query : querys) {
String[] q = query.split("=");
map.put(q[0], q[1]);
}
map.remove(FindConfig.PAGE);
map.remove(FindConfig.SIZE);
map.remove(FindConfig.LIKE);
map.remove(FindConfig.ORDER_BY);
map.remove(FindConfig.FIELD);
map.remove(FindConfig.GROUP_BY);
map.remove(FindConfig.MAX_);
map.remove(FindConfig.MIN_);
return map;
}else {
return new HashMap<>();
}
}
@Transactional
public void update(Map<String,String> query,Map<String,String> config,Map<String,Object> body){
StringBuffer sql = new StringBuffer("UPDATE ").append("`").append(table).append("`").append(" SET ");
for (Map.Entry<String,Object> entry:body.entrySet()){
Object value = entry.getValue();
if (value instanceof String){
sql.append("`"+humpToLine(entry.getKey())+"`").append("=").append("'").append(value).append("'").append(",");
}else {
sql.append("`"+humpToLine(entry.getKey())+"`").append("=").append(value).append(",");
}
}
sql.deleteCharAt(sql.length()-1);
sql.append(toWhereSql(query,"0".equals(config.get(FindConfig.LIKE))));
log.info("[{}] - 更新操作:{}",table,sql);
Query query1 = runCountSql(sql.toString());
query1.executeUpdate();
}
public String toWhereSql(Map<String,String> query, Boolean like) {
if (query.size() > 0) {
try {
StringBuilder sql = new StringBuilder(" WHERE ");
for (Map.Entry<String, String> entry : query.entrySet()) {
if (entry.getKey().contains(FindConfig.MIN_)) {
String min = humpToLine(entry.getKey()).replace("_min", "");
sql.append("`"+min+"`").append(" >= '").append(URLDecoder.decode(entry.getValue(), "UTF-8")).append("' and ");
continue;
}
if (entry.getKey().contains(FindConfig.MAX_)) {
String max = humpToLine(entry.getKey()).replace("_max", "");
sql.append("`"+max+"`").append(" <= '").append(URLDecoder.decode(entry.getValue(), "UTF-8")).append("' and ");
continue;
}
if (like == true) {
sql.append("`"+humpToLine(entry.getKey())+"`").append(" LIKE '%").append(URLDecoder.decode(entry.getValue(), "UTF-8")).append("%'").append(" and ");
} else {
sql.append("`"+humpToLine(entry.getKey())+"`").append(" = '").append(URLDecoder.decode(entry.getValue(), "UTF-8")).append("'").append(" and ");
}
}
sql.delete(sql.length() - 4, sql.length());
sql.append(" ");
return sql.toString();
} catch (UnsupportedEncodingException e) {
log.info("拼接sql 失败:{}", e.getMessage());
}
}
return "";
}
-
-
- 健康日记管理模块的实现
-
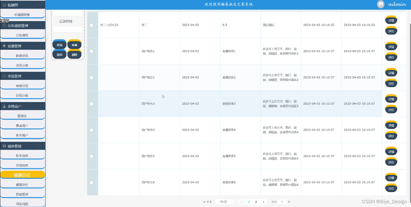
管理员执行健康日记管理,并可以操作相关内容,例如添加,查看,编辑和删除。通过单击“添加健康日记”,可以通过健康日记添加界面添加详细信息。单击查看字段级别链接以查看有关所选字段级别的信息。然后单击“提交”跳转重返到添加页面。添加成功后的信息会载入到健康日记查询列表中,管理员可进行编辑以及修改。
健康日记管理流程图如下所示。
图5-1 健康日记管理流程图
健康日记管理如下图所示。
图5-1 健康日记管理界面图
在这个产品被投入使用前,首先需要进行试用,这是重要的环节。考虑到某个部分的开发没有缺陷情况下,把各种模块拼接,也有一定概率就存在矛盾。这就好比每个人都很独特,但聚在一起就显得杂乱无章,需要保证有默契的配合。对于测试,要看它的各项内容是否契合的原则。若与最初定下的标准有一定程度上的出入,那么就需要做出一些调整,让最终的大方向朝着目标前进。
测试是为了发现在开发的程序中所存在的问题,测试这一工作是非常艰巨的,而又是非常困难的,这一部分在程序的设计中占有很大比例,可以说一个程序的开发工作量要是占据了百分至六十,那么剩下的百分之四十必然是测试这一部分,甚至更高。
患者论坛测试用例如下表所示。
表6-3 患者论坛测试用例
| 测试用例编号 | YL_03 | |
| 测试用例名称 | 系统使用者进行在线交流 | |
| 测试用例描述 | 使用者输入交流标题、内容等信息 | |
| 系统入口 | 浏览器 | |
| 步骤 | 预期结果 | 实际结果 |
| 输入完整的交流标题和内容 | 提示“交流成功”,并进入系统 | 预期结果 |
| 不输入的交流标题和内容 | 提示“请输入完整” | 预期结果 |
-
-
- 创建数据测试
-
在系统中,创建功能也是基础功能之一,因此创建功能的测试很有代表性。在此章节主要列举在创建时各种情况下系统结果的测试。由于系统涉及创建功能操作过多,因此将多处统称创建功能。
创建数据用例如下表所示。
表6-5 创建数据测试用例
| 测试用例编号 | YL_05 | |
| 测试用例名称 | 系统使用者进行创建数据 | |
| 测试用例描述 | 使用者输入要创建的数据 | |
| 系统入口 | 浏览器 | |
| 步骤 | 预期结果 | 实际结果 |
| 输入完整并且格式正确的数据 | 提示“创建成功”,并显示所有数据 | 预期结果 |
| 核心位置数据但非必要位置不输入数据 | 提示“创建成功”,并显示所有数据 | 预期结果 |
| 核心数据位置不输入数据 | 提示“创建失败” | 预期结果 |
-
-
- 修改数据测试
-
在系统中,修改功能是系统主要实现功能,因此修改功能的测试很有代表性。在此章节主要列举在修改时各种情况下系统结果的测试。由于系统涉及修改功能操作过多,因此将多处数据表记录修改和状态修改统称修改功能。
修改数据用例如下表所示。
表6-6 修改数据测试用例
| 测试用例编号 | YL_06 | |
| 测试用例名称 | 系统使用者进行修改数据 | |
| 测试用例描述 | 使用者对可修改的数据项进行修改 | |
| 系统入口 | 浏览器 | |
| 步骤 | 预期结果 | 实际结果 |
| 将现有数据修改成正确的数据 | 提示“修改成功”,并显示所有数据 | 预期结果 |
| 将现有数据修改成错误的数据 | 提示“修改失败” | 预期结果 |
-
-
- 查询数据测试
-
在系统中,查询功能是使用系统使用最多也是最基础的功能,因此查询功能的测试很有代表性。在此章节主要列举在查询时各种情况下系统结果的测试。
查询数据用例如下表所示。
表6-7 查询数据测试用例
| 测试用例编号 | YL_05 | |
| 测试用例名称 | 系统使用者进行查询数据 | |
| 测试用例描述 | 全部查询以及输入关键词查询 | |
| 系统入口 | 浏览器 | |
| 步骤 | 预期结果 | 实际结果 |
| 界面自动查询全部 | 显示对应所有记录 | 预期结果 |
| 输入已存在且能匹配成功的关键字 | 显示所查询到的数据 | 预期结果 |
| 输入不存在的关键字 | 显示数据界面为空 | 预期结果 |
在本次测试的过程主要针对所有功能下的添加操作,修改操作和删除操作,并以真实数据一一进行相关功能项目的输入,最终能够保证每个项目涉及的功能都是能够正常运行,因此能够保证本次设计的,已实现的功能能够正常运行并且相关数据库的信息也同样保证正确。
结 论
在系统的开发中,使用的是Java文件来展示前台数据,随着前后端慢慢的彻底分离,Java这种夹带着大量后台代码的方式以及慢慢在企业应用中消失,但是用于训练还是很有用处的,熟悉以后,也可以把项目改成Vue前端项目,进行彻底的前后端项目分离。Vue如今非常的流行,这样更方便前台系统的维护和扩展。在后台的技术使用上,为了能够快速搭建系统后台,采用了Springboot框架进行系统后台的搭建。
在系统的开发过程中,发现对数据的结构和算法的学习是十分重要的,比如树型结构数据,递归方法的使用,还有Map容器等都是常用的,虽然现在很多的第三方的插件和方法已经帮我们总结了很多有用的方法,方法的具体如何实现的有的时候还是需要进行了解的。第三方插件在使用上,虽然可以大量节约我们的开发时间,但是同样也有一定的风险,版本的更新乃至废弃都有发生,在项目的使用上,尽量还是进行方法的封装,这样以后进行项目的开发就能更好的进行维护了。
总的来说,通过这样一个小项目,能够从全局的方式了解一个项目的开发流程,应该能为以后的工作提供有力的支撑。
参考文献
[1]余鹏翔,石军锋.基于SpringBoot框架的群养母猪饲喂站管理系统设计与试验[J].中国农机化学报,2023,44(03):149-155+241.DOI:10.13733/j.jcam.issn.2095-5553.2023.03.021.
[2]章莉. 一种基于MySQL数据库操作审计、回滚的方法[P]. 贵州省:CN115757459A,2023-03-07.
[3]刘丹青,李超,王青海.基于Java技术的藏汉双语学前教育云平台设计与实现[J].信息技术,2023,47(02):17-23.DOI:10.13274/j.cnki.hdzj.2023.02.004.
[4]佟羽齐,刘德华,张栎柯,李剑波,张俊杰.基于SpringBoot框架的钻前管理系统的设计与实现[J].信息与电脑(理论版),2023,35(02):111-113.
[5]沈志元,张文健.基于Java技术的医院管理系统的设计与实现[J].电脑知识与技术,2022,18(32):38-40+54.DOI:10.14004/j.cnki.ckt.2022.1994.
[6]张丽景,张文川.基于对比分析法的高职“MySQL数据库”课程设计——以兰州石化职业技术大学为例[J].现代信息科技,2022,6(21):188-191.DOI:10.19850/j.cnki.2096-4706.2022.21.046.
[7]杨一帆.服务于MySQL数据库的在线监测系统设计[J].自动化技术与应用,2022,41(10):179-182.DOI:10.20033/j.1003-7241.(2022)10-0179-04.
[8]林佳一.混合式教学在高职MySQL数据库课程的实践研究[J].电脑知识与技术,2022,18(26):133-135.DOI:10.14004/j.cnki.ckt.2022.1737.
[9]王曼维,杨荻,李岩,及松洁.基于SpringBoot框架的智慧医疗问诊系统设计与实现[J].中国医学装备,2022,19(03):133-136.
[10]Fuyuan Cheng. Talent Recruitment Management System for Small and Micro Enterprises Based on Springboot Framework[J]. Advances in Educational Technology and Psychology,2021,5(2).
[11]Witsarut Sriratana,Vittaya Khagwian,Sutham Satthamsakul. Analysis of Electric Current by Using MySQL Database on Web Server for Machine Performance Evaluation: A Case Study of Air Conditioning System[J]. 제어로봇시스템학회 국제학술대회 논문집,2020.
[12]Jian Chen,Chen Jian,Pan Hailan. Design of Man Hour Management Information System on SpringBoot Framework[J]. Journal of Physics: Conference Series,2020,1646(1).
[13]齐浩政. 基于安全代理的MySQL数据库防护技术研究[D].东南大学,2020.DOI:10.27014/d.cnki.gdnau.2020.000618.
[14]Prince Asabere,Francois Sekyere,Willie K Ofosu. Wireless Biometric Fingerprint Attendance System using Arduino and Mysql Database[J]. International Journal of Computer Science, Engineering and Applications,2019,10(5).
[15]李莹, 电子信息 易云云数据库MySQL上线. 翟立新 主编,中关村年鉴,北京出版集团公司北京出版社,2018,205,年鉴.
[16]肖睿,程宁,田崇峰,金志雄,杜毅. MySQL数据库应用技术及实战[M].人民邮电出版社:, 201801.177.
致 谢
在此论文完成之际,感谢我的指导老师。在指导老师的网页设计课上,当时我学到了很多东西,这对于我实习过程中也打了一定的基础,而且指导老师对于我的设计也提出许多建议,并予以悉心的指导,对于一些细小的问题都耐心的指导我去完善,授予我写论文的心得,时常的鼓励我,另外感谢教导我完善此项目的前端同学,对于这个项目,我是边学习边实现完成的,有许多东西开始并不是很明白,但前端开发的同学非常耐心的引导我去将这个项目完成,在系统的后端开发中,所用到的后台开发技术也时常会给我讲解,助于我更好的将论文完成,在此对帮助到我的同学和一直予以教导的指导老师致以衷心的感谢,祝事业有成。
免费领取项目源码,请关注❥点赞收藏并私信博主,谢谢~

被折叠的 条评论
为什么被折叠?



