
01/简介
零波像差非双远心物镜凭借“波前畸变趋近于零、适配大视场与复杂物距场景”的优势,在精密光刻、微纳检测等领域广泛应用,但其视场边缘物像比例变化特性,对成像模型的维度适配性提出更高要求。
二维矢量成像模型虽能表征平面图形偏振态,却因忽略深度光场耦合、厚掩模衍射及视场-深度耦合效应,无法精准预测三维图形成像质量。三维矢量成像模型通过全空间矢量光场建模,可精准捕捉非双远心光路下三维偏振演化与深度衍射规律,成为破解瓶颈的关键。本文以零波像差非双远心成像为视角,对比二维与三维模型适配性,重点聚焦三维模型应用机理,为先进三维制程光刻精度提升提供支撑。
02/三维矢量成像模型在零波像差非双远心物镜中的应用
远心度与模型差异的量化关系

各级衍射光主光线转动关系示意图
物镜像方远心度衡量:投影物镜像方主光线方向单位矢量[kx,ky,kz],用kx/kz,ky/kz表示。
模型差异随kx/kz的变化:kx/kz增大10倍,仿真结果差异增大100倍左右;当kx/kz从10-3变化到10-1时,差异从10-6量级变化到10-2量级。
零像差非双远心物镜下的差异量化
仿真条件:接触孔掩模、中心点光源X偏振照明、物镜像方kx/ky=0.1、琼斯矩阵为单位矩阵。

掩模图形示意图
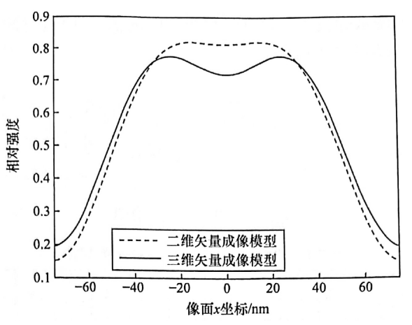
差异结果:二维与三维模型空间像相对强度分布差异在10-2量级,最大绝对差值9.3x10-2、平均绝对值差4.5x10-2、差值均方根5.1x10-2。

二维矢量成像模型与三维矢量成像模型仿真零像差非远心物镜成像结果
结论:三维矢量成像模型预测非双远心物镜成像更精确。
当物镜所成像不在无限远处时,光线经过出瞳面后,其传播方向在 z 轴上的方向余弦可以表示为:由横向方向余弦(kx,ky)推导得出的平方根形式,具体会关联到像面与出瞳面的位置参数(αₘ、α₀、βₘ、β₀)。
而在偏振光学的计算中,三维偏振光线矩阵与琼斯矩阵之间,可通过入射光学系统的琼斯矩阵(J)、入瞳面偏振矩阵(Oᵢ)、出瞳面偏振矩阵(Oₒ)的运算来实现转换。
先进技术与未来发展方向
面向3nm及以下节点,开发EUV非双远心适配模型,深化极紫外光与矢量光场耦合机制研究;结合Transformer架构与FPGA加速,实现毫秒级动态光场仿真,搭建数字孪生系统实时调整参数;跨场景拓展:拓展至生物芯片、量子芯片光刻,构建多材质适配模型,支撑全链路工艺优化。

被折叠的 条评论
为什么被折叠?



